Danby DKC054A9SLDB - Manual për freskuesin e fuçisë me një rubinet 5.4 cu. ft.

Përmbledhje

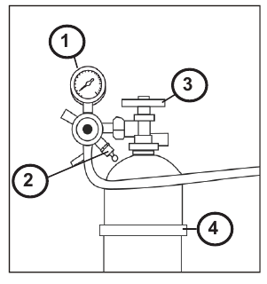
- Pult i matësit të presionit
- Unaza e lehtësimit të presionit
- Valvul e hapur/e mbyllur
- Rrip për depozitën
Sigurohuni që depozita e CO2 të jetë bosh përpara transportit me korrier ose nga pala e 3të.
Një depozitë CO2 e mbushur plot ose pjesërisht është nën presion ekstrem. Lirimi i pakontrolluar i presionit është jashtëzakonisht i rrezikshëm. Udhëzimet e mëposhtme përdorin rregullatorin për të kontrolluar lirimin e këtij presioni në një mënyrë të sigurt. Mos e anashkaloni rregullatorin.
- Sigurohuni që depozita të jetë e sigurt
- Hapeni plotësisht valvulën duke e rrotulluar në drejtim të kundërt të akrepave të orës. Pulti i matësit të presionit do të shfaqë një vlerë nëse depozita përmban presion.
- Tërhiqeni butësisht unazën e lehtësimit të presionit. Gazi i lëshuar duhet të dëgjohet.
- Pulti i presionit do të lexojë zero kur depozita është bosh. Vazhdoni ta mbani të hapur lehtësimin e presionit derisa depozita të jetë bosh.
- Lirojeni unazën e lehtësimit të presionit.
- Mbylleni plotësisht valvulën duke e rrotulluar në drejtim të akrepave të orës.
Informacione të rëndësishme sigurie
LEXONI DHE NDIQNI TË GJITHA UDHËZIMET E SIGURISË
KËRKESAT E SIGURISË
Rrezik zjarri ose shpërthimi. Përdoret ftohës i ndezshëm. Mos e shponi tubin e ftohësit.
- Mos përdorni pajisje mekanike për të shkrirë frigoriferin.
- Sigurohuni që servisimi të bëhet nga personeli i autorizuar i servisit të fabrikës, për të minimizuar dëmtimin e produktit ose problemet e sigurisë.
- Nëse kordoni i furnizimit me energji është i dëmtuar, ai duhet të zëvendësohet nga prodhuesi, agjenti i tij i shërbimit ose një person i kualifikuar i ngjashëm në mënyrë që të shmanget rreziku.
- Konsultohuni me manualin e riparimit ose udhëzuesin e pronarit përpara se të përpiqeni të servisni këtë produkt. Të gjitha masat paraprake të sigurisë duhet të ndiqen.
- Hidhni siç duhet në përputhje me rregulloret federale ose lokale.
- Ndiqni me kujdes udhëzimet e trajtimit.
- Mos ruani substanca shpërthyese si kanaçe aerosoli me lëndë djegëse në këtë pajisje.
Mbani të hapura hapjet e ventilimit, në mbylljen e pajisjes ose në strukturën e integruar, pa pengesa.
Mos përdorni pajisje mekanike ose mjete të tjera për të përshpejtuar procesin e shkrirjes, përveç atyre që rekomandohen nga prodhuesi.
Mos e dëmtoni qarkun e ftohësit.
Mos përdorni pajisje elektrike brenda ndarjeve të ruajtjes së ushqimit të pajisjes, përveç nëse ato janë të llojit të rekomanduar nga prodhuesi.
Fëmijët duhet të mbikëqyren për të siguruar që ata nuk luajnë me pajisjen.
Rrezik nga ngujimi i fëmijëve. Përpara se të hidhni një pajisje të vjetër:
- Hiqeni derën ose kapakun.
- Lini raftet në vend në mënyrë që fëmijët të mos ngjiten lehtë brenda.
Mos shtoni një kyç në derë ose kapak. Kjo mund të shkaktojë ngujimin dhe dëmtimin e fëmijëve.
KËRKESAT E SIGURISË
Kjo pajisje nuk është menduar të përdoret nga persona (përfshirë fëmijët) aftësitë fizike, shqisore ose mendore të të cilëve mund të jenë të ndryshme ose të reduktuara, ose të cilëve u mungon përvoja ose njohuria, përveç nëse këta persona marrin mbikëqyrje ose trajnim për të përdorur pajisjen nga një person përgjegjës për sigurinë e tyre.
Kjo pajisje është menduar të përdoret në aplikime shtëpiake dhe të ngjashme, të tilla si:
- Zonat e kuzhinës së stafit në dyqane, zyra dhe mjedise të tjera pune;
- Shtëpitë e fermave dhe nga klientët në hotele, motele dhe mjedise të tjera të tipit rezidencial;
- Mjedise të tipit Bed and breakfast;
- Aplikime ushqimore dhe të ngjashme jo me pakicë.
UDHËZIMET E VENDOSJES NË TOKË
Kjo pajisje duhet të vendoset në tokë. Vendosja në tokë zvogëlon rrezikun e goditjes elektrike duke siguruar një tel shpëtimi për rrymën elektrike.
Kjo pajisje ka një kordon që ka një tel vendosjeje në tokë me një spinë me 3 pirunj. Kordoni i rrymës duhet të futet në një prizë që është e vendosur siç duhet në tokë. Nëse priza është një prizë muri me 2 pirunj, ajo duhet të zëvendësohet me një prizë muri me 3 pirunj të vendosur siç duhet në tokë. Plaka e vlerësimit serial tregon tensionin dhe frekuencën për të cilën është projektuar pajisja.
Përdorimi i pahijshëm i spinës së vendosjes në tokë mund të rezultojë në rrezik goditjeje elektrike. Konsultohuni me një elektricist të kualifikuar ose agjent shërbimi nëse udhëzimet e vendosjes në tokë nuk kuptohen plotësisht, ose nëse ekziston dyshimi nëse pajisja është e vendosur siç duhet në tokë.
Mos e lidhni pajisjen tuaj me kordone zgjatuese ose së bashku me një pajisje tjetër në të njëjtën prizë muri. Mos e ndani kordonin e rrymës. Mos e prisni ose hiqni në asnjë rrethanë pirunin e tretë të tokëzimit nga kordoni i rrymës. Mos përdorni kordone zgjatuese ose përshtatës të pavendosur në tokë (me dy pirunj).
RUANI KËTO UDHËZIME!
CO2 MUND TË JETË I RREZIKSHËM!
Cilindrat CO2, kur karikohen, përmbajnë gaz të kompresuar me presion të lartë i cili mund të jetë i rrezikshëm nëse nuk trajtohet siç duhet. Lexoni dhe kuptoni procedurat e mëposhtme për cilindrat CO2 përpara instalimit:
- Kontrolloni gjithmonë datën e provës D.O.T. (Departamenti i Transportit) si dhe T.C. (Transport Canada) që ndodhet në qafën e cilindrit përpara instalimit. Nëse data është më e vjetër se pesë (5) vjet, mos e përdorni! Kthejeni cilindrin e gazit te një furnizues gazi për ricertifikim (mund të zbatohen tarifa shërbimi).
- Lidhni gjithmonë një cilindër gazi CO2 me një rregullator. Mosrespektimi i kësaj mund të rezultojë në një shpërthim i cili mund të rezultojë në vdekje ose lëndim kur hapet valvula e cilindrit.
- Ndiqni gjithmonë procedurat e sakta kur cilindrat ndryshohen sipas kodeve lokale.
- Sigurojeni gjithmonë një cilindër gazi CO2 në një pozicion "vertikal".
- Mbajeni gjithmonë një cilindër gazi CO2 larg nxehtësisë. Ruani cilindrat shtesë në një vend të freskët (mundësisht 70°F/21°C). Fiksojeni mirë me një zinxhir në një pozicion vertikal kur ruani.
- Ajroseni gjithmonë dhe braktisni zonën menjëherë pas çdo rrjedhjeje të CO2.
- Mos e lidhni kurrë një cilindër gazi CO2 drejtpërdrejt me një fuçi birre.
- Mos e hidhni ose mos e gjuani kurrë një cilindër CO2.
- Mos e lidhni kurrë një fuçi pa të paktën një çlirim sigurie të presionit. Ka dy mekanizma sigurie në sistemin e presionit;
- Një në ose në rregullatorin CO2.
- Një në ose në bashkuesin e enës së produktit në linjën e gazit të presionit.
Shënim: Rregullatori dhe bashkuesi i fuçisë i furnizuar me këtë pajisje përfshijnë mekanizma të tillë sigurie.
CO2 MUND TË JETË I RREZIKSHËM!
Nëse bëhet e vështirë të merrni frymë dhe/ose koka juaj fillon të dhembë, përqendrime jonormale të dioksidit të karbonit (CO2) mund të jenë të pranishme në zonë.
MBYLLNI VALVULËN KRYESORE NË CILINDRIN E CO2, AJROSNI DHE BRAKTISNI DHOMËN MENJËHERË!
Birra është lehtësisht e disponueshme me freskuesin e fuçisë të Danby-t, megjithatë, nuk është menduar të jetë e disponueshme për njerëzit nën moshën ligjore për të konsumuar birrë. Danby nuk merr përsipër përgjegjësinë për përdorimin ose konsumin e paligjshëm të birrës.
JU LUTEM PINI ME PËRGJEGJËSI DHE JU LUTEM MOS PINI DHE NGASNI AUTOMJETIN!
GAZI CO2 MUND TË JETË I RREZIKSHËM CO2 cilindrat përmbajnë gaz të kompresuar me presion të lartë i cili mund të jetë i rrezikshëm nëse nuk trajtohet siç duhet. Sigurohuni që të lexoni dhe kuptoni të gjitha procedurat e sigurisë për CO cilindrat përpara instalimit.
RUANI KËTO UDHËZIME!
UDHËZIME PËR INSTALIM
TIPARET

- Beer Tower
- Gomë gomatike (mund të mos jetë e nevojshme në të gjitha konfigurimet)
- Hekur mbrojtës
- Tabaka për pika
- Buton termostati
- Bashkues fuçie
- Fuçi birre (nuk përfshihet)
- Pllakë mbështetëse metalike
- Rrota
- Rregullator CO2
- Bombël CO2
- Mbështetëse për bombolën e CO2
PARA SE TË PËRDORNI FTOHËSIN TUAJ TË FUÇISË
- Hiqni ambalazhin e jashtëm dhe të brendshëm.
- Kontrolloni që të siguroheni që i keni të gjitha pjesët e mëposhtme:
- 2 hekura mbrojtëse
- 1 tabaka pikash (2 pjesë)
- 1 mbështetëse për bombolën e CO2
- 1 rregullator CO2
- 1 bombol CO2 (boshe)
- 1 tub gazi CO gazi (me ngjyrë)
- 1 tub birre
- 1 bashkues fuçie birre
- 1 beer tower
- 1 dorezë rubineti
- 1 pllakë metalike për pjesën e poshtme të dollapit
- 2 rafte me tela
- 1 kapëse çeliku për tubin me ngjyrë
- 2 rondele plastike për rrotat e përparme
- 4 rrota (2 të përparme me kyçje)
Shënim: Kjo pajisje përfshin vetëm një bashkues rubineti amerikan Sankey.
Shënim: Ky ftohës fuçie pranon fuçi shtëpiake deri në 16-1/8" në diametër dhe deri në 23-3/8" në lartësi. Kontrolloni me shpërndarësin për t'u siguruar që fuçia është e madhësisë së duhur.
VENDNDODHJA E INSTALIMIT
- Vendoseni pajisjen në një dysheme që është mjaft e fortë për ta mbështetur atë kur të jetë plotësisht e ngarkuar.
- Mos e vendosni pajisjen në rrezet e diellit direkte ose afër burimeve të nxehtësisë, si p.sh. një sobë ose ngrohës, pasi kjo mund të rrisë konsumin e energjisë elektrike. Temperaturat ekstreme të ftohta të ambientit gjithashtu mund të bëjnë që pajisja të mos funksionojë siç duhet.
- Mos e përdorni pajisjen pranë ujit, për shembull në një bodrum të lagësht ose pranë një lavamani.
- Kjo pajisje është menduar vetëm për përdorim të brendshëm. Nuk është projektuar për instalim të jashtëm, duke përfshirë kudo që nuk kontrollohet temperatura (garazhe, veranda, automjete, etj.).
- Para se ta lidhni pajisjen me një burim energjie, lëreni të qëndrojë drejt për afërsisht 6 orë. Kjo do të zvogëlojë mundësinë e mosfunksionimit në sistemin e ftohjes nga trajtimi gjatë transportit.
- Kjo pajisje është menduar vetëm për instalim të lirë dhe nuk është menduar të ndërtohet në një dollap ose banak. Ndërtimi në këtë pajisje mund të shkaktojë mosfunksionim.
DIAGRAMA E INSTALIMIT

- Rregullator CO2
- Bombël gazi CO2
- Zorrë me ngjyrë CO2
- Montim rubineti
- Kullë
- Zorrë e pastër
- Bashkues
- Fuçi
UDHËZIME PËR INSTALIMIN E RRROTAVE
Instaloni katër rrotat. Dy rrotat kyçëse duhet të vendosen përpara. Katër vrima me vidha janë shpuar paraprakisht në fund të dollapit në çdo cep për secilën rrotë. Vendosni rondelet plastike të ofruara në rrotat e përparme përpara se t'i instaloni.

FRENAT E RRROTAVE
Dy rrotat e përparme furnizohen me fre për të siguruar që pajisja të mos lëvizë tepër gjatë përdorimit. Rekomandohet të angazhoni frenat gjatë përdorimit të pajisjes për të shmangur dëmtimin e pajisjes, përmbajtjes ose pronës personale.

INSTALIMI I MBËSHTETËSES SË BOMBOLEVE TË CO2

Instaloni mbështetësen metalike mbi katër kunjat e vendosura në murin e pasmë të jashtëm të dollapit.
Rreshtoni vrimat në mbështetëse me kunjat dhe shtyjeni poshtë fort.
INSTALIMI I BOMBOLEVE TË CO2 DHE RREGULLATORIT TË CO2

Bombola e CO2 nuk vjen e mbushur. Bombola duhet të mbushet me CO2 para përdorimit.
Vendoseni bombolën e ngarkuar në stendën mbështetëse.
Bashkangjitni rregullatorin e CO2 në bombolë duke e kthyer piulën rregulluese mbi valvulën e bombolës, duke u siguruar që rondelet të jenë futur mirë në piulën lidhëse. Shtrëngojeni mirë duke përdorur një çelës të rregullueshëm (nuk furnizohet) dhe sigurohuni që të mos ketë rrjedhje, d.m.th. të mos ketë zhurma fërshëllimi kur CO2 është i ndezur.
INSTALIMI I LINJËS SË AJRIT TË CO2 DHE LIDHJA ME RREGULLATORIN E CO2

Hiqeni spinën e vendosur në pjesën e jashtme të pasme të dollapit, në cepin e sipërm të majtë. Ruani spinën për përdorim të mëvonshëm për ta kthyer pajisjen në një frigorifer.
Futeni linjën e gazit përmes dollapit dhe jashtë përmes vrimës së zbuluar.
Bashkangjitni skajin e hapur të zorrës në lidhjen e grykës së zorrës në rregullator. Sigurojeni zorrën duke përdorur një kapëse të ofruar. Përdorni darë ose një kaçavidë për të shtrënguar kapësen për të parandaluar rrjedhjet.
INSTALIMI I BEER TOWER
- Hiqeni spinën nga pjesa e sipërme e dollapit të frigoriferit duke e përdredhur dhe tërhequr jashtë. Ruani spinën për përdorim të mëvonshëm për ta kthyer pajisjen në një frigorifer.
- Zhbllokoni linjën e birrës (zorrën e pastër) nga kulla dhe futeni linjën e birrës dhe piulën e krahut përmes vrimës së zbuluar në krye të dollapit.
- Sigurojeni montimin e beer tower në majë të dollapit duke shtypur poshtë dhe duke e kthyer kullën për t'u kyçur në vend. Sigurohuni që rubineti të jetë i rreshtuar me pjesën e përparme të pajisjes.
- Goma gomatike mund të përdoret për ta bërë lidhjen midis kullës dhe ftohësit më të ngushtë nëse nevojitet. Nëse beer tower nuk do të kthehet për t'u kyçur në vend, provoni ta hiqni gomën gomatike. Goma gomatike mund të mos jetë e nevojshme në të gjitha konfigurimet.
Shënim: Nëse rubineti rrjedh ose nëse birra është shumë me shkumë, sigurohuni që rondelet brenda rubinetit të jenë të paprekura. Zëvendësoni rondelet me pjesë këmbimi nga çanta e aksesorëve, nëse është e nevojshme.

- Rondele doreze
- Rondele rubineti
- Rondele gryke
ÇELËS RUBINETI
Çelësi i ofruar i rubinetit është ose për heqjen ose për shtrëngimin e lidhjes së rubinetit. Nëse birra nuk rrjedh lirshëm, përdorni çelësin për të hequr rubinetin për pastrim. Nëse lidhja e rubinetit rrjedh, përdorni çelësin për të shtrënguar lidhjen e rubinetit.
DOREZA PLASTIKE E RUBINETIT
Bashkangjitni dorezën plastike të zezë në majë të rubinetit. Mbajeni piulën e argjendtë poshtë në mënyrë që të mos kthehet. Nëse ka një pikim të vogël nga rubineti, piula e argjendtë mund të jetë e shtrënguar shumë. Zvidhosni piulën e argjendtë në drejtim të kundërt të akrepave të orës me një rrotullim.
INSTALIMI I PLLAKËS MBROJTËSE METALIKI
Pllaka mbrojtëse metalike duhet të instalohet në pjesën e poshtme të brendshme të dollapit. Kjo pllakë duhet të instalohet gjithmonë kur një fuçi është në vend për të mbrojtur dyshemenë e dollapit nga dëmtimi.
INSTALIMI I FUÇISË SË BIRRËS
- Dy persona duhet ta ngrënë fuçinë për të shmangur dëmtimin e shpinës
- Vendoseni fuçinë direkt përpara derës së hapur.
- Duke përdorur dorezat e fuçisë, ngrini pjesën e përparme të fuçisë mjaftueshëm që skaji i përparmë të mbështetet në buzën e përparme të dollapit të poshtëm të ftohësit të fuçisë.
- Kapni dorezat e fuçisë dhe rrëshqiteni deri në fund në dollap.
INSTALIMI I ZORRËS SË LINJËS SË AJRIT TË CO2
Bashkangjitni skajin e zorrës me ngjyrë të linjës së ajrit në lidhjen e zorrës në anën e bashkuesit. Sigurohuni që valvula e kallamit të jetë futur në lidhje, numri 4 në imazhin e mëposhtëm.
Nëse, pas montimit, birra nuk do të rrjedhë, sigurohuni që valvula e kallamit të ketë një vrimë të vogël në të. Nëse nuk ka vrimë në valvulën e kallamit, atëherë CO2 nuk mund të hyjë në linjë dhe birra nuk do të rrjedhë.
LIDHJA E BEER TOWER ME BASHKUESIN
- Sigurohuni që të gjitha rondelet të jenë futur siç duhet në bashkues, siç tregohet në imazhin e mëposhtëm.
- Sigurohuni që valvula e kontrollit të jetë në vend brenda bashkuesit, numri 2 në imazhin e mëposhtëm.
- Vendoseni piulën e krahut të bashkangjitur në fund të linjës së birrës në majë të bashkuesit, duke u kthyer derisa të shtrëngohet.
Nëse, pas montimit, birra është shumë me shkumë, kjo do të thotë me shumë mundësi se një lidhje në bashkues rrjedh dhe ajri po hyn në linjat. Kontrolloni dy herë të gjitha lidhjet në bashkues dhe zëvendësoni rondelet nga çanta e aksesorëve sipas nevojës.

- Rondele valvule
- Kontrollo valvulën
- Rondele e tipit O
- Valvul kallami
- Rondele valvule
- Rondele valvule
INSTALIMI I BASHKUESIT TË FUÇISË
Futeni bashkuesin e fuçisë në qafën kyçëse të fuçisë së birrës dhe kthejeni në drejtim të akrepave të orës për t'u kyçur në pozicion, duke u siguruar që doreza e bashkuesit të fuçisë të jetë në pozicion të mbyllur, me dorezën lart.

- Valvul e lëshimit të presionit të bashkuesit
- Doreza në pozicion të mbyllur
UDHËZIME PËR PËRDORIM
SI TË MBUSHNI NJË KUFI ME BIRRË
- Sigurohuni që CO2 të jetë i fikur dhe valvula në rregullator të jetë në pozicionin e mbyllur.
- Tërhiqni dhe lëshoni valvulën e lëshimit të presionit në bashkues për të pastruar çdo presion ajri.
- Sigurohuni që doreza e rubinetit të jetë në pozicionin e mbyllur.
- Tërhiqni dorezën e bashkuesit jashtë dhe poshtë derisa të kyçet në pozicionin e hapur. Dhëmbët në anën e poshtme të bashkuesit do të kafshojnë në qafën e kyçjes së fuçisë së birrës.
Shënim: Nëse një fuçi është shumë e gjatë, mund të jetë e nevojshme të lidhni bashkuesin me fuçinë përpara se ta fusni fuçinë në ftohësin e fuçisë.

- Valvula e lëshimit të presionit të bashkuesit
- Doreza në pozicion të hapur
HAPJA E VALVULËS KRYESORE TË REZERVUARIT TË CO2
- Sigurohuni që valvula dytësore e fikjes (treguar më poshtë në pozicionin "e hapur") të jetë e mbyllur. Për të hapur valvulën kryesore të cilindrit të CO2, kthejeni ngadalë valvulën kryesore në drejtim të kundërt të akrepave të orës derisa të jetë plotësisht e hapur.
- Vini re që gjilpëra në matësin e rregullatorit fillon të ngjitet.
RREGULLIMI I RREGULLATORIT TË CO2
Matësi monitoron presionin e brendshëm të fuçisë dhe duhet të rregullohet të lexojë midis 8-12 PSI. Presioni mund të rregullohet sipas nevojës. Pasi të keni bërë ndonjë rregullim në PSI, prisni 5 - 10 minuta përpara se të provoni të derdhni një birrë tjetër për të lejuar që presioni të barazohet.
- Nëse birra është shumë e shkumëzuar, provoni ta ulni presionin.
- Nëse rrjedha e birrës është shumë e dobët, provoni ta rrisni presionin.
- Lirojeni dadon e kyçjes.
- Kthejeni vidhën e rregullimit me një kaçavidë të sheshtë.
- Për të rritur presionin, kthejeni vidhën në drejtim të akrepave të orës.
- Për të ulur presionin, kthejeni vidhën në drejtim të kundërt të akrepave të orës.
- Lëreni disa minuta që fuçia të krijojë presion siç duhet përpara se të rregulloni më tej presionin. Matësi i rregullatorit mund të bjerë ndërsa kjo ndodh.
- Shtrëngoni përsëri dadon e kyçjes për të siguruar që presioni të mos rregullohet aksidentalisht.
Shënim: Dëgjoni për fërshërima përgjatë të gjitha lidhjeve për të identifikuar nëse ka ndonjë rrjedhje.

- Lidhja me rezervuarin e C02
- Valvula e fikjes (pozicioni i hapur)
- Dadoja e kyçjes
- Vidha e rregullimit
SHPËRNDARJA E BIRRËS
- Mbani fuçinë e birrës të ftohur në çdo kohë.
- Mos lejoni kurrë që linjat e birrës të thahen.
- Përdorni gota të pastra përpara se të derdhni.
- Mbajeni gotën në një kënd 45°, kur të jetë 2/3 e mbushur, filloni të drejtoni gotën ndërsa gota mbushet.
- Sigurohuni gjithmonë që doreza e rubinetit të shtyhet plotësisht prapa.
Shënim: Ndarja e frigoriferit nuk mund të akomodojë fuçinë me barel të pjerrët të stilit "Coors".
Shënim: Ftohësi ynë i fuçisë pranon fuçi shtëpiake deri në 16-1/8" në diametër dhe deri në 23-3/8" në lartësi. Kontrolloni me shpërndarësin tuaj për t'u siguruar që fuçia është e madhësisë së duhur.
Shënim: Është e rëndësishme të lejoni që fuçia të qëndrojë drejt dhe pa u shqetësuar, për 2 orë përpara se ta mbushni.
VENDOSJA E TEMPERATURËS
Temperatura kontrollohet duke rregulluar çelësin e kontrollit të termostatit.
- Pjesa më e hollë e rrotës është vendosja më e ngrohtë.
- Pjesa më e trashë e rrotës është vendosja më e ftohtë.
- Për të fikur ftohjen, rrotulloni çelësin e kontrollit në pozicionin "0" (FIKUR).
![]()
SHKRIRJA AUTOMATIKE
Nuk ka nevojë të shkrini ftohësin e fuçisë. Uji i shkrirjes grumbullohet dhe kalon nëpër daljen e kullimit në murin e pasmë në një tabaka të vendosur mbi kompresor, ku avullohet.
Shënim: Nëse pajisja është shkëputur nga priza, ka humbur energjia ose është fikur, prisni 3 deri në 5 minuta përpara se ta rindizni pajisjen. Nëse ka një përpjekje për të rindezur përpara kësaj vonese kohore, kompresori mund të mos ndizet.
SHNDËRRIMI NË FRIGORIFER
- Kthejeni rrotën e termostatit në pozicionin "FIKUR".
- Mbyllni valvulën kryesore në cilindrin e CO2.
- Mbyllni valvulën dytësore të fikjes në tubin e rregullatorit.
- Mbyllni lidhjen midis fuçisë së birrës dhe bashkuesit të fuçisë.
- Kulloni çdo birrë të mbetur nga linjat. (Ne rekomandojmë pastrimin në këtë pikë, ju lutemi shikoni seksionin e Kujdesit dhe Mirëmbajtjes).
- Shkëputni linjën e birrës dhe linjën e gazit CO2 nga bashkuesi i fuçisë.
- Hiqni fuçinë e birrës.
- Hiqni bashkuesin e fuçisë.
- Shkëputni linjën e gazit nga cilindri i CO2.
- Hiqni linjën e gazit CO2 nga priza e kabinetit.
- Zëvendësoni prizën e pasme të kabinetit të linjës së gazit.
- Hiqni kullën e birrës. Gjithashtu tërhiqni linjën e birrës nëpër pjesën e sipërme të kabinetit.
- Zëvendësoni spinën e sipërme të kabinetit.
- Rregulloni temperaturën sipas dëshirës.
Shënim: Për të konvertuar pajisjen, linja e gazit duhet të shkëputet nga rregullatori në mënyrë që ta hiqni atë nga kabineti.
Shënim: Instaloni raftin duke e rrëshqitur atë në vendin e dëshiruar në pajisje.
UDHËZIME PËR NDRYSHIMIN E DERSËS
Nëse pajisja vendoset në shpinë ose anash për çdo gjatësi kohe gjatë këtij procesi, ajo duhet të lihet të qëndrojë drejt për 6 orë përpara se ta fusni në prizë për të shmangur dëmtimin e përbërësve të brendshëm.
- Hiqni dy vidhat nga pjesa e pasme e pjesës së punës. Ngrini pjesën e pasme të pjesës së punës dhe tërhiqeni drejt pjesës së përparme të pajisjes për ta hequr atë. Hiqni kapakun e vrimës së menteshës së pjesës së punës nga ana e majtë e pjesës së punës dhe zhvendoseni atë në vrimën e menteshës në anën e djathtë të pjesës së punës.
![]()
- Hiqni kapakun e boshtit të derës që mbulon menteshën në anën e sipërme të majtë të derës. Hiqni kapakun e vrimës nga ana e sipërme e djathtë e derës. Heqja e kapakut të vrimës mund të kërkojë një kaçavidë me teh të sheshtë.
![]()
- Hiqni menteshën e sipërme nga ana e sipërme e djathtë e kabinetit. Hiqni derën nga kabineti.
![]()
- Hiqni kapakun e vrimës së menteshës së poshtme nga ana e poshtme e majtë e derës dhe zhvendoseni atë në anën e poshtme të djathtë të derës.
![]()
- Hiqni menteshën e poshtme nga fundi i kabinetit dhe hiqni kunjin e menteshës nga mentesha e poshtme. Kthejeni menteshën e poshtme përmbys dhe instaloni kunjin e menteshës në anën tjetër.
![]()
- Hiqni këmbën e rregullueshme nga ana e poshtme e djathtë e kabinetit. Hiqni këmbën e ngurtë dhe vidhat nga ana e poshtme e majtë e kabinetit. Instaloni këmbën e ngurtë në anën e poshtme të djathtë të kabinetit. Instaloni menteshën e poshtme dhe këmbën e rregullueshme në anën e poshtme të majtë të kabinetit.
![]()
- Hiqni kunjin e menteshës nga mentesha e sipërme. Kthejeni menteshën e sipërme përmbys dhe instaloni kunjin e menteshës në anën tjetër.
![]()
- Instaloni menteshën e sipërme dhe derën në kabinet.
![]()
- Instaloni kapakun e boshtit të derës për të mbuluar menteshën në anën e sipërme të djathtë të derës. Instaloni kapakun e vrimës në vrimën në anën e sipërme të majtë të derës.
![]()
- Instaloni pjesën e punës duke e vendosur atë sipër pajisjes dhe duke e shtyrë drejt pjesës së pasme derisa të klikojë në vend dhe më pas riinstaloni dy vidhat në pjesën e pasme.
![]()
Shënim: Kur riinstaloni derën, sigurohuni që pjesa e sipërme e derës të jetë në nivel me pjesën e sipërme të kabinetit dhe që guarnicioni prej gome të krijojë një vulë të mirë me kabinetin përreth.
KUJDESI DHE MIRËMBAJTJA
PASTRIMI I FTOHËSIT TË FUÇISË
- Kthejeni kontrollin e temperaturës në "FIKUR", shkëputeni nga priza ftohësin e fuçisë dhe hiqni përmbajtjen.
- Lani sipërfaqet e brendshme me ujë të ngrohtë dhe tretësirë sode buke. Tretësira duhet të jetë 2 lugë gjelle sode buke në një litër ujë.
- Lani raftet dhe stendën me një tretësirë të butë detergjenti.
- Fshini çdo kontroll elektrik me një leckë të thatë.
- Lani kabinetin e jashtëm me ujë të ngrohtë dhe detergjent të lëngshëm të butë. Shpëlajeni mirë dhe fshijeni thatë me një leckë të pastër të butë.
PASTRIMI I LINJAVE TË BIRRËS
Linjat e birrës duhet të pastrohen periodikisht për shkak të një grumbullimi të sheqerit të kristalizuar që formohet në pajisje, linja dhe rubinetë. Nëse grumbullimi nuk hiqet plotësisht në një proces pastrimi, do të lërë një sipërfaqe jo sanitare që mund të strehojë mikroorganizma që do të shkaktojnë një shije të padëshirueshme dhe/ose do të bëjnë që birra të bjerë. Grumbullimi i mjaftueshëm do të çojë gjithashtu në probleme shpërndarjeje që variojnë nga birra e shkumëzuar në birrën e sheshtë, pavarësisht nga nivelet e karbonatimit ose cilësia ose mosha e birrës në fuçi.
Pastrimi i planifikuar i linjës dhe rubinetit eliminon grumbullimin, duke mbrojtur integritetin e produktit dhe gjendjen e sistemit të shpërndarjes dhe vulave. Linja e birrës duhet të pastrohet dhe shpëlahet me ujë të nxehtë afërsisht një herë në çdo tre javë ose në çdo fuçi tjetër - cilado që të vijë e para. Rubineti duhet të pastrohet me ujë të nxehtë në baza javore ose përpara çdo përdorimi nëse nuk përdoret rregullisht.
Shënim: Nëse doreza e rubinetit ngec ose është e vështirë për t'u lëvizur, kjo zakonisht tregon se kërkon pastrim. MOS ushtroni forcë për të lëvizur dorezën në këtë situatë, pasi kjo mund të çojë në dëmtimin e dorezës ose rubinetit dhe nuk do të mbulohet nga garancia.
PYETJET E SHPESHTA
Cilat janë fuqia dhe amperët standarde të përdorura?
Informacionet që i përkasin vatit dhe amperëve mund të gjenden në pllakën e vlerësimit që ndodhet në pjesën e pasme të njësisë.
Këshilla para se të provoni një derdhje
- A është mbushur bombola e CO2 dhe a është vendosur presioni i rekomanduar
- Lëreni fuçinë të vendoset dhe të ftohet (mendoni për fuçinë e paqëndrueshme si një kanaçe sode e tundur)
- Lagja e gotës përpara derdhjes redukton tensionin sipërfaqësor me më pak shkumë në gotë.
Nuk del birrë nga rubineti kur hapet për një derdhje
- Sigurohuni që bombola e CO2 të jetë mbushur dhe të jetë vendosur në presionin e rekomanduar
- Sigurohuni që bombola e CO2 të jetë e hapur plotësisht
- Sigurohuni që fuçia e birrës të jetë një fuçi birre e Amerikës së Veriut
- Sigurohuni që rregullatori të jetë i lidhur siç duhet në bombolë (kontrolloni për gaz përpara lidhjes së zorrës)
- Sigurohuni që valvula e kokës në rregullator të jetë e drejtuar poshtë zorrës dhe jo përgjatë zorrës (krahu i pozicionit të hapur i drejtuar poshtë)
- Sigurohuni që rubineti në bashkues të jetë shtyrë poshtë dhe i kyçur në pozicion të hapur
- Hiqeni kapakun në majë të kullës dhe sigurohuni që linja e birrës të mos jetë e përkulur
Një derdhje shumë e ngadaltë
- Linjë birre e përkulur
- Presion i ulët ose aspak në bombolën e CO2 (presioni i vendosur në presionin e rekomanduar)
- Nuk ka birrë në fuçi
- Doreza në bashkues nuk është poshtë deri në fund dhe e kyçur në pozicion të hapur
Një sasi shumë e madhe shkume sipër birrës
- Presioni nuk është vendosur siç duhet (mund të jetë e nevojshme një rregullim)
- Birra në fuçi është ende e paqëndrueshme, lëreni të vendoset dhe të ftohet përpara një derdhje
- Kontrolloni për t'u siguruar që sfera lundruese (brenda bashkuesit) të jetë e lirë të lëvizë
SHËNIM: Nëse bëhet ndonjë rregullim, lëreni presionin të vendoset përpara një derdhje
Birra rrjedh nga një lidhje
- Sigurohuni që të ketë rondele aty ku ka një lidhje metalike me metal
- Sigurohuni që rondelet ose unazat "o" të mos jenë të dëmtuara dhe në vendin e duhur
- Sigurohuni që të mos ketë papastërti në asnjë nga rondelet ose unazat "o"; unazat "o" në rondelet e rubinetit janë në zorrë dhe lidhjet e bashkuesit
Doreza nuk lëviz
Nëse birra në rubinet nuk është pastruar përpara se njësia të qëndronte pa punë për një periudhë të gjatë kohore, sheqernat në birrë mund të jenë ngurtësuar dhe të kenë bërë që leva e rubinetit të birrës të ngjitet. Hiqeni rubinetin nga kulla dhe futeni në ujë të nxehtë për 30 minuta. Kjo do të zbusë dhe shpërndajë sheqernat e ngurtësuara brenda rubinetit dhe do të lejojë lëvizjen. Shpëlajeni plotësisht rubinetin përpara se ta zëvendësoni në kullë.
ZGJIDHJA E PROBLEMEVE
| PROBLEMI | SHKAKU I MUNDSHËM |
Njësia nuk funksionon |
|
Ndizet dhe fiket shpesh |
|
Vibrimet |
|
| Ftohësi i fuçisë duket se bën shumë zhurmë |
|
Dera nuk mbyllet siç duhet |
|
Shkumë e tepërt birre |
|
Rrjedhje e dobët e birrës |
|
www.Danby.com;

DANBY PRODUCTS LIMITED, ONTARIO, CANADA N1H 6Z9
DANBY PRODUCTS INC., FINDLAY, OHIO, USA 45840

Referencat
Shkarko manual
Këtu mund të shkarkoni versionin e plotë pdf të manualit, ai mund të përmbajë udhëzime shtesë sigurie, informacione garancioni, rregulla FCC, etj.
Shkarko Danby DKC054A9SLDB - Manual për freskuesin e fuçisë me një rubinet 5.4 cu. ft.










