Amazfit GTS 4 - Ръководство за смарт часовник
- 1 Съдържание на пакета
- 2 Относно устройството
- 3 Сдвояване на устройството
- 4 Зареждане на часовника
- 5 Разглобяване и сглобяване на каишката на устройството
- 6 Носене на устройството
- 7 Основни параметри
- 8 Безопасност на батерията
- 9 Бележка за безопасност
- 10 Ремонт и поддръжка
- 11 Гаранция и политика за връщане
- 12 Препратки
- 13 Изтегли ръководство
- 14 На други езици

Съдържание на пакета

Относно устройството

Забележка: Натиснете и задръжте бутона за захранване, за да включите часовника. Ако часовникът не може да бъде включен, моля, заредете го и опитайте отново.
Сдвояване на устройството
- Използвайте мобилния си телефон, за да сканирате QR кода от дясната страна, за да изтеглите и инсталирате приложението, или потърсете приложението в Google Play Store или Apple App Store и след това изтеглете и инсталирайте най-новата версия на приложението.
- Отворете приложението, регистрирайте акаунт и влезте.
- Сдвоете часовника, както е указано от приложението.
Забележка:
- За по-добро потребителско изживяване, моля, използвайте най-новата версия на приложението.
- Операционната система трябва да бъде Android 7.0, iOS 12.0 или по-нова.
- Не сдвоявайте часовника директно чрез Bluetooth на мобилния си телефон. Следвайте стъпките в приложението, за да сдвоите правилно часовника си.
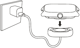
Зареждане на часовника
- Свържете кабела за зареждане на часовника към захранващ адаптер или USB порта на компютъра.
![]()
- Поставете часовника в основата за зареждане. Обърнете внимание на посоката и позицията на часовника и се уверете, че металните контакти на гърба на часовника прилягат плътно към основата за зареждане.
- Когато зареждането започне, екранът на часовника показва напредъка на зареждането.
Забележка:
- Моля, използвайте основата за зареждане, която се доставя с часовника. Уверете се, че основата за зареждане е суха преди зареждане.
- Моля, използвайте захранващ адаптер 1A или по-висок.
Разглобяване и сглобяване на каишката на устройството

Моля, вижте илюстрациите, за да разглобите или сглобите каишката на часовника.
Забележка: След като каишката е сглобена, издърпайте я правилно, за да се уверите, че е инсталирана успешно.
Носене на устройството
- Носете каишката на часовника нито прекалено стегната, нито прекалено хлабава и оставете достатъчно място на кожата да диша. Това ви кара да се чувствате комфортно и позволява на сензора да функционира.
- Когато измервате насищането на кръвта с кислород, носете часовника правилно. Избягвайте да носите часовника на китката, дръжте ръката си изправена, поддържайте удобно (подходящо стегнато) прилягане между часовника и кожата на китката си и дръжте ръката си неподвижна по време на процеса на измерване. Когато сте засегнати от външни фактори (отпускане на ръката, люлеене на ръката, косми по ръката, татуировка и т.н.), резултатът от измерването може да е неточен или измерването може да се провали и да не даде резултат.
- Препоръчваме ви да затегнете каишката на часовника по време на тренировка и да я разхлабите след това.
Основни параметри
Име на продукта: Смарт часовник
Модел на продукта: A2168
Вход: DC 5 V 500 mA MAX
Bluetooth версия: V5.0
WLAN: 2.4 GHz 802.11 b/g/n
BLE изходна мощност: <5 dBm
Wi-Fi изходна мощност: <18 dBm
Степен на водоустойчивост: 5 ATM
Работна температура: 0°C до 45°C
Bluetooth изходна мощност: <18 dBm
Bluetooth честота: 2402–2480 MHz
Wi-Fi честота: 2402–2480 MHz
Преглед на информацията за сертифициране на продукта на страницата на часовника Settings (Настройки) > System (Система) > Regulatory (Регулаторни).
Изисквания към устройството: Устройства, инсталирани с Android 7.0 или iOS 12.0 или по-нови версии на операционната система
Съдържание на пакета: Смарт часовник с каишката, Основа за зареждане, Ръководство с инструкции Моля, вижте потребителския интерфейс на часовника, за да видите версията на софтуера.

Словната марка и лога Bluetooth® са регистрирани търговски марки, собственост на Bluetooth SIG, Inc. и всяко използване на такива марки от Anhui Huami Information Technology Co., Ltd. е под лиценз. Други търговски марки и търговски имена са на съответните им собственици.
Безопасност на батерията
- Това устройство е оборудвано с вградена батерия, която не може да бъде извадена или заменена. Не разглобявайте и не модифицирайте батерията сами.
- Изхвърлянето на батерия в огън или гореща фурна, или механичното смачкване или рязане на батерия, може да доведе до експлозия.
- Оставянето на батерия в среда с изключително висока температура може да доведе до експлозия или изтичане на запалима течност или газ.
- Батерия, подложена на изключително ниско въздушно налягане, може да доведе до експлозия или изтичане на запалима течност или газ.
Бележка за безопасност
- Не позволявайте на деца или домашни любимци да хапят или поглъщат продукта или неговите аксесоари, тъй като това може да причини нараняване.
- Не поставяйте този продукт под прекалено високи или ниски температури, което може да доведе до запалване или експлозия на продукта.
- Не поставяйте този продукт близо до източници на топлина или открит пламък, като фурни и електрически нагреватели.
- Някои хора могат да получат алергични кожни реакции към пластмаси, кожи, влакна и други материали, а симптоми като зачервяване, подуване и възпаление ще се появят след продължителен контакт с компонентите на този продукт. Ако имате такива симптоми, моля, прекратете употребата и се консултирайте с Вашия лекар.
- Не използвайте неоторизирани или несъвместими захранващи адаптери или кабели за данни, които могат да повредят часовника и аксесоарите или да причинят пожар, експлозия или други опасности.
- Радиовълните, генерирани от този продукт, могат да повлияят на нормалната работа на имплантирани медицински устройства или лични медицински устройства, като пейсмейкъри и слухови апарати. Ако използвате такива медицински устройства, консултирайте се с производителя за съответните ограничения за употреба.
- Не изхвърляйте това устройство или неговите аксесоари като обикновени битови отпадъци. Моля, уверете се, че изхвърляте или рециклирате това устройство и неговите аксесоари в съответствие с местните закони и разпоредби.
Ремонт и поддръжка
- Избягвайте използването на детергенти като сапун, дезинфектант за ръце, пяна за вана или лосион за почистване, за да предотвратите химически остатъци, които могат да раздразнят кожата, да корозират устройството или да влошат водоустойчивостта на устройството.
- След носене на устройството по време на къпане (за устройства, които поддържат къпане), плуване (за устройства, които поддържат плуване) или изпотяване, моля, почистете и подсушете устройството незабавно.
- Кожената каишка не е водоустойчива. Избягвайте намокрянето на каишката, тъй като това може да съкрати нейния експлоатационен живот.
- Когато използвате светли каишки за часовници, избягвайте контакт с тъмни дрехи, за да предотвратите оцветяване.
- Не носете часовника си по време на гмуркане с шнорхел, горещи душове, горещи извори, сауни (парни бани), гмуркане, подводно гмуркане, водни ски и други дейности, включващи високоскоростни водни течения.
- Не поставяйте устройството на пряка слънчева светлина за дълги периоди. Прекалено високата или ниската температура на околната среда може да причини повреда на устройството.
- Работете внимателно по време на транспортиране. Пазете устройството сухо и далеч от влага.
Гаранция и политика за връщане
Ограничената гаранция на Amazfit покрива продуктите на Amazfit срещу производствени дефекти, започващи от датата на първоначалната покупка. Гаранционният период е 12 месеца или друг определен период, както се изисква от приложимите потребителски закони в държавата на закупуване на потребителя. Нашата гаранция е в допълнение към правата, предоставени от приложимите потребителски закони.
Официален уебсайт: en.amazfit.com
Моля, проверете често задаваните въпроси на уебсайта: https://support.amazfit.com/en.
Забележка:
Този продукт не е медицинско устройство. Нито един от данните или измерванията не е предназначен за медицинска диагноза или медицински мониторинг.
За повече информация относно предпазните мерки за безопасност, ремонта и поддръжката, моля, вижте електронното ръководство.

Препратки
App Store - Apple
Google Play
Amazfit Global | Official Online Store – amazfit-global-storeAmazfit Support
Изтегли ръководство
Тук можете да изтеглите пълната версия на ръководството в pdf формат, което може да съдържа допълнителни инструкции за безопасност, информация за гаранцията, правила на FCC и др.
Изтегли Amazfit GTS 4 - Ръководство за смарт часовник

