Nice Core - Uživatelská příručka k rozhraní Wi-Fi rádia

Úvod
Příslušenství CORE je zařízení, které – po připojení k síti Wi-Fi – umožňuje ovládat:
- pohyb automatizací s integrovaným nebo volitelným rádiovým přijímačem (používajícím jednosměrné rádiové protokoly) z katalogu Gate&Door a Screen;
- dálkové ovladače využívající jednosměrné rádiové protokoly z katalogu Gate&Door a Screen;
- senzory vybavené integrovaným rádiem (používající jednosměrné rádiové protokoly) z katalogu Screen;
- příslušenství alarmového systému řady MyNICE (kromě dálkového ovladače MNTX8, klávesnice MNKP a detektorů PhotoPIR řady MNPIRTVCC).
Před zahájením instalace produktu se ujistěte, že:
- máte iPhone se systémem iOS 10.0 (nebo novější verze) nebo smartphone se systémem Android 5 (nebo novější verze);
- máte nainstalovanou a nakonfigurovanou aplikaci MyNiceWelcome App na iPhonu nebo smartphonu a postupovali jste podle pokynů obsažených v příslušném návodu k použití.
Sada obsahuje

- příslušenství CORE;
- USB kabel a nabíječku baterií.
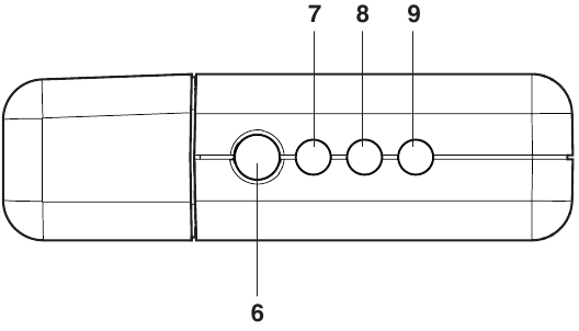
Popis komponent



- USB port (3);
- víko prostoru pro baterie (5);
- tlačítko RESET/WPS (6);
- LED dioda indikující stav napájení (7) (obvykle zelená);
- LED dioda indikující stav Wi-Fi (8) (obvykle zelená);
- LED dioda indikující stav rádia (9) (obvykle nesvítí).
Napájení
Pomocí napájecího kabelu: použijte napájecí kabel (2) dodaný s příslušenstvím a zasuňte jej do USB portu (3).
Vložení a výměna baterií
Baterie – 2 x AA dobíjecí NiMh (nejsou součástí balení). Vyměňte baterie (4) pouze tehdy, když LED dioda indikující stav napájení (7) červeně bliká, a to odstraněním víka prostoru pro baterie (5) pomocí šroubováku.
při připojování napájecího kabelu nebo vkládání baterie se ujistěte, že LED dioda indikující stav napájení (7) svítí zeleně, zatímco LED dioda indikující stav Wi-Fi (8) bliká zeleně, což znamená, že příslušenství CORE je správně napájeno a připraveno k vložení do domácí sítě a spárování.
Poznámka: blikající zelená LED dioda Wi-Fi znamená, že rozhraní Wi-Fi čeká na konfiguraci.
Zapnutí/vypnutí
Pouze pokud je CORE napájen bateriemi a není napájen externě, lze jej vypnout a znovu zapnout. Chcete-li zařízení vypnout, krátce stiskněte tlačítko RESET (6) dvakrát rychle za sebou. Chcete-li zařízení zapnout, jednoduše krátce stiskněte tlačítko RESET (6).
Instalace
Po správném zapnutí příslušenství CORE se automaticky vytvoří síť Wi-Fi, pomocí které lze CORE spárovat s dalšími zařízeními Nice. Postupujte podle pokynů v aplikaci MyNiceWelcome App. Po spárování příslušenství CORE svítí LED dioda indikující stav napájení (7) a LED dioda indikující stav Wi-Fi (8) zeleně.
Obecná chyba
V případě poruch se mohou LED diody rozsvítit nebo začít blikat. Pokud k tomu dojde, kontaktujte servis technické podpory.
LED dioda indikující stav napájení (7) svítí červeně: anomálie baterie nebo systému.
LED dioda indikující stav Wi-Fi (8) svítí červeně: anomálie modulu Wi-Fi.
LED dioda indikující stav Wi-Fi (8) bliká červeně: žádné připojení ke konfigurované síti (AP není k dispozici nebo nesprávné heslo).
LED dioda indikující stav rádia (9) svítí červeně: anomálie interního rádiového modulu
Reset Wi-Fi routeru
Pokud je nutné vyměnit Wi-Fi síťový router nebo změnit jeho heslo, lze nastavení týkající se sítě Wi-Fi resetovat bez nutnosti resetovat uživatelská nastavení. Chcete-li to provést, stiskněte a podržte tlačítko RESET (6) po dobu alespoň 3 sekund: LED dioda indikující stav Wi-Fi (8) začne červeně blikat. V tomto okamžiku uvolněte tlačítko RESET (6). Zařízení CORE se restartuje v režimu konfigurace Wi-Fi (s blikající zelenou LED diodou indikující stav Wi-Fi), přičemž si zachová všechna ostatní nastavení.
Úplný reset
Zařízení CORE lze zcela resetovat a smazat všechna nastavení (uživatele, scénáře, zařízení a Wi-Fi). Chcete-li to provést, stiskněte a podržte tlačítko RESET (6) po dobu alespoň 10 sekund: všechny LED diody budou červeně blikat. V tomto okamžiku uvolněte tlačítko RESET (6). Zařízení CORE se restartuje.
Obnovení továrního nastavení
Zapněte zařízení CORE se stisknutým tlačítkem RESET (6). LED dioda indikující stav rádia (9) bude červeně blikat. Stiskněte a podržte tlačítko RESET (6) po dobu alespoň 10 sekund. LED dioda indikující stav rádia (9) přestane blikat.
Uvolněte tlačítko.
FUNKČNÍ CHARAKTERISTIKY

Výše uvedené charakteristiky se vztahují k okolní teplotě 20 °C (± 5 °C) a k běžnému používání zařízení v obytném prostředí.
* RF interference a poloha zařízení v budovách mohou snížit rádiový dosah.
Otevření zařízení, s výjimkou prostoru pro baterie, má za následek okamžité zrušení průmyslové záruky.
Nice S.p. A. odmítá veškerou odpovědnost za škody vzniklé v důsledku nesprávného používání produktu, které není v souladu s tímto návodem.
Za účelem zlepšování svých produktů si Nice S.p. A. vyhrazuje právo kdykoli bez předchozího upozornění upravit jejich technické specifikace, aniž by však změnila jejich funkce nebo zamýšlené použití.
Baterie musí být zlikvidována v příslušných nádobách v souladu s platnými předpisy; při likvidaci zařízení musí být baterie předem vyjmuta.
EU PROHLÁŠENÍ O SHODĚ
Společnost NICE S.p. A. tímto prohlašuje, že rádiové zařízení typu
- CORE
je v souladu se směrnicí 2014/53/EU.
Úplné znění EU prohlášení o shodě je k dispozici na následující internetové adrese:
http://www.niceforyou.com/en/support

Reference
Stáhnout návod
Zde si můžete stáhnout úplnou verzi návodu ve formátu pdf, může obsahovat další bezpečnostní pokyny, informace o záruce, pravidla FCC atd.
Stáhnout Nice Core - Uživatelská příručka k rozhraní Wi-Fi rádia