Casio DF-120ECO, JF-120ECO - Beregner Brugervejledning

Vigtige Forholdsregler
Sørg for at gemme al brugerdokumentation til fremtidig reference.
- Undgå at tabe lommeregneren og udsæt den i øvrigt ikke for voldsomme stød.
- Forsøg aldrig at skille lommeregneren ad.
- Tør enheden af med en blød, tør klud for at rengøre den.
- Indholdet af disse anvisninger kan ændres uden varsel.
- CASIO COMPUTER CO., LTD. påtager sig intet ansvar for tab eller krav fra tredjeparter, der måtte opstå som følge af brugen af dette produkt.
Strømforsyning
Two-Way Power System giver strøm selv i fuldstændigt mørke.
- Batteriet, der følger med denne enhed, aflades en smule under forsendelse og opbevaring. På grund af dette kan det kræve udskiftning tidligere end den normale forventede batterilevetid.
Automatisk Sluk-Funktion
Automatisk sluk: Ca. 6 minutter efter sidste tastebetjening
Momsberegninger
- Sådan indstiller du en momsrate
Eksempel: Momsrate = 5%
(SET) (indstille) (Indtil SET vises.)

(TAX RATE) (momsrate) 5*1
(SET) (indstille)

- Du kan kontrollere den aktuelt indstillede rate ved at trykke på
og derefter
(TAX RATE) (momsrate).
Valutaomregning
- Sådan aktiverer du Valutaomregningstilstand
Tryk på
for at skifte mellem Omregningstilstand og Hukommelsestilstand.*2 - "EXCH" (veksling) indikatoren på displayet angiver Omregningstilstand.
- Sådan indstiller du omregningskurser
Valuta 1 (C1) er dit hjemlandets valuta, og den er derfor altid indstillet til 1. Valuta 2 (C2), Valuta 3 (C3) og Valuta 4 (C4) er for valutaer for tre andre lande, og du kan ændre disse kurser efter behov.
Eksempel: Omregningskurs $1 (C1 hjemlandets valuta) = 0.95 euro for Valuta 2 (C2)
(SET) (indstille) (Indtil SET vises.)
0.95*1
(SET) (indstille)

- Du kan kontrollere den aktuelt indstillede rate ved at trykke på
og derefter
.
*1For kurser på 1 eller derover kan du indtaste op til seks cifre. For kurser under 1 kan du indtaste op til 12 cifre, inklusive 0 for heltalscifret og foranstillede nuller (dog kan kun seks betydende cifre, talt fra venstre og startende med det første ikke-nul ciffer, specificeres).
Eksempler: 0.123456, 0.0123456, 0.00000012345
Specifikationer
Strømforsyning: Two-Way Power System, med solcelle og et knapcellebatteri (CR2032)
Batterilevetid: Ca. 7 år (1 times drift pr. dag)
Driftstemperatur: 0°C til 40°C (32°F til 104°F)
Mål:
DF-120ECO: 35.7 (H) × 122.5 (W) × 174.5 (D) mm (13/8"H × 413/16"W × 67/8"D)
JF-120ECO: 26.3 (H) × 107 (W) × 173 (D) mm (11/16"H × 43/16"W × 613/16"D)
Vægt:
DF-120ECO: Ca. 185 g (6.5 oz), inklusive batteri
JF-120ECO: Ca. 160 g (5.6 oz), inklusive batteri
Brugsanvisning


Momsrate = 5%
$150 ➞ ???
"F" (F)
150
*1
*2
*1
$105 ➞ ???
105
*3
*2
*3
* 1 Pris-plus-moms
* 2 Moms/Impuesto/Taxe
* 3 Pris-uden-moms
Omregningskurs
C1 ($) = 1, C2 (EUR) = 0.95, C3 (FRF) = 6.1715
100 EUR ➞ $? (105.26315)
"5/4, 2" (5/4, 2)
1


$110 ➞ FRF? (678.865)
110


100 EUR ➞ FRF? (649.63153)
1


Formler for Omregningsberegning
| C2, C3, C4 ➞ C1 A/B | C1 ➞ C2, C3, C4 A B | C2, C3, C4 ➞ C2, C3, C4 (A/X) Y |
| ||
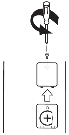
Udskiftning af Batteriet


Producent:
CASIO COMPUTER CO., LTD.
6-2, Hon-machi 1-chome, Shibuya-ku, Tokyo 151-8543, Japan
Ansvarlig inden for Den Europæiske Union:
CASIO EUROPE GmbH
Bornbarch 10, 22848 Norderstedt, Germany

Download manual
Her kan du downloade fuld pdf-version af manualen, den kan indeholde yderligere sikkerhedsinstruktioner, garantioplysninger, FCC-regler osv.
Download Casio DF-120ECO, JF-120ECO - Beregner Brugervejledning
og derefter
for at skifte mellem Omregningstilstand og Hukommelsestilstand.*2
og derefter
B