Wavestore WV-CT-4F - Lynvejledning til Mini Bullet IP-kamera

Sikkerhedsinformation
Disse instruktioner er beregnet til at sikre, at brugeren kan bruge produktet korrekt for at undgå fare eller tab af ejendom.
Hvis produktet ikke fungerer korrekt eller er beskadiget, skal du kontakte servicecenteret eller indkøbskontoret.
Risiko for eksplosion, hvis batteriet udskiftes med en forkert type.
Bortskaf brugte batterier i henhold til instruktionerne.
| Alvorlig personskade eller død kan forårsages, hvis nogen af disse advarsler ignoreres. |
BATTERI
- Der er risiko for eksplosion, hvis batteriet udskiftes forkert. Batteriet bør kun udskiftes med det samme batteri.
- Brugte batterier skal bortskaffes i henhold til lokale regler eller batteriproducentens anvisninger. Bortskaffelse i en brand eller i en varm ovn, eller mekanisk knusning og skæring kan forårsage en eksplosion.
- Hvis batteriet efterlades i et miljø med meget høj temperatur eller lavt lufttryk, kan det resultere i en eksplosion eller lækage af brandfarlige væsker eller gasser.
STRØM
- Brug kun standardiserede adaptere, der er beskrevet i manualen. Forkert tilslutning af strømkilden kan forårsage brand, elektrisk stød eller fejl.
- Hvis der er røg eller en underlig lugt fra strømkilden, skal du straks afbryde strømmen og kontakte servicecenteret eller indkøbskontoret. Hvis du fortsætter med at bruge den, som den er, kan det forårsage brand og elektrisk stød.
- Tag stikket ud af stikkontakten, før du tilslutter strømtilslutningsblokken.
INSTALLATION
- Installer den i henhold til det temperatur- og fugtighedsmiljø, der er egnet til produktspecifikationerne. Ellers kan det forårsage brand og elektrisk stød.
- Torden og lyn kan forårsage problemer med kameraet. Vær forsigtig med at minimere skader forårsaget af lyn, såsom jordforbindelse, ved installation.
- Placer ikke ledende materialer (skruetrækkere, mønter, metalpinde osv.) og vandfyldte beholdere på kameraet. Det forårsager skader forårsaget af brand, elektrisk stød og fald.
- Hvis du vil flytte det installerede produkt, skal du slukke for strømmen og flytte det eller geninstallere det. Ellers kan det forårsage brand og elektrisk stød.
- Installer det ikke på steder, hvor der er meget fugt, støv, sod osv. Det forårsager brand og elektrisk stød.
- Undgå steder, hvor der kommer direkte sollys ind, eller hvor der kommer varme ud, såsom varmeapparater. Det forårsager brand og elektrisk stød.
RENGØRING
- Sprøjt ikke vand direkte på hver del af produktet under rengøring. Det forårsager brand og elektrisk stød.
Personskade eller beskadigelse af udstyr kan forårsages, hvis nogen af disse forsigtighedsregler ignoreres.
STRØM
- Brug strømledningen, efter at du har fastgjort den godt til strømtilslutningsklemmen. Ufuldstændig tilslutning kan forårsage brand.
- Forlæng ikke adapterens udgangskabel. Hvis du har brug for at installere strømkabelforlængelsen, skal du kontakte servicecenteret.
- Brug isoleret strøm til PoE-tilsluttet ekstern strøm.
INSTALLATION
- Det anbefales ikke at røre ved linsen, når du installerer produktet, da fabrikken leveres med en fokusjustering, der er afsluttet under fremstillingsafslutningsinspektionsfasen.
- Undgå at installere kameraer, der vender mod skarpt lys som sollys. Forårsager skade på billedsensoren.
- Sørg for, at det er sikkert og forsvarligt, når du installerer kameraet på væggen eller i loftet. Dette kan forårsage personskade ved fald.
- Tilslut ikke flere kameraer til én adapter. Overkapacitet forårsager unormal varme og brand.
- Bær beskyttelseshandsker, når du installerer/afinstallerer kameraet. Dette forårsager forbrændinger forårsaget af høj temperatur på produktets overflade.
- Tab eller stød ikke produktet. Hold dig væk fra steder, hvor vibrationer er alvorlige, eller der findes magnettyper.
- Installer det på et godt ventileret sted. Dette kan forårsage brand og fejl.
RENGØRING
- Tør den forurenede overflade af med en ren, blød, tør klud, eller gør den bløde, tørre klud våd for at forhindre vand i at strømme, og tør derefter det forurenede område af.
Forholdsregler ved installation og brug
- Batteriet (batteripakke eller udstyret batteri) må ikke udsættes for overdreven varme, såsom sollys, ild osv.
- Adskil ikke kameraet efter eget valg.
- Hvis du med magt installerer produktet med overdreven kraft, kan funktionsfejl beskadige kameraet.
- Slå eller ryst ikke kameraet, og pas på ikke at beskadige kameraet med skødesløs opbevaring eller funktionsfejl.
- Vær forsigtig med ikke at installere kameraet på et regnfuldt eller fugtigt sted, og lad det ikke ligge på et vådt sted.
- Installation eller brug af produktet i vand kan forårsage alvorlig produktfejl.
- Installer ikke produktet, hvis der er kemikalier eller damp på det sted, hvor produktet er installeret, eller hvis det kan genereres.
- Vær forsigtig med ikke at få kemikalier på produktets overflade, når du installerer produktet. Kemiske opløsningsmidler såsom rengøringsmidler og klæbemiddelkomponenter kan forårsage fatal skade på produktets overflade.
- Installer det ikke i nærheden af køkkenet eller madlavningsbordet, da spiseolie såsom sojaolie også kan forårsage produktskade og deformation. Det kan forårsage produktskade.
- Vær forsigtig med ikke at få fremmedlegemer på Micro SD-kortterminalen. Hvis der er et fremmedlegeme, skal du tørre det af med en blød klud.
- Data gemmes ikke ved slutningen af Micro SD-kortets levetid. I dette tilfælde skal du købe et nyt Micro SD-kort.
- Der kan forekomme fugt i kameraets glas, når den nye produktboks åbnes (eller når produktet kører i første omgang). Den genererede fugt fjernes af en Gore-ventil, der er fastgjort til kameraet inden for få timer efter strømtilslutningen.
- For produkter, der er vedlagt et tørremiddel eller en korttypeabsorbent, skal du installere det i henhold til manualen.
- Brug kun med vogn, stativ, trefod, beslag eller bord, der er specificeret af producenten, eller som sælges sammen med apparatet.
- Tag stikket ud af dette apparat, når der bruges en vogn. Vær forsigtig, når du flytter vognen/apparatkombinationen for at undgå personskade ved væltning.
![]()
Produkt og tilbehør
Kontroller, om alle kameraer og tilbehør er inkluderet i pakken.


Delnavn

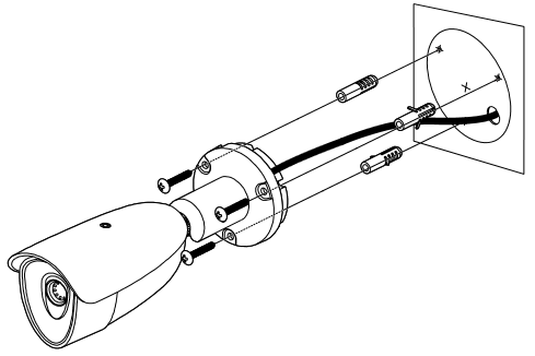
Installation
Før du installerer dit kamera, skal du læse følgende forsigtighedsregler.
- Du skal kontrollere, om placeringen kan bære fem gange kameraets vægt.
- Lad ikke kablet blive fanget på et forkert sted, eller at det elektriske ledningsdæksel bliver beskadiget. Ellers kan det forårsage et sammenbrud eller brand.
- Når du installerer dit kamera, må du ikke tillade nogen person at nærme sig installationsstedet. Hvis du har værdifulde ting under stedet, skal du flytte dem væk.

- Bor tre huller på installationsoverfladen baseret på den medfølgende installationsskabelon.
- Indsæt plastankrene i hullerne.
- Installer den medfølgende ferritkerne på kablet.
- Fastgør den medfølgende vægpude til bunden af kameraets panorerings-/hældningsbeslag.
- Fastgør kameraet til installationsoverfladen.
- Juster skruehullerne på kameraets panorerings-/hældningsbeslag og plastankrene.
- Indsæt den medfølgende skrue i plastankrene gennem skruehullerne på kameraets panorerings-/hældningsbeslag.
- Spænd skruerne godt fast i plastankrene.
- Tilslut alle de nødvendige kabler.
- Juster vinklen.
Kabling
To muligheder
Brug en PoE-aktiveret switch til at tilslutte data og strøm via et enkelt kabel, og begynd straks at se og optage billeder. En ikke-PoE-switch kræver en adapter til strømoverførsel.
- Brug af en PoE-aktiveret switch
Kameraet er PoE-kompatibelt, hvilket muliggør transmission af strøm og data via et enkelt Ethernet-kabel. PoE eliminerer behovet for de forskellige kabler, der bruges til at strømforsyne, optage eller styre kameraet. Følg illustrationen nedenfor for at tilslutte kameraet til en PoE-aktiveret switch ved hjælp af et Ethernet-kabel.
![wavestore - Vision WV-CT-4F - Cabling - Using a PoE-Enabled Switch Kabling - Brug af en PoE-aktiveret switch]()
- Brug af en ikke-PoE-switch
Hvis der ikke bruges en PoE-aktiveret switch, skal du bruge en strømadapter til strømoverførsel og en ikke-PoE-switch til dataoverførsel. Følg illustrationerne nedenfor for at tilslutte kameraet uden en PoE-aktiveret switch.
![wavestore - Vision WV-CT-4F - Cabling - Using a Non-PoE Switch Kabling - Brug af en ikke-PoE-switch]()
Sådan tilsluttes netværket via det vandtætte kabel
Indsæt Lan-kablet i gummiet først som (a) nedenfor. Sæt Lan-kablet i (b), hvorefter (c) samles tæt til (b). Som et sidste trin skal (d) samles til (c) uden at efterlade noget mellemrum.


AUDIO IN: PINK
AUDIO GND: PINK + PRIK
AUDIO OUT: LYSEBLÅ
DI: LYSEGRØN
DI COM: GUL
DO1 (N.O): GRØN
DO1 COM: GUL + PRIK
- Strømtilslutning
Kontroller omhyggeligt spændingen og strømkapaciteten for den nominelle effekt.
| Nominel effekt | Strømforbrug | PoE |
| DC 12V | 11.9W | IEEE 802.3af class3 |
- Netværksforbindelse
Tilslut crossover-kablet til RJ-45. - BNC-tilslutning
Bruges til at tilslutte videooutputenheder såsom en skærm ved hjælp af BNC-koaksialkablet. - Audio In
Tilslut kameraets 'Audio In'-kabel til enheden som en mikrofon. - Audio Out
Tilslut kameraets 'Audio Out'-kabel til enheden som en højttaler. Audio Out understøtter kun RTSP Back channel-funktionen. Det er planen at gøre det tilgængeligt på nettet senere. - Alarm In
Kablet til sensor-/alarminputenheden skal tilsluttes den gule og lysegrønne linje på Alam-kablet. - Alarm Out
Det tilsluttes alarmlys, sirene eller lamper, og sensortyperne er normalt åbne og normalt lukkede. Kablet til alarmoutputenheden skal tilsluttes DO1(N.O.) og DO1 COM på kabelstikket.
IP Installer

- Kør IP Installer
- Kør IP-installationsprogrammet.
- Klik på menuen Netværksadaptervalg (NIC) efter at have kørt dette program.
- Vælg et netværk, som et kamera er tilsluttet, og klik derefter på knappen 'Search' (Søg). (Tager ca. 5 sek.)
- Vælg et kamera, der skal indstilles.
- Oplysningerne om det valgte kamera vises i Device Info (Enhedsoplysninger).
- Vælg netværkstypen.
Standardnetværkstypen for kameraet er STATIC (STATISK).
Når den er indstillet til DHCP, vil den automatisk indstille kameraets IP, hvis du har en DHCP-server.
Når den er indstillet til DHCP, indstilles kameraets IP til 192.168.xxx.xxx efter et minut, hvis du ikke har en DHCP-server.
- Konverter enhedens MAC-adresse til IP-adressen.
Enhedens MAC-adresse er vedhæftet produktetiketten.
![]()
Konverter de to sidste sæt hexadecimale tal til decimaltal.
Indtast IP-indstillingsoplysninger, når netværkstypen er indstillet til STATIC (STATISK).
Standard TCP/IP-oplysninger
- IP: 192.168.xxx.xxx
- Subnet Mask: 255.255.0.0
- Gateway: 192.168.0.1
- DNS: 168.126.63.1
- Skift porten efter behov, når netværkstypen er indstillet til STATIC (STATISK).
En 'Port Forwarding' (Portvideresendelse) skal indstilles for ekstern adgang til kameraet.
Se manualen til netværkshuben for 'Port Forwarding' (Portvideresendelse)-indstillinger.
En yderligere ændring af HTTPS-, RTSP-porten kan foretages på Web Viewer > Admin-siden.
- Indtast ID og PW (adgangskode) til kameraet for godkendelse.
Sørg for at ændre ID og PW (adgangskode) af sikkerhedsmæssige årsager.
Gå til "Web viewer>Setup>System> Users Management" (Webvisning>Opsætning>System>Brugeradministration) for at ændre ID og PW (adgangskode).
ID og PW (adgangskode) indstilles til standardværdien, når kameraet 'factory reset' (nulstilles til fabriksindstillinger).
Standard ID / PW (adgangskode): root / pass
- Sørg for at klikke på knappen 'Save' (Gem) for at gemme de ændrede værdier.
En "Apply" (Anvend)-meddelelse vises, når indstillingerne anvendes normalt, eller en fejlmeddelelse vises, når det mislykkes. - For at genstarte eller nulstille (undtagen netværksindstilling) kameraet.
Vælg et kamera (flere kameraer kan vælges) > Indtast ID og PW (adgangskode) > Klik på knappen Reboot (Genstart) eller Factory Reset (Nulstil til fabriksindstillinger). - Kan slette en Active-X, der er installeret, når der er adgang til Web Viewer (Webvisning).
Du behøver ikke funktionen, fordi dette kamera bruger VLC-plugin i stedet for Active-X.
Forberedelse til montering af kameraet
- Monteringsfladen skal bære fem gange kameraets vægt.
- Lad ikke kablerne blive fanget på upassende steder, eller den elektriske ledningsdækning blive beskadiget. Dette kan forårsage en nedbrydning eller brand.
Disse serviceinstruktioner er kun beregnet til brug af kvalificeret servicepersonale. For at reducere risikoen for elektrisk stød må du ikke udføre anden service end den, der er indeholdt i betjeningsvejledningen, medmindre du er kvalificeret til det.- Dette produkt er beregnet til at blive forsynet med en UL-listet strømforsyningsenhed mærket "Class 2" eller "LPS" eller "PS2" og klassificeret til 12 Vdc, 1A min eller PoE (802.3af), 0.32A.
- Den kablede LAN-hub, der leverer strøm over Ethernet (PoE) i overensstemmelse med IEEE 802.3af, skal være en UL-listet enhed med output evalueret som en Limited Power Source (begrænset strømkilde) som defineret i UL60950-1 eller PS2 som defineret i UL62368-1.
- Enheden er beregnet til installation i et netværksmiljø 0 som defineret i IEC TR 62102. Som sådan skal tilhørende Ethernet-ledninger være begrænset til indersiden af bygningen.
- Brug monteringsskabelonarket eller selve kameraet til at markere og bore de nødvendige huller i væggen eller loftet.
Bortskaffelse af gammelt apparat

- Symbolet, der er markeret på produktet, vil følge og være dækket af Europa-direktivet 2002/95/EF.
- Al elektronisk bortskaffelse af affald er forskellig afhængigt af regeringen eller lokalt, så det skal kontrolleres.
- Korrekt bortskaffelse af dit gamle apparat vil hjælpe med at forhindre potentielle negative konsekvenser for miljøet og menneskers sundhed.
- For mere detaljerede oplysninger om bortskaffelse af dit gamle apparat, bedes du kontakte dit bykontor, affaldsbortskaffelsestjeneste eller den butik, hvor du købte produktet.

Dette udstyr er blevet testet og fundet i overensstemmelse med grænserne for en digital enhed af klasse A, i henhold til del 15 af FCC-reglerne. Disse grænser er designet til at give rimelig beskyttelse mod skadelig interferens, når udstyret bruges i et kommercielt miljø. Dette udstyr genererer, bruger og kan udstråle radiofrekvensenergi og kan, hvis det ikke installeres og bruges i overensstemmelse med brugsanvisningen, forårsage skadelig interferens med radiokommunikation. Brug af dette udstyr i et boligområde vil sandsynligvis forårsage skadelig interferens, i hvilket tilfælde brugeren vil blive bedt om at rette interferensen for egen regning.
For at afbryde strømmen fra lysnettet skal du trække netledningen ud. Når du installerer produktet, skal du sørge for, at stikket er let tilgængeligt.
Download manual
Her kan du downloade fuld pdf-version af manualen, den kan indeholde yderligere sikkerhedsinstruktioner, garantioplysninger, FCC-regler osv.
Download Wavestore WV-CT-4F - Lynvejledning til Mini Bullet IP-kamera



