Argo SWAN EVO - Portable Air Conditioner Manual
- 1 INTRODUCTION
- 2 GENERAL OPERATING AND SAFETY INSTRUCTIONS
- 3 DESCRIPTION OF THE APPLIANCE
- 4 PRE-OPERATING CHECKS AND OPERATIONS
- 5 APPLIANCE START-UP
- 6 USE WITH END FITTING FOR WINDOW
- 7 USE WITH WINDOW UNIT KIT
- 8 HOW TO USE THE APPLIANCE
- 9 OPERATING MODES
- 10 HOW TO ELIMINATE CONDENSATE
- 11 REMOTE CONTROL OPERATION
- 12 CARE AND MAINTENANCE
- 13 TIPS FOR MAXIMISING COMFORT AND MINIMISING CONSUMPTION
- 14 References
- 15 Download manual
- 16 In Other Languages

INTRODUCTION
Read the instructions carefully before operating the appliance or carrying out maintenance work. Observe all the safety instructions; failure to do so may lead to accidents and/or damage. Store these instructions in a safe place for future reference.
Appliance filled with flammable gas R290.
Before installing and using the appliance, read the owner's manual.
Before repairing the appliance, read the service manual.
The Refrigerant R290
- To realize the function of the air conditioner unit, a special refrigerant circulates in the system. The refrigerant is the fluoride R290 = 3 GWP (Global warming potential). This refrigerant is flammable and inodorous. It can lead to explosions under certain conditions, however the flammability of this refrigerant is very low and it can be ignited only by fire.
- Compared to other common refrigerants, R290 is a non-polluting refrigerant with no harm to the ozonosphere and a no effect upon the greenhouse effect. R290 has very good thermodynamic features which lead to a really high energy efficiency. The units therefore need less filling.
Do not try to accelerate the defrosting process or to clean the appliance in different ways other than those recommended by the manufacturer. Should repair be necessary, contact your nearest authorised Argoclima Service Centre. Any repairs carried out by unqualified personnel may be dangerous. The appliance has to be stored in a room that doesn't have any continuously operating ignition sources. (for example: open flames, an operating gas appliance or an operating electric heater.) Do not pierce or burn.
Appliance has to be installed, operated and stored in a room with a floor area larger than 7 m2. For repairs, strictly follow manufacturer's instructions only for appliances filled with R290 flammable gas. Be aware that refrigerants do not have any odour.

GENERAL OPERATING AND SAFETY INSTRUCTIONS
- This appliance is a local air conditioner designed for domestic use.
- Only use this air-conditioner as described in this manual.
- Ensure that the required voltage and frequency (220-240V/50 Hz) match the available power source.
- Fuse style 5ET or SMT 250V, the electricity passing through the fuse cannot be above 3.15A.
- This appliance can be used by children aged from 8 years and above and people with reduced physical, sensory or mental capabilities or lack of experience and knowledge if they have been given supervision or instruction concerning use of the appliance in a safe way and understand the hazards involved.
- Children shall not play with the appliance.
- Cleaning and user maintenance shall not be made by children without supervision.
- Ensure that the electricity system is able to deliver the operating current required by the air conditioner, in addition to that normally absorbed by other appliances (household appliances, lighting system, etc.). Please refer to the maximum power input data indicated on the air conditioner's data plate.
- Connection to the electricity grid must take place in accordance with current installation standards.
- Ensure that the automatic switches and system protection valves are able to withstand a start-up current of 6A (normally for less than 1 second).
- The system socket must always be fitted with an efficient earth connection.
- Make sure that the plug is fully inserted. Do not use multiple adaptors. Do not touch the plug with wet hands. Make sure that the plug is clean.
- Do not use the plug as a means by which to start/stop the air conditioner: use the ON/OFF button on the remote control or on the control panel.
- Do not install the air conditioner in rooms where it may receive water splashes (e.g. laundry rooms).
- This air conditioner can be used by children of 8 years of age or older, and by persons with reduced physical, sensory and mental abilities or who lack the necessary know-how and experience to operate it, if under the supervision or instruction of a person responsible for their safety, so that they are fully aware of the attendant risks.
- Before moving or cleaning the device, ensure that it is unplugged from the socket.
- Do not move the air conditioner while it is operating; first turn the appliance off, check for any condensate build-up and empty it if necessary.
- To turn the appliance off, set the remote control to OFF and remove the plug from the socket. Pull on the plug only. Do not pull the cord.
- Do not use the appliance if the cord or plug are damaged. If the power supply cord is damaged, it must be replaced by the manufacturer, dealer or a similarly qualified person so as to avoid any safety risks.
- Keep the unit away from fire, possible fire sources, inflammable or explosive objects.
- Do not leave the unit unattended while it's operating, turn the unit off and unplug it.
- If drainage hose is used, the ambient temperature musnt't be lower than 0°C. It can cause water leakage to the air conditioner.
- Do not splash or pour water on the air conditioner
PRECAUTION!
- Do not insert any objects into the air conditioner: this is very dangerous as the fan turns at high speed.
- Ensure that air circulates freely around the unit. Do not cover the air intake and delivery grilles with drapes or any other means.
- The air conditioner must be positioned at least 50 cm from the wall or any other obstacles, on a flat and stable surface so as to avoid water leaks.
- The air conditioner is fitted with a system for protecting the compressor from overload. This means that the compressor only starts 3 minutes after its previous stoppage.
- Please wait at least 3 minutes before starting the unit. This helps prevent the compressor from being damaged.
In the event of an anomaly, switch the appliance off and unplug it from the socket. Do not dismantle or attempt to repair or modify the product. In the event of a malfunction, contact the service centre directly.
- Do not expose the air conditioner to direct sunlight, as the colour of the materials may change; moreover, the appliance may overheat causing the protection mechanism to intervene and switch the appliance off.
- Do not use insecticides, oils, detergents or spray paints near the appliance; do not use aggressive chemical detergents to clean the casing: this may damage the finish and colour.
- Close all open windows to maximise air conditioning efficiency.
The manufacturer will not be held liable if safety and accident prevention rules are not observed.
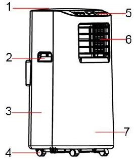
DESCRIPTION OF THE APPLIANCE
FRONT VIEW

- UPPER PANEL
- HANDLE
- REAR STRUCTURE
- SWIVEL CASTERS
- CONTROL PANEL – BUTTONS FOR OPERATION WITHOUT REMOTE CONTROL
- FINS AND AIR FLOW OUTLET
- FRONT STRUCTURE
REAR VIEW

- AIR INTAKE
- DRAINAGE HOLE FOR DEHUMIDIFICATION FUNCTION
- AIR OUTLET AND FITTING
- AIR INTAKE
- DRAINAGE HOLE FOR COOLING FUNCTION
- FRONT STRUCTURE
- HANDLE
- REAR STRUCTURE
Min/max operating limits (internal temperature)
Cooling: 7°C DB / 35°C DB
Dehumidification: 17°C DB / 35°C DB
Cooling mode room temperature adjustment range: 16°C DB / 31°C DB
PRE-OPERATING CHECKS AND OPERATIONS
The following space must be maintained to ensure the operating efficiency of the portable air conditioner.

APPLIANCE START-UP
Open the packaging and pull out the box. Remove the product and the other elements supplied (illustrated in the box below).

Position the product vertically on a flat and stable surface, as close as possible to a window and at least 50 cm from walls or other nearby obstacles.
USE WITH END FITTING FOR WINDOW
- Stretch the flexible hose sufficiently so that it reaches the outside (max 1.5 m) and hook it to the rear part of the air conditioner.
![]()
- Open the window and lock one of the two leaves with the handle. Rest the terminal connection on the fixed leaf, bring the other leaf of the window close.
![]()
- Open the window and lock one of the two leaves with the handle. Rest the terminal connection on the fixed leaf, bring the other leaf of the window close.
- Avoid tight bends or folds in the flexible pipe.
![ARGO - SWAN EVO - USE WITH END FITTING FOR WINDOW USE WITH END FITTING FOR WINDOW]()
USE WITH WINDOW UNIT KIT
- To make the hole in the glass it is advisable to take the porthole kit accessory to the glazier.
![]()
- Insert the window unit into the window.
![]()
- Insert the round fitting into the retractable flexible pipe and insert the latter with its round fitting into the window unit without the plug.
![]()
- Insert the round fitting onto the flexible pipe.
![]()
If the air conditioner is not used for prolonged periods, disconnect the pipe and plug the window unit.
Connect the power cord to a suitable electric socket (220–240 V). Insert the supplied batteries into the remote control and make sure the poles match. Select the desired operating mode from the remote control.
HOW TO USE THE APPLIANCE
This appliance can be used for cooling, dehumidifying and ventilation purposes.
Before using the appliance, leave it standing erect for at least two hours.
When switching between modes, the fan continues to turn but the compressor stops: the compressor will re-start after 3 minutes. This delay protects the compressor from potential damage.

THE DRAINAGE TUBE MUST BE CONNECTED to the appliance AT ALL TIMES: the only exception is when the appliance is used in dehumidification mode only, in which case the appliance should be left to discharge directly into the room for maximum efficiency (see the "Dehumidification Mode" paragraph).
Clean the air filters under the easily removable rear grille regularly to keep the air conditioner working efficiently.
OPERATING MODES
- COOLING MODE
- The "Cool" LED on the control panel will turn on.
- The temperature can be adjusted to between 16°C and 31°C.
- In this mode, each time the ON/OFF button is pressed the unit switches off, the appliance saves the temperature setting and retains this setting when it is switched on again.
- In this mode, the fan speed can be adjusted and the Timer and SLEEP functions can be set.
- For more silent operation, run the fan at low speed.
- DEHUMIDIFICATION MODE (DRY)
- Press the MODE button to select the dehumidification mode.
- The temperature is controlled by the electronic board and cannot be adjusted.
- In this mode, each time the ON/OFF button is pressed the unit switches off, the appliance saves the settings and retains them when it is switched on again.
- The fan speed is set to low and cannot be adjusted.
NOTE
The air conditioner does not cool the room when operating as a dehumidifier.
When the appliance is used as a dehumidifier, the flexible pipe must not be connected.
For maximum dehumidification efficiency, leave the rear discharge attachment free to discharge directly into the environment.
The dehumidification mode is recommended during autumn and winter.
If used during summer, it is best to leave the flexible pipe attached so that the hot air is discharged towards the outside rather than into the room.
During dehumidification, continuous drainage should be implemented (see the next chapter, "HOW TO ELIMINATE CONDENSATE").
- FAN MODE
- Press the MODE button to select ventilation until the corresponding icon appears.
- In this mode, the fan speed can be adjusted.
- The temperature cannot be adjusted.
HOW TO ELIMINATE CONDENSATE
Cooling

Manual drainage
This appliance automatically vaporises condensate in the cooling mode. Ensure that when the unit is operating in cooling mode, the rubber caps closing the drainage holes on the rear of the appliance are properly positioned.
When the air conditioner operates in cooling mode, there is no need for continuous condensate drainage; only in specific weather conditions with very high air humidity levels may water deposit inside the unit. When the container is full, the "Full" LED (full tank) lights up on the control panel to signal that full status and block the appliance's operation.
To empty the container, switch the air conditioner off and unplug it. Remove the cap form the rear drainage hole and direct it over a normal drain.
Ensure that the tube is not twisted or bent. The tube must slope downwards.
Re-close the drainage hole with the cap and resume use of the air conditioner.
Dehumidification

Continuous drainage
When using the air conditioner in dehumidification mode, it is advisable to always arrange for continuous drainage, so as to maximise dehumidification efficiency.
Connect one end of the PVC pipe (not provided) to the upper discharge hole and place the other end above a drain.
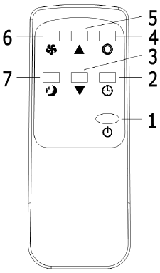
REMOTE CONTROL OPERATION
- Slide the cover open in the direction indicated by the arrow.
- Insert the batteries (LR03/1.5 V - not provided) into the remote control and make sure the poles match.
- Put the cover back on.
- Point the remote control towards the receiver on the air conditioner.
- The remote control should be positioned within 6 metres from the receiver.
- There must be no obstacles between the remote control and the receiver.
- Do not drop or launch the remote control.
- Do not leave the remote control under strong sunlight or heating devices and other source of heat.
- Remove the batteries from the remote control when the latter is not used for a long time.
- If no sound is heard and the transmission symbol on the display does not flash, the batteries must be replaced.
- If the system resets when the remote control button is pressed, the electrical signal is poor and the batteries must be replaced.
- Flat batteries must be disposed of correctly.
![]()
- N.B.:
* The image depicts a general remote control, which contains nearly all the function keys. These may be of a slightly different material (depending on the model).
INFORMATION FOR THE CORRECT DISPOSAL OF BATTERIES IN ACCORDANCE WITH EUROPEAN DIRECTIVE
![]()
2006/66/EC
Replace batteries when they are depleted. At the end of their life, batteries must be disposed of separately from unsorted waste. They must be taken to designated recycling centres or returned to a retailer providing this service. Separate disposal of batteries prevents potential negative effects on the environment and human health due to inadequate disposal, and also allows for recovering and recycling their constituent materials, resulting in significant savings in terms of energy and resources. The separate disposal obligation is underlined by the crossed-out dustbin symbol appearing on the battery. Illegal disposal of the product by the user implies administrative sanctions applied as per current regulations.
FOR OPTIMAL REMOTE CONTROL OPERATION, POINT THE TRANSMITTER HEAD TOWARDS THE RECEIVER ON THE AIR CONDITIONER.

- ON/OFF BUTTON
- TIMER BUTTON
- DOWN BUTTON
![]()
- MODE BUTTON
- UP BUTTON
![]()
- FAN BUTTON
- SLEEP BUTTON

- ON/OFF BUTTON
Press this button to switch the unit on or off. - TIMER BUTTON
- When the air conditioner is off, press "TIMER" to set when to switch the unit on. Press "+" o "–" to set the time, and press "TIMER" again to confirm.
- When the air conditioner is on, press "TIMER" to set when to switch the unit off. Press "+" o "–" to set the time, and press "TIMER" again to confirm.
- After setting the time, press "TIMER" to cancel the time setting.
- DOWN BUTTON
![]()
Press this button to adjust the temperature and set the time. - MODE BUTTON
When the unit is on, press this button to choose the desired mode among: COOLING, FAN and DEHUMIDIFYING. - UP BUTTON
![]()
Press this button to adjust the temperature and set the time. - FAN BUTTON
In the cooling and fan modes, press this button to adjust the ventilation speed to low (Low) or high (High). In certain conditions, the fan speed may not function according to the settings.
In dehumidifying mode, this button cannot be pressed, thus the fan will forcefully choose the low fan speed. - SLEEP BUTTON
In cooling mode, press the UP and FAN buttons to activate the Sleep mode, after which the unit will return to the silent mode and save energy.
N.B.: The Sleep function is not available in the dehumidifying or fan modes. - TEMPERATURE AND ERROR DISPLAY
| Problem | Cause | Solution |
| FL | Tank full of water. | Empty the tank. If the problem persists, contact a service centre. |
| E1 | Room temperature sensor failure. | Contact a service centre. |
| E2 | Failure of temperature sensor on the evaporator. | Contact a service centre. |
CARE AND MAINTENANCE
Before carrying out any cleaning or maintenance operations, unplug the appliance.
- Cleaning the air filters
![]()
The air filters must be checked at least once every two weeks of use. Operating the appliance with dirty or clogged filters will decrease the air conditioner's efficiency and may cause serious problems.
To remove the upper filter, loosen the central screw and pull the grille's lever.
Use a vacuum cleaner to remove the dust from the filters.
Should this not suffice, wash the filter with lukewarm water and some neutral detergent (if necessary), then rinse it thoroughly in cold water and leave it to dry in air before putting it back in place. Once the filter has been replaced, close the grille and resume use of the air conditioner.
- Cleaning the casing.
Use a damp and soft cloth to clean the outer surface of the appliance.
Do not use excessively hot water, solvents, petrol or other aggressive chemical compounds, talcum powder or brushes: these may damage the surface or colour of the casing.
Remove any stains using lukewarm water with a little neutral detergent.
Do not pour water onto the air conditioner to clean it, as this may damage its internal components or cause a short-circuit.
- Storage.
When the air conditioner is not expected to be used for a long time, clean the filters before storing it away.
Keep the appliance in a vertical position at all times. Do not place heavy objects on top of the air conditioner. It is advisable to protect the appliance with a plastic sheet
- Transport.
Transport the air conditioner in the vertical position.
Should this not be possible, rest it on its right-hand side; when the appliance reaches its final destination, place it immediately in the vertical position and wait at least 4 hours before operating it in cooling mode.
![]()
- For complete safety, regularly check the condition of the power cord; should it be damaged as a result of wear, contact the Service Centre to replace it.
TIPS FOR MAXIMISING COMFORT AND MINIMISING CONSUMPTION
CHECK that:
- the unit intake and delivery grilles are always free;
- the air filters are always clean; a dirty filter will decrease the passage of air and reduce the unit's performance;
- all doors and windows are closed, so as to avoid infiltration of unconditioned air;
- the flexible pipe is correctly positioned, without tight bends or curves;
- the room temperature is above 7°C for the cooling mode, and above 17°C for the dehumidifying mode.
REGULATION (EU) No. 517/2014 – F-GAS
The unit contains R290, a natural greenhouse gas with global warming potential (GWP) = 3 - Kg. 0.13 = 0.00039 Tons CO2 equiv.
Do not release R290 into the atmosphere.
INFORMATION FOR THE CORRECT DISPOSAL OF THE PRODUCT IN ACCORDANCE WITH EUROPEAN DIRECTIVE 2012/19/EU
This appliance may not be scrapped with domestic waste at the end of its life cycle. We call your attention to the crucial role played by the consumer in the re-use, recycling and other forms of recovery of such waste. The appliance must be scrapped by a sorted waste disposal centre or by returning it to the retailer (no charge is levied for this service), when you purchase a new equivalent appliance.
Sorted disposal of electric and electronic equipment prevents the negative effects on the environment and human health resulting from improper scrapping, and also allows the materials from which it is made to be recovered and recycled, with significant savings in terms of energy and resources.
The sorted disposal requirement is indicated by the crossed waste bin label affixed to the appliance.

References
Download manual
Here you can download full pdf version of manual, it may contain additional safety instructions, warranty information, FCC rules, etc.
Download Argo SWAN EVO - Portable Air Conditioner Manual











