Logitech G100 - Guía de inicio del ratón para juegos

Contenido del paquete

Operaciones


Su ratón está listo para jugar. Si desea personalizar su ratón, consulte la siguiente sección.

Para personalizar su ratón, descargue el software gratuito Logitech SetPoint® en www.logitech.com/support/G100.
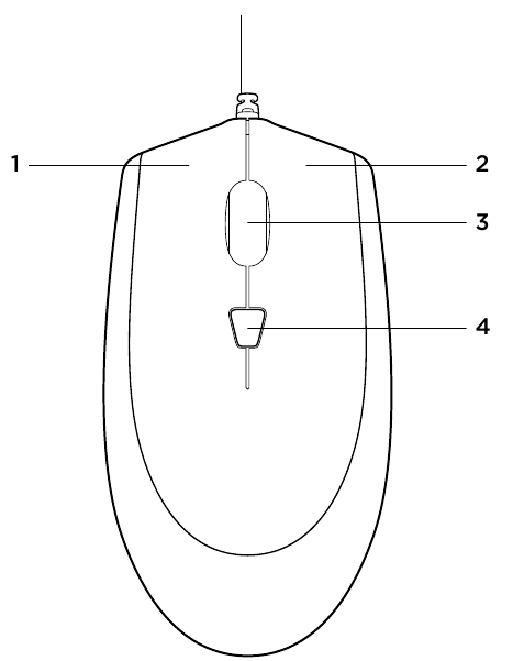
Características del producto

- Botón izquierdo
- Botón derecho
- Rueda de desplazamiento/botón central1
- Botón DPI2
1 La función del botón central puede variar según el sistema operativo.
2 Al presionar el botón DPI repetidamente, puede alternar entre tres configuraciones de DPI: 1000, 1750 o 2500. Use una configuración de DPI más pequeña (por ejemplo, 1000 DPI) para movimientos más lentos como disparos de francotirador y una configuración más alta (por ejemplo, 2500 DPI) para movimientos más rápidos.
Ayuda con la configuración
- Compruebe la conexión del cable USB del ratón. Pruebe el cable USB del ratón en otro puerto USB del ordenador. Utilice solo un puerto USB con alimentación.
- Intente reiniciar el ordenador.
- Si es posible, pruebe el ratón en otro ordenador.
- Visite www.logitech.com/support/G100 para obtener más información.
| België/Belgique | Dutch: +32-(0)2 200 64 44; French: +32-(0)2 200 64 40 | South Africa | 0800 981 089 |
| Suomi | +358-(0)9 725 191 08 | ||
| Česká Republika | +420 239 000 335 | Sverige | +46-(0)8-501 632 83 |
| Danmark | +45-38 32 31 20 | Türkiye | 00800 44 882 5862 |
| Deutschland | +49-(0)69-51 709 427 | United Arab Emirates | 8000 441-4294 |
| España | +34-91-275 45 88 | ||
| France | +33-(0)1-57 32 32 71 | United Kingdom | +44-(0)203-024-81 59 |
| Ireland | +353-(0)1 524 50 80 | European, Mid. East., & African Hq. Morges, Switzerland | English: +41-(0)22 761 40 25 Fax: +41-(0)21 863 54 02 |
| Italia | +39-02-91 48 30 31 | ||
| Magyarország | +36 (1) 777-4853 | ||
| Nederland | +31-(0)-20-200 84 33 | ||
| Norge | +47-(0)24 159 579 | Eastern Europe | English: 41-(0)22 761 40 25 |
| Österreich | +43-(0)1 206 091 026 | United States | +1 646-454-3200 |
| Polska | 00800 441 17 19 | Argentina | +0800 555 3284 |
| Portugal | +351-21-415 90 16 | Brasil | +0800 891 4173 |
| Россия | +7(495) 641 34 60 | Canada | +1-866-934-5644 |
| Schweiz/Suisse Svizzera | D +41-(0)22 761 40 12 F +41-(0)22 761 40 16 I +41-(0)22 761 40 20 E +41-(0)22 761 40 25 | Chile | +1230 020 5484 |
| Latin America Mexico | +1 800-578-9619 +001 800 578 9619 |
© 2011 Logitech. Todos los derechos reservados. Logitech, el logotipo de Logitech y otras marcas de Logitech son propiedad de Logitech y pueden estar registradas. Microsoft, Windows Vista, Windows y el logotipo de Windows son marcas comerciales del grupo de empresas Microsoft. Todas las demás marcas comerciales son propiedad de sus respectivos dueños. Logitech no asume ninguna responsabilidad por los errores que puedan aparecer en este manual. La información contenida en este documento está sujeta a cambios sin previo aviso.

Referencias
Descargar manual
Aquí puedes descargar la versión completa en pdf del manual, puede contener instrucciones de seguridad adicionales, información de garantía, reglas de la FCC, etc.
Descargar Logitech G100 - Guía de inicio del ratón para juegos