Somogyi Home DBP 01 - Manual del Pulsador de Timbre Inalámbrico

Descripción general

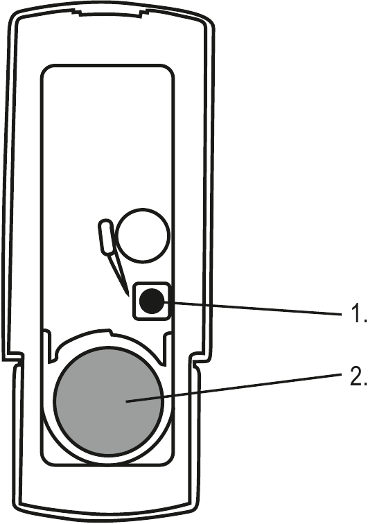
- selector de melodía
- fuente de alimentación del pulsador
Antes de utilizar el producto por primera vez, lea las siguientes instrucciones de uso y consérvelas para futuras consultas. Las instrucciones originales fueron escritas en húngaro.
Este aparato solo puede ser utilizado por personas con capacidades físicas, sensoriales o mentales disminuidas, o con falta de experiencia o conocimiento, así como por niños a partir de los 8 años, si están bajo supervisión o han recibido instrucciones sobre el uso del aparato por una persona responsable de su seguridad y han comprendido los peligros asociados al uso. No se debe permitir que los niños jueguen con la unidad. Los niños solo pueden limpiar o realizar el mantenimiento del aparato bajo supervisión.
El pulsador de timbre inalámbrico puede reemplazar interruptores remotos antiguos dañados o que funcionan mal, se puede colocar en nuevas entradas o se puede utilizar como un buscapersonas que también opera el timbre junto a personas mayores o discapacitadas.
Para reemplazar pulsadores de timbre inalámbricos perdidos o que funcionan mal • función de buscapersonas • melodías intercambiables • sin interferencias con tipos de pulsadores de timbre similares • frecuencia de funcionamiento: 433,9 MHz • alcance en espacios abiertos: 200 m • 256 códigos digitales diferentes – 8 melodías diferentes • fuente de alimentación: 1 pila CR 2032 [3 V] (incluida)
CONFIGURACIÓN
Después de retirar la cubierta transparente de la parte inferior del pulsador, presione la lengüeta de bloqueo situada en la parte inferior con un destornillador y retire la cubierta posterior.
Retire la lámina de aislamiento de plástico entre la batería y el conector de la batería.
Al presionar el pulsador situado junto a la batería, se puede elegir la melodía que se reproduce entre 8 melodías diferentes.
Si desea instalar el pulsador con tornillos, antes de volver a colocar la cubierta posterior, rompa las partes delgadas rebajadas para los tornillos.
Colocación de la placa de identificación: retire la cubierta transparente de la parte inferior del pulsador utilizando un objeto plano en las esquinas rebajadas. Escriba el texto deseado en la placa de inserción y, a continuación, vuelva a colocar la cubierta.
Si el alcance se acorta, ¡reemplace la batería!
El pulsador debe instalarse verticalmente, ¡con la placa de identificación en la parte inferior!
Diseño resistente a la intemperie, pero cuando se coloque en el exterior, se aconseja proporcionar protección contra la lluvia.
REGISTRO DEL PULSADOR, CAMBIO DE LA MELODÍA DE TIMBRE
Al instalar el aparato, asegúrese primero de garantizar la fuente de alimentación del pulsador (como se mencionó anteriormente) y solo después la unidad interior.
Al poner en funcionamiento la unidad interior (como se indica arriba), el dispositivo emite dos pitidos cortos, lo que también significa que la unidad está lista para recibir la señal del pulsador.
Pulse el pulsador que desea registrar una vez, ahora la unidad interior emite un sonido y guarda la unidad en su memoria.
Si desea utilizar más de un pulsador, repita la secuencia anterior con la siguiente unidad (en un plazo de 2 minutos). El número máximo de pulsadores que se pueden registrar está determinado por la unidad receptora.
El dispositivo asume 256 posibles códigos digitales, de los cuales elige uno al azar, y de esta manera garantiza que no habrá interferencias con tipos de pulsadores similares en las cercanías.
Si por alguna razón la unidad necesita ser reprogramada, retire la batería de ambas unidades, espere 15 segundos y repita el procedimiento de registro. (En este momento, el aparato genera automáticamente otro código para sí mismo)
El aparato se puede configurar con 8 melodías diferentes. Con el pulsador negro situado junto a las baterías de la unidad exterior, se puede cambiar la melodía de timbre. Cada unidad exterior conectada puede tener una melodía de timbre diferente.
LIMPIEZA
Utilice un paño suave y seco. ¡No utilice limpiadores ni líquidos agresivos!
Las paredes y los objetos metálicos pueden acortar el alcance y pueden interferir con su funcionamiento (valla metálica, puerta...), además, los dispositivos que utilizan radiofrecuencia pueden hacer lo mismo (ordenador, horno microondas, televisión...).
- ¡No instale el pulsador en el marco de una puerta metálica ni cerca de otras superficies metálicas!
- ¡En temperaturas frías, el rendimiento de las baterías disminuirá, puede ser necesario un cambio de batería más frecuente!
- La unidad principal del timbre es solo para uso en interiores.
- No sumerja la unidad exterior en agua y no la exponga a fuertes lluvias.
- ¡Asegúrese de que ningún objeto o líquido pueda entrar a través de las aberturas en el dispositivo!
- ¡Nunca intente desmontar el dispositivo, deje las reparaciones a un especialista!
- Tenga cuidado, no deje caer el dispositivo. Si está dañado, ¡está prohibido seguir utilizándolo!
- ¡Mantenga siempre las baterías alejadas de los niños! Si se traga la batería, ¡póngase en contacto con un médico inmediatamente!
- ¡El reemplazo de la batería solo puede ser realizado por un adulto!
- ¡Si las baterías se agotan o el dispositivo no se utiliza durante un tiempo prolongado, retire las baterías inmediatamente!
- ¡Si el líquido se ha filtrado de ellas, póngase guantes protectores y con un paño seco limpie el compartimento de las baterías!
- ¡No abra las baterías, no las arroje al fuego ni las cortocircuite!
- ¡Proteja la unidad del polvo, la humedad, los líquidos, la humedad, las heladas, los golpes y del calor directo y la luz solar!
- ¡No desmonte ni modifique el dispositivo, ya que puede provocar incendios, accidentes o descargas eléctricas! La instalación u operación incorrecta invalida la garantía.
- Debido a los constantes desarrollos, los datos técnicos y el diseño pueden cambiar incluso sin previo aviso.
- No nos hacemos responsables de posibles errores de impresión y lamentamos si hay alguno.
- Dispositivo R2: equipo de telecomunicaciones SRD de fiabilidad moderada, por ejemplo, aquellos que pueden causar a las personas inconvenientes que no se pueden resolver fácilmente con otros dispositivos.
- Este equipo de radio cumple con los requisitos esenciales de las directivas 1999/5/UE. La Declaración de Conformidad actual está disponible en la dirección de correo electrónico somogyi@somogyi.hu.
Distribuidor: S.C. SOMOGYI ELEKTRONIC S.R.L.
J12/2014/13.06.2006 C.U.I.: RO 18761195
Cluj-Napoca, judeţul Cluj, România,
Str. Prof. Dr. Gheorghe Marinescu, nr. 2, Cod poştal: 400337
Tel.: +40 264 406 488 • Fax: +40 264 406 489 • www.somogyi.ro

Referencias
Descargar el manual
Aquí puede descargar la versión PDF completa del manual. Puede contener instrucciones de seguridad adicionales, información de garantía, reglas de la FCC, etc.
Descargar Somogyi Home DBP 01 - Manual del Pulsador de Timbre Inalámbrico