Stanley 77-030 - Manual del medidor de humedad

DESCRIPCIÓN GENERAL DEL DISPOSITIVO
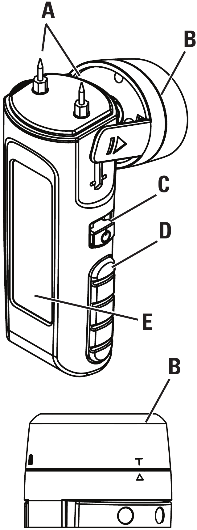
Las clavijas de los electrodos están muy afiladas. Manipule el instrumento con cuidado. Mantenga las clavijas cubiertas cuando no esté en uso.

- Electrodos reemplazables
- Tapa protectora abatible con batería y tomas de prueba de resistencia
- Interruptor de encendido/apagado ("On/Off Switch")
- Empuñaduras de goma
- Pantalla LCD retroiluminada
CARACTERÍSTICAS

Medidor de humedad Stanley
El medidor de humedad Stanley detecta la humedad en la madera y en los materiales de construcción comunes, incluyendo, pero no limitado a, paneles de yeso, yeso, hormigón y placas de cemento.
ESPECIFICACIONES
| Pantalla ("Display") | LCD con escalas de medición duales Con retroiluminación verde |
| Rango, Madera | 6 a 44% ± 2% |
| Rango, Materiales de construcción | 0.2 a 2.0% ± 0.1% |
| Apagado automático ("Auto Power Off") | 3 minutos |
| Temperatura de funcionamiento | 32° a 122°F (0 a 50°C) |
| % de humedad de funcionamiento | 80% Máx. Humedad relativa |
| Fuente de alimentación | (3) Pilas de botón CR-2032 |
| Clavijas de electrodos | (2) 0.3" (8mm), |
| Accesorios | Reemplazable Funda de transporte con clip para cinturón |
INSTRUCCIONES DE FUNCIONAMIENTO
Uso

- Deslice el interruptor de encendido a la posición "ON" (encendido).
- Levante la tapa protectora 1, luego gírela a la posición 2.
- Presione los electrodos en el material que se va a probar.
- Presione con cuidado, pero lo más profundamente posible para obtener un buen contacto.
- En la madera, tome medidas a través de la veta.
- Tome varias lecturas para tener una mejor idea del contenido general de humedad del material.

Comprobación de las baterías

- Con la tapa protectora colocada sobre los electrodos y la unidad encendida ("ON"), gire la tapa hasta que el icono de la batería se alinee con la flecha.
- Presione la tapa. La pantalla LCD debe mostrar una lectura del 44% en la escala de "Wood" (madera).
Si la pantalla no muestra el 44% o el icono de la batería aparece en la pantalla LCD, reemplace las baterías.
Comprobación de la precisión de la escala de humedad

- Con la tapa protectora colocada sobre los electrodos y la unidad encendida ("ON"), gire la tapa hasta que la "T" se alinee con la flecha.
- Presione la tapa. La pantalla LCD debe mostrar una lectura de 27.5% ±2% en la escala de "Wood" (madera).
Si la lectura no está dentro de los límites, es posible que la unidad requiera reparación.
Reemplazo de las baterías

Empuje hacia adentro 1, luego levante la puerta 2, 3 empuje la pestaña y la batería se levantará.
GARANTÍA
Garantía de un año
Los productos defectuosos serán reparados o reemplazados, a opción de Stanley Tools, si se envían junto con el comprobante de compra a:
Stanley UK Sales Limited,
Gowerton Road,
Brackmills,
Northampton
NN4 7BW
Esta garantía no cubre las deficiencias causadas por daños accidentales, desgaste, uso diferente al de las instrucciones del fabricante o reparación o alteración de este producto no autorizada por Stanley Tools. Las reparaciones o el reemplazo bajo esta garantía no afectan la fecha de vencimiento de la garantía.
En la medida permitida por la ley, Stanley Tools no será responsable bajo esta garantía por pérdidas indirectas o consecuentes que resulten de deficiencias en este producto.
Esta garantía no puede ser modificada sin la autorización de Stanley Tools.
Esta garantía no afecta los derechos legales de los compradores consumidores del producto.
Esta garantía se regirá e interpretará de acuerdo con las leyes de Inglaterra y Stanley Tools y el comprador acuerdan irrevocablemente someterse a la jurisdicción exclusiva de los tribunales de Inglaterra sobre cualquier reclamo o asunto que surja bajo o en conexión con esta garantía.
El cliente es responsable del uso y cuidado correctos del instrumento. Además, es completamente responsable de verificar el trabajo a lo largo de su ejecución y, por lo tanto, de la calibración del instrumento.
La calibración y el cuidado no están cubiertos por la garantía.
Sujeto a cambios sin previo aviso
©2009 THE STANLEY WORKS:
www.stanleyworks.com

Referencias
Descargar el manual
Aquí puede descargar la versión PDF completa del manual. Puede contener instrucciones de seguridad adicionales, información de garantía, reglas de la FCC, etc.
Descargar Stanley 77-030 - Manual del medidor de humedad