Manual de Vivo STAND-V002F

INFORMACIÓN DE SEGURIDAD
Si no entiende estas instrucciones o si tiene alguna duda sobre la seguridad de la instalación, llame a un técnico cualificado. Revise cuidadosamente para asegurarse de que no falten piezas o estén defectuosas. Una instalación incorrecta puede causar daños o lesiones graves. No utilice este producto para ningún propósito que no esté explícitamente especificado en este manual. No exceda la capacidad de peso. No nos hacemos responsables de los daños o lesiones causados por un montaje inadecuado, un montaje incorrecto o un uso inapropiado.
ADVERTENCIA DE VUELCO
SE PUEDEN PRODUCIR LESIONES POR APLASTAMIENTO GRAVES O MORTALES POR VUELCO. PARA AYUDAR A PREVENIR EL VUELCO:
- NUNCA PERMITA QUE LOS NIÑOS TREPEN, SE PONGAN DE PIE, SE CUELGUEN O JUEGUEN EN NINGUNA PARTE DEL MONITOR O SOPORTE.
- UTILICE UN DISPOSITIVO DE SUJECIÓN ANTIVUELCO O UN SOPORTE DE ANCLAJE A LA PARED
EL USO DE DISPOSITIVOS DE SUJECIÓN ANTIVUELCO SOLO PUEDE REDUCIR, PERO NO ELIMINAR, EL RIESGO DE VUELCO.
PELIGRO DE ASFIXIA
PIEZAS PEQUEÑAS - NO APTO PARA NIÑOS MENORES DE 3 AÑOS. SE REQUIERE LA SUPERVISIÓN DE UN ADULTO.
CONTENIDO DEL PAQUETE

NOTA: ES POSIBLE QUE NO SE UTILICE ALGUNOS DE LOS ELEMENTOS INCLUIDOS
HERRAMIENTAS NECESARIAS

NO EXCEDA LA CAPACIDAD DE PESO.

No hacerlo puede provocar lesiones graves.
PASOS DE MONTAJE
PASO 1
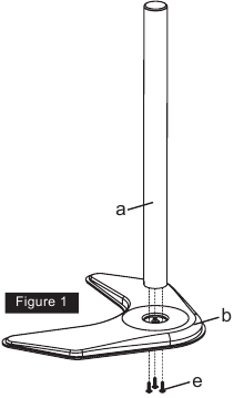
Opción A: Instalación con abrazadera de escritorio
Instale el poste (A) a la base ponderada (B) utilizando 3 pernos M5x14 (E).
Consulte la figura 1.

OPCIONAL: Para un montaje más seguro, puede perforar un orificio de 10 mm de diámetro en su escritorio y fijarlo utilizando la placa de soporte (H), la arandela M10 (I), la arandela elástica (J) y el perno M10 (G). Apriete el perno M10 con la llave suministrada (N), consulte la figura 2.

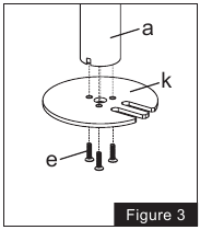
Opción B: Instalación de base de ojal con orificio existente Si prefiere la instalación de base de ojal, pero no hay ningún orificio de ojal, taladre un orificio de 3/8 (10 mm) a través de la superficie de montaje y continúe con la Opción B.
- Instale la placa base de ojal (K) en el poste (A) utilizando 3 pernos M5x14 (E). Consulte la figura 3.
![]()
- Coloque la almohadilla blanda (R) en la placa base de ojal (K), consulte la figura 4.
![]()
- Coloque el poste (A) en la superficie de montaje y fíjelo utilizando la placa de soporte (H), la arandela M10 (I), la arandela elástica (J) y el perno M10 (G). Apriete el perno M10 con la llave suministrada (N). Consulte la figura 5.
![Vivo - STAND-V002F - MONTAJE - Paso 1 MONTAJE - Paso 1]()
Opción C: Base de arandela con orificio autorroscado
- Coloque el poste (A) en la superficie de montaje y marque el orificio central. Taladre un orificio de 3/8" (10 mm) de diámetro en la posición marcada a través de la superficie de montaje.
- Instale la placa base de arandela (K) en el poste (A) utilizando los pernos M5x14 (E) y apriete con la llave Allen (M), consulte la figura 6.
![]()
- Coloque la almohadilla blanda (R) en la placa base de arandela (K), consulte la figura 7.
![]()
- Coloque el poste (A) en la superficie de montaje y fíjelo utilizando la placa de soporte (H), la arandela M10 (I), la arandela elástica (J) y el perno M10 (G). Apriete el perno M10 con la llave suministrada (N), consulte la figura 8.
![Vivo - STAND-V002F - MONTAJE - Paso 2 MONTAJE - Paso 2]()
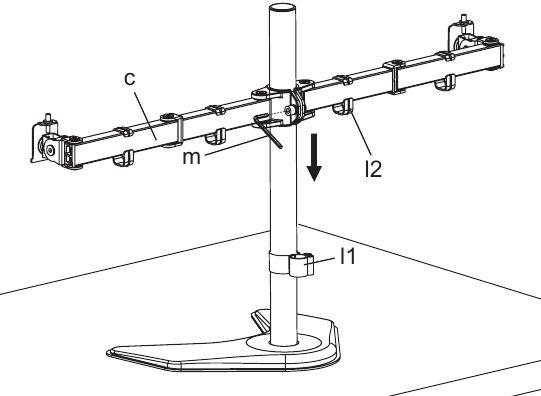
PASO 2
Instale el brazo giratorio (C) en el poste (A). Apriete el perno con la llave Allen suministrada (M). Coloque los clips para cables (L1, L2) en el poste (A) y el brazo giratorio (C).

PASO 3
OPCIÓN A: Monitor de parte trasera plana
Coloque la placa VESA (D) al monitor utilizando los pernos de mariposa M4x12 (O).

NOTA: Apriete los tornillos a mano para evitar un apriete excesivo.
OPCIÓN B: Monitor de parte trasera curva
Coloque la placa VESA (D) al monitor utilizando los espaciadores M4 (Q) y los pernos M4x30 (P).

NOTA: Apriete los tornillos a mano para evitar un apriete excesivo.
PASO 4
Deslice el monitor sobre el cabezal del brazo giratorio (C). Instale la tuerca de seguridad (F). Asegúrese de que la tuerca de seguridad esté instalada antes de girar el monitor.

PASO 5
Apriete el perno con la llave Allen suministrada (M) para fijar el ángulo de inclinación.

Para nivelar los monitores, retire la tuerca (F) y gire el perno con la llave Allen (M) para subir o bajar el monitor. Vuelva a colocar la tuerca (F) después del ajuste.

PASO 6
Utilice la llave Allen suministrada (M) para realizar los ajustes necesarios. Organice los cables y guarde las llaves Allen (M) en el clip para cables (L1) para su uso futuro.

PASO 7
Para evitar que se vuelque, tenga cuidado de no extender demasiado los brazos hacia adelante o hacia atrás.

SOPORTE

¿Le encanta su nueva configuración de VIVO y quiere compartirla?
¡Etiquétanos en tu foto! @vivo_us
Abierto de lunes a viernes de 7:00 a. m. a 7:00 p. m., hora central, nuestro equipo de soporte especializado puede ofrecer asistencia inmediata con tiempos de respuesta rápidos.
Si alguna pieza se recibe dañada o defectuosa, póngase en contacto con nosotros.
Estaremos encantados de sustituir las piezas para garantizar que tenga un producto en perfecto funcionamiento.
help@vivo-us.com
TIEMPO DE RESPUESTA PROMEDIO (dentro del horario de oficina): 1 HORA 8 M
- 23% en < 15 m
- 38% en < 30 m
- 61% en < 1 hora
- 83% en < 2 horas
- 92% en < 3 horas
www.vivo-us.com
TIEMPO DE RESOLUCIÓN PROMEDIO (dentro del horario de oficina): < 15 M
309-278-5303
TIEMPO DE RESOLUCIÓN PROMEDIO (dentro del horario de oficina): 5M 4S
PARA OBTENER MÁS PRODUCTOS DE VIVO, CONSULTE NUESTRO SITIO WEB EN: www.vivo-us.com
Escanee el código QR con su dispositivo móvil o siga el enlace para ver vídeos y especificaciones útiles relacionados con este producto.

https://vivo-us.com/products/stand-v002f
Referencias
VIVO - Desks, Monitor Mounting, and More Home & Office Solutions – VIVO - soluciones de escritorio, montaje de pantallas y más
Dual Monitor Desk Stand - Up to 38" Screens – VIVO - soluciones de escritorio, montaje de pantallas y más
Descargar el manual
Aquí puede descargar la versión PDF completa del manual. Puede contener instrucciones de seguridad adicionales, información de garantía, reglas de la FCC, etc.
Descargar Manual de Vivo STAND-V002F





