Kanto SYD – aktiivkõlari kasutusjuhend
- 1 Sissejuhatus
- 2 Mis on karbis?
- 3 Esi- ja tagapaneelid
- 4 SYD seadistamine
- 5 Bassikõlari ühendamine
- 6 Heliallikate ühendamine
- 7 Plaadimängija ühendamine
- 8 Bluetooth sidumine
- 9 Bluetooth Töö
- 10 USB laadimise töö
- 11 Erifunktsioonid
- 12 SYD alus
- 13 Heli tõrkeotsingu juhend
- 14 Spetsifikatsioonid
- 15 Viited
- 16 Laadi alla juhend
- 17 Teistes keeltes

Sissejuhatus
Täname, et valisite Kanto disainitud SYD aktiivkõlari. SYD väljastab 140W tippvõimsust erakordselt julge ja puhta heli jaoks. Suurepärane tundlikkus ja sagedusreaktsioon tagavad sügava põrutava madala ja selge sädeleva kõrge heli. SYD on hämmastavalt paindlik kõlarisüsteem, mis suudab vastu võtta neli sisendallikat ja ühendada bassikõlariga, et parandada madala sageduse reageeringut. Lisaks on see varustatud uusima Bluetoothi tehnoloogia ja USB-pordiga seadmete laadimiseks. SYD-l on universaalne sisendtoiteallikas ja seda saab kasutada kogu maailmas alates 110 V AC kuni 240 V AC.
Soovitame teil enne süsteemi kasutamist kõik juhised hoolikalt läbi lugeda ja need edaspidiseks alles jätta. Kanto ei vastuta kahjude või vigastuste eest, mis on põhjustatud selle toote valest seadistamisest või kasutamisest.
Seda aktiivkõlarisüsteemi testiti ja kontrolliti tootmise käigus hoolikalt ning enne pakendamist ja saatmist. Pärast lahtipakkimist kontrollige kahjustusi. On haruldane, et seade saab saatmise ajal kahjustada, kuid kui see juhtub, võtke kohe ühendust oma edasimüüjaga. Samuti võite Kanto poole pöörduda otse, kasutades ühte allolevatest meetoditest.
E-post: support@kantoliving.com
Tasuta: USA ja Kanada: 1-888-848-2643 | Ühendkuningriik: +44 800086999
Mis on karbis?

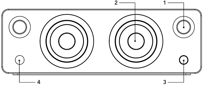
Esi- ja tagapaneelid
ESIPANEEL

- 1" siidkuppel-kõrgsageduskõlar
- 4" Kevlar ® kesk-/bassikõlar
- Helitugevus / sisendi valik / ooterežiim / äratus
- Olekutuli
Valge – toide sees / taasesitusrežiim
Kollane
Ooterežiim (pidev)
Vaigistus (vilkuv)
Sinine
Avastamisrežiim (vilkuv)
Seotud (pidev)
SYD helitugevuse nupp toimib ka sisendi valiku nupuna.
Sisendallika valimiseks vajutage nuppu – see liigub läbi järgmiste sisendite, olenevalt sellest, millist sisendallikat viimati kasutati.
RCA
AUX
OPT
BLUETOOTH
Ooterežiimi sisenemiseks või ooterežiimist ärkamiseks vajutage ja hoidke nuppu all
TAGAPANEEL

- RCA L/R sisend
- 3,5 mm AUX sisend
- Optiline sisend
- Bassikõlari väljund
- Plaadimängija maanduspost
- RCA sisendi Phono/Line lüliti
- USB laadimisport (5 V 1,0 A)
- ON / OFF (sees/väljas) lüliti
- Vahelduvvoolu sisendi ühendus
Pult
Paigaldage SYD puldi tagaküljele kaks kaasasolevat AAA patareid. Puldi funktsioonid on loetletud allpool.

- Ooterežiimi nupp – ooterežiimi sisenemiseks või taasesitusrežiimi naasmiseks vajutage
- RCA sisendi valik
- 3,5 mm stereo AUX sisendi valik
- Optilise sisendi valik
- Bluetooth® sisendi valik
- Bluetooth® lähtestamine
- Helitugevuse suurendamine
- Helitugevuse vähendamine
- Bassiväljundi suurendamine
- Bassiväljundi vähendamine
- Bassiväljundi lähtestamine
- Kõrgsagedusväljundi suurendamine
- Kõrgsagedusväljundi vähendamine
- Kõrgsagedusväljundi lähtestamine
- Vaigista
- Tasakaalu reguleerimine vasak kanal
- Tasakaalu reguleerimine parem kanal
- Tasakaalu lähtestamine (vasak ja parem kanal)
- Eelmine lugu (Bluetooth ® töö)
- Esita / peata (Bluetooth ® töö)
- Järgmine lugu (Bluetooth® töö)
SYD seadistamine
SYD on loodud toimima optimaalselt, kui see on paigutatud vähemalt 8" kaugusele tagaseinast keskmises kuulamisruumis. Siiski ei pruugi olla võimalik kõlarit sellesse asendisse paigaldada ja kuna ruumid on erineva kuju, suuruse ja sisustusega, on kõige sobivama asukoha määramiseks vaja teatud määral katsetamist.
Kõlari väga lähedale tagaseinale viimine suurendab bassisagedusi, kuid kipub vähendama helilava sügavust, samas kui kõlari tagaseinast eemale viimine kipub avaldama vastupidist mõju. Vältige kõlari paigutamist ruumi nurga lähedale või nurka, kuna see tekitab madalatel ja keskmistel sagedustel soovimatuid ruumiühendusi. Ruumide omadused ja paigutus mõjutavad oluliselt kõlarite jõudlust, seega tasub optimaalsete asukohtade saavutamiseks kulutatud aeg ja vaev.
Veenduge, et ON/OFF (sees/väljas) lüliti on OFF (väljas) asendis.
Heliallikate SYD-ga ühendamiseks järgige järgmistel lehekülgedel olevaid juhiseid.
Ühendage SYD toitejuhe seinakontakti.

TÄHELEPANU
Helikaablite ühendamisel peab ON/OFF (sees/väljas) lüliti olema OFF (väljas) asendis. Pärast kõigi kaablite ühendamist saab seadme sisse lülitada (ON). Kui helitugevus on kõrge, võib see süsteem tekitada mürataset, mis võib teie kuulmist püsivalt kahjustada. SYD on isetoitega kõlarisüsteem. Ärge ühendage kõlari sisendeid stereovõimendi väljunditega. Võib tekkida kahjustusi. Kasutage ainult SYD-ga kaasas olevat toitejuhet.
Bassikõlari ühendamine
SYD on varustatud RCA-pistikuga, et pakkuda väljundsignaali toitega bassikõlarile. Ühendage lihtsalt üks RCA-kaabel SYD SUB OUT ühendusest bassikõlari helisisendiga. Kui teie bassikõlaril on stereo L/R RCA sisend, töötab kumbki sisend.
Soovitame Kanto sub6 või sub8 toitega bassikõlarit ristmik- ja helitugevuse regulaatoritega. Enamik kvaliteetseid bassikõlareid pakuvad neid juhtnuppe, mis võimaldavad teil kohandada kogetava bassi hulka.
Lisateavet leiate Kanto veebisaidilt aadressil: www.kantoaudio.com
Heliallikate ühendamine
Heliallikate komponentide kõlaritega ühendamiseks kasutage sobivat helikaablit.
- 3,5 mm stereo mini-jack AUX-kaabel
- Stereo RCA-kaabel
- Optiline Toslink-kaabel
SYD toetab andmevooge kuni 24-bitise/96 kHz eraldusvõimega Optical Toslinki kaudu.
Plaadimängija ühendamine
SYD-l on sisseehitatud Phono eelvõimendi, mis võimaldab teil otse plaadimängijaga ühenduse luua.
- ühendage oma plaadimängija SYD tagaküljel olevate RCA L/R sisenditega
- ühendage oma plaadimängija maandusjuhe maanduspostiga (kõigil plaadimängijatel pole maandusjuhet)
- Kui teie plaadimängijal pole sisseehitatud Phono eelvõimendit, kasutage sätet "Phono".
![]()
- Kui teie plaadimängijal on sisseehitatud Phono eelvõimendi, kasutage sätet "Line".
TÄHELEPANU
Mõned plaadimängijate mudelid sisaldavad sisseehitatud Phono eelvõimendit. Kui teie plaadimängijal on sisseehitatud Phono eelvõimendi, ÄRGE kasutage sätet Phono. Selle tegemine tühistab teie garantii ja võib teie kõlareid tõsiselt kahjustada.

Bluetooth® sidumine

SYD-l on Bluetooth 4.0 koos Qualcomm® aptX™ tehnoloogiaga ja seda saab siduda paljude seadmetega, et esitada juhtmevabalt heli telefonist, MP3-mängijast või tahvelarvutist. Sidumine on lihtne.
- Vajutage SYD puldil Bluetoothi nuppu (
), et valida see sisendallikaks. Bluetoothi LED (sinine) vilgub, näidates, et SYD on sidumisrežiimis. - Luba oma Bluetoothi seadmel otsida uut seadet, millega siduda. Valige sidumiseks saadaolevate Bluetoothi seadmete loendist "SYD by Kanto".
- Kui sidumine õnnestub, jääb Bluetoothi LED (sinine) põlema. Te ei pea sama Bluetoothi seadet uuesti siduma – "SYD by Kanto" jääb teie seadmete loendisse, kuni te selle loendist eemaldate.
- Kui seade ei seostu SYD-ga, keerake kõlari ON/OFF (sees/väljas) lüliti OFF (väljas) asendisse ja korrake seejärel samme 1 kuni 3. Teise võimalusena võite vajutada puldil Bluetoothi lähtestamise nuppu (
) või lülitage oma seadmes Bluetooth välja ja uuesti sisse.
Bluetooth® Töö
- Soovitame hoida kõlari ja seadme vahelist maksimaalset vahemaad 10 meetrit. Parim signaali kvaliteet on selles vahemikus.
- Saate voogesitada heli oma seadmest kõlarisse, kasutades kas oma seadme esitusnuppe või kaugjuhtimispuldi juhtnuppe (vt kaugjuhtimispuldi skeemi – nupud nr 19, nr 20 ja nr 21).
- Pange tähele järgmist käitumist ja funktsionaalsust Bluetooth töö ajal. Kui olete edukalt ühendatud, põleb sinine LED pidevalt ja teie seade kuvatakse ühendatuna 'SYD by Kanto'.
- Ühendus kõlari ja seadme vahel jääb aktiivseks ka siis, kui sisendallikas on muutunud. Näiteks saate lülituda teisele sisendallikale (nt RCA) ja naasta Bluetooth tööle, ilma et kaotaksite signaaliühendust ja seetõttu ei pea te seadmega uuesti siduma.
- Kui kõlar on ooterežiimis või välja lülitatud, kaob Bluetooth ühendus seadmega. Kui kõlar naaseb taasesitusrežiimi, taastatakse Bluetooth ühendus kõlari ja seadme vahel. Siiski võite pärast taasühendamist märgata umbes 30 sekundi jooksul katkendlikku taasesitussignaali. See normaliseerub.
- Kuigi kõlarit saab siduda rohkem kui ühe seadmega, saab korraga esitada ja edastada helisignaali ainult üks seade.
- SYD kaugjuhtimispuldil on Bluetooth lähtestamise nupp, et kiiresti katkestada seotud seadme ühendus ja võimaldada teisel seadmel kõlariga siduda (nupp nr 6 kaugjuhtimispuldi skeemil)
- Seotud seadme ühenduse katkestamiseks vajutage Bluetooth lähtestamise nuppu.
- Teise seadme sidumiseks järgige sidumisjuhiseid.
- Sama käitumine ja funktsionaalsus kehtivad ka teise seadme puhul.
USB laadimise töö
SYD-l on tagapaneelil üks 5 V 1,0 A USB laadimisport. See on mugav toiteallikas teie seadmete laadimiseks.
Kui SYD on taasesitusrežiimis (LED valge) ja ooterežiimis (LED kollane), on port aktiivne ja mis tahes ühendatud seade saab võtta kuni 1,0 A voolu.
Erifunktsioonid
Sub Mute (Sub vaigistus) - Saate SYD-l alamväljundi keelata/lubada. See võib olla kasulik olukordades, kus soovite oma kõlareid kuulata, kuid ei soovi naabreid alam-bassiga häirida.
Alamväljundi vaigistamiseks vajutage ja hoidke vaigistusnuppu 5 sekundit all. Näete kahte LED-i vilkumist, mis kinnitavad, et alamväljund on vaigistatud. Alamväljundi vaigistuse tühistamiseks vajutage ja hoidke vaigistusnuppu uuesti 5 sekundit all. Näete ühte LED-i vilkumist, mis kinnitab, et alamväljundi vaigistus on tühistatud. Alamväljund aktiveeritakse uuesti pärast ooterežiimist ärkamist.
Automatic Power Up (APU) / Automatic Power Down (APD) (Automaatne sisselülitus (APU) / Automaatne väljalülitus (APD)) - SYD on loodud säästma energiat, kui seda ei kasutata. Kui 15 minuti jooksul pole helisignaali tuvastatud, lülitub SYD võimendi ooterežiimi (APD). Kui helisignaal naaseb sama sisendi kaudu, mida SYD mängis ooterežiimi sisenemisel, ärkab SYD üles ja jätkab esitamist (APU). Seda saab ka käsitsi äratada:
- Vajutades kaugjuhtimispuldil ooterežiimi nuppu
- Vajutades juhtnuppu
Kui te ei pea APU funktsiooni kasulikuks, saate selle keelata, vajutades kaugjuhtimispuldil tasakaalu lähtestamise nuppu ja hoides seda 5 sekundit all. Oleku LED vilgub üks kord, näidates, et olete APU funktsiooni keelanud. APU lubamiseks, kui olete selle keelanud, vajutage ja hoidke tasakaalu lähtestamise nuppu uuesti 5 sekundit all. Oleku LED vilgub kaks korda, näidates, et olete APU lubanud.
Kui te ei pea APD funktsiooni kasulikuks, saate selle keelata, vajutades kaugjuhtimispuldil bassi lähtestamise nuppu ja hoides seda 5 sekundit all. Oleku LED vilgub üks kord, näidates, et olete APD funktsiooni keelanud. APD lubamiseks, kui olete selle keelanud, vajutage ja hoidke bassi lähtestamise nuppu uuesti 5 sekundit all. Oleku LED vilgub kaks korda, näidates, et olete APD lubanud.
TÄHELEPANU
APU/APD on alati lubatud, kui toide on sisse lülitatud, kuid APU aktiveerub alles pärast APD käivitumist. APU ei tööta, kui seade lülitatakse käsitsi ooterežiimi kaugjuhtimispuldi või juhtnupu abil.
TÄHELEPANU
APU funktsioon ei tööta Bluetooth sisendi kasutamisel.
SYD alus

Heli tõrkeotsingu juhend
Korduma kippuvad küsimused Kanto SYD kõlari kohta.
Ükski esipaneeli tuledest ei põle.
- Veenduge, et toitekaabel on ühendatud kõlari ja pistikupesaga.
- Veenduge, et pistikupesa annab voolu.
- Veenduge, et kõlari tagaküljel olev toitelüliti on asendis "On" (sees).
Esipaneelil põleb valge tuli, kuid heli ei esitata.
- Veenduge, et on valitud õige sisend. Nelja erineva sisendi vahel liikumiseks klõpsake kõlarite esiküljel olevat nuppu või kasutage õige sisendi valimiseks kaugjuhtimispulti.
- Seadke allika helitugevus kõrgeimale tasemele. Veenduge, et heliallikas esitab heli.
- Kontrollige, kas helikaabel, mis on ühendatud allikaga ja sealt, on kindlalt ühendatud. Testige vajadusel teist helikaablit.
- Veenduge, et kõlari helitugevus ei ole minimaalsel tasemel. Keerake helitugevust suuremaks, kasutades esiküljel olevat nuppu või kaugjuhtimispuldi helitugevuse nuppe.
Teie kaugjuhtimispult ei tööta korralikult.
- Veenduge, et kaugjuhtimispuldist kõlariteni on selge vaateväli. Suunake kaugjuhtimispult kõlarite poole.
- Kontrollige kaugjuhtimispuldi patareipesa, et veenduda, kas patareid on paigaldatud ja õigesti joondatud.
- Vahetage patareid.
Kõlarid lülituvad heli kuulamise ajal ooterežiimi.
- Seadke allika helitugevus kõrgeimale tasemele. Madal allika helitugevus võib kogemata käivitada ooterežiimi.
- Keelake automaatne väljalülitus.
Teil on halb helikvaliteet.
- Seadke allika helitugevus kõrgeimale tasemele. Madal allika helitugevus võib dünaamilist ulatust negatiivselt mõjutada.
- Veenduge, et kõlari tagakülg on seinast vähemalt 8 tolli kaugusel, võimaldades tagumise pordi funktsioonil takistamatult töötada.
- Seadke bassi ja kõrgete helide tase vaikesättele, vajutades kaugjuhtimispuldil EQ lähtestamise nuppe.
- Probleemi isoleerimiseks proovige teist laulu või allikat.
Allikas ei loo Bluetooth ühendust.
- Veenduge, et kõlarid on Bluetooth režiimis, klõpsates kaugjuhtimispuldil Bluetooth nuppu või liikuge sisendite vahel, klõpsates kõlarite esiküljel olevat nuppu, kuni kõlarite esipaneelil hakkab sinine tuli vilkuma.
- Veenduge, et kõlarite esipaneelil olev sinine tuli vilgub, mis näitab, et kõlarid on sidumisrežiimis. Kui sinine tuli põleb pidevalt, klõpsake kaugjuhtimispuldil Bluetooth lähtestamise nuppu, et eemaldada varem kasutatud seade ja siseneda sidumisrežiimi.
- Lülitage allikas Bluetooth välja ja uuesti sisse.
- Kui allikas seadmete otsimisel kõlareid ei leia, lülitage kõlarid välja, kasutades kõlari tagaküljel olevat toitelülitit. Lülitage need uuesti sisse ja proovige neid samme uuesti.
Teil on sumin, susisemine või moonutus.
- Optilise sisendi kasutamisel seadke allika väljund stereole — mitte ruumilisele, Dolby, DTS või 5.1 — ja seadke diskreetimissagedus 96 kHz või madalamale.
- Kontrollige, kas müra tuleb allikast, eemaldades kõik allikad kõlaritest.
- Veenduge, et see ei ole toiteprobleem, proovides teist pistikupesa, mis on teisel vooluringil.
- Kontrollige, kas helikaabel, mis on ühendatud allikaga ja sealt, on kindlalt ühendatud. Probleemi isoleerimiseks proovige teist kaablit või allikat.
Lisatud subwooferist ei tule heli.
- Kontrollige, kas sub on vaigistatud, hoides vaigistusnuppu +5 sekundit all (lisateavet leiate lk 9 jaotisest Sub Mute)
- Kontrollige, kas RCA kaabel, mis on ühendatud subwooferiga ja sealt, on kindlalt ühendatud. Probleemi isoleerimiseks proovige teist kaablit või allikat.
- Veenduge, et subwoofer on ühendatud pistikupesaga ja on seatud asendisse "On" (sees) või "Auto".
- Suurendage subwoofri helitugevust.
- Lülitage kõlar välja ja uuesti sisse, lülitades toitelüliti välja ja seejärel sisse.
Heli kõlab igal sisendil erinevalt.
- Vaikimisi rakendab SYD teie EQ (bassi ja kõrgete helide) sätteid kõigile sisenditele. See võib põhjustada sisendite vahel erinevusi, kuna EQ-d rakendatakse erinevatele allikatele. Kui eelistate seada igale sisendile individuaalseid EQ sätteid, saate aktiveerida Bass Treble Memory (BTM) (Bassi kõrgete helide mälu (BTM)), vajutades ja hoides kõrgete helide lähtestamise nuppu 5 sekundit all. Esipaneeli LED vilgub kaks korda, näidates, et BTM on aktiveeritud. BTM-i saate deaktiveerida, vajutades ja hoides kõrgete helide lähtestamise nuppu 5 sekundit all. Esipaneeli LED vilgub üks kord, näidates, et BTM on deaktiveeritud. BTM on toite eemaldamisel keelatud.
Spetsifikatsioonid
SYD TOITEGA KÕLARISÜSTEEM
| Kõrgsageduskõlarid | 1-tolline siidkuppel |
| Bassikõlarid | 4-tolline Kevlar® |
| Võimendi tüüp | D-klass |
| Võimsus | 140 vatti tippvõimsus |
| Sagedusreaktsioon | 60Hz – 20kHz |
| Sisendid | 1 x 3,5 mm stereo mini-jack AUX 1 x RCA L/R 1 x Optical (Toslink) 1 x Bluetooth® 4.0 koos Qualcomm aptX-iga |
| Väljundid | 1 x Subwoofer 1 x USB laadimisport 5 V 1.0A |
| Ooterežiimi energiatarve | < 0.5 W |
| Pult | Kaasas |
| Mõõtmed | L 17.5"x K 5.7" x S 6.9" (445 x 146 x 175 mm) |
TEADE: The Bluetooth® word mark and logos are registered trademarks owned by Bluetooth SIG, Inc. and any use of such marks by Kanto Distribution Inc. is under license.
TEADE: Qualcomm aptX is a product of Qualcomm Technologies International, Ltd. Qualcomm is a trademark of Qualcomm Incorporated, registered in the United States and other countries, used with permission. aptX is a trademark of Qualcomm Technologies International, Ltd., registered in the United States and other countries, used with permission.

TEADE: This appliance is labeled in accordance with European Directive 2002/96/ EC concerning waste electrical and electronic equipment (WEEE). This label indicates that this product should not be disposed of with household waste. It should be deposited at an appropriate facility to enable recovery and recycling. (See seade on märgistatud vastavalt Euroopa direktiivile 2002/96/EÜ, mis käsitleb elektri- ja elektroonikaseadmete jäätmeid (WEEE). See märgis näitab, et seda toodet ei tohiks kõrvaldada koos olmejäätmetega. See tuleks viia sobivasse asutusse taaskasutuse ja ringlussevõtu võimaldamiseks.)

Viited
Laadi alla juhend
Siin saate alla laadida juhendi täieliku pdf-versiooni, mis võib sisaldada täiendavaid ohutusjuhiseid, garantiiteavet, FCC eeskirju jne.
Laadi alla Kanto SYD – aktiivkõlari kasutusjuhend

), et valida see sisendallikaks. Bluetoothi LED (sinine) vilgub, näidates, et SYD on sidumisrežiimis.