SunJoe AJWV100 - Priručnik za bežični usisavač za prozore
- 1 Važne sigurnosne upute
- 2 Sigurnosni simboli
- 3 Upoznajte svoj uređaj
- 4 Tehnički podaci
- 5 Raspakiranje
- 6 Sastavljanje
- 7 Prije korištenja
- 8 Rad
- 9 Održavanje
- 10 Skladištenje
- 11 Servis i podrška
- 12 Brojevi modela i serijski brojevi
- 13 Rješavanje problema
- 14 Dodatna oprema
- 15 Reference
- 16 Preuzmi priručnik
- 17 Na drugim jezicima

Važne sigurnosne upute
Svi operateri moraju pročitati ove upute prije uporabe
Svaki električni uređaj može biti opasan ako se neispravno koristi. Neke od sigurnosnih mjera opreza navedenih u ovom priručniku općenito se odnose na mnoge uređaje. Druga upozorenja su specifična za korištenje ovog bežičnog usisavača za prozore.
Uvijek se pridržavajte ovih sigurnosnih smjernica. Ako to ne učinite, može doći do strujnog udara, požara i/ili ozbiljne ozljede.
Opća sigurnost
Prije uporabe, provjerite je li svatko tko koristi ovaj alat pročitao i razumio sve sigurnosne upute i druge informacije sadržane u ovom priručniku. Spremite ovaj priručnik i često ga pregledavajte prije uporabe ovog alata te prilikom podučavanja drugih o pravilnim radnim postupcima.
Prije korištenja usisavača za prozore, odvojite vrijeme da se upoznate s kontrolama. Djeci nikada ne bi trebalo dopustiti pristup usisavaču za prozore. Spremite ovaj priručnik za buduću upotrebu.
Kako biste smanjili rizik od strujnog udara, NEMOJTE izlagati kiši. Čuvajte u zatvorenom prostoru.
- Držite kosu, široku odjeću, prste i sve dijelove tijela i odjeće podalje od otvora i pokretnih dijelova.
- Nemojte se previše istezati. U svakom trenutku održavajte pravilno uporište i ravnotežu. Pravilno uporište i ravnoteža omogućuju bolju kontrolu nad usisavačem za prozore u neočekivanim situacijama. Nemojte koristiti na ljestvama ili nestabilnom osloncu.
- Ne dopustite djeci da upravljaju usisavačem za prozore ili da se igraju s usisavačem za prozore kao igračkom. Potrebna je posebna pozornost kada ga koriste djeca ili u blizini djece.
- Koristite ovaj usisavač za prozore SAMO za njegovu namjenu kako je opisano u ovom priručniku. Koristite samo nastavke preporučene u ovom priručniku.
- Spriječite nenamjerno pokretanje. Nošenje uređaja s prstima na prekidaču ili napajanje uređaja s uključenim prekidačem poziva na nezgode.
- Ako usisavač za prozore ne radi ispravno, ako je pao, oštećen, ostavljen na otvorenom ili upao u vodu, nemojte ga koristiti. Obratite se korisničkom centru Snow Joe + Sun Joe na broj 1-866-SNOWJOE (1-866-766-9563).
- Nemojte modificirati ili pokušavati popraviti uređaj ili punjač, osim kako je navedeno u uputama za uporabu i njegu.
- Nemojte rukovati USB kabelom za punjenje i adapterom za punjač ili usisavačem za prozore mokrim rukama.
- Nemojte stavljati nikakve predmete u ventilacijske otvore. Nemojte koristiti s blokiranim otvorima. Otvore držite čistima od prašine, vlakana, kose i svega što može smanjiti protok zraka.
- NIKADA nemojte usisavati materijale koji gore ili se dime, kao što su vrući ugljen, opušci cigareta, šibice, gorući ili dimeći pepeo itd.
- Nemojte uranjati. Koristite samo na površinama navlaženim postupkom čišćenja.
- NEMOJTE koristiti za prikupljanje zapaljivih ili zapaljivih tekućina, kao što je benzin, ili koristiti u područjima gdje mogu biti prisutne.
- Nemojte koristiti za prikupljanje otrovnih materijala (izbjeljivač na bazi klora, amonijak, sredstvo za čišćenje odvoda itd.).
- Budite posebno oprezni pri korištenju na stepenicama.
- Nemojte spaljivati ovaj uređaj čak ni ako je ozbiljno oštećen. Baterije mogu eksplodirati u požaru.
- Ne izlažite bateriju ili uređaj vatri ili pretjeranoj temperaturi. Izloženost vatri ili temperaturi iznad 265°F (130°C) može uzrokovati eksploziju.
- Provjerite neusklađenost ili vezivanje pokretnih dijelova, lom dijelova i bilo koje drugo stanje koje može utjecati na rad usisavača za prozore. Ako je oštećen, prije uporabe dajte servisirati usisavač za prozore.
- Koristite samo dodatnu opremu koju preporučuje proizvođač za vaš model. Dodatna oprema koja može biti prikladna za jedan usisavač za prozore može stvoriti rizik od ozljeda kada se koristi na drugom usisavaču za prozore.
- Ne dopustite da benzin, ulja, proizvodi na bazi nafte itd. dođu u dodir s plastičnim dijelovima. Sadrže kemikalije koje mogu oštetiti, oslabiti ili uništiti plastiku.
- Ovaj proizvod ne sadrži dijelove koji se mogu servisirati. Nikada ne pokušavajte ukloniti ili zamijeniti bilo koje dijelove osim onih navedenih u ovom priručniku.
- Ne ostavljajte usisavač za prozore bez nadzora.
- Nemojte koristiti ili skladištiti u blizini opasnih materijala.
Sigurnosna upozorenja za bateriju
Ovaj priručnik sadrži važne sigurnosne i radne upute za bateriju i punjač.
- 1. Prije uporabe uvijek provjerite punjač, kabel i utikač.
Ako se otkriju nedostaci, nemojte koristiti punjač; nikada ne otvarajte punjač. Temeljito pročitajte sve upute i upozorenja na priručniku, punjaču i bežičnom usisavaču za prozore.
Ako je bežični usisavač za prozore napuknut ili oštećen, nemojte umetati adapter za punjenje u električni alat niti uključivati električni alat u električnu utičnicu. Postoji opasnost od strujnog udara ili elektrokucije.
Zaštitite punjač baterije od kiše i vlage. Prodiranje vode u punjač baterije povećava rizik od strujnog udara.
Ovaj punjač je NAMIJENJEN SAMO za punjenje punjive baterije unutar bežičnog usisavača za prozore. Svaka druga uporaba predstavlja rizik od požara, strujnog udara ili elektrokucije.Punite samo s punjačem koji je specificirao proizvođač (AJWV100-USBCHARGER). Punjač koji je prikladan za jednu vrstu baterije može stvoriti rizik od požara kada se koristi s drugim baterijama.
- Nemojte otvarati ili modificirati bateriju. Otpušteni elektrolit je korozivan i može uzrokovati oštećenje očiju i kože. Može biti otrovan ako se proguta.
Opasnost od kratkog spoja! Nemojte umetati vodljive predmete (kao što su odvijači ili slično) u utikač punjača.- Održavajte punjač baterije čistim. Kontaminacija može povećati rizik od strujnog udara.
U uvjetima zlouporabe, tekućina se može izbaciti iz baterije; izbjegavajte kontakt. Ako se kontakt dogodi slučajno, isperite vodom. Ako tekućina dospije u oči, potražite liječničku pomoć. Tekućina izbačena iz baterije može uzrokovati iritaciju ili opekline.- Ne stavljajte nikakav predmet na vrh punjača niti stavljajte punjač na meku površinu koja može rezultirati prekomjernom unutarnjom toplinom. Držite punjač podalje od izvora topline.
- Kako biste smanjili rizik od oštećenja adaptera za punjač i USB kabela, povucite adapter za punjač, a ne USB kabel, kada isključujete punjač iz električne utičnice.
- Provjerite je li USB kabel smješten na sigurnom mjestu kako se ne bi nagazilo na njega, spotaknulo se o njega ili na drugi način bio izložen oštećenju ili naprezanju. Nemojte zlorabiti kabel i nemojte ga povlačiti kako biste ga isključili. Držite USB kabel podalje od topline i oštrih rubova.
Produžni kabel ne smije se koristiti osim ako je to apsolutno potrebno. Korištenje neodgovarajućeg produžnog kabela predstavlja rizik od požara, strujnog udara ili elektrokucije.- Nemojte koristiti adapter ako je zadobio oštar udarac ili je na bilo koji način oštećen. Obratite se korisničkom centru Snow Joe + Sun Joe na broj 1-866-SNOWJOE (1-866-766-9563) prije nastavka korištenja.
Nemojte rastavljati adapter za punjač. Neispravno ponovno sastavljanje može predstavljati ozbiljan rizik od strujnog udara, požara ili izloženosti otrovnim kemikalijama iz baterije. Ako su baterija ili punjač oštećeni, obratite se ovlaštenom trgovcu Snow Joe + Sun Joe ili nazovite korisnički centar Snow Joe + Sun Joe na broj 1-866-SNOWJOE (1-866-766-9563) za pomoć.Kako biste smanjili rizik od strujnog udara, isključite punjač iz utičnice prije čišćenja jedinice.
- Nikada ne pokušavajte spojiti dva (2) punjača zajedno.
- NEMOJTE skladištiti ili koristiti alat i punjač na mjestima gdje temperatura može doseći ili premašiti 104 ºF (40 ºC). Opasna mjesta za skladištenje uključuju vanjske šupe ili metalne zgrade ljeti.
- Punjač je dizajniran za rad na standardnoj kućnoj električnoj energiji (100 - 240 V). Ne pokušavajte ga koristiti s bilo kojim drugim naponom!
NAPOMENA: Integrirana baterija nije potpuno napunjena izvan kutije. Pročitajte sigurnosne upute, a zatim slijedite napomene i postupke punjenja. - Najdulji vijek trajanja i najbolje performanse mogu se postići ako se integrirana baterija puni kada je temperatura zraka između 64,4 ºF – 75,2 ºF (18 ºC – 24 ºC). Nemojte puniti bateriju kada je temperatura zraka ispod 50 ºF (10 ºC) ili iznad 104 ºF (40 ºC). Slijedeći ove sigurnosne mjere spriječit ćete oštećenje baterije.
- Nemojte spaljivati integriranu bateriju čak ni ako je ozbiljno oštećena ili potpuno istrošena. Baterija može eksplodirati u požaru.
Servis
- Ako vaš električni alat zahtijeva servis, obratite se ovlaštenom trgovcu Snow Joe + Sun Joe ili nazovite korisnički centar Snow Joe + Sun Joe na broj 1-866-SNOWJOE (1-866-766-9563). Za popravke se smiju koristiti samo identični zamjenski dijelovi. To će osigurati održavanje sigurnosti električnog alata.
- Ako je USB kabel oštećen, mora se odmah zamijeniti kako bi se izbjegla opasnost. Obratite se korisničkom centru Snow Joe + Sun Joe na broj 1-866-SNOWJOE (1-866-766-9563) za pomoć.
Sigurnosni simboli
Sljedeća tablica prikazuje i opisuje sigurnosne simbole koji se mogu pojaviti na ovom proizvodu. Prije pokušaja sastavljanja i rada pročitajte, razumite i slijedite sve upute na stroju.
| Simboli | Opisi | Simboli | Opisi |
| Sigurnosno upozorenje. Budite oprezni. | ![]() | Kako biste smanjili rizik od ozljeda, korisnik mora pročitati priručnik s uputama. | |
![]() | ![]() | Samo za unutarnju uporabu. Punjač baterije koristite samo u zatvorenom prostoru. |
Upoznajte svoj uređaj
Prije rada s usisavačem za prozore pažljivo pročitajte upute za uporabu i sigurnosna pravila. Usporedite ilustraciju u nastavku s jedinicom kako biste se upoznali s položajem različitih kontrola i podešavanja. Spremite ovaj priručnik za buduću upotrebu.

- Gumena metlica
- Kućište motora
- Indikator punjenja
- USB utičnica za punjenje
- Ručka
- USB adapter za punjenje
- USB kabel za punjenje
- Sklop mlaznice
- Ispušni otvor za zrak
- Prekidač za uključivanje/isključivanje
- Ispusni otvor (Čep ispusnog otvora)
- Spremnik za otpadnu vodu
Tehnički podaci
| Motor | 15 W | |
| Maksimalni napon baterije* | 4 V D.C. | |
| Kapacitet baterije | 2,0 Ah | |
| Maksimalno trajanje baterije | 30 min Čisti 50 prozora standardne veličine po punjenju | |
| Ulaz punjača | 100 – 240 V AC, 50/60 Hz | |
| Izlaz punjača | 5V DC, 1 A | |
| Maksimalno vrijeme punjenja | 4 sata | |
| Vrsta baterije | Litij-iON | |
| Maksimalni tlak vakuuma | 1,1 kPa | |
| Maksimalni protok zraka | 5,3 cfm (0,15 m | |
| Kapacitet spremnika za otpadnu vodu | 3,4 fl oz (100 ml) | |
| Neto težina | 1,25 lbs (0,57 kg) | |
*Početni napon bez opterećenja, kada je potpuno napunjen, dostiže 4,2 volta; nominalni napon pod tipičnim opterećenjem je 3,7 volta.
Raspakiranje
Sadržaj kartona
- Bežični usisavač za prozore
- Sklop mlaznice
- USB adapter punjača
- USB kabel punjača
- Priručnici s registracijskom karticom
- Pažljivo izvadite usisavač za prozore i provjerite jesu li isporučeni svi gore navedeni predmeti.
- Pažljivo pregledajte proizvod kako biste bili sigurni da nije došlo do loma ili oštećenja tijekom transporta. Ako pronađete oštećene ili nedostajuće dijelove, NEMOJTE vraćati jedinicu u trgovinu. Nazovite korisnički centar Snow Joe + Sun Joe na broj 1-866-SNOWJOE (1-866-766-9563).
NAPOMENA: Ne bacajte transportni karton i ambalažni materijal dok ne budete spremni za korištenje novog usisavača za prozore. Ambalaža je izrađena od materijala koji se mogu reciklirati. Pravilno zbrinite te materijale u skladu s lokalnim propisima.
Oprema i ambalažni materijal nisu igračke. Ne dopustite djeci da se igraju plastičnim vrećicama, folijama ili malim dijelovima. Ovi se predmeti mogu progutati i predstavljaju opasnost od gušenja!
Sastavljanje
Kako biste izbjegli ozbiljne ozljede, pročitajte i razumite sve sigurnosne upute.
Nemojte uključivati uređaj dok sastavljanje nije dovršeno. Nepoštivanje može rezultirati slučajnim pokretanjem i mogućim ozbiljnim osobnim ozljedama.
- S blago nagnutim sklopom mlaznice kao što je prikazano, spojite sklop mlaznice s kućištem motora. Provjerite jesu li jezičci na kućištu motora umetnuti u utore na sklopu mlaznice (slika 1).
![SunJoe - AJWV100 - Sastavljanje - Korak 1 - Spojite sklop mlaznice Sastavljanje - Korak 1 - Spojite sklop mlaznice]()
- Zakrenite sklop mlaznice u smjeru kazaljke na satu kako biste zaključali sklop (slika 2). Protresite cijeli uređaj kako biste bili sigurni da je sklop mlaznice pričvršćen i da se neće odvojiti.
Prije korištenja
Postupak punjenja
Isporučeni punjač baterija odgovara litij-ionskoj bateriji ugrađenoj u alat. Ne koristite druge punjače baterija.
Litij-ionska baterija zaštićena je od dubokog pražnjenja. Kada je baterija prazna, zaštitni krug automatski će isključiti opremu. Usisavač više neće raditi.
Napunite bateriju do 4 sata, a zatim je koristite dok se ne isprazni. Ponovno punite do 4 sata prije nastavka rada.
Kontinuirana i pretjerana prekomjerna upotreba gumba ON/OFF može trajno oštetiti litij-ionsku bateriju.
- Tijekom postupka punjenja, ručka i kućište alata bit će malo topli na dodir. To je normalno.
- Kada se ne planira daljnja upotreba dulje vrijeme, odspojite punjač baterija iz utičnice i uređaja.
- Nemojte koristiti alat tijekom postupka punjenja.
Pokazivač razine napunjenosti baterije
Oprema ima indikator razine punjača, koji će se upaliti i pokazati razinu napunjenosti kada se uređaj koristi.
- Indikator punjenja svijetli plavo: Razina napunjenosti baterije je visoka.
- Indikator punjenja treperi crveno: Razina napunjenosti baterije je manja od 3 V. Zaustavite rad i napunite bateriju.
Punjenje baterije
Duljina rada između svakog punjenja varira ovisno o vrsti posla koji obavljate. Baterija u ovom usisavaču za prozore dizajnirana je da osigura maksimalan beživotan vijek trajanja. Međutim, kao i sve baterije, s vremenom će se istrošiti. Kako biste dobili najdulji mogući vijek trajanja baterije, predlažemo sljedeće:
- Čuvajte i punite svoj bežični usisavač za prozore u hladnom prostoru. Temperature iznad ili ispod normalne sobne temperature skratit će vijek trajanja baterije.
- Nikada ne pohranjujte bežični usisavač za prozore s baterijom u ispražnjenom stanju. Napunite uređaj odmah nakon što se isprazni.
- Sve baterije postupno gube napunjenost. Što je temperatura viša, to brže gube napunjenost. Ako bežični usisavač za prozore pohranjujete dulje vrijeme bez upotrebe, napunite bateriju svakih 6 mjeseci. To će produljiti vijek trajanja baterije.
NAPOMENA: Bežični usisavač za prozore isporučen je u stanju niske napunjenosti i treba ga u potpunosti napuniti prije upotrebe.
- Uključite adapter punjača u odgovarajuću AC utičnicu. Spojite adapter punjača i utičnicu za punjenje usisavača za prozore s USB kabelom za punjenje, kao što je prikazano (slika 3).
- Bateriji će trebati otprilike 4 sata da se napuni. LED indikator baterije će treperiti crveno tijekom procesa punjenja. Isključite punjač kada LED svijetli plavo.
- Pravovremeno punjenje alata pomoći će produljiti vijek trajanja baterije. Alat morate puniti prema indikatoru razine punjača.
NAPOMENA: Ovaj će se punjač automatski isključiti 30 minuta nakon što se baterija potpuno napuni. Plavi indikator napunjenosti baterije će se isključiti kada je punjač isključen.
Nikada ne dopustite da se alat potpuno isprazni jer će to uzrokovati nepovratnu štetu bateriji.
Rad
Ovaj je uređaj namijenjen za unutarnju upotrebu za čišćenje vlažnih, glatkih površina kao što su prozori, ogledala ili pločice, u skladu s uputama navedenim u ovom priručniku. Uređaj nije namijenjen za usisavanje krhotina na podu, odvodima ili spremnicima.
Nemojte koristiti nikakve nastavke ili dodatke koje proizvođač ne preporučuje. Upotreba nastavaka ili dodatne opreme koji se ne preporučuju može dovesti do oštećenja proizvoda.
Opći postupak usisavanja
- Prije upotrebe usisavača za prozore, navlažite površinu koju želite očistiti raspršivačem. Ili upotrijebite spužvu napunjenu vodom ili odgovarajućim deterdžentom za brisanje površine.
- Uzmite usisavač za prozore za ručku. Postavite gumicu na gornji dio površine koju želite očistiti (slika 4).
- Uključite usisavač za prozore pritiskom na prekidač za uključivanje/isključivanje (slika 4).
- Uz malo pritiska, povucite gumicu duž površine. Uređaj će usisati svu tekućinu i ostaviti čistu i glatku površinu (slika 5).
- Nakon što je usisavanje završeno, isključite uređaj ponovnim pritiskom na prekidač za uključivanje/isključivanje. Ako na površini još ima ostataka vode, obrišite suhom krpom.
Ispraznite spremnik otpadne vode
- Preporučuje se pražnjenje spremnika otpadne vode svaki put nakon upotrebe. Isključite usisavač i provjerite je li alat potpuno zaustavljen.
- Izvucite čep odvoda i nagnite uređaj da biste ispraznili tekuće ostatke iz odvoda (slika 6)
![SunJoe - AJWV100 - Rad - Ispraznite spremnik otpadne vode Rad - Ispraznite spremnik otpadne vode]()
- Nakon što je pražnjenje završeno, ponovno umetnite čep.
Uređaj koristite samo dok se ne dosegne oznaka MAX na spremniku otpadne vode. Isključite uređaj i ispraznite spremnik otpadne vode.
Savjeti za rad
- Ne pritiskajte uređaj previše snažno, već mu dopustite da klizi po površini.
- Tijekom rada provjerite da otvor za zrak nije blokiran. Blokiran otvor za zrak može dovesti do pregrijavanja i oštećenja uređaja.
- Bežični usisavač za prozore opremljen je zaštitom od pregrijavanja. Kada je temperatura previsoka tijekom rada, krug će se prekinuti. Pričekajte da se ohladi prije nego što uključite uređaj i nastavite s radom.
- Tijekom rada osigurajte da je površina mokra prskanjem dovoljne količine tekućine na površinu.
- Redovito čistite gumicu.
- Isključite uređaj nakon usisavanja, prije čišćenja i održavanja. Ispraznite spremnik otpadne vode, očistite i osušite prije skladištenja.
- Čišćenje se ne smije obavljati na izravnoj sunčevoj svjetlosti ili pretjeranoj toplini.
Održavanje
Kako biste naručili originalne zamjenske dijelove ili dodatnu opremu za bežični usisavač za prozore Sun Joe AJWV100, posjetite sunjoe.com ili se obratite servisnom centru Snow Joe + Sun Joe na broj 1-866-SNOWJOE (1-866-766-9563).
Kako biste smanjili rizik od požara, strujnog udara ili ozljeda, isključite napajanje prije izvođenja održavanja ili rješavanja problema.
Čišćenje
- Isključite usisavač.
- Uklonite sklop mlaznice laganim zakretanjem u smjeru suprotnom od kazaljke na satu i izvlačenjem iz uređaja (slika 7).
![SunJoe - AJWV100 - Čišćenje - Korak 1 - Uklonite sklop mlaznice Čišćenje - Korak 1 - Uklonite sklop mlaznice]()
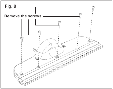
- Uklonite 5 vijaka koji se koriste za pričvršćivanje gumice na mjesto (slika 8).
- Uzmite kraj gumice i izvucite je iz sklopa mlaznice (slika 9).
![SunJoe - AJWV100 - Čišćenje - Korak 3 - Izvucite gumicu Čišćenje - Korak 3 - Izvucite gumicu]()
- Očistite gumicu i sklop mlaznice pod tekućom vodom. Osušite na zraku prije ponovnog sastavljanja.
NAPOMENA: Nemojte čistiti kućište motora čistača pod tekućom vodom, umjesto toga koristite samo blagi sapun i vlažnu krpu za čišćenje. Nemojte koristiti deterdžent koji sadrži benzin, terpentin, razrjeđivač laka, razrjeđivač boje, klorirana otapala za čišćenje, amonijak, aceton ili kućanske deterdžente koji sadrže amonijak jer su ta sredstva za čišćenje i otapala štetna za plastiku i druge izolirane dijelove. Nikada nemojte koristiti zapaljiva ili zapaljiva otapala oko alata.
Skladištenje
- Temeljito pregledajte bežični usisavač za prozore kako biste provjerili ima li istrošenih, labavih ili oštećenih dijelova. Ako trebate popraviti ili zamijeniti dio, obratite se ovlaštenom prodavaču Snow Joe + Sun Joe ili nazovite servisni centar Snow Joe Sun Joe na broj 1-866-SNOWJOE (1-866-766-9563) za pomoć.
- Pohranite usisavač za prozore uspravno s punjačem u zatvorenom prostoru na čistom, suhom i zaključanom mjestu koje je zaštićeno od prašine.
Servis i podrška
Ako vaš bežični usisavač za prozore Sun Joe AJWV100 zahtijeva servis ili održavanje, nazovite servisni centar Snow Joe + Sun Joe na broj 1-866-SNOWJOE (1-866-766-9563).
Brojevi modela i serijski brojevi
Prilikom kontaktiranja tvrtke, ponovnog naručivanja dijelova ili dogovaranja servisa od ovlaštenog distributera, morat ćete navesti model i serijske brojeve, koji se nalaze na naljepnici na kućištu uređaja. Kopirajte ove brojeve u prostor koji je predviđen u nastavku.

Rješavanje problema
- Isključite opremu prije izvođenja održavanja na stroju ili prilikom provjere jesu li njegovi dijelovi u ispravnom radnom stanju.
- Kako biste izbjegli nepotrebne probleme, pogledajte sljedeću tablicu prije nego što se obratite službi za korisnike u vezi s bilo kakvim mehaničkim problemima.
| Problemi | Mogući uzrok | Moguće rješenje |
Stroj se odbija pokrenuti |
|
|
Sila usisavanja pada |
|
|
Kućište motora je vruće |
|
|
Dodatna oprema
UVIJEK koristite samo ovlaštene zamjenske dijelove i dodatnu opremu tvrtke Snow Joe + Sun Joe . NIKADA nemojte koristiti zamjenske dijelove ili dodatnu opremu koja nije namijenjena za upotrebu s ovim bežičnim usisavačem za prozore. Obratite se tvrtki Snow Joe Sun Joe ® ako niste sigurni je li sigurno koristiti određeni zamjenski dio ili dodatnu opremu s vašim bežičnim usisavačem za prozore. Upotreba bilo kojeg drugog nastavka ili dodatne opreme može biti opasna i može uzrokovati ozljede ili mehanička oštećenja.
| Dodatna oprema | Artikl | Model |
![]() | Zamjenska metlica brisača AJWV100 | AJWV100-SQGBLD |
![]() | AJWV100 USB punjač + kabel | AJWV100-USBCHARGER |
© 2020 by Snow Joe, LLC
Sva prava pridržana. Originalne upute.

Reference
Preuzmi priručnik
Ovdje možete preuzeti punu pdf verziju priručnika, koja može sadržavati dodatne sigurnosne upute, informacije o jamstvu, FCC pravila, itd.
Preuzmi SunJoe AJWV100 - Priručnik za bežični usisavač za prozore








