Logitech USB COMPUTER HEADSET zajszűrő mikrofonnal – használati útmutató
Tartalom

ISMERJE MEG TERMÉKÉT
FŐEGYSÉG

KÁBELBE ÉPÍTETT VEZÉRLŐ

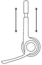
- A headset méretének beállításához mozgassa a fejpántot felfelé és lefelé, amíg kényelmesen nem illeszkedik.
- A jobb hangrögzítés érdekében mozgassa a mikrofonkart felfelé vagy lefelé, amíg az a szájával egy vonalba nem kerül.
- A mikrofonkar használaton kívül elrejthető.
AZ EGYSÉG CSATLAKOZTATÁSA

Dugja be az USB-A csatlakozót a számítógép USB-portjába.
AZ ESZKÖZ BEÁLLÍTÁSA
- A headset méretének beállításához mozgassa a fejpántot felfelé és lefelé, amíg kényelmesen nem illeszkedik.
![]()
- A jobb hangrögzítés érdekében mozgassa a mikrofonkart felfelé vagy lefelé, amíg az a szájával egy vonalba nem kerül.
![]()
- A mikrofonkar használaton kívül elrejthető.
![]()
VEZÉRLŐK

© 2023 Logitech A Logitech, a Logi és más Logitech védjegyek a Logitech tulajdonában vannak, és bejegyzettek lehetnek. Minden más védjegy a megfelelő tulajdonosok tulajdona. A Logitech nem vállal felelősséget a jelen kézikönyvben előforduló hibákért. Az itt található információk előzetes értesítés nélkül változhatnak.

Kézikönyv letöltése
Itt letöltheti a kézikönyv teljes pdf verzióját, amely további biztonsági utasításokat, garanciális információkat, FCC szabályokat stb. tartalmazhat.
Logitech USB COMPUTER HEADSET zajszűrő mikrofonnal – használati útmutató letöltése


