Samsung UN39EH5003, UN32EH4003 - 4003, 5003 Series LED TV Manual
- 1 Peringatan gambar statis
- 2 Mengamankan Ruang Pemasangan
- 3 Aksesori
- 4 Menggunakan Pengontrol TV (Tombol Panel)
- 5 Tombol Remote Control
- 6 Menghubungkan ke Antena
- 7 Pengaturan (Pengaturan Awal)
- 8 Menghubungkan ke perangkat AV
- 9 Menghubungkan ke PC
- 10 Mengubah Sumber Input
- 11 Memasang Dudukan Dinding
- 12 Pemecahan Masalah
- 13 Lisensi
- 14 Daftar Fitur
- 15 Mengamankan TV ke Dinding
- 16 Penyimpanan dan Pemeliharaan
- 17 Spesifikasi
- 18 Informasi Garansi Penting Mengenai Tampilan Format Televisi
- 19 Referensi
- 20 Unduh manual
- 21 Dalam Bahasa Lain

Peringatan gambar statis
Hindari menampilkan gambar statis (seperti file gambar jpeg) atau elemen gambar statis (seperti logo saluran TV, panorama atau format gambar 4:3, stok atau bilah berita di bagian bawah layar, dll.) di layar. Menampilkan gambar statis secara terus-menerus dapat menyebabkan ghosting pada layar LED, yang akan memengaruhi kualitas gambar. Untuk mengurangi risiko efek ini, ikuti rekomendasi di bawah ini:
- Hindari menampilkan saluran TV yang sama dalam jangka waktu yang lama.
- Selalu coba tampilkan gambar layar penuh.
- Mengurangi kecerahan dan kontras akan membantu menghindari munculnya after-image.
- Gunakan semua fitur TV yang dirancang untuk mengurangi retensi gambar dan screen burn, lihat e-Manual untuk detailnya.
Mengamankan Ruang Pemasangan
Jaga jarak yang diperlukan antara produk dan benda lain (misalnya dinding) untuk memastikan ventilasi yang baik.
Jika tidak, dapat menyebabkan kebakaran atau masalah pada produk karena peningkatan suhu internal produk.
Saat menggunakan dudukan atau pemasangan di dinding, gunakan hanya suku cadang yang disediakan oleh Samsung Electronics.
- Jika Anda menggunakan suku cadang yang disediakan oleh produsen lain, hal itu dapat menyebabkan masalah pada produk atau cedera karena produk terjatuh.
Tampilan mungkin berbeda tergantung pada produk.
Berhati-hatilah saat Anda menyentuh TV karena beberapa bagian bisa agak panas.
Pemasangan dengan dudukan.

Pemasangan dengan pemasangan di dinding.

Aksesori
Pastikan item berikut disertakan dengan TV Anda. Jika ada item yang hilang, hubungi dealer Anda.
Warna dan bentuk item mungkin berbeda tergantung pada model.
Kabel yang tidak termasuk dalam isi paket dapat dibeli secara terpisah.
MASUKKAN DENGAN AMAN AGAR TIDAK TERLEPAS DI SET
- Remote Control & Baterai (AAA x 2)
- Instruksi Pemilik
- Kartu Garansi / Panduan Keselamatan (Tidak tersedia di beberapa lokasi)
- Kabel Daya
Kabel Input (Dijual Terpisah)

Menggunakan Pengontrol TV (Tombol Panel)
Warna dan bentuk produk mungkin berbeda tergantung pada model.

| Menyalakan | Menyalakan TV dengan menekan pengontrol dalam mode siaga. |
| Menyesuaikan volume | Menyesuaikan volume dengan menggerakkan pengontrol dari sisi ke sisi saat daya hidup. |
| Memilih saluran | Memilih saluran dengan menggerakkan pengontrol ke atas dan ke bawah saat daya hidup. |
| Menggunakan menu fungsi | Tekan pengontrol saat daya hidup, maka layar menu fungsi akan muncul. Jika Anda menekannya lagi, layar menu fungsi akan menghilang. |
Memilih Menu ( ) | Memilih Menu ( ) dengan menggerakkan pengontrol di layar menu fungsi. OSD (On Screen Display) fitur TV Anda akan muncul. |
| Memilih Beranda Konten | Memilih KONTEN dengan menggerakkan pengontrol di layar menu fungsi. Layar utama Beranda Konten akan muncul. |
Memilih Sumber ( ) | Memilih Sumber ( ) dengan menggerakkan pengontrol di layar menu fungsi. Layar daftar Sumber akan muncul. |
Mematikan ( ) | Memilih Matikan ( ) untuk mematikan TV dengan menggerakkan pengontrol di layar menu fungsi. |
Keluar dari menu saat menekan pengontrol lebih dari 1 detik.
Saat memilih fungsi dengan menggerakkan pengontrol ke arah atas/bawah/kiri/kanan, pastikan untuk tidak menekan pengontrol. Jika Anda menekannya terlebih dahulu, Anda tidak dapat mengoperasikannya untuk bergerak ke arah atas/bawah/kiri/kanan.
Mode siaga
TV Anda memasuki mode Siaga saat Anda mematikannya dan terus mengonsumsi sejumlah kecil daya listrik. Agar aman dan untuk mengurangi konsumsi daya, jangan biarkan TV Anda dalam mode siaga untuk waktu yang lama (saat Anda pergi berlibur, misalnya). Sebaiknya cabut kabel daya.
Tombol Remote Control
Remote control ini memiliki titik Braille pada tombol Daya, Saluran, dan Volume dan dapat digunakan oleh tunanetra

- Menyalakan dan mematikan TV.
- Tekan untuk langsung mengakses saluran.
- Tekan untuk memilih saluran tambahan (digital) yang disiarkan oleh stasiun yang sama. Misalnya, untuk memilih saluran '54.3', tekan '54', lalu tekan '-' dan '3'.
- Menyesuaikan volume.
- Menampilkan daftar saluran di layar.
- Melihat Beranda Konten.
- Memilih dengan cepat fungsi yang sering digunakan.
- Memilih item menu di layar dan mengubah nilai yang terlihat di menu.
- Kembali ke menu sebelumnya.
- E-MANUAL: Menampilkan e-Manual.
P.SIZE: Memilih ukuran gambar.
CC: Mengontrol dekoder teks.
- Menampilkan dan memilih sumber video yang tersedia.
- Kembali ke saluran sebelumnya.
- Mematikan suara sementara.
- Mengubah saluran.
- Menampilkan menu utama di layar.
- Menampilkan EPG (Electronic Program Guide).
- Tekan untuk menampilkan informasi di layar TV.
- Keluar dari menu.
- Gunakan tombol-tombol ini sesuai dengan arah di layar.
- Gunakan tombol-tombol ini dalam fitur tertentu.
Memasang baterai (Ukuran baterai: AAA)

CATATAN
- Gunakan remote control dalam jarak 23 kaki dari TV.
- Cahaya terang dapat memengaruhi kinerja remote control. Hindari penggunaan di dekat lampu neon khusus atau tanda neon.
- Warna dan bentuk mungkin berbeda tergantung pada model.
Menghubungkan ke Antena
Saat TV pertama kali dinyalakan, pengaturan dasar akan berjalan secara otomatis.
Menghubungkan kabel daya dan antena.
Posisi port input daya mungkin berbeda tergantung pada model.

Pengaturan (Pengaturan Awal)
Saat TV pertama kali dinyalakan, serangkaian perintah di layar akan membantu mengonfigurasi pengaturan dasar. Tekan tombol POWER
. Setup (Pengaturan) hanya tersedia saat Source (Sumber) diatur ke TV.
Untuk memulai Setup (Pengaturan), masukkan kata sandi menggunakan remote control. Kata sandi default adalah 0-0-0-0.
Untuk kembali ke langkah sebelumnya, tekan tombol Previous (Sebelumnya)
- Menu Language (Bahasa Menu): Memilih bahasa menu
Tekan tombol
atau
, lalu tekan tombol ENTER
. Pilih bahasa OSD (On Screen Display) yang diinginkan. - Use Mode (Mode Penggunaan): Memilih mode penggunaan
Tekan tombol
atau
, lalu tekan tombol ENTER
. - Pilih mode Home Use (Penggunaan di Rumah). Mode Store Demo (Demo Toko) adalah untuk lingkungan ritel.
- Saat menekan pengontrol TV, layar menu fungsi akan muncul. Pilih Menu (
) dan tekan selama lebih dari 5 detik menggunakan pengontrol. Mode Store Demo (Demo Toko) telah diatur. Batalkan Store Demo (Demo Toko) dengan memilih Source (Sumber) (
) dan menekannya selama lebih dari 5 detik. - Store Demo (Demo Toko) hanya untuk tampilan di toko. Jika Anda memilihnya, beberapa fungsi tidak dapat digunakan. Silakan pilih Home Use (Penggunaan di Rumah) saat Anda menonton di rumah.
- Auto Program (Program Otomatis) (1): Memilih cara Anda menonton TV
Mari temukan dan simpan saluran di TV Anda. Apakah Anda perlu mencari saluran?- Yes, I need to. (Ya, saya perlu.): Hafalkan semua saluran yang tersedia menggunakan kabel RF.
- No, I don't need to. (Tidak, saya tidak perlu.): Tidak perlu Program Otomatis saat menghubungkan TV ke set-top box.
Anda dapat menyelesaikan Setup (Pengaturan) dengan memilihnya.
- Auto Program (Program Otomatis) (2): Memilih dan menghafal saluran
Pilih Next (Berikutnya) untuk menjalankan Auto Program (Program Otomatis).
Tekan tombol
atau
untuk memilih Air (Udara) atau Cable (Kabel), lalu tekan tombol ENTER
.
Pencarian saluran akan dimulai secara otomatis.
Untuk informasi lebih lanjut, lihat Channel (Saluran) → Auto Program (Program Otomatis).
Tekan tombol ENTER
kapan saja untuk menghentikan proses penghafalan. - Clock (Jam): Mengatur Mode Jam
Atur Clock Mode (Mode Jam) secara otomatis atau manual.- Auto (Otomatis): Pilih zona waktu tempat Anda tinggal. (untuk Brasil, Chili, Ekuador)
- Manual (Manual): Memungkinkan Anda untuk mengatur tanggal dan waktu saat ini secara manual.
- Setup Complete (Pengaturan Selesai)
Tekan tombol ENTERE.
Pengaturan yang telah selesai akan ditampilkan.
Jika Anda Ingin Mereset Fitur Ini...
MENU
→ System (Sistem) → Setup (Pengaturan) → ENTER
Menghubungkan ke perangkat AV
Perangkat yang tersedia: DVD, pemutar Blu-ray, HD cable box, HD STB (Set-Top-Box) penerima satelit

Menggunakan HDMI atau Kabel HDMI ke DVI: Koneksi HD (hingga 1080p)
HDMI IN 1(DVI), 2 x Jika kabel HDMI ke DVI terhubung ke port HDMI IN 1(DVI), audio tidak akan berfungsi.
- Gambar mungkin tidak ditampilkan secara normal (jika ada) atau audio mungkin tidak berfungsi jika perangkat eksternal yang menggunakan versi mode HDMI yang lebih lama terhubung ke TV. Jika masalah seperti itu terjadi, tanyakan kepada produsen perangkat eksternal tentang versi HDMI dan, jika sudah kedaluwarsa, minta pembaruan.
- Pastikan untuk membeli kabel HDMI bersertifikat. Jika tidak, gambar mungkin tidak ditampilkan atau kesalahan koneksi mungkin terjadi.
- Kabel HDMI berkecepatan tinggi dasar atau yang memiliki ethernet direkomendasikan. Produk ini tidak mendukung fungsi ethernet melalui HDMI.
Perangkat yang tersedia: DVD, pemutar Blu-ray, cable box, STB penerima satelit, VCR

Menggunakan Komponen (hingga 1080p), Menggunakan Kabel Audio/Video (hanya 480i)
Saat menghubungkan ke AV IN, warna jack AV IN [Y/VIDEO] (hijau) tidak akan cocok dengan kabel video (kuning).
Untuk kualitas gambar yang lebih baik, koneksi Komponen direkomendasikan daripada koneksi A/V.
Menghubungkan ke PC
Menggunakan kabel HDMI atau Kabel HDMI ke DVI
Menghubungkan melalui kabel HDMI mungkin tidak didukung tergantung pada PC.

CATATAN
- Untuk koneksi kabel HDMI/DVI, Anda harus menggunakan jack HDMI IN 1(DVI). x Jika kabel HDMI ke DVI terhubung ke port HDMI IN 1(DVI), audio tidak berfungsi.
- Mode interlace tidak didukung.
- Set mungkin beroperasi secara tidak normal jika format video non-standar dipilih.
- Input PC(D-Sub) tidak didukung. x DIGITAL AUDIO OUT(OPTICAL) tidak didukung.
SERVIS

Konektor hanya untuk servis.
Mode Tampilan (Input HDMI/DVI)
Resolusi optimal adalah seri 4003: 1366 x 768@60Hz / seri 5003: 1920 x 1080@60Hz.
| Mode | Resolusi | Frekuensi Horizontal (KHz) | Frekuensi Vertikal (Hz) | Frekuensi Clock Piksel (MHz) | Polaritas Sinkronisasi (H / V) | 1366 x 768 | 1920 x 1080 |
| IBM | 640 x 350 | 31.469 | 70.086 | 25.175 | +/- | ![]() | |
| 720 x 400 | 31.469 | 70.087 | 28.322 | -/+ | ![]() | ![]() | |
| MAC | 640 x 480 | 35.000 | 66.667 | 30.240 | -/- | ![]() | ![]() |
| 832 x 624 | 49.726 | 74.551 | 57.284 | -/- | ![]() | ![]() | |
| 1152 x 870 | 68.681 | 75.062 | 100.000 | -/- | ![]() | ||
| VESA DMT | 640 x 480 | 31.469 | 59.940 | 25.175 | -/- | ![]() | ![]() |
| 640 x 480 | 37.861 | 72.809 | 31.500 | -/- | ![]() | ![]() | |
| 640 x 480 | 37.500 | 75.000 | 31.500 | -/- | ![]() | ![]() | |
| 800 x 600 | 37.879 | 60.317 | 40.000 | +/+ | ![]() | ![]() | |
| 800 x 600 | 48.077 | 72.188 | 50.000 | +/+ | ![]() | ![]() | |
| 800 x 600 | 46.875 | 75.000 | 49.500 | +/+ | ![]() | ![]() | |
| 1024 x 768 | 48.363 | 60.004 | 65.000 | -/- | ![]() | ![]() | |
| 1024 x 768 | 56.476 | 70.069 | 75.000 | -/- | ![]() | ![]() | |
| 1024 x 768 | 60.023 | 75.029 | 78.750 | +/+ | ![]() | ![]() | |
| 1152 x 864 | 67.500 | 75.000 | 108.000 | +/+ | ![]() | ||
| 1280 x 720 | 45.000 | 60.000 | 74.250 | +/+ | ![]() | ![]() | |
| 1280 x 800 | 49.702 | 59.810 | 83.500 | -/+ | ![]() | ||
| 1280 x 1024 | 63.981 | 60.020 | 108.000 | +/+ | ![]() | ||
| 1280 x 1024 | 79.976 | 75.025 | 135.000 | +/+ | ![]() | ||
| 1366 x 768 | 47.712 | 59.790 | 85.500 | +/+ | ![]() | ![]() | |
| 1440 x 900 | 55.935 | 59.887 | 106.500 | -/+ | ![]() | ||
| 1600 x 900RB | 60.000 | 60.000 | 108.000 | +/+ | ![]() | ||
| 1680 x 1050 | 65.290 | 59.954 | 146.250 | -/+ | ![]() | ||
| 1920 x 1080 | 67.500 | 60.000 | 148.500 | +/+ | ![]() |
Mengubah Sumber Input
Sumber
Digunakan untuk memilih TV atau sumber input eksternal lainnya seperti pemutar DVD / Blu-ray / kotak kabel / penerima satelit STB yang terhubung ke TV.
- Tekan tombol SOURCE (Sumber) pada remote Anda.
- Pilih sumber input eksternal yang diinginkan.
- TV / HDMI1/DVI / HDMI2 / AV / Component
Di Source (Sumber), input yang terhubung akan disorot.
Input PC(D-Sub) tidak didukung. Jika Anda ingin menghubungkan PC ke TV, gunakan input HDMI1/DVI.
Cara menggunakan Edit Name (Edit Nama)
Di Source (Sumber), tekan tombol TOOLS (Alat), lalu Anda dapat mengatur nama sumber input eksternal yang Anda inginkan.
- VCR / DVD / Cable STB / Satellite STB / PVR STB / AV Receiver / Game / Camcorder / PC / DVI PC / DVI Devices / TV / IPTV / Blu-ray / HD DVD / DMA: Beri nama perangkat yang terhubung ke jack input untuk mempermudah pemilihan sumber input Anda.
Saat menghubungkan PC ke port HDMI IN 1(DVI) dengan kabel HDMI, Anda harus mengatur TV ke mode PC di bawah Edit Name (Edit Nama).
Saat menghubungkan PC ke port HDMI IN 1(DVI) dengan kabel HDMI ke DVI, Anda harus mengatur TV ke mode DVI PC di bawah Edit Name (Edit Nama).
Saat menghubungkan perangkat AV ke port HDMI IN 1(DVI) dengan kabel HDMI ke DVI, Anda harus mengatur TV ke mode DVI Devices (Perangkat DVI) di bawah Edit Name (Edit Nama).
Informasi
Anda dapat melihat informasi detail tentang perangkat eksternal yang terhubung.
Cara melihat e-Manual

Anda dapat menemukan instruksi untuk fitur TV Anda di e-Manual di TV Anda. Untuk menggunakan, tekan tombol E-MANUAL pada remote Anda. Gerakkan kursor menggunakan tombol atas/bawah/kanan/kiri untuk menyorot kategori, lalu topik, lalu tekan tombol ENTERE. e-Manual menampilkan halaman yang ingin Anda lihat. Anda juga dapat mengaksesnya melalui menu:
MENU
→ Support (Dukungan) → e-Manual → ENTER
Jika Anda ingin kembali ke e-Manual, tekan tombol E-MANUAL pada remote Anda.
Anda tidak dapat menggunakan fungsi Try Now (Coba Sekarang) jika menu tidak diaktifkan.
Tampilan Layar

- Layar TV: Menampilkan program, film, video, dll. yang sedang Anda tonton.
- Daftar kategori. Tekan
atau
tombol untuk memilih kategori yang Anda inginkan. - Menampilkan daftar sub-menu. Gunakan tombol panah pada remote Anda untuk memindahkan kursor. Tekan tombol ENTER
untuk memilih sub-menu yang Anda inginkan. - Tombol Operasi:
Biru (Indeks): Menampilkan layar indeks.
Enter: Memilih kategori atau sub-menu.
Exit (Keluar): Keluar dari e-Manual.
Cara beralih antara e-Manual dan menu yang sesuai.

Fungsi ini tidak diaktifkan di beberapa menu.
Metode 1
- Jika Anda ingin menggunakan menu yang sesuai dengan topik e-Manual, tekan tombol merah untuk memilih Try Now (Coba Sekarang).
- Untuk kembali ke layar e-Manual, tekan tombol E-MANUAL.
Metode 2
- Tekan tombol ENTER
saat topik ditampilkan.
"Apakah Anda ingin menjalankan ini?" muncul.
Pilih Yes (Ya), lalu tekan tombol ENTER
. Jendela OSD muncul. - Untuk kembali ke layar e-Manual, tekan tombol E-MANUAL.
Melihat Isi

Area Isi: Berisi isi topik jika Anda memilih sub-menu. Untuk berpindah ke halaman sebelumnya atau berikutnya, tekan tombol
atau
.
Tombol Operasi:
Merah (Try Now (Coba Sekarang)): Menampilkan menu OSD yang sesuai dengan topik. Untuk kembali ke layar e-Manual, tekan tombol E-MANUAL.
Hijau (Home (Beranda)): Berpindah ke layar beranda e-Manual.
Kuning (Zoom): Memperbesar layar.
Biru (Index (Indeks)): Menampilkan layar Indeks.

(Halaman): Berpindah ke halaman sebelumnya atau berikutnya.
(Exit (Keluar)): Keluar dari e-Manual.
Menggunakan mode Zoom
Saat Anda melihat halaman instruksi e-Manual, tekan tombol ENTER
untuk memperbesar layar. Anda dapat menggulir layar yang diperbesar dengan menggunakan tombol
atau
.
Untuk kembali ke layar dengan ukuran normal, tekan tombol RETURN (Kembali).

Cara mencari topik di halaman indeks
- Untuk mencari topik, tekan tombol panah kiri atau kanan untuk memilih huruf. Indeks menampilkan daftar topik dan kata kunci yang dimulai dengan huruf yang Anda pilih.
- Tekan tombol panah atas atau bawah untuk memilih topik atau kata kunci yang Anda inginkan, lalu tekan tombol ENTER
untuk memilih topik yang ingin Anda lihat. - Halaman e-Manual dengan topik tersebut muncul.
Untuk menutup layar Index (Indeks), tekan tombol RETURN (Kembali).
Memasang Dudukan Dinding
Pemasangan di Dinding atau Langit-Langit
Produk harus dipasang ke dinding atau langit-langit hanya seperti yang direkomendasikan oleh pabrikan. Kecuali jika dipasang dengan benar, produk dapat tergelincir atau jatuh, menyebabkan cedera serius pada anak atau orang dewasa, dan kerusakan serius pada produk.
Memasang Kit Dudukan Dinding
Kit dudukan dinding (dijual terpisah) memungkinkan Anda memasang TV di dinding.
Untuk informasi detail tentang pemasangan dudukan dinding, lihat instruksi yang disertakan dengan dudukan dinding. Hubungi teknisi untuk bantuan saat memasang braket dudukan dinding. Samsung Electronics tidak bertanggung jawab atas kerusakan apa pun pada produk atau cedera pada diri Anda atau orang lain jika Anda memilih untuk memasang TV sendiri.
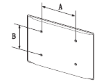
Spesifikasi Kit Dudukan Dinding (VESA)
Kit dudukan dinding tidak disertakan, tetapi dijual terpisah.
Pasang dudukan dinding Anda di dinding padat yang tegak lurus terhadap lantai. Saat memasang ke bahan bangunan lain, harap hubungi dealer terdekat Anda. Jika dipasang di langit-langit atau dinding miring, dapat jatuh dan mengakibatkan cedera pribadi yang parah.
CATATAN
- Dimensi standar untuk kit dudukan dinding ditunjukkan pada tabel di bawah ini.
- Saat membeli kit dudukan dinding kami, manual pemasangan terperinci dan semua bagian yang diperlukan untuk perakitan disediakan.
- Jangan gunakan sekrup yang tidak sesuai dengan spesifikasi sekrup standar VESA.
- Jangan gunakan sekrup yang lebih panjang dari dimensi standar atau tidak sesuai dengan spesifikasi sekrup standar VESA. Sekrup yang terlalu panjang dapat menyebabkan kerusakan pada bagian dalam perangkat TV.
- Untuk dudukan dinding yang tidak sesuai dengan spesifikasi sekrup standar VESA, panjang sekrup dapat berbeda tergantung pada spesifikasi dudukan dinding.
- Jangan kencangkan sekrup terlalu kuat; ini dapat merusak produk atau menyebabkan produk jatuh, yang menyebabkan cedera pribadi. Samsung tidak bertanggung jawab atas kecelakaan semacam ini.
- Samsung tidak bertanggung jawab atas kerusakan produk atau cedera pribadi saat dudukan dinding non-VESA atau tidak ditentukan digunakan atau konsumen gagal mengikuti instruksi pemasangan produk.
- Jangan memasang TV dengan kemiringan lebih dari 15 derajat.
- Selalu gunakan dua orang untuk memasang TV ke dinding.
| Rangkaian Produk | inci | Spesifikasi VESA. (A * B) | Sekrup Standar | Kuantitas | |
| LED-TV | 19~22 | 75 X 75 | M4 | 4 | |
| 26 | 100 X 100 | ||||
| 32~40 | 200 X 200 | M6 | |||
| 46~60 | 400 X 400 | M8 |
Lepaskan sekrup di lubang pemasangan sebelum Anda memasang dudukan dinding.
Jangan pasang Kit Dudukan Dinding Anda saat TV Anda dihidupkan. Hal ini dapat mengakibatkan cedera pribadi karena sengatan listrik.
Pemecahan Masalah
Jika TV tampaknya memiliki masalah, pertama-tama coba daftar kemungkinan masalah dan solusinya ini. Jika tidak ada tips pemecahan masalah ini yang berlaku, kunjungi "www.samsung.com," lalu klik Dukungan, atau hubungi layanan pelanggan Samsung.
| Masalah | Solusi dan Penjelasan |
TV tidak mau menyala |
|
Tidak ada gambar/video |
|
Remote control tidak berfungsi |
|
| Remote control kabel/set top box tidak menghidupkan atau mematikan TV, atau menyesuaikan volume. |
|
Anda dapat menjaga TV Anda dalam kondisi optimal dengan meningkatkan firmware terbaru di situs web (samsung.com → Dukungan → Unduhan) melalui USB.
Panel TFT LED ini menggunakan panel yang terdiri dari sub piksel yang membutuhkan teknologi canggih untuk diproduksi. Namun, mungkin ada beberapa piksel terang atau gelap di layar. Piksel ini tidak akan berdampak pada kinerja produk.
Lisensi

Daftar Fitur
- Media Play: Memungkinkan Anda memutar file musik, gambar, dan film yang disimpan di perangkat USB.
Mengamankan TV ke Dinding
| Menarik, mendorong, atau memanjat TV dapat menyebabkan TV jatuh. Secara khusus, pastikan anak-anak Anda tidak menggantung atau membuat TV tidak stabil; melakukan hal itu dapat menyebabkan TV terbalik, yang mengakibatkan cedera serius atau kematian. Ikuti semua tindakan pencegahan keselamatan yang disediakan pada Selebaran Keselamatan yang disertakan. Untuk stabilitas tambahan, pasang perangkat anti-jatuh untuk tujuan keselamatan, sebagai berikut. |
Untuk menghindari TV jatuh

- Masukkan sekrup ke dalam klem dan kencangkan dengan kuat ke dinding. Konfirmasikan bahwa sekrup telah dipasang dengan kuat ke dinding.
Anda mungkin memerlukan bahan tambahan seperti jangkar tergantung pada jenis dinding.
Karena klem, sekrup, dan tali yang diperlukan tidak disertakan, harap beli ini secara tambahan. - Lepaskan sekrup dari bagian tengah belakang TV, masukkan sekrup ke dalam klem, dan kemudian kencangkan sekrup ke TV lagi.
Sekrup mungkin tidak disertakan dengan produk. Dalam hal ini, harap beli sekrup dengan spesifikasi berikut.
Spesifikasi Sekrup - Untuk TV LED 32 ~ 40 inci: M6
- Untuk TV LED 46 inci: M8
- Hubungkan klem yang dipasang pada TV dan klem yang dipasang pada dinding dengan tali yang kuat dan kemudian ikat tali dengan erat.
CATATAN
- Pasang TV dekat dengan dinding sehingga tidak jatuh ke belakang.
- Aman untuk menghubungkan tali sehingga klem yang dipasang di dinding sama dengan atau lebih rendah dari klem yang dipasang di TV.
- Lepaskan tali sebelum memindahkan TV.
- Verifikasi semua koneksi terpasang dengan benar. Periksa secara berkala koneksi untuk setiap tanda kelelahan karena kegagalan. Jika Anda memiliki keraguan tentang keamanan koneksi Anda, hubungi pemasang profesional.
Penyimpanan dan Pemeliharaan
Jika Anda menempelkan beberapa stiker di layar TV, akan ada beberapa residu setelah melepas stiker. Harap bersihkan untuk menonton TV.
Bagian luar dan layar produk dapat tergores selama pembersihan. Pastikan untuk menyeka bagian luar dan layar dengan hati-hati menggunakan kain lembut untuk mencegah goresan.

Jangan menyemprotkan air langsung ke produk. Cairan apa pun yang masuk ke dalam produk dapat menyebabkan kegagalan, kebakaran, atau sengatan listrik.

Bersihkan produk dengan kain lembut yang dibasahi dengan sedikit air. Jangan gunakan cairan yang mudah terbakar (misalnya, benzena, pengencer) atau bahan pembersih.
Spesifikasi
| Pertimbangan Lingkungan | ||
| Suhu Operasi | 50°F hingga 104°F (10°C hingga 40°C) | |
| Kelembaban Operasi | 10% hingga 80%, non-kondensasi | |
| Suhu Penyimpanan | -4°F hingga 113°F (-20°C hingga 45°C) | |
| Kelembaban Penyimpanan | 5% hingga 95%, non-kondensasi | |
| Nama Model | UN32EH4003 | UN39EH5003 |
| Resolusi Layar | 1366 X 768 | 1920 X 1080 |
| Ukuran Layar | 32 inci | 39 inci |
| Suara (Output) | 5W x 2 | 10W x 2 |
| Dimensi (LxTxD) | ||
| Badan | 738.4 X 444.0 X 93.2 (mm) | 895.9 X 532.5 X 93.2 (mm) |
| Dengan dudukan | 738.4 X 497.7 X 191.7 (mm) | 895.9 X 589.3 X 227.6 (mm) |
| Berat | ||
| Tanpa Dudukan | 5.4 kg | 7.8 kg |
| Dengan Dudukan | 6.0 kg | 9.8 kg |
Desain dan spesifikasi dapat berubah tanpa pemberitahuan sebelumnya.
Untuk informasi tentang catu daya, dan lebih banyak tentang konsumsi daya, lihat label yang terpasang pada produk.
Format Video yang Didukung
| Ekstensi File | Kontainer | Codec Video | Resolusi | Frame rate (fps) | Bit rate (Mbps) | Codec Audio |
| *.avi *.mkv *.asf *.wmv *.mp4 *.3gp *.vro *.mpg *.mpeg *.ts *.tp *.trp *.mov *.flv *.vob *.svi *.divx | AVI MKV ASF MP4 3GP VRO VOB PS TS | DivX 3.11/4.x/5.x/6.x | 1920 x 1080 | 6~30 | 30 | AC3 LPCM ADPCM (IMA, MS) AAC HE-AAC WMA DD+ MPEG(MP3) DTS Core G.711 (A-Law, μ-Law) |
| MPEG4 SP/ASP | ||||||
| H.264 BP/MP/HP | ||||||
| Motion JPEG | 640 x 480 | 8 | ||||
| Window Media Video v9 | 1920 x 1080 | 30 | ||||
| MPEG2 | ||||||
| MPEG1 |
Informasi Garansi Penting Mengenai Tampilan Format Televisi
Gambar dan ilustrasi dalam Panduan Pengguna ini disediakan hanya untuk referensi dan mungkin berbeda dari tampilan produk sebenarnya. Desain dan spesifikasi produk dapat diubah tanpa pemberitahuan.
Lihat kartu garansi untuk informasi lebih lanjut tentang ketentuan garansi.
Tampilan LED format layar lebar (16:9, rasio aspek lebar layar terhadap tinggi) terutama dirancang untuk melihat video gerak penuh format layar lebar. Gambar yang ditampilkan di dalamnya harus terutama dalam format rasio layar lebar 16:9, atau diperluas untuk memenuhi layar jika model Anda menawarkan fitur ini dan gambar terus bergerak. Menampilkan grafik dan gambar statis di layar, seperti bilah sisi gelap pada video dan program televisi format standar yang tidak diperluas, harus dibatasi tidak lebih dari 5% dari total tampilan televisi per minggu.
Selain itu, melihat gambar dan teks statis lainnya seperti laporan pasar saham, tampilan video game, logo stasiun, situs web atau grafik dan pola komputer, harus dibatasi seperti yang dijelaskan di atas untuk semua televisi. Menampilkan gambar statis yang melebihi pedoman di atas dapat menyebabkan penuaan yang tidak merata pada Tampilan LED yang meninggalkan gambar hantu yang terbakar secara halus tetapi permanen pada gambar LED. Untuk menghindari hal ini, variasikan program dan gambar, dan terutama tampilkan gambar bergerak layar penuh, bukan pola statis atau bilah gelap. Pada model LED yang menawarkan fitur ukuran gambar, gunakan kontrol ini untuk melihat format yang berbeda sebagai gambar layar penuh.
Berhati-hatilah dalam pemilihan dan durasi format televisi yang digunakan untuk menonton. Penuaan LED yang tidak merata sebagai akibat dari pemilihan dan penggunaan format, serta gambar yang terbakar, tidak tercakup dalam garansi terbatas Samsung Anda.

Referensi
Unduh manual
Di sini Anda dapat mengunduh versi pdf lengkap manual, mungkin berisi instruksi keselamatan tambahan, informasi garansi, aturan FCC, dll.
Unduh Samsung UN39EH5003, UN32EH4003 - 4003, 5003 Series LED TV Manual

