Danby DWC040D2BSSDB - Manuale della Cantinetta Vino a Libera Installazione da 38 Bottiglie

INFORMAZIONI IMPORTANTI SULLA SICUREZZA
LEGGERE E SEGUIRE TUTTE LE ISTRUZIONI DI SICUREZZA
REQUISITI DI SICUREZZA
Rischio di incendio o esplosione. Viene utilizzato refrigerante infiammabile. Non perforare i tubi del refrigerante.
- Non utilizzare dispositivi meccanici per sbrinare il frigorifero.
- Assicurarsi che la manutenzione sia eseguita da personale di assistenza autorizzato dalla fabbrica, per minimizzare danni al prodotto o problemi di sicurezza.
- Consultare il manuale di riparazione o la guida per l'utente prima di tentare di riparare questo prodotto. Tutte le precauzioni di sicurezza devono essere seguite.
- Smaltire correttamente in conformità con le normative federali o locali.
- Seguire attentamente le istruzioni per la manipolazione.
Mantenere le aperture di ventilazione, nell'alloggiamento dell'apparecchio o nella struttura incassata, libere da ostruzioni.
Non utilizzare dispositivi meccanici o altri mezzi per accelerare il processo di sbrinamento, diversi da quelli raccomandati dal produttore.
Non danneggiare il circuito del refrigerante.
Non utilizzare apparecchi elettrici all'interno dei vani di conservazione degli alimenti dell'apparecchio, a meno che non siano del tipo raccomandato dal produttore.
I bambini devono essere sorvegliati per assicurarsi che non giochino con l'apparecchio.
Rischio di intrappolamento per i bambini. Prima di gettare un vecchio apparecchio:
- Rimuovere la porta o il coperchio.
- Lasciare i ripiani al loro posto in modo che i bambini non possano arrampicarsi facilmente all'interno.
Questo apparecchio è destinato all'uso domestico e ad applicazioni simili come:
- Aree cucina per il personale in negozi, uffici e altri ambienti di lavoro;
- Case coloniche e da clienti in hotel, motel e altri ambienti di tipo residenziale;
- Ambienti tipo bed and breakfast;
- Catering e applicazioni simili non al dettaglio.
Questo apparecchio non è destinato all'uso da parte di persone (compresi i bambini) con capacità fisiche, sensoriali o mentali diverse o ridotte, o che mancano di esperienza o conoscenza, a meno che tali persone non ricevano supervisione o formazione per l'utilizzo dell'apparecchio da una persona responsabile della loro sicurezza.
Non conservare sostanze esplosive come bombolette spray con propellente infiammabile in questo apparecchio.
ISTRUZIONI PER LA MESSA A TERRA
Questo apparecchio deve essere messo a terra. La messa a terra riduce il rischio di scossa elettrica fornendo un cavo di dispersione per la corrente elettrica.
Questo apparecchio è dotato di un cavo con un filo di messa a terra e una spina a 3 poli. Il cavo di alimentazione deve essere collegato a una presa correttamente messa a terra. Se la presa a muro è a 2 poli, deve essere sostituita con una presa a muro a 3 poli correttamente messa a terra. La targhetta di classificazione seriale indica la tensione e la frequenza per cui l'apparecchio è progettato.
L'uso improprio della spina di messa a terra può comportare il rischio di scossa elettrica. Consultare un elettricista qualificato o un agente di servizio se le istruzioni di messa a terra non sono completamente comprese, o se sussiste un dubbio sulla corretta messa a terra dell'apparecchio.
Non collegare l'apparecchio a prolunghe o insieme a un altro apparecchio nella stessa presa a muro. Non giuntare il cavo di alimentazione. Non tagliare o rimuovere in nessun caso il terzo polo di messa a terra dal cavo di alimentazione. Non utilizzare prolunghe o adattatori non messi a terra (a due poli).
Se il cavo di alimentazione è danneggiato, deve essere sostituito dal produttore, dal suo agente di servizio o da una persona qualificata simile al fine di evitare pericoli.
ISTRUZIONI PER L'INSTALLAZIONE
POSIZIONAMENTO
- Quando si sposta l'apparecchio, dovrebbero essere usate due persone.
- Rimuovere l'imballaggio interno ed esterno prima dell'installazione. Pulire l'esterno dell'apparecchio con un panno morbido e asciutto e l'interno con un panno umido tiepido.
- Posizionare l'apparecchio su un pavimento sufficientemente robusto da sostenerlo quando è completamente carico.
- Non posizionare l'apparecchio alla luce solare diretta o vicino a fonti di calore, come una stufa o un riscaldatore, poiché ciò può aumentare il consumo elettrico. Temperature ambiente estremamente fredde possono anche causare un malfunzionamento dell'apparecchio.
- Non utilizzare l'apparecchio vicino all'acqua, ad esempio in un seminterrato umido o vicino a un lavello.
- Questo apparecchio è destinato esclusivamente all'uso domestico. Non è progettato per l'installazione esterna, inclusi luoghi non a temperatura controllata (garage, portici, veicoli, ecc.).
- Prima di collegare l'apparecchio a una fonte di alimentazione, lasciarlo in posizione verticale per circa 6 ore. Ciò ridurrà la possibilità di un malfunzionamento del sistema di raffreddamento dovuto alla manipolazione durante il trasporto.
- Questo apparecchio è largo 19,4 pollici (49,3 cm), alto 33,1 pollici (84,1 cm) e profondo 24,9 pollici (63,3 cm). Assicurarsi di lasciare lo spazio minimo tra l'apparecchio e tutte le pareti e le aperture di ventilazione circostanti.
- Lasciare 5 pollici (12,7 cm) di spazio tra la parte posteriore, i lati e la parte superiore dell'apparecchio e tutte le pareti adiacenti.
- Questo apparecchio è destinato esclusivamente all'installazione a libera posizione e non è destinato ad essere incassato in un armadio o in un bancone. L'incasso di questo apparecchio può causarne il malfunzionamento.
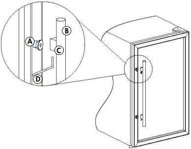
INSTALLAZIONE DELLA MANIGLIA DELLA PORTA
La maniglia della porta non è pre-attaccata all'apparecchio, viene spedita separatamente per proteggerla da danni e deve essere installata dall'utente finale.
Se l'apparecchio viene posizionato sul retro o su un lato per un qualsiasi periodo di tempo durante questo processo, deve essere lasciato in posizione verticale per 6 ore prima di collegarlo per evitare danni ai componenti interni.

- Perno di montaggio
- Maniglia della porta
- Vite di fermo
- Chiave esagonale
- Rimuovere la maniglia della porta e la chiave esagonale dalla borsa degli accessori all'interno dell'apparecchio.
- Posizionare la maniglia sui perni di montaggio all'esterno della porta. Le viti di fermo sono preinstallate nella maniglia. Le viti di fermo devono essere rivolte verso il basso quando installate correttamente. Ci sono due viti di fermo extra nella borsa degli accessori.
- Spingere saldamente la maniglia della porta contro la porta.
- Inserire l'estremità corta della chiave esagonale nella vite di fermo e stringere di 1/4 di giro oltre il punto di serraggio. La vite di fermo non sarà incassata nella maniglia.
- Ripetere il passaggio 4 per l'altra vite di fermo.
- Conservare la chiave esagonale e le istruzioni di installazione per un uso futuro.
ISTRUZIONI PER L'INVERSIONE DELLA PORTA
Se l'apparecchio viene posizionato sul retro o su un lato per un qualsiasi periodo di tempo durante questo processo, deve essere lasciato in posizione verticale per 6 ore prima di collegarlo per evitare danni ai componenti interni.
- Rimuovere le due viti che fissano il coperchio della cerniera e rimuovere il coperchio della cerniera.
![]()
- Rimuovere le tre viti che fissano la cerniera superiore e rimuovere la cerniera superiore. Rimuovere la porta dal telaio.
![]()
- Rimuovere i tappi dei fori dal lato sinistro del telaio e posizionarli nei fori delle viti sul lato destro del telaio.
![]()
- Rimuovere il piedino solido dal lato sinistro del telaio e rimuovere le tre viti che fissano la cerniera inferiore sul lato destro del telaio. Installare il piedino solido sul lato destro del telaio e la cerniera inferiore sul lato sinistro del telaio.
![]()
- Prima di reinstallare la porta, rimuovere le due viti che fissano l'attuatore alla parte inferiore della porta. Capovolgere la porta di 180° rispetto alla sua posizione originale e utilizzare due viti per reinstallare l'attuatore. I fori delle viti possono essere trovati tirando delicatamente indietro la guarnizione in gomma. S
![]()
- Installare la porta sulla cerniera inferiore e poi installare la cerniera superiore sul lato sinistro del telaio. Prima di stringere le viti nella cerniera superiore, assicurarsi che la parte superiore della porta sia correttamente allineata con la parte superiore dell'armadio e che la guarnizione in gomma sigilli bene tutto intorno all'armadio. Utilizzare due viti per installare il coperchio della cerniera.
![]()
- Coprivite in Gomma
- Viti
- Coperchio Cerniera
- Cerniera Superiore
- Tappi per Fori
- Cerniera Inferiore
- Piedino Solido
- Attuatore
ISTRUZIONI PER L'USO
CARATTERISTICHE

- Tempered Glass Door: Vetro UV colorato utilizzato per riflettere e assorbire il calore.
- Magnetic Door Gaskets: Guarnizioni aderenti che trattengono tutta la potenza di raffreddamento e i livelli di umidità.
- Electronic Display and Controls: Per visualizzare e regolare la temperatura del refrigeratore per vini.
- Shelves: Ripiani in filo metallico nero con finiture in legno.
- Handle Maniglia
- Leveling Legs: Regolabili per livellare l'apparecchio.
ISTRUZIONI DI LIVELLAMENTO
Ci sono due piedini regolabili sul fondo dell'apparecchio che possono essere girati in su o in giù per assicurarsi che l'apparecchio sia in piano.
- Girare i piedini livellatori in senso antiorario finché la parte superiore dei piedini non tocca la parte inferiore del mobile.
- Girare lentamente i piedini livellatori in senso orario finché l'apparecchio non è in piano.
PANNELLO DI CONTROLLO

- Power Button: Premere una volta per accendere l'apparecchio. Tenere premuto per 3 secondi per spegnere l'apparecchio.
- Light Button: Controlla la luce interna.
- Power Light: Si illumina per indicare che la modalità di raffreddamento è in funzione.
- Upper Display: Mostra la temperatura nella zona superiore.
- Lower Display: Mostra la temperatura nella zona inferiore.
- °C / °F indicator: L'indicatore adiacente si illumina per mostrare quale scala di temperatura è visualizzata.
- Upper Temperature Button: Utilizzato per impostare la temperatura nella zona superiore.
- Lower Temperature Button: Utilizzato per impostare la temperatura nella zona inferiore.
LUCE INTERNA
La luce interna si accenderà e spegnerà per impostazione predefinita quando la porta viene aperta o chiusa.
Premere il pulsante della luce una volta per spegnere la luce mentre la porta è aperta. La luce riprenderà il funzionamento predefinito quando la porta è chiusa.
Premere il pulsante della luce due volte per impostare la luce su illuminazione continua. La luce rimarrà accesa quando la porta viene aperta e chiusa.
Quando la luce è impostata su illuminazione continua, premere il pulsante della luce una volta per tornare al funzionamento predefinito.
ISTRUZIONI DI FUNZIONAMENTO
L'impostazione predefinita della temperatura è 54°F (12°C). La scala di temperatura predefinita è °F.
Per alternare la visualizzazione tra °F e °C, premere contemporaneamente i pulsanti Su e Giù per circa 3-5 secondi.
L'intervallo di temperatura può essere impostato a un minimo di 41°F (5°C) o a un massimo di 64°F (18°C).
La temperatura effettiva all'interno dell'apparecchio può variare in base alla temperatura ambiente, alla frequenza di apertura della porta e al numero di bottiglie calde aggiunte di recente all'apparecchio.
Ogni pressione dei pulsanti Su e Giù regolerà la temperatura con incrementi di 1°.
Door Ajar Alarm: Se la porta non viene chiusa completamente per 5 minuti, suonerà un allarme. Chiudere la porta per silenziare l'allarme.
Se la porta è chiusa e l'allarme continua a suonare, verificare che l'attuatore nella parte inferiore della porta sia a contatto con l'interruttore sull'apparecchio.
Temperature Memory: Se l'apparecchio perde alimentazione, il pannello di controllo ricorderà la temperatura impostata. Una volta ripristinata l'alimentazione, l'apparecchio tornerà automaticamente al normale funzionamento.
Temperature Alarm: Se la temperatura interna dell'armadietto è superiore a 73°F (23°C), il codice di errore "HI" (Alto) apparirà sul display e suonerà un allarme.
Se la temperatura interna dell'armadietto è inferiore a 32°F (0°C), il codice di errore "LO" (Basso) apparirà sul display e suonerà un allarme.
Se la temperatura interna dell'armadietto rimane a 32°F (0°C) per più di 30 minuti, il codice di errore "CL" (Chiusura) apparirà sul display e suonerà un allarme. L'apparecchio smetterà di funzionare per evitare che il contenuto si congeli.
ISTRUZIONI DI STOCCAGGIO
La capacità massima di questo apparecchio è di 38 bottiglie di vino da 750 ml.

Posizionare le bottiglie di vino alternativamente (testa-coda) su ciascuno dei 4 ripiani superiori. Ciò consentirà lo stoccaggio di 7 bottiglie per ripiano.

Posizionare 5 bottiglie di vino sui due ripiani inferiori.
ISTRUZIONI PER I RIPIANI
Non coprire i ripiani con fogli di alluminio o qualsiasi altro materiale, poiché ciò ostacolerebbe il flusso d'aria all'interno del mobile e potrebbe influire negativamente sulla temperatura interna dell'armadietto.
- Per rimuovere un ripiano, inclinare un lato verso l'alto e poi tirare verso l'esterno.
- Per riposizionare un ripiano, assicurarsi che sia appoggiato saldamente sulle staffe di supporto e quindi far scorrere il ripiano finché non si blocca in posizione.
CURA E MANUTENZIONE
PULIZIA
Assicurarsi che l'apparecchio sia scollegato prima della pulizia.
- Per pulire l'interno dell'apparecchio, utilizzare un panno morbido e una soluzione di un cucchiaio di bicarbonato di sodio per un litro d'acqua o una soluzione di sapone delicato o un detergente delicato.
- Lavare i ripiani rimovibili in una soluzione detergente delicata, quindi asciugare e pulire con un panno morbido.
- Pulire l'esterno con un panno morbido e umido e un detergente delicato.
- È importante mantenere pulita l'area in cui la porta sigilla contro il mobile. Pulire quest'area con un panno insaponato. Sciacquare con un panno umido e lasciare asciugare.
Nota: Non utilizzare detergenti contenenti ammoniaca o alcool sull'apparecchio. L'ammoniaca o l'alcool possono danneggiare l'aspetto dell'apparecchio. Non utilizzare mai detergenti commerciali o abrasivi o oggetti appuntiti su alcuna parte dell'apparecchio.
INTERRUZIONE DI CORRENTE
La maggior parte delle interruzioni di corrente viene risolta entro poche ore e non dovrebbe influire sulla temperatura dell'apparecchio se si riduce al minimo il numero di volte in cui la porta viene aperta. Se l'alimentazione dovesse mancare per un periodo di tempo più lungo, adottare le misure appropriate per proteggere il contenuto.
Nota: Attendere da 3 a 5 minuti prima di tentare di riavviare l'apparecchio se il funzionamento è stato interrotto.
CODICI DI ERRORE
Se i codici di errore "HI" (Alto), "LO" (Basso) o "CL" (Chiusura) appaiono sul display per più di 5 minuti, un ripristino dell'alimentazione potrebbe risolvere il problema. Scollegare l'apparecchio, attendere 5 minuti e quindi ricollegare l'unità. Se il codice di errore persiste dopo un ripristino dell'alimentazione, contattare l'assistenza clienti o un agente di servizio autorizzato.
SBRINAMENTO
Questa unità è dotata di una funzione di sbrinamento automatico e non richiede sbrinamento manuale. L'acqua di sbrinamento dell'apparecchio viene convogliata in una vaschetta di raccolta situata sopra il compressore. Il trasferimento di calore dal compressore provoca l'evaporazione dell'acqua di sbrinamento.
VACANZA
- Brevi vacanze: Lasciare l'apparecchio in funzione durante vacanze inferiori a tre settimane.
- Vacanze lunghe: Se l'apparecchio non verrà utilizzato per diversi mesi, rimuovere tutti gli elementi e spegnere l'apparecchio. Pulire e asciugare accuratamente l'interno. Per prevenire la formazione di odori e muffe, lasciare la porta leggermente aperta, bloccandola in posizione se necessario.
SPOSTAMENTO
- Assicurarsi che l'apparecchio sia vuoto.
- Fissare i ripiani con del nastro adesivo.
- Fissare la porta con del nastro adesivo.
- Girare il piedino regolabile verso l'alto fino alla base per evitare danni.
- Proteggere l'esterno dell'apparecchio con una coperta o un oggetto simile.
- Assicurarsi che l'apparecchio rimanga in posizione verticale durante il trasporto.
- Se l'apparecchio viene posizionato sul retro o sul lato durante il trasporto, una volta raggiunta la destinazione, lasciarlo in posizione verticale per 6 ore prima di collegarlo per evitare danni ai componenti interni.
SMALTIMENTO
Questo apparecchio non deve essere trattato come normale rifiuto domestico, ma deve essere portato al punto di raccolta rifiuti appropriato per il riciclaggio dei componenti elettrici. Per informazioni sui punti di raccolta rifiuti locali, contattare l'agenzia di smaltimento rifiuti locale o l'ufficio governativo.
RISOLUZIONE DEI PROBLEMI
Assistenza Clienti Danby: 1-800-263-2629
Orari di apertura: Dal lunedì al giovedì 8:30 - 18:00 Ora Standard Orientale
Venerdì 8:30 - 16:00 Ora Standard Orientale
Le informazioni contenute in questo manuale sono soggette a modifiche senza preavviso.
| PROBLEMA | POSSIBILE CAUSA |
Nessuna alimentazione |
|
Temperatura interna non sufficientemente freddaL'apparecchio funziona continuamenteAllarme e "HI" sul pannello del display |
|
Condensa sull'armadietto o sulla porta |
|
| Allarme e "LO" o "CL" sul pannello del display |
|
DANBY PRODUCTS LIMITED, ONTARIO, CANADA N1H 6Z9
DANBY PRODUCTS INC., FINDLAY, OHIO, USA 45840

Riferimenti
Scarica manuale
Qui puoi scaricare la versione completa in PDF del manuale, può contenere ulteriori istruzioni di sicurezza, informazioni sulla garanzia, regole FCC, ecc.
Scarica Danby DWC040D2BSSDB - Manuale della Cantinetta Vino a Libera Installazione da 38 Bottiglie






