Manuale di Logitech S120
Contenuti

CONOSCI IL TUO PRODOTTO

COLLEGARE L'UNITÀ
- Collegare la spina di alimentazione a una presa elettrica
![]()
- Collegare il connettore da 3,5 mm all'ingresso da 3,5 mm (jack per cuffie) del dispositivo per l'audio
![]()
- (Opzionale) Collegare le cuffie al jack per cuffie sul lato dell'altoparlante destro
![]()
- Accendere (o spegnere) l'altoparlante utilizzando la manopola di accensione e volume sul lato dell'altoparlante destro
![]()
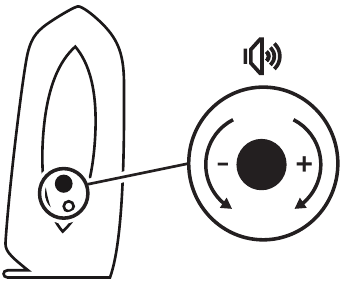
REGOLARE IL VOLUME

Aumentare (o diminuire) il volume degli altoparlanti ruotando la manopola di controllo in senso orario (o antiorario) sul lato dell'altoparlante destro
www.logitech.com/support/S120
Scarica manuale
Qui puoi scaricare la versione completa in PDF del manuale, può contenere ulteriori istruzioni di sicurezza, informazioni sulla garanzia, regole FCC, ecc.
Scarica Manuale di Logitech S120



