Somogyi Elektronic DBP 03 - Қоңырау нұсқаулығы

ЖАЛПЫ ШОЛУ

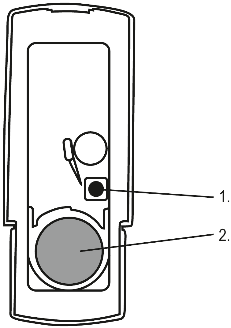
- саз таңдағышы
- түйме қуат көзі
Сымсыз қоңырау түймесі ескі зақымдалған, дұрыс жұмыс істемейтін қашықтан басқару қосқыштарын алмастыра алады, жаңа кіреберістерге орналастырылуы мүмкін немесе ескі немесе мүгедек адамдардың жанындағы қоңырауды да іске қосатын пейджер ретінде пайдаланылуы мүмкін.
Жоғалған, сынған түймелерді ауыстыру үшін
- адам шақыру функциясы
- өзгермелі дыбыстық сигнал
- ұқсас түрлермен бірнеше рет қоңырау шалудың болмауы
- жұмыс жиілігі: 433,9 MHz
- 256 түрлі цифрлық код
- ашық жердегі қашықтық: 200 м
- 16 цифрлық арна – 8 түрлі әуен
- қуат көзі: түйме: 1 x 3 V (CR 2032) батареясы (жинақта бар)
ОРНАТУ
Бұйымның төменгі жағындағы саңылаудағы құлыптау тілін басу үшін бұрағышты пайдаланыңыз, содан кейін артқы қақпақты алыңыз.
Батарея мен батарея қосқышы арасындағы пластикалық оқшаулағыш парағын алыңыз.
Батареяның жанында орналасқан түймені басу арқылы 8 түрлі әуеннен ойнатылатын әуенді таңдауға болады.
Қоңырау түймесін бұрандаларды пайдаланып орнатқыңыз келсе, артқы қақпақты қайта қоймас бұрын, бұрандаларға арналған жұқартылған бөліктерді сындырыңыз.
Атау тақтасын орналастыру: қоңырау түймесінің төменгі жағындағы мөлдір қақпақты бұрыштардағы жалпақ затты пайдаланып алыңыз. Салма тақтасына қажетті мәтінді жазыңыз, содан кейін қақпақты қайта салыңыз.
Егер қашықтық қысқарса, батареяны ауыстырыңыз!
Қоңырау түймесін тігінен, атау тақтасы төмен жағында орнату керек!
Ауа райына төзімді конструкция, бірақ сыртқа орналастырғанда жаңбырдан қорғауды қамтамасыз ету ұсынылады.
ҚОҢЫРАУ ТҮЙМЕСІН ТІРКЕУ, ҚОҢЫРАУ ӘУЕНІН ӨЗГЕРТУ
Құрылғыны орнатқан кезде, алдымен қоңырау түймесінің қуат көзін қамтамасыз етіңіз (жоғарыда айтылғандай) және содан кейін ғана ішкі блокты қамтамасыз етіңіз.
Ішкі блокты іске қосқанда (жоғарыдағыдай) құрылғы екі қысқа дыбыстық сигнал шығарады, бұл құрылғының қоңырау түймесінің сигналын қабылдауға дайын екенін білдіреді.
Тіркегіңіз келетін қоңырау түймесін бір рет басыңыз, енді ішкі блок дыбыс шығарады және құрылғыны жадына сақтайды.
Егер сіз бірнеше қоңырау түймесін пайдаланғыңыз келсе, жоғарыдағы тізбекті келесі құрылғымен қайталаңыз (2 минут ішінде). Тіркелуі мүмкін қоңырау түймелерінің максималды санын қабылдағыш блок анықтайды.
Құрылғы 256 ықтимал цифрлық кодты қабылдайды, олардың ішінен кездейсоқ біреуін таңдайды және осылайша маңайдағы ұқсас қоңырау түймелерінің түрлерімен ешқандай кедергі болмайтынына кепілдік береді.
Егер қандай да бір себептермен құрылғыны қайта бағдарламалау қажет болса, екі блоктың да батареясын алыңыз, 15 секунд күтіңіз және тіркеу процедурасын қайталаңыз. (Бұл кезде құрылғы автоматты түрде өзі үшін басқа код жасайды)
Құрылғыны 8 түрлі әуенмен орнатуға болады. Сыртқы блоктың батареяларының жанында орналасқан қара түйме арқылы қоңырау әуенін өзгертуге болады. Әрбір қосылған сыртқы блокта әртүрлі қоңырау әуені болуы мүмкін.
ТАЗАЛАУ
Жұмсақ, құрғақ шүберекті пайдаланыңыз. Агрессивті тазалағыштар мен сұйықтықтарды пайдаланбаңыз!
ЕСКЕРТУЛЕР
- Қабырғалар мен металл заттар қашықтықты қысқартуы мүмкін және оның жұмысына кедергі келтіруі мүмкін (металл қоршау, есік, қақпа...), сонымен қатар радиожиілікті пайдаланатын құрылғылар да солай істей алады (компьютер, микротолқынды пеш, теледидар...).
- Қоңырау түймесін металл есік жақтауына немесе басқа металл беттердің жанына орнатпаңыз!
- Салқын температурада батареялардың өнімділігі төмендейді, батареяны жиі ауыстыру қажет болуы мүмкін!
- Негізгі қоңырау блогы тек үй ішінде пайдалануға арналған
- Сыртқы блокты суға батырмаңыз және оны қатты жаңбырға ұшыратпаңыз
- Құрылғының саңылаулары арқылы ешқандай зат немесе сұйықтық кірмеуін қадағалаңыз!
- Ешқашан құрылғыны бөлшектеуге тырыспаңыз, жөндеуді маманға қалдырыңыз!
- Абай болыңыз, құрылғыны түсіріп алмаңыз. Зақымдалған болса, одан әрі пайдалануға тыйым салынады!
- Батареяларды әрқашан балалардан аулақ ұстаңыз! Егер батарея жұтылып кетсе, дереу дәрігерге хабарласыңыз!
- Батареяны ауыстыруды тек ересек адам ғана жасай алады!
- Егер батареялар таусылса немесе құрылғы ұзақ уақыт бойы пайдаланылмаса, батареяларды дереу алыңыз!
- Егер олардан сұйықтық ағып кетсе, қорғаныс қолғаптарын киіңіз және құрғақ шүберекпен батарея бөлігін тазалаңыз!
- Батареяларды ашпаңыз, оларды отқа тастамаңыз немесе қысқа тұйықтамаңыз!
- Блокты шаңнан, ылғалдылықтан, сұйықтықтардан, ылғалдан, аяздан, соққыдан және тікелей ыстық пен күн сәулесінен қорғаңыз!
Құрылғыны бөлшектемеңіз немесе өзгертпеңіз, себебі бұл өртке, апатқа немесе электр тогының соғуына әкелуі мүмкін! Дұрыс орнатпау немесе пайдаланбау кепілдікті жарамсыз етеді.- Тұрақты дамуға байланысты техникалық деректер мен дизайн алдын ала ескертусіз де өзгеруі мүмкін.
- Біз басып шығару қателері үшін жауапкершілік алмаймыз және қандай да бір қателіктер болса, кешірім сұраймыз.
- R2 құрылғысы: қалыпты сенімділік SRD телекоммуникациялық жабдығы, мысалы, адамдарға басқа құрылғылармен оңай шешілмейтін қолайсыздықтар тудыруы мүмкін жабдық.
- Бұл радиожабдық 1999/5/EK директивасының негізгі талаптарына сәйкес келеді. Сәйкестік туралы ағымдағы декларация somogyi@somogyi.hu электрондық пошта мекенжайынан қол жетімді.

Нұсқаулықты жүктеп алу
Мұнда нұсқаулықтың толық pdf нұсқасын жүктеп алуға болады, онда қосымша қауіпсіздік нұсқаулары, кепілдік туралы ақпарат, FCC ережелері және т.б. болуы мүмкін.
Somogyi Elektronic DBP 03 - Қоңырау нұсқаулығы жүктеп алу