CHEFMAN Multifunctional Air Fryer+ RJ38-10-RDO-V2 Жылдам іске қосу нұсқаулығы
Мазмұны

БІРІНШІ ҚОЛДАНУ АЛДЫНДА
- Барлық орау материалдарын алып тастаңыз, барлық жапсырмаларды оқып шығып алып тастаңыз (құрылғыда қалуы тиіс рейтингтік жапсырмадан басқа) және барлық бөлшектер мен керек-жарақтардың есепке алынғанын тексеріңіз.
- Ішкі және сыртқы жағын дымқыл шүберекпен сүртіп, қолданар алдында толығымен құрғатыңыз.
- Керек-жарақтарды жылы, сабынды сумен жуып, толығымен құрғатыңыз. Барлық керек-жарақтар ыдыс жуғыш машинаның жоғарғы сөресінде жууға жарамды.
- Пайдаланушы нұсқаулығындағы нұсқауларды және қауіпсіздік туралы ақпаратты оқып шығыңыз.
ЕСКЕРТПЕ: Бірінші рет қолданғанда құрылғыдан аздап иіс шығуы мүмкін, бұл қалыпты жағдай және пайдалану барысында жойылады.
ТАЗАЛАУ ЖӘНЕ КҮТІМ
- Құрылғыны розеткадан ажыратыңыз және тазалау алдында толығымен суытыңыз.
- Сыртқы және ішкі жағын дымқыл шүберекпен немесе қағаз сүлгімен ақырын сүртіңіз. Air Fryer+-ді немесе оның штепселін ешқашан суға немесе басқа сұйықтыққа батырмаңыз. Air Fryer+-дің корпусы ыдыс жуғыш машинада жууға жарамсыз.
- Керек-жарақтарды губкамен және жылы, сабынды сумен жуыңыз. Абразивті тазартқыш заттарды немесе ысқылауға арналған төсеніштерді пайдаланбаңыз. Керек-жарақтарды ыдыс жуғыш машинаның жоғарғы сөресінде де жууға болады.
- Құрылғыны және керек-жарақтарды мұқият құрғатып, салқын, құрғақ жерде сақтаңыз.
Air Fryer+-ді ҚАЛАЙ ПАЙДАЛАНУ КЕРЕК
- Дәмделген тағамды сөреге(лерге), пісіру табасына, себетке немесе түкіргішке салыңыз.
Тамшы науасы құрылғының төменгі жағында болуын қамтамасыз етіңіз (егер оны пісірмесеңіз).
![Chefman - Air Fryer+ RJ38-10-RDO-V2 - 1-қадамды пайдалану 1-қадамды пайдалану]()
- Тағамды Air Fryer+-ге салып, есікті жабыңыз.
![Chefman - Air Fryer+ RJ38-10-RDO-V2 - 2-қадамды пайдалану 2-қадамды пайдалану]()
- Пісіру функциясын таңдаңыз: Пісіру (Bake), Ауада қуыру (Air Fry) немесе Сусыздандыру (Dehydrate).
Пісіру алдын ала орнатуларын пайдалану үшін пісіргіңіз келетін нәрсеге сәйкес келетін белгішені басыңыз. Әйтпесе, TEMP/TIME батырмасы мен плюс және минус белгілерін пайдаланып, қажетінше уақыт пен температураны реттеңіз.
START (Бастау) батырмасын басыңыз.
(Егер себетпен немесе түкіргішпен пісірсеңіз, START (Бастау) батырмасынан кейін Rotate (Айналдыру) батырмасын басыңыз.)
![Chefman - Air Fryer+ RJ38-10-RDO-V2 - 3-қадамды пайдалану 3-қадамды пайдалану]()
- Таймер аяқталғанда, тағамды абайлап алып тастаңыз, дайындығын тексеріңіз, беріңіз және ләззат алыңыз!
Пісіру кезінде құрылғы мен керек-жарақтар қызады. Жарақат алмау үшін духовка қолғаптарын және ілмек құралын пайдаланыңыз және ыстық заттарды ыстыққа төзімді бетке қойыңыз.
![Chefman - Air Fryer+ RJ38-10-RDO-V2 - 4-қадамды пайдалану 4-қадамды пайдалану]()
ЕРЕКШЕЛІКТЕРІ МЕН КЕРЕК-ЖАРАҚТАРЫ



- Сыйымдылықты сенсорлық басқару панелі
- Сөре ұстағыштары
- Айналмалы беріліс (көрсетілмеген)
- Айналмалы ұстағыш (көрсетілмеген)
- Көру терезесі бар есік
- Салқын жанасу тұтқасы
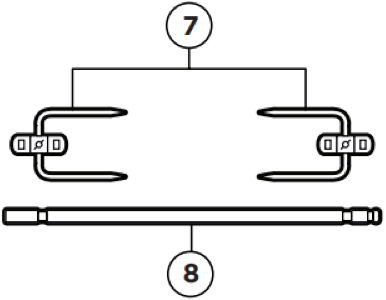
- Түкіргіш шанышқылары мен бұрандалары (әрқайсысынан 2)
- Айналмалы түкіргіш
- Айналмалы себет
- Сымды пісіру сөрелері (3)
- Алынбалы тамшы науасы/пісіру табасы
- Ілмек құралы
Сілтемелер
Нұсқаулықты жүктеп алу
Мұнда нұсқаулықтың толық pdf нұсқасын жүктеп алуға болады, онда қосымша қауіпсіздік нұсқаулары, кепілдік туралы ақпарат, FCC ережелері және т.б. болуы мүмкін.
CHEFMAN Multifunctional Air Fryer+ RJ38-10-RDO-V2 Жылдам іске қосу нұсқаулығы жүктеп алу





