BC MASTER True Wireless Earbuds BC-T105 нұсқаулығы
- 1 Пакет мазмұны
- 2 Өнім диаграммасы
- 3 Техникалық сипаттамалар
- 4 Жұмысты бастау
- 5 Қосу / Өшіру
- 6 Жұптастыру
- 7 Жұптастырудан кейін тұрақты пайдалану
- 8 Тек сол/оң жақ құлаққапты ғана пайдалану
- 9 Ескертпелер
- 10 Басқару элементтері және LED индикаторлары
- 11 Жиі қойылатын сұрақтар
- 12 Өнімге күтім жасау және пайдалану
- 13 Кепілдік және тұтынушыларды қолдау
- 14 CE мәлімдемесі
- 15 FCC МӘЛІМДЕМЕСІ
- 16 Сілтемелер
- 17 Нұсқаулықты жүктеп алу
- 18 Басқа тілдерде

Пакет мазмұны
- True Wireless Earbuds (Нағыз сымсыз құлаққаптар)
- Charging Case (Зарядтау құтысы)
- Үш жұп құлақ ұштары (S/M/L)
- USB-A to C Cable (USB-A - C кабелі)
- User Manual (Пайдаланушы нұсқаулығы)
- Quick Start Guide (Жылдам бастау нұсқаулығы)
- Warranty Card (Кепілдік талоны)
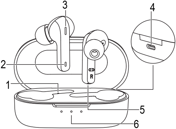
Өнім диаграммасы

- Charging Pins (Зарядтау түйреуіштері)
- LED Indicator (LED индикаторы)
- Touch-Sensitive Panel (Сенсорлық панель)
- USB-C Charging Input (USB-C зарядтау кірісі)
- Microphone (Микрофон)
- LED Battery Level Indicator (LED батарея деңгейінің индикаторы)
Техникалық сипаттамалар
Құлаққаптар
| Model (Модель) | BC-T05 |
| Technology (Технология) | BT5, A2DP, AVRCP, HFP, HSP |
| Driver (each channel) (Драйвер (әр арна үшін)) | 1x 7.2mm speaker driver (1x 7.2мм динамик драйвері) |
| Sensitivity (Сезімталдық) | 105 ± 3dB |
| Frequency Range (Жиілік диапазоны) | 20Hz – 20kHz |
| Impedance (Кедергі) | 16ohm ± 15% |
| Microphone Type (Микрофон түрі) | MEMS (microphone chip) (MEMS (микрофон чипі)) |
| Microphone Sensitivity (Микрофон сезімталдығы) | -19dB ± 4dB (at 1kHz) (-19dB ± 4dB (1кГц-те)) |
| Microphone Frequency Range (Микрофон жиілік диапазоны) | 300Hz – 3kHz |
| Charging Time (Зарядтау уақыты) | 1.5 hours (1.5 сағат) |
| Battery Life (Батареяның қызмет ету мерзімі) | Up to 5 hours (5 сағатқа дейін) |
| Battery Type (Батарея түрі) | Li-polymer (2 x 43mAh) (Li-polymer (2 x 43mAh)) |
| Operating Range (Жұмыс диапазоны) | 10m / 33ft (10м / 33 фут) |
| IP Rating (IP рейтингі) | IPX5 |
| Weight (Салмақ) | 7.16g (pair) (7.16г (жұп)) |
Зарядтау құтысы
| Charging Input (Зарядтау кірісі) | DC 5V |
| Charging Time (Зарядтау уақыты) | 2.5 hours (2.5 сағат) |
| Battery Type (Батарея түрі) | Li-polymer (600mAh) (Li-polymer (600mAh)) |
| Number of Earbuds Recharges (Құлаққаптарды қайта зарядтау саны) | 5 times (pair) (5 рет (жұп)) |
| Weight (Салмақ) | 33.28g |
Жұмысты бастау
Зарядтау
Алғашқы қолданар алдында зарядтау құтысын толық зарядтаңыз. Зарядтау үшін құтыны USB зарядтағышқа немесе кірістірілген USB-A - C кабелі арқылы зарядтау портына қосыңыз. Барлық 3 LED зарядтау индикаторы ақ болғанда, құты толық зарядталған болады. Зарядтау шамамен 2.5 сағатты алады; және толық зарядталғаннан кейін құты құлаққаптарды 5 рет толық зарядтай алады. Құлаққаптарды пайдаланбаған кезде құтыда сақтау керек.

Ескертпе: Алғаш рет пайдаланған кезде құлаққаптардан қорғаныш пленкасын алып тастаңыз.
Қосу / Өшіру
| Turn On (Қосу) | Remove both earbuds from the charging case, or touch and hold on the touch-sensitive panels on both earbuds for 2 seconds when they are turned off (Екі құлаққапты да зарядтау құтысынан алыңыз, немесе екі құлаққаптағы сенсорлық панельдерді өшірулі тұрғанда 2 секунд басып тұрыңыз) |
| Turn Off (Өшіру) | Return both earbuds to the charging case, or touch and hold on the touch-sensitive panels on both earbuds for 5 seconds when they are turned on (Екі құлаққапты да зарядтау құтысына қайтарыңыз, немесе екі құлаққаптағы сенсорлық панельдерді қосулы тұрғанда 5 секунд басып тұрыңыз) |
Жұптастыру
Құлаққаптар құтыда тұрғанда бастаңыз:
- Take the earbuds out of the case (Құлаққаптарды құтыдан алыңыз).
- Turn on the pairing function on the device you want to pair with the earbuds (Құлаққаптармен жұптастырғыңыз келетін құрылғыда жұптастыру функциясын қосыңыз)
- From the list of available devices, find and select "BC-T05" (Қолжетімді құрылғылар тізімінен "BC-T05" тауып, таңдаңыз)
- If a code or PIN is required for pairing, enter "0000" (Жұптастыру үшін код немесе PIN қажет болса, "0000" енгізіңіз)
Жұптастырудан кейін тұрақты пайдалану
Құлаққаптар құрылғыңызбен сәтті жұптастырылғаннан кейін, оларды келесідей қосуға және өшіруге болады:
- Take the earbuds out of the charging case, and they will turn on and connect with each other automatically (Құлаққаптарды зарядтау құтысынан алыңыз, сонда олар автоматты түрде қосылып, бір-бірімен байланысады)
- To power off, put the earbuds back in the charging case, and they will begin charging (Өшіру үшін құлаққаптарды зарядтау құтысына қайтарыңыз, сонда олар зарядтала бастайды)
Тек сол/оң жақ құлаққапты ғана пайдалану
Құлаққаптар құтыда тұрғанда бастаңыз:
- Take the left/right earbud out (Сол/оң жақ құлаққапты алыңыз)
- Turn on the pairing function on the device you want to pair with the earbud (Құлаққаппен жұптастырғыңыз келетін құрылғыда жұптастыру функциясын қосыңыз)
- From the list of available devices, find and select "BC-T05" (Қолжетімді құрылғылар тізімінен "BC-T05" тауып, таңдаңыз)
Ескертпелер
- When you turn on the earbuds, they will automatically reconnect to the last-paired device or enter pairing mode if no paired device is found (Құлаққаптарды қосқан кезде олар автоматты түрде соңғы жұпталған құрылғыға қайта қосылады немесе жұпталған құрылғы табылмаса, жұптастыру режиміне өтеді)
- To clear the pairing list, touch and hold the touch-sensitive panels on both earbuds for 10 seconds when they are in the changing case (Жұптастыру тізімін тазарту үшін, екі құлаққаптағы сенсорлық панельдерді зарядтау құтысында тұрғанда 10 секунд басып тұрыңыз)
- In pairing mode, the earbuds will automatically turn off after 5 minutes if no devices are paired (Жұптастыру режимінде құлаққаптар ешқандай құрылғы жұпталмаса, 5 минуттан кейін автоматты түрде өшеді)
- If one of the earbuds has no sound output, put both earbuds back in the charging case and take them out again (Егер құлаққаптардың бірінен дыбыс шықпаса, екі құлаққапты да зарядтау құтысына қайтарып, қайтадан алыңыз)
- The wireless operating range is 10m (33ft). If you exceed this range, the earbuds will disconnect from your paired device. The connection will be re-established if you re-enter the wireless range within 2 minutes. The earbuds will automatically reconnect to the last-paired device. To connect with other devices, repeat the previous pairing steps (Сымсыз жұмыс диапазоны 10м (33 фут). Егер сіз бұл диапазоннан асып кетсеңіз, құлаққаптар жұпталған құрылғыдан ажыратылады. Егер сіз 2 минут ішінде сымсыз диапазонға қайта кірсеңіз, қосылым қайта орнатылады. Құлаққаптар автоматты түрде соңғы жұпталған құрылғыға қайта қосылады. Басқа құрылғылармен қосылу үшін алдыңғы жұптастыру қадамдарын қайталаңыз)
Басқару элементтері және LED индикаторлары
Аудио ағыны
Жұптастырылғаннан кейін құрылғыңыздан құлаққаптарға сымсыз аудио ағынын жібере аласыз. Кіріс қоңырауды қабылдаған кезде музыка автоматты түрде тоқтайды және қоңырау аяқталғаннан кейін қайта басталады.
| Play or pause (Ойнату немесе кідірту) | Tap the touch-sensitive panel on either earbud (Кез келген құлаққаптағы сенсорлық панельді түртіңіз) |
| Skip to next track (Келесі трекке өту) | Double-tap the touch-sensitive panel on right earbud (Оң жақ құлаққаптағы сенсорлық панельді екі рет түртіңіз) |
| Skip to previous track (Алдыңғы трекке өту) | Double-tap the touch-sensitive panel on left earbud (Сол жақ құлаққаптағы сенсорлық панельді екі рет түртіңіз) |
| Answer or end a call (Қоңырауға жауап беру немесе аяқтау) | Double-tap the touch-sensitive panel on either earbud to answer or end a call (Қоңырауға жауап беру немесе аяқтау үшін кез келген құлаққаптағы сенсорлық панельді екі рет түртіңіз) |
| Reject an incoming call (Кіріс қоңырауды қабылдамау) | Touch and hold on the touch-sensitive panel on either earbud for 1 second (Кез келген құлаққаптағы сенсорлық панельді 1 секунд басып тұрыңыз) |
| Use Siri or other voice assistants (Siri немесе басқа дауыстық көмекшілерді пайдалану) | While your device is connected, triple-tap the touch-sensitive panel on either earbud (Құрылғыңыз қосылған кезде кез келген құлаққаптағы сенсорлық панельді үш рет түртіңіз) |
LED индикаторының күйі
| LED Status Indicator (Earbuds) (LED күй индикаторы (құлаққаптар)) | Status (Күй) | |
| Flashing red and white quickly (Қызыл және ақ түсті жылдам жыпылықтау) | Reconnecting (Қайта қосылу) | |
| Flashing white (Ақ түсті жыпылықтау) | Pairing mode (Жұптастыру режимі) | |
| Solid red (Қызыл түсті тұрақты жану) | Earbuds charging (Құлаққаптар зарядталуда) | |
| Solid white for 1 minute then turn off (after charging) (1 минут бойы ақ түсті тұрақты жану, содан кейін өшеді (зарядтаудан кейін)) | Earbuds fully charged (Құлаққаптар толық зарядталды) | |
ㅤ
| LED Charging Indicator (Charging case) (LED зарядтау индикаторы (зарядтау құтысы)) | Status (Күй) | |
| Flashing white (Ақ түсті жыпылықтау) | Case charging (Құты зарядталуда) | |
| Solid white for 10 seconds then turn off (10 секунд бойы ақ түсті тұрақты жану, содан кейін өшеді) | Case fully charged (Құты толық зарядталды) | |
Ескертпе: LED индикаторының түсі құлаққаптардың түсі өзгерген кезде өзгереді.
Жиі қойылатын сұрақтар
The earbuds are on, but not connecting to my device (Құлаққаптар қосулы, бірақ менің құрылғыма қосылмайды)
For the earbuds and your device to establish a connection, you need to put them both in pairing mode. Please follow the instructions in the Pairing section of this manual. (Құлаққаптар мен сіздің құрылғыңыздың байланыс орнатуы үшін, сіз олардың екеуін де жұптастыру режиміне қоюыңыз керек. Осы нұсқаулықтың Жұптастыру бөліміндегі нұсқауларды орындаңыз.)
I've connected the earbuds with my smartphone but can't hear any sound (Мен құлаққаптарды смартфоныма қостым, бірақ дыбыс естілмейді)
Double-check the volume level on your smartphone and the earbuds. Some smartphones require you to set up the earbuds as an audio output device before the audio can be transmitted. If you're using a music player or other device, please make sure it supports the A2DP profile. (Смартфоныңыздағы және құлаққаптардағы дыбыс деңгейін қайта тексеріңіз. Кейбір смартфондар дыбыс жіберілмес бұрын құлаққаптарды аудио шығыс құрылғысы ретінде орнатуды талап етеді. Егер сіз музыка ойнатқышын немесе басқа құрылғыны пайдалансаңыз, оның A2DP профилін қолдайтынына көз жеткізіңіз.)
The sound isn't very clear or the caller can't hear my voice clearly (Дыбыс өте анық емес немесе қоңырау шалушы менің дауысымды анық естімейді)
Adjust the volume on your smartphone and the earbuds. Try moving closer to your smartphone to rule out the possibility of interference or wireless range-related issues. (Смартфоныңыздағы және құлаққаптардағы дыбыс деңгейін реттеңіз. Кедергі немесе сымсыз диапазонға байланысты мәселелерді болдырмау үшін смартфоныңызға жақынырақ жылжып көріңіз.)
What's the wireless range of the earbuds? (Құлаққаптардың сымсыз диапазоны қандай?)
The maximum range is 10m (33ft). However, the actual range depends on environmental factors. For optimal performance, keep your device connected within a range of roughly 4m to 8m and make sure that there are no major obstacles (like reinforced steel walls) between the earbuds and your device. (Ең үлкен диапазон 10м (33 фут). Алайда, нақты диапазон қоршаған орта факторларына байланысты. Оңтайлы өнімділік үшін құрылғыңызды шамамен 4м-ден 8м-ге дейінгі диапазон ішінде қосып тұрыңыз және құлаққаптар мен құрылғыңыз арасында үлкен кедергілердің (мысалы, арматураланған болат қабырғалар) болмауына көз жеткізіңіз.)
The earbuds won't turn on (Құлаққаптар қосылмайды)
Try charging the earbuds for a while. If the earbuds still won't power on, please contact our support team at the email address given in Warranty & Customer Support. (Құлаққаптарды біраз уақыт зарядтап көріңіз. Егер құлаққаптар әлі де қосылмаса, Кепілдік және тұтынушыларды қолдау бөлімінде көрсетілген электрондық пошта мекенжайы бойынша біздің қолдау көрсету тобына хабарласыңыз.)
I put the earbuds back in the charging case, but the earbuds are still connected (Мен құлаққаптарды зарядтау құтысына қайтардым, бірақ құлаққаптар әлі де қосылып тұр)
The charging case is probably out of power. Try charging it. (Зарядтау құтысының қуаты таусылған болуы мүмкін. Оны зарядтап көріңіз.)
Өнімге күтім жасау және пайдалану
- Keep away from liquids and extreme heat (Сұйықтықтардан және қатты ыстықтан аулақ ұстаңыз)
- Don't use the earbuds at high volume for extended periods, as this may cause permanent hearing damage or loss (Құлаққаптарды ұзақ уақыт бойы жоғары дыбыс деңгейінде пайдаланбаңыз, себебі бұл есту қабілетінің тұрақты зақымдалуына немесе жоғалуына әкелуі мүмкін)
Кепілдік және тұтынушыларды қолдау
Сұрақтар, қолдау көрсету немесе кепілдік талаптары үшін аймағыңызға сәйкес келетін төмендегі мекенжай бойынша бізге хабарласыңыз. Amazon тапсырыс нөміріңізді және өнім үлгісінің нөмірін қосыңыз.
Amazon US orders: support@bc-master.com
Amazon EU orders: support@bc-master.com
Amazon CA orders: support@bc-master.com
*Please note, BC MASTER can only provide after sales service for products purchased directly from BC MASTER. If you have purchased from a different seller, please contact them directly for service or warranty issues. (*Назар аударыңыз, BC MASTER тек BC MASTER-дан тікелей сатып алынған өнімдерге сатудан кейінгі қызмет көрсете алады. Егер сіз басқа сатушыдан сатып алған болсаңыз, қызмет көрсету немесе кепілдік мәселелері бойынша олармен тікелей байланысыңыз.)
CE мәлімдемесі
Max RF power level: (Ең жоғары RF қуат деңгейі:)
BT classic (2402–2480MHz): 2.1dBm
RF exposure assessment has been performed to prove that this unit will not generate the harmful EM emission above the reference level as specified in EC Council Recommendation (1999/519/EC). (RF әсерін бағалау осы құрылғының ЕО Кеңесінің ұсынысында (1999/519/EC) көрсетілген эталондық деңгейден жоғары зиянды EM шығарындыларын шығармайтынын дәлелдеу үшін жүргізілді.)
RISK OF EXPLOSION IF BATTERY IS REPLACED BY AN INCORRECT TYPE. DISPOSE OF USED BATTERIES ACCORDING TO THE INSTRUCTIONS. (БАТАРЕЯНЫ ДҰРЫС ЕМЕС ТҮРМЕН АУЫСТЫРҒАН ЖАҒДАЙДА ЖАРЫЛЫС ҚАУПІ БАР. ПАЙДАЛАНЫЛҒАН БАТАРЕЯЛАРДЫ НҰСҚАУЛАРҒА СӘЙКЕС КӘДЕГЕ ЖАРАТЫҢЫЗ.)
Excessive sound pressure from earphones and headphones can cause hearing loss. (Құлаққаптар мен құлаққаптардан шыққан шамадан тыс дыбыс қысымы есту қабілетінің жоғалуына әкелуі мүмкін.)

Hereby, Dongguan Xingji Electronics Co.,Ltd. declares that the radio equipment type (True Wireless Earbuds, BC-T05) is in compliance with Directive 2014/53/EU. (Осы арқылы Dongguan Xingji Electronics Co.,Ltd. радиожабдық түрінің (True Wireless Earbuds, BC-T05) 2014/53/EU директивасына сәйкес келетінін мәлімдейді.)

Notice: This device may be used in each member state of the EU. (Ескертпе: Бұл құрылғыны ЕО-ға мүше әрбір мемлекетте пайдалануға болады.)
FCC МӘЛІМДЕМЕСІ
This device complies with Part 15 of the FCC rules. Operation is subject to the following two conditions: (Бұл құрылғы FCC ережелерінің 15-бөліміне сәйкес келеді. Пайдалану келесі екі шартқа байланысты:)
- this device may not cause harmful interference, and (бұл құрылғы зиянды кедергілерді тудырмауы мүмкін және)
- this device must accept any interference received, including interference that may cause undesired operation. (бұл құрылғы қабылданған кез келген кедергіні, соның ішінде қажетсіз жұмысқа әкелуі мүмкін кедергіні қабылдауы керек.)
This equipment has been tested and found to comply with the limits for a Class B digital device, pursuant to Part 15 of the FCC rules. These limits are designed to provide reasonable protection against harmful interference in a residential installation. This equipment generates, uses and can radiate radio frequency energy and if not installed and used in accordance with the instructions, may cause harmful interference to radio communications. However, there is no guarantee that interference will not occur in a particular installation. If this equipment does cause harmful interference to radio or television reception, which can be determined by turning the equipment off and on, the user is encouraged to try correct the interference by one or more of the following measures: (Бұл жабдық FCC ережелерінің 15-бөліміне сәйкес В класындағы сандық құрылғыға арналған шектеулерге сәйкес келетіні тексерілді және анықталды. Бұл шектеулер тұрғын үй қондырғысындағы зиянды кедергілерден ақылға қонымды қорғауды қамтамасыз етуге арналған. Бұл жабдық радиожиілік энергиясын жасайды, пайдаланады және шығара алады және егер нұсқауларға сәйкес орнатылмаса және пайдаланылмаса, радиобайланысқа зиянды кедергі келтіруі мүмкін. Алайда, нақты қондырғыда кедергі болмайтынына кепілдік жоқ. Егер бұл жабдық радио немесе теледидар қабылдауына зиянды кедергі келтірсе, оны жабдықты өшіру және қосу арқылы анықтауға болады, пайдаланушыға келесі шаралардың бірін немесе бірнешеуін қолдану арқылы кедергіні түзетуге тырысу ұсынылады:)
- Reorient the receiving antenna. (Қабылдау антеннасын қайта бағыттаңыз.)
- Increase the separation between the equipment and receiver. (Жабдық пен қабылдағыш арасындағы аралықты арттырыңыз.)
- Connect the equipment into and outlet on a circuit different from that to which the receiver is connected. (Жабдықты қабылдағыш қосылған тізбектен өзгеше тізбектегі розеткаға қосыңыз.)
- Consult the dealer or an experienced radio/TV technician for help. (Көмек алу үшін дилермен немесе тәжірибелі радио/теледидар технигімен кеңесіңіз.)
Changes or modifications not expressly approved by the party responsible for compliance could void your authority to operate the equipment. (Сәйкестік үшін жауапты тарап тікелей мақұлдамаған өзгерістер немесе модификациялар жабдықты пайдалану құқығыңызды жоюы мүмкін.)
Model: BC-T05
www.bc-master.com | support@bc-master.com
Dongguan Xingji Electronics Co.,Ltd
First Building of Huaxin Industrial Park Luxi Village Gaobu,
Dongguan, Guangdong 523000 CN
FCC ID: 2AW44-BCT05


Сілтемелер
Нұсқаулықты жүктеп алу
Мұнда нұсқаулықтың толық pdf нұсқасын жүктеп алуға болады, онда қосымша қауіпсіздік нұсқаулары, кепілдік туралы ақпарат, FCC ережелері және т.б. болуы мүмкін.
BC MASTER True Wireless Earbuds BC-T105 нұсқаулығы жүктеп алу