Comfee CDC22P2AWW, CDC22P1ABB - Handleiding Draagbare Vaatwasser voor Aanrecht
- 1 INLEIDING
- 2 BELANGRIJKE VEILIGHEIDSINFORMATIE
- 3 Bedieningsinstructie
- 4 Voor het eerste gebruik
- 5 De vaatwasserrekken inladen
- 6 Een wasprogramma starten
- 7 Onderhoud en reiniging
- 8 Installatie-instructies
- 9 Probleemoplossingstips
- 10 Technische informatie
- 11 Download handleiding
- 12 In andere talen

INLEIDING
Gratis 3 maanden verlenging van de originele beperkte garantieperiode!* Stuur eenvoudig een foto van uw aankoopbewijs naar:
1-844-224-1614
*De garantieverlenging is voor de drie maanden direct na afloop van de originele garantieperiode van het product.

Lees deze handleiding
Geachte klant,
- Lees deze handleiding zorgvuldig door voordat u de vaatwasser gebruikt. Dit helpt u de vaatwasser correct te gebruiken en te onderhouden.
- Bewaar het om later te raadplegen.
- Geef het door aan een eventuele volgende eigenaar van het apparaat.
Deze handleiding bevat secties met veiligheidsinstructies, bedieningsinstructies, installatie-instructies en tips voor probleemoplossing, enz.

Voordat u service aanvraagt
- Bekijk de sectie Probleemoplossing om zelf enkele veelvoorkomende problemen op te lossen.
- Als u de problemen niet zelf kunt oplossen, vraag dan de hulp van professionele technici.
OPMERKING:
De fabrikant kan, volgens een beleid van constante ontwikkeling en updating van het product, wijzigingen aanbrengen zonder voorafgaande kennisgeving.
BELANGRIJKE VEILIGHEIDSINFORMATIE
LEES ALLE INSTRUCTIES VOOR GEBRUIK
Volg bij het gebruik van uw vaatwasser de onderstaande voorzorgsmaatregelen:
AARDINGSINSTRUCTIES

- Dit apparaat moet geaard zijn. In het geval van een storing of defect, zal aarding het risico op een elektrische schok verminderen door een pad van de minste weerstand van elektrische stroom te bieden. Dit apparaat is uitgerust met een snoer met een aardgeleider voor apparatuur en een aardingsstekker.
- De stekker moet in een geschikt stopcontact worden gestoken dat is geïnstalleerd en geaard in overeenstemming met alle lokale voorschriften en verordeningen.
Een onjuiste aansluiting van de aardgeleider van de apparatuur kan leiden tot een risico op een elektrische schok.- Neem contact op met een gekwalificeerde elektricien of servicevertegenwoordiger als u twijfelt of het apparaat correct is geaard. Wijzig de stekker die bij het apparaat is geleverd niet; Als deze niet geschikt is voor het stopcontact. Laat een geschikt stopcontact installeren door een gekwalificeerde elektricien.
CORRECT GEBRUIK
- Misbruik de deur of de vaatwasserrekken van de vaatwasser niet, ga er niet op zitten of staan.
- Raak het verwarmingselement niet aan tijdens of direct na gebruik.
(Deze instructie is alleen van toepassing op machines met een visueel verwarmingselement.) - Gebruik uw vaatwasser niet tenzij alle omhullingspanelen correct zijn geplaatst. Open de deur zeer voorzichtig als de vaatwasser in werking is, er is een risico dat er water uitspuit.
- Plaats geen zware voorwerpen op de deur en ga er niet op staan als deze open is. Het apparaat kan naar voren kantelen.
- Bij het inladen van te wassen items:
- Plaats scherpe voorwerpen zo dat ze de deurafdichting waarschijnlijk niet beschadigen;
Messen en andere gebruiksvoorwerpen met scherpe punten moeten in de korf worden geladen met de punten naar beneden of in een horizontale positie worden geplaatst.
- Wanneer u uw vaatwasser gebruikt, moet u voorkomen dat plastic voorwerpen in contact komen met het verwarmingselement. (Deze instructie is alleen van toepassing op machines met een visueel verwarmingselement.)
- Controleer of de zeepbak leeg is na voltooiing van de wascyclus.
- Was geen plastic items tenzij ze zijn gemarkeerd als vaatwasmachinebestendig of het equivalent. Voor plastic items die niet als zodanig zijn gemarkeerd, raadpleegt u de aanbevelingen van de fabrikant.
- Gebruik alleen reinigingsmiddelen en spoeladditieven die zijn ontworpen voor een automatische vaatwasser.
- Gebruik nooit zeep, wasmiddel of handafwasmiddel in uw vaatwasser. Houd deze producten buiten het bereik van kinderen.
- Houd kinderen uit de buurt van reinigingsmiddel en glansspoelmiddel, houd kinderen uit de buurt van de open deur van de vaatwasser, er kan nog wat reinigingsmiddel in zitten.
- Dit apparaat is niet bedoeld voor gebruik door personen (inclusief kinderen) met verminderde fysieke, zintuiglijke of mentale vermogens, of gebrek aan ervaring en kennis, tenzij ze onder toezicht staan of instructies hebben gekregen over het gebruik van het apparaat door een persoon die verantwoordelijk is voor hun veiligheid.
- Kinderen moeten onder toezicht staan om ervoor te zorgen dat ze niet met het apparaat spelen.
- Vaatwasmiddelen zijn sterk alkalisch, ze kunnen uiterst gevaarlijk zijn als ze worden ingeslikt. Vermijd contact met huid en ogen en houd kinderen uit de buurt van de vaatwasser wanneer de deur open is.
- De deur mag niet in de open stand blijven staan, omdat dit struikelgevaar kan opleveren.
- Als het netsnoer is beschadigd, moet het worden vervangen door de fabrikant, zijn servicevertegenwoordiger of een vergelijkbaar gekwalificeerd persoon om gevaar te voorkomen.
- Verwijder de deur naar het wascompartiment wanneer u een oude vaatwasser buiten gebruik stelt of weggooit.
- Gooi verpakkingsmaterialen op de juiste manier weg.
- Gebruik de vaatwasser alleen voor de beoogde functie.
- Tijdens de installatie mag de stroomtoevoer niet overmatig of gevaarlijk worden gebogen of platgedrukt. Manipuleer de bedieningselementen niet.
- Het apparaat moet worden aangesloten op het waterleidingnet met behulp van nieuwe slangen en oude slangsets mogen niet worden hergebruikt.
- Het maximale aantal couverts dat gewassen kan worden, is 6.
- De maximaal toelaatbare waterdruk bij de inlaat is 1 MPa.
- De minimaal toelaatbare waterdruk bij de inlaat is 0,04 MPa.
Let op:
De installatie van de leidingen en elektrische apparatuur moet door professionals worden gedaan.
LEES EN VOLG DEZE VEILIGHEIDSINFORMATIE ZORGVULDIG
BEWAAR DEZE INSTRUCTIES
Bedieningsinstructie
Om de beste prestaties van uw vaatwasser te krijgen, leest u alle bedieningsinstructiesvoordat u het voor de eerste keer gebruikt.
Bedieningspaneel

- Power Button (Aan/uit-knop): Om de stroomtoevoer in/uit te schakelen.
- Child lock function (Kinderslotfunctie): Druk op de Child-knop (Kindknop) om het programma te vergrendelen;
- Delay Button (Vertragingsknop): Om op de knop te drukken om te vertragen.
- Program Selector (Programmakeuzeknop): Druk op de knop om wasprogramma's te selecteren
- Function Selector (Functiekeuzeknop): Om Extra drying (Extra drogen), Extra cleaning (Extra reinigen) of Express te selecteren.
- Start/Pause Button (Start/Pauze-knop): Druk op deze knop om de vaatwasser te starten of te pauzeren.
- Display Screen (Display): Om de resterende tijd en de status weer te geven (draaiende status, vertragingstijd etc.).
- Extra Cleaning Indicator (Extra reinigen indicator);
- Child Lock Indicator (Kinderslot indicator);
- Express Indicator (Express indicator);
- Water Faucet Indicator (Waterkraan indicator);
- Program Indicator Light (Programma indicatorlampje)
- Extra Drying Indicators (Extra droog indicatoren): Om de Extra drying (Extra droog) functie weer te geven
- Rinse Aid Warning Light (Glansspoelmiddel waarschuwingslampje): Om aan te gaan wanneer het glansspoelmiddelreservoir moet worden bijgevuld.
- Program Ending Indicator (Programma einde indicator)
Vaatwasserfuncties

- Kopjesrek
- Korf
- Reinigingsmiddeldispenser
- Filtereenheid
- Bestekmand
- Glansspoelmiddeldispenser
- Sproeiarmen
- Inlaatpijpaansluiting
- Afvoerpijpaansluiting
Voor het eerste gebruik
Het spoelmiddelreservoir vullen
Spoelmiddelreservoir
Het spoelmiddel wordt tijdens de laatste spoeling vrijgegeven om te voorkomen dat water druppels vormt op uw vaat. Dat kan vlekken en strepen achterlaten. Het verbetert ook het drogen doordat het water van de vaat af kan glijden. Uw vaatwasser is ontworpen om vloeibare spoelmiddelen te gebruiken. Het spoelmiddelreservoir bevindt zich in de deur naast het zeepbakje. Om het reservoir te vullen, opent u de dop en giet u het spoelmiddel in het reservoir totdat de niveau-indicator volledig zwart wordt. Het volume van het spoelmiddelreservoir is ongeveer 110 ml.
Functie van spoelmiddel
Spoelmiddel wordt automatisch toegevoegd tijdens de laatste spoeling, wat zorgt voor een grondige spoeling en vlekvrij drogen.
Let op!
Gebruik alleen spoelmiddel van een bekend merk voor de vaatwasser. Vul het spoelmiddelreservoir nooit met andere stoffen (bijv. vaatwasmachinereiniger, vloeibaar wasmiddel). Dit zou het apparaat beschadigen.
Wanneer het spoelmiddelreservoir bijvullen
Als er geen waarschuwingslampje voor spoelmiddel op het bedieningspaneel is, kunt u de hoeveelheid spoelmiddel beoordelen aan de hand van de kleur van de optische niveau-indicator "C" naast de dop. Wanneer het spoelmiddelreservoir vol is, is de hele indicator donker. Naarmate het spoelmiddel afneemt, wordt de grootte van de donkere stip kleiner. U moet nooit toestaan dat het spoelmiddel minder dan 1 / 4 vol is.

Naarmate het spoelmiddel afneemt, verandert de grootte van de zwarte stip op de spoelmiddelniveau-indicator, zoals hieronder wordt weergegeven.
Vol
3 / 4 vol
1 / 2 vol
1 / 4 vol - Moet worden bijgevuld om vlekken te voorkomen
Leeg

- Тo open the dispenser, turn the cap to the "open" (links) arrow and lift it out.
- Giet het spoelmiddel in het reservoir en pas op dat u het niet te vol doet.
- Plaats de dop terug door deze uit te lijnen met de "open" (links) pijl en draai hem naar de gesloten (rechts) pijl.
OPMERKING: Maak eventueel gemorst spoelmiddel tijdens het vullen schoon met een absorberende doek om overmatig schuimen te voorkomen tijdens de volgende wasbeurt. Vergeet niet de dop terug te plaatsen voordat u de vaatwasserdeur sluit.
Het spoelmiddelreservoir aanpassen

Het spoelmiddelreservoir heeft vier instellingen. De aanbevolen instelling is "З". Als de vaat nog steeds niet goed droogt of vlekken vertoont, zet u de knop op het volgende hogere getal "4".
OPMERKING:
Verhoog de dosis als er na het wassen waterdruppels of kalkvlekken op de vaat zitten. Verminder het als er kleverige witachtige vlekken op uw vaat zitten of een blauwachtige film op glaswerk of messen.
Functie van reinigingsmiddel
Correct gebruik van reinigingsmiddel
Reinigingsmiddelen met hun chemische ingrediënten zijn nodig om vuil te verwijderen, vuil te vergruizen en uit de vaatwasser te transporteren. Gebruik alleen reinigingsmiddel dat speciaal is gemaakt voor gebruik in vaatwassers. Houd uw reinigingsmiddel vers en droog.
Doe geen poederreinigingsmiddel in het reservoir totdat u klaar bent om de vaat te wassen.
Reinigingsmiddelen
Er zijn 3 soorten reinigingsmiddelen
- Met fosfaat en met chloor
- Met fosfaat en zonder chloor
- Zonder fosfaat en zonder chloride
Normaal gesproken is nieuw verpulverd reinigingsmiddel zonder fosfaat. De waterontharderfunctie van fosfaat wordt niet gegeven. In dit geval raden we aan om zout in het zoutreservoir te vullen, zelfs als de hardheid van het water slechts 6*dH is. Als reinigingsmiddelen zonder fosfaat werden gebruikt in het geval van hard water, verschijnen er vaak witte vlekken op de vaat en glazen. Voeg in dit geval meer reinigingsmiddel toe om betere resultaten te bereiken. Reinigingsmiddelen zonder chloor bleken slechts een beetje. Sterke en gekleurde vlekken worden niet volledig verwijderd. Kies in dit geval een programma met een hogere temperatuur.
Geconcentreerd reinigingsmiddel
Op basis van hun chemische samenstelling kunnen vaatwassers worden onderverdeeld in twee basistypen:
- conventionele, alkalische reinigingsmiddelen met bijtende bestanddelen
- laag alkalische geconcentreerde reinigingsmiddelen met natuurlijke enzymen
Het gebruik van het "normal" (normaal) wasprogramma in combinatie met geconcentreerde reinigingsmiddelen vermindert de vervuiling en is goed voor uw vaat; deze wasprogramma's zijn speciaal afgestemd op de vuiloplossende eigenschappen van de enzymen van het geconcentreerde reinigingsmiddel. Om deze reden kan het "normal" (normaal) wasprogramma waarin geconcentreerde reinigingsmiddelen worden gebruikt dezelfde resultaten bereiken die anders alleen kunnen worden bereikt met het "heavy" (zwaar) programma.
Reinigingstabletten
Reinigingstabletten van verschillende merken lossen op met verschillende snelheden. Om deze reden kunnen sommige reinigingstabletten hun volledige reinigingskracht niet oplossen en ontwikkelen tijdens een kort programma. Gebruik daarom een lang programma bij het gebruik van reinigingstabletten om de volledige verwijdering van reinigingsmiddelresten te garanderen.
Reinigingsmiddelreservoir
Het reservoir moet voor het begin van elke wascyclus worden bijgevuld volgens de instructies in de wastabel. Uw vaatwasser gebruikt minder reinigingsmiddel en spoelmiddel dan een conventionele vaatwasser. Over het algemeen is slechts één eetlepel reinigingsmiddel nodig voor een normale waslading. Ook hebben zwaarder vervuilde items meer reinigingsmiddel nodig. Voeg het reinigingsmiddel altijd toe vlak voordat u de vaatwasser start, anders kan het vochtig worden en niet goed oplossen.
Hoeveelheid reinigingsmiddel om te gebruiken

OPMERKING:
- Als het deksel gesloten is: druk op de ontgrendelingsknop. Het deksel springt open.
- Voeg het reinigingsmiddel altijd toe vlak voordat u elke wascyclus start.
- Gebruik alleen reinigingsmiddel van een bekend merk voor de vaatwasser.
Vaatwasmiddel is corrosief! Zorg ervoor dat u het buiten bereik van kinderen houdt.
Reinigingsmiddel vullen
Vul het reinigingsmiddelreservoir met reinigingsmiddel. De markering geeft de doseringsniveaus aan, zoals afgebeeld:

- Capaciteit-159
- Capaciteit-259
Neem de doserings- en opslagadviezen van de fabrikant in acht, zoals vermeld op de verpakking van het reinigingsmiddel.
Sluit het deksel en druk erop totdat het op zijn plaats vastklikt.
Als de vaat sterk vervuild is, plaats dan een extra dosis reinigingsmiddel in de voorspoelreinigingsmiddelkamer. Dit reinigingsmiddel zal tijdens de voorspoelfase effect hebben.
OPMERKING:
- U vindt informatie over de hoeveelheid reinigingsmiddel voor het afzonderlijke programma op de laatste pagina.
- Houd er rekening mee dat verschillen mogelijk zijn afhankelijk van de mate van vervuiling en de specifieke hardheid van het water.
- Neem de aanbevelingen van de fabrikant op de verpakking van het reinigingsmiddel in acht.
De vaatwasserrekken inladen
Aanbeveling
- Overweeg om keukengerei te kopen dat is aangeduid als vaatwasmachinebestendig.
- Gebruik een mild reinigingsmiddel dat speciaal is bedoeld voor vaatwerk. Vraag indien nodig meer informatie aan de fabrikanten van reinigingsmiddelen.
- Selecteer voor bepaalde items, zoals glaswerk, een programma met een lage temperatuur.
- Om schade te voorkomen, haal glas en bestek niet direct na afloop van het programma uit de vaatwasser.
Items die niet worden aanbevolen voor de vaatwasser
Zijn niet geschikt
- Bestek met houten, hoornen, porseleinen of parelmoeren handgrepen
- Plastic items die niet hittebestendig zijn
- Ouder bestek met gelijmde onderdelen dat niet temperatuurbestendig is
- Verlijmde bestekartikelen of schalen
- Tinnen of koperen items
- Kristalglas
- Stalen items die onderhevig zijn aan roestvorming
- Houten schalen
- Items gemaakt van synthetische vezels
Zijn van beperkte geschiktheid
- Sommige soorten glazen kunnen dof worden na een groot aantal wasbeurten
- Zilveren en aluminium onderdelen hebben de neiging om te verkleuren tijdens het wassen
- Geglazuurde patronen kunnen vervagen als ze regelmatig in de machine worden gewassen
Let op vóór of na het inladen van de vaatwasserrekken
(Volg deze laadrichtlijnen voor de beste prestaties van de vaatwasser.
Kenmerken en uiterlijk van rekken en bestekmanden kunnen afwijken van uw model.)
Schraap grote hoeveelheden restjes af. Week restanten van aangebrand voedsel in pannen
Het is niet nodig om de vaat onder stromend water af te spoelen.
Plaats objecten als volgt in de vaatwasser:
- Items zoals kopjes, glazen, potten/pannen, enz. liggen met de opening naar beneden.
- Gebogen items, of items met uitsparingen, moeten schuin worden geladen zodat het water eraf kan lopen.
- Alle keukengerei is veilig gestapeld en kan niet omvallen.
- Alle keukengerei is zo geplaatst dat de sproeiarmen tijdens het wassen vrij kunnen draaien.
LET OP: Zeer kleine items mogen niet in de vaatwasser worden gewassen omdat ze gemakkelijk uit de mand kunnen vallen.
- Laad holle items zoals kopjes, glazen, pannen etc. met de opening naar beneden, zodat er geen water in de container of een diepe bodem kan komen.
- Servies en bestek mogen niet in elkaar liggen of elkaar bedekken.
- Om schade aan glazen te voorkomen, mogen ze elkaar niet raken.
- Laad grote items die het moeilijkst schoon te maken zijn in de mand.
- Lange messen die rechtop staan, vormen een potentieel gevaar!
- Lange en/of scherpe bestekdelen, zoals vleesmessen, moeten horizontaal in de mand worden geplaatst.
- Overbelast uw vaatwasser niet. Dit is belangrijk voor goede resultaten en voor een redelijk energieverbruik.
De mand inladen
Plaats het servies en kookgerei zo dat ze niet worden verplaatst door de waterstraal.

Bestekmand
Bestek moet met de handgrepen naar beneden in de bestekmand worden geplaatst. Als het rek zijmanden heeft, moet de lepel afzonderlijk in de juiste sleuven worden geladen, vooral lang keukengerei moet horizontaal aan de voorkant van de bovenste mand worden geplaatst, zoals weergegeven.


- Laat geen enkel item door de bodem steken.
- Laad scherp keukengerei altijd met de scherpe punt naar beneden!
Voor persoonlijke veiligheid en een schoonmaak van topkwaliteit, plaatst u het zilverwerk in de mand:
- Zodat ze niet in elkaar passen.
- Met de handgrepen naar beneden.
- Scherpe messen en ander potentieel gevaarlijk keukengerei met de handgrepen naar boven.
Een wasprogramma starten
Wassencyclustabel
LET OP:
- (
) Betekent: moet spoelmiddel in het spoelmiddelreservoir vullen. - *AHAM DW-1-2005: Dit programma is de testcyclus, de instelling van het spoelmiddelreservoir wordt aanbevolen op positie 3.

Het apparaat inschakelen
Een wascyclus starten:
- Trek de mand eruit (zie het gedeelte "De mand inladen");
- Giet het reinigingsmiddel erin (zie het gedeelte "Reinigingsmiddel en spoelmiddel");
- Steek de stekker in het stopcontact. De stroomvoorziening is 120V/60 Hz;
- Zorg ervoor dat de watertoevoer volledig is ingeschakeld;
- Sluit de deur en druk op de aan/uit-knop om de stroomvoorziening in te schakelen;
- Druk op de programmaknop om het gewenste wasprogramma te selecteren
Heavy->Normal->BabyCare->ECO->Glass->Speed->Rinse->Mini-party - Druk vervolgens op de Start/Pauze (Start/Pauze)-knop totdat de vaatwasser begint te starten.
LET OP:
Wanneer u tijdens het wassen op de Start/Pauze (Start/Pauze)-knop drukt om te pauzeren, stopt de weergavetijd met knipperen en wordt het programma gepauzeerd en blijft deze cyclus behouden totdat u het opnieuw start.
De programma's wijzigen
Voorwaarde: U kunt het wasprogramma aan het begin van de cyclus wijzigen. Anders is het reinigingsmiddel mogelijk al vrijgegeven en heeft het apparaat mogelijk al het waswater afgevoerd. Als dit het geval is, moet het reinigingsmiddelreservoir worden bijgevuld (zie het gedeelte "Het reinigingsmiddel inladen").
Om het wasprogramma te wijzigen, drukt u op de Start/Pauze (Start/Pauze)-knop om de machine te pauzeren en drukt u vervolgens langer dan drie seconden op de programmaknop om de machine in de stand-by stand te zetten. Vervolgens kunt u het programma wijzigen in de gewenste cyclusinstelling.
(Zie het gedeelte "Een wascyclus starten")
De lampjes geven de status van de vaatwasser aan:
- Alle faselampjes uit - Stand-by
- Het display knippert niet - Gepauzeerd
- Het display knippert - Draait
LET OP: Als u de deur opent tijdens het wassen, wordt de machine gepauzeerd. Wanneer u de deur sluit, moet u op de start/pauze (start/pauze)-knop drukken om de cyclus te hervatten.
Vergeten een gerecht toe te voegen?
Een vergeten gerecht kan op elk moment worden toegevoegd voordat de reinigingsmiddelbeker opengaat.
- Druk op de start/pauze (start/pauze)-knop
- Open de deur een beetje om het wassen te stoppen.
- Nadat de sproeiarmen zijn gestopt met werken, kunt u de deur volledig openen.
- Voeg vergeten gerechten toe.
- Sluit de deur
- Druk op de start/pauze (start/pauze)-knop, de vaatwasser start na 10 seconden.
Aan het einde van de wascyclus
Wanneer de werkcyclus is voltooid, klinkt de zoemer van de vaatwasser 8 seconden en stopt vervolgens. Schakel het apparaat uit met de AAN/UIT-knop, sluit de watertoevoer af en open de deur van de vaatwasser.
Wacht een paar minuten voordat u de vaatwasser uitlaadt om te voorkomen dat u de vaat en het keukengerei hanteert terwijl ze nog heet zijn en vatbaarder voor breuk. Ze zullen ook beter drogen.
Aangezien het apparaat stand-by staat, wordt het automatisch uitgeschakeld na 30 minuten zonder enige bediening
De vaatwasser uitschakelen
Alle faselampjes zijn uit, alleen in dit geval is het programma beëindigd.
- Schakel de vaatwasser uit door op de AAN/UIT-knop te drukken.
- Draai de waterkraan dicht!
Open de deur voorzichtig
Heet servies is gevoelig voor koude schokken. Het servies moet daarom ongeveer 15 minuten afkoelen voordat het uit het apparaat wordt gehaald.
Open de deur van de vaatwasser, laat deze op een kier staan en wacht een paar minuten voordat u de vaat eruit haalt. Op deze manier zijn ze koeler en wordt het drogen verbeterd.
De vaatwasser uitladen
Het is normaal dat de vaatwasser van binnen nat is.
Het is gevaarlijk om de deur te openen tijdens het wassen, omdat het hete water u kan verbranden.
Onderhoud en reiniging
Filtratiesysteem
Het filter voorkomt dat grotere etensresten of andere objecten in de pomp terechtkomen.
Het filtersysteem bestaat uit een grof filter, een plat (hoofdfilter) en een microfilter (fijn filter).

- Hoofdfilter
Voedsel- en vuildeeltjes die door dit filter worden opgevangen, worden verpulverd door een speciale straal op de sproeiarm en weggespoeld naar de afvoer. - Fijn filter
Dit filter houdt vuil en voedselresten in het cartergebied vast en voorkomt dat het tijdens de wascyclus op de vaat terechtkomt. - Grof filter
Grotere items, zoals stukjes bot of glas, die de afvoer kunnen blokkeren, worden opgevangen in het grove filter. Om de items te verwijderen die door het filter zijn opgevangen, knijpt u voorzichtig in de tap aan de bovenkant van dit filter en tilt u het eruit.
Filter samenstel
Het filter verwijdert op efficiënte wijze voedseldeeltjes uit het waswater, waardoor het tijdens de cyclus kan worden gerecirculeerd.
Voor de beste prestaties en resultaten moet het filter regelmatig worden schoongemaakt. Daarom is het een goed idee om de grotere voedseldeeltjes die in het filter zijn opgevangen na elke wascyclus te verwijderen door het filter en de beker onder stromend water af te spoelen. Om het filter te verwijderen, trekt u aan de bekergreep in opwaartse richting.
Laat de vaatwasser nooit draaien zonder de filters op hun plaats.
De vaatwasser mag nooit zonder de filters worden gebruikt.
Onjuiste vervanging van het filter kan het prestatieniveau van het apparaat verminderen en schade toebrengen aan vaat en keukengerei.
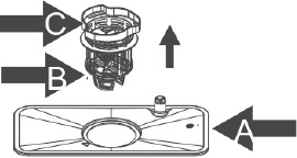
Stap 1: Draai het filter (A, B en C) tegen de klok in en til het vervolgens helemaal op.

Stap 2: Til В en C omhoog van A;

Compleet

OPMERKING: Om het filtersysteem opnieuw te installeren, voltooi stap 3, stap 2 en ten slotte stap 1.
Opmerkingen:
- Inspecteer de filters op verstopping telkens wanneer de vaatwasser is gebruikt.
- Door het grove filter los te schroeven, kunt u het filtersysteem verwijderen. Verwijder alle voedselresten en reinig de filters onder stromend water.
OPMERKING: Het volledige filter moet één keer per week worden schoongemaakt.
Het filter reinigen
Gebruik een reinigingsborstel om het grove filter en het fijne filter te reinigen. Monteer de filteronderdelen zoals afgebeeld en plaats het geheel terug in de vaatwasser, positioneer het in de zitting en druk het naar beneden.
Tik bij het reinigen van de filters er niet op. Anders kunnen de filters verbogen raken, wat de prestaties van de vaatwasser negatief kan beïnvloeden.
Zorg voor de vaatwasser
Het bedieningspaneel kan worden gereinigd met een licht vochtige doek en droog het daarna grondig af.
Gebruik voor de buitenkant een goede was voor het poetsen van apparaten.
Gebruik nooit scherpe voorwerpen, schuursponsjes of agressieve reinigingsmiddelen op enig onderdeel van de vaatwasser.
De deur reinigen
Om de rand rond de deur schoon te maken, gebruikt u alleen een zachte, warme, vochtige doek. Om te voorkomen dat er water in het deurslot en de elektrische componenten binnendringt, mag u geen spuitreiniger van welke aard dan ook gebruiken.

- Gebruik nooit een spuitreiniger om het deurpaneel schoon te maken, omdat dit het deurslot en de elektrische componenten kan beschadigen.
- Er mogen geen schuurmiddelen of papieren handdoeken worden gebruikt vanwege het risico op krassen of vlekken op het roestvrijstalen oppervlak.
Bescherming tegen bevriezing
Neem in de winter vorstbeschermingsmaatregelen voor de vaatwasser. Voer na elke wascyclus de volgende handelingen uit:
- Schakel de stroomtoevoer naar de vaatwasser uit.
- Sluit de watertoevoer af en koppel de waterinlaatslang los van de waterklep.
- Laat het water uit de inlaatslang en de waterklep lopen. (Gebruik een pan om het water op te vangen)
- Sluit de waterinlaatslang weer aan op de waterklep.
- Verwijder het filter aan de onderkant van de kuip en gebruik een spons om het water in het carter te gebruiken.
OPMERKING: Als uw vaatwasser niet kan werken vanwege het ijs, neem dan contact op met professionele servicepersonen.
De sproeiarmen reinigen
De sproeiarmen kunnen gemakkelijk worden verwijderd om de sproeiers periodiek te reinigen, om mogelijke verstopping te voorkomen. Was ze onder stromend water en plaats ze voorzichtig terug in hun zitting, waarbij u controleert of hun draaiende beweging op geen enkele manier wordt belemmerd.
Pak het midden van de sproeiarm vast en trek hem omhoog om hem te verwijderen. Was de armen onder een straal stromend water en plaats ze voorzichtig terug in hun zitting. Controleer na de montage of de sproeiarmen vrij kunnen draaien. Controleer anders of ze correct zijn geïnstalleerd.

Hoe u uw vaatwasser in vorm houdt
- Na elke wasbeurt
Schakel na elke wasbeurt de watertoevoer naar het apparaat uit en laat de deur iets openstaan, zodat er geen vocht en geuren binnen blijven. - Verwijder de stekker
Verwijder altijd de stekker uit het stopcontact voordat u gaat schoonmaken of onderhoud uitvoert. - Geen oplosmiddelen of schurende reinigingsmiddelen
Gebruik geen oplosmiddelen of schurende reinigingsmiddelen om de buitenkant en rubberen onderdelen van de vaatwasser schoon te maken. Gebruik alleen een doek met warm zeepsop. Gebruik voor het verwijderen van vlekken of vlekken van het oppervlak van de binnenkant een doek die is bevochtigd met water met een beetje azijn, of een reinigingsproduct dat speciaal is gemaakt voor vaatwassers. - Wanneer het lange tijd niet nodig is
Het wordt aanbevolen om een wascyclus te draaien met de vaatwasser leeg en vervolgens de stekker uit het stopcontact te halen, de watertoevoer af te sluiten en de deur van het apparaat iets open te laten staan. Dit zorgt ervoor dat de deurrubbers langer meegaan en voorkomt dat er geurtjes in het apparaat ontstaan. - Het apparaat verplaatsen
Als het apparaat moet worden verplaatst, probeer het dan in de verticale positie te houden. Indien absoluut noodzakelijk, kan het op de achterkant worden geplaatst. - Afdichtingen
Een van de factoren die ervoor zorgen dat er geurtjes in de vaatwasser ontstaan, is voedsel dat in de afdichtingen achterblijft. Periodiek schoonmaken met een vochtige spons voorkomt dit.
Installatie-instructies
Installatie voorbereiding
De installatiepositie van de vaatwasser moet in de buurt van de bestaande toevoer- en afvoerslangen en het netsnoer zijn.
Een kant van de gootsteenkast moet worden gekozen om de aansluiting van de afvoerslangen van de vaatwasser te vergemakkelijken.
De machine positioneren
Plaats de machine op de gewenste locatie. De achterkant moet tegen de muur erachter rusten, en de zijkanten tegen de aangrenzende kasten of muur. De vaatwasser is uitgerust met water toevoer- en afvoerslangen die rechts of links kunnen worden geplaatst om een correcte installatie te vergemakkelijken.
Over de stroomaansluiting
Voor persoonlijke veiligheid:
- GEBRUIK GEEN VERLENGSNOER OF ADAPTERSTEKKER BIJ DIT APPARAAT.
- VERBREEK ONDER GEEN ENKELE OMSTANDIGHEID DE AARDVERBINDING VAN HET NETSNOER.
Elektrische vereisten
Kijk op het typeplaatje om de nominale spanning te kennen en sluit de vaatwasser aan op de juiste stroomvoorziening. Gebruik de vereiste zekering van 10 ampère, een vertraagde zekering of stroomonderbreker die wordt aanbevolen en zorg voor een afzonderlijk circuit dat alleen dit apparaat bedient.
Elektrische aansluiting
Verzeker dat een goede aarding aanwezig is voor gebruik
Zorg ervoor dat de spanning en frequentie van de stroom overeenkomen met die op het typeplaatje. Steek de stekker alleen in een stopcontact dat correct is geaard. Als het stopcontact waarop het apparaat moet worden aangesloten niet geschikt is voor de stekker, vervang dan het stopcontact in plaats van adapters of iets dergelijks te gebruiken, omdat deze oververhitting en brandwonden kunnen veroorzaken.
AARDINGSINSTRUCTIES

- Dit apparaat moet geaard zijn. In het geval van een storing of defect, zal aarding het risico op elektrische schokken verminderen door een pad van de minste weerstand voor de elektrische stroom te bieden. Dit apparaat is uitgerust met een snoer met een aardgeleider en een aardingsstekker. De stekker moet in een geschikt stopcontact worden gestoken dat is geïnstalleerd en geaard in overeenstemming met alle lokale normen en vereisten.
- Een onjuiste aansluiting van de aardgeleider kan leiden tot het risico van een elektrische schok.
- Raadpleeg een gekwalificeerde elektricien of servicevertegenwoordiger als u twijfelt of het apparaat correct is geaard.
- Wijzig de stekker die bij het apparaat is geleverd niet. Als de stekker niet goed in het stopcontact past, laat dan een gekwalificeerde elektricien een geschikt stopcontact installeren.
Wateraansluiting

Achterkant van de Vaatwasser:
- Afvoerpoort
- Netsnoer
- Inlaatpoort
Uw vaatwasser is uitgerust met een 'quick connect'-assemblage (inclusief toevoer- en afvoerslang). De kraanadapter moet op de kraan worden geïnstalleerd voordat u de vaatwasser kunt aansluiten. Deze adapter is inbegrepen in uw vaatwasser. De kraanadapter is compatibel met kranen met zowel mannelijke (buiten) als vrouwelijke (binnen) schroefdraadaansluitingen.
Quick Connect-assemblage

Afvoerslang:
- Afvoerpoortaansluiting
- Quick connect-aansluiting
Toevoerslang:
- Inlaatpoortaansluiting
- Quick connect-aansluiting
Kraanadapter:
- Kraanadapter
- Kraanring
Quick Connect:
- Drukklep
- Kraanadapteraansluiting
- Vergrendelingskraag
- Toevoerslangaansluiting
- Afvoerslangaansluiting
Om te voorkomen dat er meer water in de toevoerslang blijft staan, dient u de kraan na gebruik te sluiten.
- Schroef de kraanadapter op (of in) de kraan. Controleer op lekkages (gebruik indien nodig teflon tape om te elimineren).
- Sluit de zeszijdige aansluiting van de afvoerslang aan op de afvoerpoortaansluiting aan de achterkant van de vaatwasserkast. Draai niet te vast (om schade aan de schroefdraad te voorkomen).
- Sluit de stervormige aansluiting van de toevoerslang aan op de inlaatpoort aan de achterkant van de vaatwasserkast. Draai niet te vast (om schade aan de schroefdraad te voorkomen).
- Sluit de ronde aansluiting van de afvoerslang aan op de langere (onderste) mannelijke aansluiting op de quick connect.
- Sluit de ronde aansluiting van de toevoerslang aan op de kortere (bovenste) mannelijke aansluiting op de quick connect.
- Bevestig de quick connect op de kraanadapter door de buitenste vergrendelingskraag op de quick connect naar beneden te trekken terwijl u de quick connect omhoog op de kraanadapter duwt.
- Wanneer de quick connect op de kraanadapter klikt, laat u de vergrendelingskraag los. Controleer of de verbinding veilig is.
- Open langzaam de warmwaterleiding en controleer op tekenen van waterlekken bij alle slangaansluitingen. Als er lekkages worden geconstateerd, sluit dan onmiddellijk de watertoevoer en repareer de slangaansluitingen.
- Zodra u de watertoevoerleiding opent (zelfs als deze onmiddellijk daarna wordt gesloten), zal de toevoerslang onder druk komen te staan.
- Om de waterdruk in de toevoerslang te ontlasten (zorg ervoor dat de waterleiding (kraan) is gesloten): houd de rode drukontlastingsknop op de quick connect ingedrukt totdat de waterstroom stopt.
HET NIET ONTLASEN VAN DE WATERDRUK VOORDAT DE QUICK-CONNECT VAN DE KRAAN WORDT LOSGEKOPPELD, ZAL RESULTEREN IN TEGENDRUK-OVERSPRAY. DE TEMPERATUUR VAN INKOMEND WATER KAN ERG HEET ZIJN, EN TEGENDRUK-OVERSPRAY KAN ERNSTIGE BRANDWONDEN EN/OF VERBRANDING VEROORZAKEN.
LAAT KINDEREN DE VAATWASSER NIET LOSKOPPELEN; NAUWLETTEND TOEZICHT OP KINDEREN IS ALTIJD BELANGRIJK IN DE BUURT VAN APPARATEN.
OPMERKING:
Harde wateromstandigheden zullen de wasprestaties van uw vaatwasser negatief beïnvloeden. Harde wateromstandigheden zullen ook bijdragen aan 'kalk' (witte filmsubstantie) afzettingen en/of 'aanslag' op het roestvrijstalen oppervlak van de vaatwasserkuip en het verwarmingselement, dat zich in het carter onder het verwijderbare filterzeef bevindt. Om deze omstandigheden te helpen minimaliseren, wordt aanbevolen om periodiek de binnenkant van de vaatwasser (leeg) te laten werken/spoelen met 1 kopje witte azijn ten minste één keer per week.
Uw vaatwasser loskoppelen
- Sluit de watertoevoer af bij de kraan.
- Koppel het netsnoer los
De vaatwasser starten
De volgende zaken moeten worden gecontroleerd voordat de vaatwasser wordt gestart.
- De vaatwasser staat waterpas en is goed vastgezet
- De inlaatklep is open
- Er is een lekkage bij de aansluitingen van de leidingen
- De draden zijn stevig aangesloten
- De stroom is ingeschakeld
- De toevoer- en afvoerslangen zijn geknoopt
- Alle verpakkingsmaterialen en bedrukkingen moeten uit de vaatwasser worden verwijderd
Let op: Zorg er na installatie voor dat u deze handleiding bewaart. De inhoud van deze handleiding is zeer nuttig voor de gebruikers.
Probleemoplossingstips
Voordat u om service belt
Bekijk de tabellen op de volgende pagina's. Dit kan u besparen om om service te bellen.
![]() | Probleem | Mogelijke oorzaken | Wat te doen |
| Technische problemen | Vaatwasser start niet | Zekering gesprongen of stroomonderbreker geactiveerd. | Vervang de zekering of reset de stroomonderbreker. Verwijder alle andere apparaten die hetzelfde circuit delen met de vaatwasser |
| Stroomvoorziening is niet ingeschakeld. | Zorg ervoor dat de vaatwasser is ingeschakeld en de deur goed gesloten is. Zorg ervoor dat het netsnoer correct is aangesloten op het stopcontact. | ||
| Deur van de vaatwasser niet goed gesloten. | Sluit de vaatwasser en zorg ervoor dat de deur vergrendelt. | ||
| Water wordt niet uit de vaatwasser gepompt | Knik in de afvoerslang | Controleer de afvoerslang. | |
| Filter verstopt. | Controleer het grove filter. (zie het gedeelte "Het filter reinigen") | ||
| Verstopte gootsteen. | Controleer de gootsteen om er zeker van te zijn dat deze goed wegloopt. Als het probleem is dat de gootsteen niet wegloopt, heeft u mogelijk een loodgieter nodig in plaats van een monteur voor de vaatwasser. | ||
| Algemene problemen | Schuim in de kuip | Verkeerd reinigingsmiddel | Gebruik alleen het speciale vaatwasmiddel om schuim te voorkomen. Als dit gebeurt, open de vaatwasser en laat het schuim verdampen. Voeg 4 liter koud water toe aan de kuip. Sluit en vergrendel de vaatwasser en start vervolgens de "voorwas" (soak) wascyclus om het water af te voeren. Herhaal indien nodig. |
| Middel voor naspoelen gemorst | Veeg gemorst middel voor naspoelen altijd onmiddellijk op. | ||
| Gevlekte binnenkant van de kuip | Er is een reinigingsmiddel met kleurstof gebruikt. | Zorg ervoor dat het reinigingsmiddel er een is zonder kleurstof. | |
| Witte aanslag aan de binnenkant | Harde watermineralen | Gebruik een vochtige spons met vaatwasmiddel en draag rubberen handschoenen om de binnenkant schoon te maken. Gebruik nooit een ander reinigingsmiddel dan vaatwasmiddel vanwege het risico op schuimvorming. | |
| Geluid | Kloppend geluid in de wasruimte | De sproeiarm klopt tegen een item in een mand. | Onderbreek het programma en herschik de items die de sproeiarm blokkeren. |
| Rammelend geluid in de wasruimte | Serviesgoed zit niet vast in de wasruimte. | Onderbreek het programma en herschik het serviesgoed. | |
| Kloppend geluid in de waterleidingen | Dit kan worden veroorzaakt door installatie ter plaatse of de dwarsdoorsnede van de leidingen. | Dit heeft geen invloed op de werking van de vaatwasser. Neem bij twijfel contact op met een gekwalificeerde loodgieter. | |
| Slecht wasresultaat | De vaat is niet schoon | De vaat is niet correct ingeladen. | Zie de opmerkingen in "De vaatwassermanden inladen". |
| Het programma was niet krachtig genoeg. | Selecteer een intensiever programma. Zie "Wastabel". | ||
| Er is niet genoeg reinigingsmiddel gebruikt. | Gebruik meer reinigingsmiddel of verander uw reinigingsmiddel. | ||
| Items blokkeren het pad van de sproeiarmen. | Herschik de items zodat de sproeiarm vrij kan draaien. | ||
| De filtercombinatie in de bodem van de wasruimte is niet schoon of is niet correct gemonteerd. Dit kan ervoor zorgen dat de sproeieropeningen van de sproeiarm verstopt raken. | Reinig en/of monteer de filtercombinatie correct. Reinig de sproeieropeningen van de sproeiarm. Zie "De sproeiarmen reinigen". | ||
| Waas op glaswerk | Combinatie van zacht water en te veel reinigingsmiddel. | Gebruik minder reinigingsmiddel als u zacht water heeft en selecteer een kortste cyclus om het glaswerk te wassen en schoon te krijgen. | |
| Zwarte of grijze vlekken op de vaat | Aluminium keukengerei heeft tegen de vaat geschuurd. | Gebruik een mild schuurmiddel om die vlekken te verwijderen. | |
| Reinigingsmiddel achtergebleven in de doseerbakjes | Vaat blokkeert de reinigingsmiddelbakjes. | Laad de vaat correct opnieuw in. | |
| Slecht droogresultaat | De vaat droogt niet | Onjuist inladen | Laad de vaatwasser in zoals aangegeven in de aanwijzingen. |
| Te weinig middel voor naspoelen | Verhoog de hoeveelheid middel voor naspoelen/Vul de middelverdeler voor naspoelen bij. | ||
| De vaat wordt te snel verwijderd. | Leeg uw vaatwasser niet direct na het wassen. Open de deur iets zodat de stoom kan ontsnappen. Begin pas met het uitladen van de vaatwasser als de vaat nauwelijks warm aanvoelt. Leeg eerst de onderste mand. Dit voorkomt dat er water van de vaat in de bovenste mand druppelt. | ||
| Verkeerde programma selectie | In een kort programma is de wastemperatuur lager. Dit verlaagt ook de reinigingsprestaties. Kies een programma met een lange wastijd. | ||
| Bestek gebruiken met een coating van lage kwaliteit | Waterafvoer is moeilijker met deze items. Bestek of vaat van dit type is niet geschikt om in de vaatwasser te wassen. |
Foutcodes
Wanneer er storingen optreden, toont het apparaat foutcodes om u te waarschuwen:
| Codes | Betekenissen | Mogelijke oorzaken |
| E1 | Langere inlaattijd. | Kranen zijn niet geopend, of de waterinname is beperkt, of de waterdruk is te laag. |
| EЗ | Vereiste temperatuur niet bereikt. | Storing van het verwarmingselement. |
| E4 | Overstroming. | Sommige onderdelen van de vaatwasser lekken. |
| Ed | Communicatiefout tussen hoofd-PCВ en ТFТ PCВ | Open circuit of draadbreuk voor de communicatie |
- Als er een overstroming optreedt, sluit dan de hoofdtoevoer van het water af voordat u service belt.
- Als er water in de bodemplaat staat als gevolg van een overvulling of een klein lek, moet het water worden verwijderd voordat de vaatwasser opnieuw wordt gestart.
Technische informatie

| Hoogte: | 17 1/4" (438mm) |
| Breedte: | 21 5/8" (550mm) |
| Diepte: | 19 11/16" (500mm) |
| Spanning aangesloten belasting: | zie typeplaatje |
| Waterdruk: | 0.04-1.0Мpa |
| Warmwateraansluiting: | moet 120°F zijn |
| Capaciteit: | 6 couverts |

Download handleiding
Hier kunt u de volledige pdf-versie van de handleiding downloaden. Deze kan aanvullende veiligheidsinstructies, garantie-informatie, FCC-regels, enz. bevatten.
Download Comfee CDC22P2AWW, CDC22P1ABB - Handleiding Draagbare Vaatwasser voor Aanrecht
) Betekent: moet spoelmiddel in het spoelmiddelreservoir vullen.