Ariston FM 51 IX GB - Instrukcja obsługi piekarnika wielofunkcyjnego

Widok z bliska


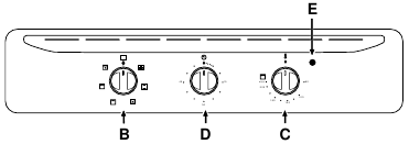
- Panel sterowania
- Pokrętło wyboru funkcji pieczenia.
- Pokrętło regulacji temperatury pieczenia.
- Pokrętło timera (tylko w niektórych modelach)
- Lampka piekarnika (tylko w niektórych modelach) - Gdy lampka się świeci, oznacza to, że piekarnik się nagrzewa. Zgaśnie po osiągnięciu ustawionej temperatury.
- Brytfanna
- Ruszty piekarnika
- Prowadnice do wsuwania i wysuwania rusztów lub brytfanny.
Jak korzystać z urządzenia
Piekarnik wielofunkcyjny łączy w jednym urządzeniu zalety tradycyjnych piekarników konwekcyjnych z zaletami nowoczesnych piekarników z wymuszonym obiegiem powietrza.
Jest to niezwykle wszechstronne urządzenie, które pozwala łatwo i bezpiecznie wybierać spośród 5 różnych trybów pieczenia. Poszczególne funkcje wybiera się za pomocą pokrętła wyboru (B) i pokrętła termostatu (C) na panelu sterowania.
Uwaga: Przy pierwszym użyciu piekarnika zalecamy ustawienie termostatu na najwyższą wartość i pozostawienie włączonego piekarnika na około pół godziny bez niczego w środku. Następnie otwórz drzwiczki piekarnika i przewietrz pomieszczenie. Zapach, który często wyczuwa się podczas pierwszego użycia, jest spowodowany parowaniem substancji używanych do ochrony piekarnika podczas przechowywania i do czasu jego zainstalowania.
Tryb konwekcyjny
Ustaw pokrętło termostatu (C) między 60°C a Max.
Włączą się zewnętrzne elementy grzejne zarówno na górze, jak i na dole piekarnika. Ciepło jest rozprowadzane równomiernie od góry do dołu. Tryb konwekcyjny jest zalecany do przygotowywania dań mięsnych na bazie wołowiny lub cielęciny, które wymagają powolnego gotowania z dodatkiem płynów. Nadal pozostaje najlepszym trybem pieczenia suchych ciast i owoców w ogóle. Podczas pieczenia w trybie konwekcyjnym należy używać tylko jednej brytfanny lub rusztu do pieczenia na raz, w przeciwnym razie rozkład ciepła będzie nierównomierny. Wybierz spośród różnych wysokości rusztu w zależności od tego, czy potrawa potrzebuje więcej, czy mniej ciepła od góry lub od dołu.
Tryb wentylacji
Ustaw pokrętło termostatu (C) między 60°C a Max. Włączą się zarówno elementy grzejne, jak i wentylator. Ponieważ ciepło pozostaje stałe i równomierne w całym piekarniku, powietrze gotuje i rumieni potrawy równomiernie na całej powierzchni. W tym trybie można również gotować różne potrawy w tym samym czasie, o ile ich temperatury gotowania są takie same. Można używać maksymalnie 2 poziomów rusztu jednocześnie, postępując zgodnie z instrukcjami w sekcji zatytułowanej "Pieczenie na więcej niż jednym ruszcie".
Ten tryb pieczenia jest idealny do zapiekanek lub potraw, które wymagają dłuższego czasu gotowania.
Ponadto doskonały rozkład ciepła umożliwia stosowanie niższych temperatur podczas pieczenia mięs. Powoduje to mniejszą utratę soków, mięso jest bardziej kruche i zmniejsza się utrata wagi pieczeni.
Tryb wentylacji jest szczególnie odpowiedni do gotowania ryb, które można przygotować z dodatkiem ograniczonej ilości przypraw, zachowując w ten sposób ich smak i wygląd.
Tryb wentylacji można również wykorzystać do rozmrażania białego lub czerwonego mięsa, ryb i chleba, ustawiając temperaturę na 80°-100°C. Aby rozmrozić delikatniejsze produkty, ustaw termostat na 60°C lub użyj tylko funkcji cyrkulacji zimnego powietrza, ustawiając termostat na 0°C.
Grill
Ustaw termostat na "C": Max.
Włączy się centralny element grzejny grilla. Element grzejny żarowy gotuje potrawy za pomocą promieniowania cieplnego skierowanego w dół. Niezwykle wysoka i bezpośrednia temperatura grilla umożliwia zrumienienie powierzchni mięs i pieczeni, jednocześnie zatrzymując soki, aby zachować ich kruchość.
Podwójny grill
Ustaw termostat na "C": Max.
Oba elementy grzejne grilla są aktywowane. Ten powiększony grill ma całkowicie nową konstrukcję, zwiększającą wydajność gotowania o 50%. Podwójny grill eliminuje również kieszenie nienagrzanego powietrza w rogach piekarnika.
Wentylowany podwójny grill
Ustaw termostat na "C": między 60°C a 200°C.
Oba elementy grzejne grilla są aktywowane, a także wentylator. To połączenie funkcji zwiększa skuteczność jednokierunkowego promieniowania cieplnego elementów grzejnych poprzez wymuszony obieg powietrza w całym piekarniku. Pomaga to zapobiegać przypalaniu się potraw na powierzchni, umożliwiając wnikanie ciepła do wnętrza potrawy.
Timer (D)
Aby użyć timera, należy go nakręcić za pomocą pokrętła "D". Obróć pokrętło prawie o pełny obrót w kierunku zgodnym z ruchem wskazówek zegara
.
Następnie obróć pokrętło z powrotem
, i ustaw czas, umieszczając liczbę (minuty) na tarczy pokrętła pod znakiem na panelu sterowania.
Oświetlenie piekarnika
Światło włącza się, gdy pokrętło "B" zostanie przekręcone na ustawienie
. Światło oświetla piekarnik i pozostaje włączone, gdy którykolwiek z elementów grzejnych jest włączony.
Wymuszona wentylacja powietrza
W celu zmniejszenia temperatury zewnętrznej piekarnika, niektóre modele zostały wyposażone w wentylator chłodzący, który włącza się, gdy pokrętło "B" zostanie przekręcone na ustawienie pieczenia. Wentylator pozostaje włączony podczas procesu pieczenia i słychać przepływ powietrza wydostającego się między drzwiczkami piekarnika a panelem sterowania.
Po zakończeniu pieczenia dobrze jest pozostawić wentylator włączony na kilka minut, ustawiając pokrętło termostatu na "•", aby piekarnik mógł szybko ostygnąć.
Trzecia szyba piekarnika
Urządzenie to jest zgodne ze wszystkimi odpowiednimi normami europejskimi dotyczącymi temperatur powierzchni, jednak w celu dalszego obniżenia temperatury drzwiczek piekarnika i zmniejszenia zużycia energii, dostępny jest dodatkowy zestaw jako opcja dodatkowa. Należy rozważyć zamontowanie tego zestawu, jeśli pożądane jest oszczędzanie energii lub jeśli w pobliżu mogą przebywać małe dzieci. Aby zakupić dodatkowy zestaw o kodzie 053413, skontaktuj się z najbliższym centrum serwisowym Merloni.
Ostrzeżenie
Podczas korzystania z rożna do pieczenia (jeśli jest obecny) należy używać tylko dolnej półki piekarnika. W przypadku wszystkich innych rodzajów pieczenia nigdy nie używaj dolnej półki i nigdy nie kładź niczego na dnie piekarnika, gdy jest on włączony, ponieważ może to uszkodzić emalię. Zawsze umieszczaj naczynia (talerze, folia aluminiowa itp.) na ruszcie dostarczonym z urządzeniem, włożonym specjalnie wzdłuż prowadnic piekarnika.
Jak utrzymać piekarnik w dobrej kondycji
Przed czyszczeniem piekarnika lub wykonywaniem czynności konserwacyjnych należy odłączyć go od zasilania.
Aby przedłużyć żywotność piekarnika, należy go często czyścić, pamiętając o tym, że:
- Panele samoczyszczące (jeśli są obecne) i części emaliowane należy myć ciepłą wodą - należy unikać proszków ściernych i substancji żrących;
- Wnętrze piekarnika należy czyścić natychmiast po użyciu ciepłą wodą z mydłem; mydło należy spłukać, a wnętrze dokładnie wysuszyć;
- Stal nierdzewna może ulec zabrudzeniu, jeśli pozostaje w kontakcie z agresywnymi detergentami (zawierającymi fosfor) lub wodą o wysokiej zawartości wapna. Zalecamy dokładne spłukanie tych części i dokładne wysuszenie po czyszczeniu. Dobrze jest również osuszyć wszelkie rozlane płyny;
- Nigdy nie wyściełaj dna piekarnika folią aluminiową, ponieważ nagromadzenie ciepła nie tylko utrudni proces pieczenia, ale może również uszkodzić emalię.
Wymiana żarówki w piekarniku
- Odłącz zasilanie piekarnika, wyłączając przełącznik wielobiegunowy podłączający go do sieci lub wyjmując wtyczkę, jeśli jest dostępna;
- Odkręć szklaną osłonę przymocowaną do oprawki żarówki;
- Odkręć żarówkę i wymień ją na inną żarówkę wysokotemperaturową (300°C) o następujących cechach:
- Napięcie: 230/240 V
- Moc: 25W
- Gniazdo: E14
- Zamontuj ponownie szklaną osłonę i podłącz urządzenie do zasilania.
![]()
Praktyczne porady dotyczące gotowania
Rozgrzewanie wstępne
Jeśli piekarnik musi być wstępnie rozgrzany (zazwyczaj ma to miejsce podczas pieczenia ciast drożdżowych), można użyć trybu
"wentylacja" (wentylacja), aby jak najszybciej osiągnąć żądaną temperaturę i zaoszczędzić energię.
Po umieszczeniu potrawy w piekarniku można wybrać najbardziej odpowiedni tryb pieczenia.
Pieczenie na więcej niż jednej półce
Jeśli musisz piec na więcej niż jednej półce jednocześnie, używaj tylko trybu
"wentylacja" (wentylacja), ponieważ jest to jedyny tryb odpowiedni do tego rodzaju pieczenia.
- Piekarnik ma 5 poziomów półek. Podczas pieczenia w trybie wentylacji używaj kombinacji dwóch z trzech środkowych poziomów półek. Najwyższy i najniższy poziom półek mają bardziej bezpośredni kontakt z gorącym powietrzem krążącym w piekarniku, a używanie tych poziomów może spowodować przypalenie delikatniejszych potraw;
- Ogólnie rzecz biorąc, używaj drugiego i czwartego poziomu półek do potraw, które wymagają więcej ciepła. Na przykład, podczas pieczenia pieczeni razem z innymi potrawami, umieść pieczeń na drugim poziomie półki, a czwarty użyj do delikatniejszych potraw;
- Podczas pieczenia potraw, które wymagają różnych temperatur i/lub czasów pieczenia, ustaw temperaturę na wartość pomiędzy temperaturami wymaganymi dla obu potraw i umieść delikatniejszą potrawę na czwartym poziomie półki. Następnie wyjmij najpierw potrawę o krótszym czasie pieczenia;
- Użyj ociekacza na dolnym poziomie półki, a grilla na górnym;
- Podczas pieczenia ciast na dwóch półkach jednocześnie, użyj trzeciego i czwartego poziomu półek, a nie drugiego, ponieważ dociera do niego zbyt dużo ciepła.
Korzystanie z grilla
Piekarnik wielofunkcyjny oferuje trzy różne tryby grillowania.
Użyj ustawienia
"grill" (grill) dla małych porcji. Chociaż zużycie energii elektrycznej wynosi zaledwie 1200 W, pozwala doskonale grillować małe porcje, takie jak tosty, hot dogi itp.
Umieść jedzenie pod środkiem grilla, ponieważ włączona jest tylko środkowa część górnego elementu grzejnego. Jedzenie umieszczone w rogach nie ugotuje się prawidłowo.
Ustawienie
"Double Grill" (Podwójny Grill) pozwala grillować na całej powierzchni grilla. Użyj tego trybu, gdy masz jedzenie równomiernie rozłożone w piekarniku i chcesz równomiernie zrumienić potrawy.
"Ventilated Double Grill" (Wentylowany Podwójny Grill) jest niezwykle przydatny do szybkiego grillowania potraw, ponieważ rozprowadzanie ciepła umożliwia nie tylko zrumienienie powierzchni, ale także ugotowanie dolnej części.
Tryb ten może być również używany do zrumieniania potraw pod koniec procesu gotowania.
Podczas korzystania z któregokolwiek z trzech trybów grillowania zaleca się ustawienie pokrętła termostatu na najwyższe ustawienie, ponieważ jest to najskuteczniejszy sposób korzystania z grilla (który wykorzystuje promienie podczerwone). W razie potrzeby termostat można jednak ustawić na niższe temperatury, po prostu przekręcając pokrętło na żądane ustawienie. Podczas korzystania z grilla umieść ruszt na niższych poziomach (patrz tabela pieczenia). Aby zebrać tłuszcz i zapobiec powstawaniu dymu, umieść ociekacz na dolnym poziomie rusztu.
Grillowanie musi odbywać się przy częściowo otwartych drzwiach, aby uniknąć wydłużenia czasu grillowania.
Uwaga: Podczas korzystania z "Ventilated Double Grill" (Wentylowany Podwójny Grill), drzwiczki piekarnika muszą być zamknięte.
Pieczenie ciast
Podczas pieczenia ciast zawsze umieszczaj je w piekarniku po jego wstępnym rozgrzaniu. Upewnij się, że poczekasz, aż piekarnik zostanie dokładnie rozgrzany (czerwona lampka "E" zgaśnie). Nie otwieraj drzwiczek podczas pieczenia ciasta, aby zapobiec jego opadnięciu.
Ciasta nie mogą być zbyt rzadkie, ponieważ spowoduje to wydłużenie czasu pieczenia. Ogólnie rzecz biorąc:
Ciasto jest zbyt suche
Zwiększ temperaturę o 10°C i skróć czas pieczenia.
Ciasto opadło
Użyj mniej płynu lub obniż temperaturę o 10°C.
Ciasto jest zbyt ciemne na górze
Umieść je na niższej półce, obniż temperaturę i wydłuż czas pieczenia.
Dobrze upieczone w środku, ale lepkie na zewnątrz
Użyj mniej płynu, obniż temperaturę i wydłuż czas pieczenia.
Ciasto przywiera do formy
Dobrze natłuść formę i posyp ją mąką.
Użyłem więcej niż jednego poziomu i nie wszystkie są w tym samym punkcie pieczenia
Użyj niższej temperatury. Nie jest konieczne wyjmowanie jedzenia ze wszystkich półek w tym samym czasie.
Pieczenie pizzy
Aby uzyskać najlepsze rezultaty podczas pieczenia pizzy, użyj trybu "wentylacja mode" (tryb wentylacji)
:
- Rozgrzej piekarnik przez co najmniej 10 minut;
- Użyj lekkiej aluminiowej blachy do pizzy, umieszczając ją na ruszcie dostarczonym z piekarnikiem. Użycie ociekacza wydłuży czas pieczenia, utrudniając uzyskanie chrupiącej skórki;
- Nie otwieraj często drzwiczek piekarnika podczas pieczenia pizzy;
- Jeśli pizza ma dużo dodatków (trzy lub cztery), zaleca się umieszczenie sera mozzarella na wierzchu w połowie procesu pieczenia;
- Podczas pieczenia więcej niż jednej pizzy jednocześnie, użyj poziomów półek 2 i 4 w temperaturze 220°C. Rozgrzej piekarnik przez co najmniej 10 minut. Ogólnie rzecz biorąc, pizza na poziomie półki 4 piecze się nieco wolniej. Dlatego najpierw wyjmij pizzę z poziomu półki 2 i pozostaw drugą w piekarniku na kilka minut dłużej.
Pieczenie ryb i mięsa
Mięso musi ważyć co najmniej 1 kg, aby zapobiec jego wysychaniu. Podczas pieczenia białego mięsa, drobiu i ryb używaj niskich temperatur (150°C-175°C). W przypadku czerwonego mięsa, które powinno być dobrze wysmażone na zewnątrz, a jednocześnie delikatne i soczyste w środku, dobrym pomysłem jest rozpoczęcie od wysokiej temperatury (200°C-220°C) przez krótki czas, a następnie zmniejszenie temperatury piekarnika. Ogólnie rzecz biorąc, im większa pieczeń, tym niższa temperatura. Umieść mięso na środku rusztu i umieść pod nim ociekacz, aby zebrać tłuszcz.
Upewnij się, że ruszt jest włożony tak, aby znajdował się na środku piekarnika. Jeśli chcesz zwiększyć ilość ciepła od dołu, użyj niskich poziomów rusztu. W przypadku pikantnych pieczeni (zwłaszcza kaczki i dziczyzny) przykryj mięso słoniną lub boczkiem na wierzchu.
Selection knob (pokrętło wyboru) | Food to be cooked (potrawa do upieczenia) | Wt. (Kg) | Cooking position from bottom (pozycja pieczenia od dołu) | Heating time (min.) | Thermostat knob (pokrętło termostatu) | Cooking time (czas pieczenia) (min.) |
1 Static (Statyczny) | Roast pork (pieczeń wieprzowa) | 0,5 | 2 | 15 | 200 | 35 |
| Roast veal (pieczeń cielęca) | 0,5 | 2 | 15 | 200 | 30 | |
| Duck (kaczka) | 0,5 | 1-2 | 15 | 200 | 30-35 | |
| Meringues (beza) | - | 2 | 10 | 100 | 60-75 | |
| Biscuits (ciasteczka) | - | 2 | 10 | 140 | 15-20 | |
2 Fan oven cooking (Pieczenie z termoobiegiem) | Pizza | 1 | 2 | 15 | 220 | 20-35 |
| Lasagne | 1 | 3 | 10 | 180 | 30-35 | |
| Baked noodles (zapiekanka z makaronem) | 1 | 3 | 10 | 180 | 20-30 | |
| Lamb (jagnięcina) | 1 | 2 | 10 | 180 | 40-45 | |
| Chicken (kurczak) | 1 | 2 | 10 | 180 | 60-75 | |
| Mackerel (makrela) | 1 | 2 | 10 | 180 | 50-55 | |
| Red porgy (pagrus) | 1,5 | 2 | 10 | 180 | 55-60 | |
| Chocolate cake (ciasto czekoladowe) | 1 | 3 | 10 | 160 | 50-60 | |
3 Grill (Grill) | Sole and cuttle fish (podeszwa i mątwa) | 1 | 4 | 5 | Max | 8 |
| Squid and shrimp on spits (kalmary i krewetki na rożnach) | 1 | 4 | 5 | Max | 4 | |
| Cod steaks (steki z dorsza) | 1 | 4 | 5 | Max | 10 | |
| Grilled vegetables (grillowane warzywa) | 1 | 3-4 | 5 | Max | 8-10 | |
4 Double Grill (Podwójny Grill) | Veal steaks (steki cielęce) | 1 | 4 | 5 | Max | 15-20 |
| Cutlets (kotlety) | 1,5 | 4 | 5 | Max | 25 | |
| Hamburgers (hamburgery) | 1 | 3 | 5 | Max | 7 | |
| Caballas (makrele) | 1 | 4 | 5 | Max | 20-25 | |
| 5 Ventilated (Wentylowany) Double Oven (Podwójny Piekarnik) | Grilled chicken (grillowany kurczak) | 1,5 | 2 | 5 | 200 | 55-60 |
| Cuttle fish (mątwa) | 1,5 | 2 | 5 | 200 | 40-45 |
NB: czasy pieczenia są przybliżone i mogą się różnić w zależności od indywidualnych upodobań.
Bezpieczeństwo to dobry nawyk, który warto wdrożyć
Aby zachować WYDAJNOŚĆ i BEZPIECZEŃSTWO tego urządzenia, zalecamy:
- korzystanie wyłącznie z SERWISU PRODUCENTA
- korzystanie wyłącznie z ORYGINALNYCH Części Zamiennych
- To urządzenie jest przeznaczone do użytku domowego, nieprofesjonalnego, a jego funkcje nie mogą być zmieniane.
- Niniejsze instrukcje są ważne tylko dla krajów, których symbole znajdują się w instrukcji i na tabliczce znamionowej.
- System elektryczny tego urządzenia może być bezpiecznie używany tylko wtedy, gdy jest prawidłowo podłączony do sprawnego systemu uziemienia, zgodnie z obowiązującymi normami bezpieczeństwa.
Następujące elementy są potencjalnie niebezpieczne i dlatego należy podjąć odpowiednie środki, aby zapobiec kontaktowi dzieci i osób niepełnosprawnych z nimi:
- Elementy sterujące i urządzenie w ogóle;
- Opakowanie (torby, polistyren, gwoździe itp.);
- Urządzenie bezpośrednio po użyciu piekarnika lub grilla ze względu na wytwarzane ciepło;
- Urządzenie, gdy nie jest już używane (potencjalnie niebezpieczne części muszą być zabezpieczone).
Należy unikać następujących sytuacji:
- Dotykania urządzenia mokrymi częściami ciała;
- Używania urządzenia na boso;
- Ciągnięcia za urządzenie lub przewód zasilający w celu odłączenia go od gniazdka elektrycznego;
- Zasłaniania otworów wentylacyjnych lub odprowadzających ciepło;
- Dopuszczania do kontaktu przewodów zasilających małych urządzeń z gorącymi częściami urządzenia;
- Wystawiania urządzenia na działanie czynników atmosferycznych (deszcz, słońce);
- Używania piekarnika do przechowywania;
- Używania łatwopalnych cieczy w pobliżu urządzenia;
- Używania adapterów, listew zasilających i/lub przedłużaczy;
- Próby instalacji lub naprawy urządzenia bez pomocy wykwalifikowanego personelu.
W następujących przypadkach należy skontaktować się z wykwalifikowanym personelem:
- Instalacja (zgodnie z instrukcjami producenta);
- W razie wątpliwości co do obsługi urządzenia;
- Wymiana gniazdka elektrycznego, gdy nie jest ono kompatybilne z wtyczką urządzenia.
W następujących przypadkach należy skontaktować się z Autoryzowanymi Centrami Serwisowymi producenta:
- W razie wątpliwości co do stanu urządzenia po wyjęciu go z opakowania;
- Jeśli przewód zasilający został uszkodzony lub wymaga wymiany;
- Jeśli urządzenie ulegnie awarii lub działa nieprawidłowo; należy poprosić o oryginalne części zamienne.
Dobrze jest zrobić, co następuje:
- Używaj urządzenia tylko do gotowania żywności, do niczego innego;
- Sprawdź stan urządzenia po rozpakowaniu;
- odłącz urządzenie od sieci elektrycznej, jeśli nie działa prawidłowo oraz przed czyszczeniem lub wykonywaniem czynności konserwacyjnych;
- Gdy urządzenie nie jest używane przez dłuższy czas, odłącz zasilanie i zamknij zawór gazu (jeśli występuje);
- Używaj rękawic kuchennych, aby umieścić naczynia w piekarniku lub podczas ich wyjmowania;
- Zawsze chwytaj drzwi piekarnika na środku, ponieważ końce mogą być gorące z powodu ulatniającego się gorącego powietrza;
- Upewnij się, że pokrętła sterujące znajdują się w pozycji "•"/"o", gdy urządzenie nie jest używane;
- Przetnij przewód zasilający po odłączeniu go od sieci, gdy zdecydujesz, że nie będziesz już używać urządzenia.
- Producent nie ponosi odpowiedzialności za jakiekolwiek szkody, które mogą wyniknąć z nieprawidłowej instalacji lub niewłaściwego, nieprawidłowego lub nierozsądnego użytkowania urządzenia.
Instalacja
Przed wykonaniem jakichkolwiek regulacji lub prac konserwacyjnych należy odłączyć zasilanie urządzenia.
Instalacja piekarników do zabudowy
Aby zapewnić prawidłowe działanie urządzenia do zabudowy, szafka, w której się znajduje, musi być odpowiednia.
Poniższy rysunek przedstawia wymiary wycięcia do instalacji pod blatem lub w szafce ściennej.

Aby zapewnić odpowiednią wentylację, tylny panel szafki musi zostać usunięty. Preferowane jest zainstalowanie piekarnika tak, aby spoczywał na dwóch listwach drewnianych.
W przypadku, gdy piekarnik spoczywa na ciągłej, płaskiej powierzchni, musi znajdować się otwór o wymiarach co najmniej 45 x 560 mm.

Aby przymocować piekarnik do szafki, otwórz drzwi piekarnika i przymocuj go, wkręcając 4 wkręty do drewna w 4 otwory znajdujące się na obwodzie ramy.

Panele sąsiednich szafek muszą być wykonane z materiału odpornego na ciepło. W szczególności szafki z zewnętrzną okleiną muszą być montowane za pomocą klejów wytrzymujących temperatury do 100°C.
Zgodnie z obowiązującymi normami bezpieczeństwa, kontakt z częściami elektrycznymi piekarnika nie może być możliwy po jego zainstalowaniu.
Wszystkie części zapewniające bezpieczną pracę urządzenia nie mogą być usuwane bez użycia narzędzia.
Podłączenie elektryczne
Piekarniki wyposażone w trójbiegunowy przewód zasilający są przeznaczone do pracy z prądem przemiennym o napięciu i częstotliwości wskazanej na tabliczce znamionowej (znajdującej się na urządzeniu) oraz w instrukcji obsługi. Przewód uziemiający urządzenie ma kolor żółto-zielony.
Podłączenie elektryczne
Piekarniki z trójbiegunowym kablem zasilającym są przeznaczone do pracy z prądem przemiennym o częstotliwości i napięciu zasilania wskazanym na tabliczce znamionowej (na dole panelu piekarnika). Przewodem uziemiającym kabla jest przewód żółto-zielony.
Przewidziano dwa rodzaje połączeń:
Połączenie n° 1
Podłączanie kabla zasilającego do sieci.
Zamontuj znormalizowaną wtyczkę do kabla, która odpowiada obciążeniu wskazanemu na tabliczce znamionowej; jeśli kuchenka jest podłączona bezpośrednio do sieci, między urządzeniem a siecią należy zainstalować wielobiegunowy wyłącznik automatyczny o minimalnym otwarciu 3 mm między stykami, odpowiedni dla wskazanego obciążenia i zgodny z obowiązującymi dyrektywami (przewód uziemiający nie może być przerwany przez wyłącznik automatyczny). Kabel zasilający musi być umieszczony w taki sposób, aby w żadnym punkcie jego długości nie przekraczał temperatury pokojowej o 50°C. Przed dokonaniem podłączenia sprawdź, czy:
- wyłączniki automatyczne lub bezpieczniki domowej instalacji mogą wytrzymać obciążenie urządzenia (patrz tabliczka znamionowa);
- system zasilania ma sprawne uziemienie, które jest zgodne z przepisami obowiązujących regulacji i prawa;
- istnieje łatwy dostęp do gniazdka lub wielobiegunowego wyłącznika automatycznego po zainstalowaniu kuchenki.
Uwaga: nie używaj reduktorów, adapterów ani boczników, ponieważ mogą one spowodować nagrzewanie lub spalenie.
Połączenie n° 2
Utylizacja wtyczki.
TO URZĄDZENIE MUSI BYĆ UZIEMIONE.
Upewnij się, że przed utylizacją samej wtyczki, uniemożliwisz użycie pinów, aby nie można było przypadkowo włożyć jej do gniazdka. Instrukcje dotyczące podłączania kabla do alternatywnej wtyczki:
przewody w przewodzie zasilającym są oznaczone kolorami zgodnie z następującym kodem:
Zielony i żółty -Uziemienie
Niebieski -Neutralny
Brązowy -Faza
Jeśli kolory przewodów w przewodzie zasilającym nie odpowiadają kolorowym oznaczeniom identyfikującym zaciski we wtyczce, postępuj w następujący sposób.
Podłącz przewód zielony i żółty do zacisku oznaczonego "E" lub
lub kolorem zielonym lub zielonym i żółtym.
Podłącz przewód brązowy do zacisku oznaczonego "L" lub kolorem czerwonym.
Podłącz przewód niebieski do zacisku oznaczonego "N" lub kolorem czarnym. Jeśli używana jest wtyczka 13-amperowa (BS 1363), musi być wyposażona w bezpiecznik 13-amperowy.
Wtyczka 15-amperowa musi być zabezpieczona bezpiecznikiem 15-amperowym, albo we wtyczce, albo w adapterze, albo w tablicy rozdzielczej. Jeśli masz jakiekolwiek wątpliwości co do zasilania twojego urządzenia, przed użyciem skonsultuj się z wykwalifikowanym elektrykiem.
Jak podłączyć alternatywną wtyczkę
Przewody w tym przewodzie zasilającym są oznaczone kolorami zgodnie z następującym kodem:
NIEBIESKI "NEUTRALNY" (N)
BRĄZOWY "FAZA" (L)
ZIELONY I ŻÓŁTY "UZIEMIENIE" (E)

Utylizacja urządzenia
Podczas utylizacji urządzenia należy usunąć wtyczkę, przecinając kabel zasilający jak najbliżej korpusu wtyczki i zutylizować go w sposób opisany powyżej.
Specyfikacja techniczna
Wymiary wewnętrzne piekarnika:
Szerokość: 40,5 cm
Głębokość: 39 cm
Wysokość: 32,5 cm
Pojemność wewnętrzna piekarnika:
51 litrów
Zużycie energii:
Aby osiągnąć 200°C: 0,45 kWh
Aby utrzymać temperaturę. przy 200°C przez 1 godzinę: 0,7 kWh
Razem: 1,15 kWh
Napięcie i częstotliwość zasilania:
230-240V / 50 - 60Hz / 1900-2000 W
To urządzenie jest zgodne z następującymi dyrektywami Europejskiej Wspólnoty Gospodarczej:

- 73/23/EEC z 19.02.73 (Niskie napięcie) i późniejsze
- 89/336/EEC z 03.05.89 (Kompatybilność elektromagnetyczna) i późniejsze modyfikacje;
- 93/68/EEC z 22.07.93 i późniejsze modyfikacje.
Pobierz instrukcję
Tutaj możesz pobrać pełną wersję instrukcji w formacie pdf, może ona zawierać dodatkowe instrukcje bezpieczeństwa, informacje o gwarancji, przepisy FCC itp.
Pobierz Ariston FM 51 IX GB - Instrukcja obsługi piekarnika wielofunkcyjnego
