Manual de Instalação do Gateway de Dados Sem Fios NETGEAR DOCSIS 3.0 AC1900 C6300BD

Conteúdo da Embalagem

Começar

- Ligue um cabo coaxial.
Utilize um cabo coaxial fornecido pela sua operadora de cabo para ligar a porta do cabo no gateway a uma tomada de parede para cabo ou a um divisor de linha (A). - Ligue o adaptador de corrente.
Ligue o adaptador de corrente ao gateway e ligue o adaptador de corrente a uma tomada elétrica (B). O LED de alimentação
acende a verde. - Ligue um computador ao gateway.
Utilize um cabo Ethernet para ligar um computador à porta Ethernet no gateway (C). Também pode ligar-se por WiFi. Utilize o nome da rede WiFi e a palavra-passe no rótulo do produto. - Inicie sessão no gateway.
Inicie um navegador da web. O menu do gateway é exibido.
Se não vir o menu do gateway, introduza http://routerlogin.net ou http://192.168.0.1 no campo de endereço do navegador da web. Quando solicitado, introduza admin para o nome de utilizador e password para a palavra-passe. - Obtenha a aplicação genie.
Descarregue a aplicação gratuita genie em www.NETGEAR.com/genie. Partilhe facilmente multimédia e ficheiros na rede a partir do seu smartphone, tablet ou portátil.
Pode utilizar os botões e os LEDs na parte frontal do gateway para verificar o seu estado.
| Botão | Descrição |
WPS![]() |
Ao premir este botão, abre-se uma janela de dois minutos para que o gateway se ligue a outros dispositivos com WPS ativado. O LED pisca a verde durante o tempo em que a janela está aberta. |
WiFi![]() |
O botão WiFi está desativado. |
| LED | Descrição |
Alimentação (Power)![]() |
|
Canal de downstream![]() |
|
Canal de upstream![]() |
|
Online![]() |
|
Rádio WiFi![]() |
|
1 a 4 LAN![]() |
Verde indica 1.000 Mbps. Âmbar indica 100/10 Mbps.
|
Ligar-se à Rede WiFi do Gateway
Para ligar o seu computador ou dispositivo WiFi (como um smartphone ou dispositivo de jogos) à rede WiFi do seu gateway, pode utilizar o método manual ou o método Wi-Fi Protected Setup (WPS).
Suporte
Contacte o seu fornecedor de serviços de Internet por cabo para obter suporte técnico.
Para a Declaração de Conformidade da UE atual, visite http://support.netgear.com/app/answers/detail/a_id/11621/.
Para obter informações sobre conformidade regulamentar, visite http://www.netgear.com/about/regulatory/.
Nota para o Instalador do Sistema CATV
Este lembrete é fornecido para chamar a atenção do instalador do sistema CATV para a Secção 820-93 do Código Elétrico Nacional, que fornece diretrizes para uma ligação à terra adequada e, em particular, especifica que a blindagem do cabo coaxial deve ser ligada ao sistema de ligação à terra do edifício o mais próximo possível do ponto de entrada do cabo.
Ao instalar ou realinhar um sistema de antena exterior, tenha muito cuidado para evitar qualquer contacto com linhas ou circuitos de energia. O contacto pode ser fatal.
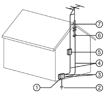
Referência à Figura de Ligação à Terra

Os números na figura à direita indicam os seguintes itens:
- Equipamento de serviço elétrico
- Sistema de eletrodo de ligação à terra do serviço de energia (NEC Art 250, Parte H)
- Braçadeiras de terra
- Condutores de ligação à terra (Secção 810-21 do NEC)
- Unidade de descarga da antena (Secção 810-20 do NEC)
- Braçadeira de terra
- Fio de entrada da antena
NETGEAR, o logótipo NETGEAR e Connect with Innovation são marcas comerciais e/ou marcas comerciais registadas da NETGEAR, Inc. e/ou das suas subsidiárias nos Estados Unidos e/ou noutros países.
As informações estão sujeitas a alterações sem aviso prévio.
© NETGEAR, Inc. Todos os direitos reservados.

Referências
Router Login & Setup | NETGEAR
NETGEAR Nighthawk App | NETGEAR
EU Declarations of Conformity | Answer | NETGEAR Support
Regulatory | NETGEAR
Descarregar manual
Aqui pode descarregar a versão completa em PDF do manual, ela pode conter instruções de segurança adicionais, informações de garantia, regras da FCC, etc.
Descarregar Manual de Instalação do Gateway de Dados Sem Fios NETGEAR DOCSIS 3.0 AC1900 C6300BD







