Frigidaire FFAP5033W1 - Manual de utilizare pentru dezumidificator de înaltă umiditate cu capacitate de 50 de pinți

Locație
Selectarea unei locații
- Dezumidificatorul trebuie să funcționeze într-o zonă închisă pentru a fi cât mai eficient. Închideți toate ușile, ferestrele și alte deschideri exterioare ale camerei. Eficacitatea dezumidificatorului depinde de rata cu care aerul nou încărcat cu umiditate intră în cameră.
- Așezați dezumidificatorul într-un loc care să nu restricționeze fluxul de aer al prizei și al orificiului de evacuare a aerului.
- Un dezumidificator care funcționează într-un subsol va avea un efect redus sau deloc asupra uscării unei zone de depozitare închise adiacente, cum ar fi un dulap, cu excepția cazului în care există o circulație adecvată a aerului în și din zonă. Poate fi necesar să instalați un al doilea dezumidificator în zona închisă pentru o uscare satisfăcătoare.
- Dezumidificatorul trebuie instalat pe o podea plană care să îl susțină cu o găleată plină cu apă.
- Ar trebui să existe un spațiu liber de minimum 12 inci în jurul dezumidificatorului. Unitatea va produce căldură în timpul funcționării și nu trebuie să funcționeze într-un spațiu mic închis, cum ar fi un dulap.
![Frigidaire - FFAP5033W1 - Locație Locație]()
CUM FUNCȚIONEAZĂ
Când unitatea este pornită, ventilatorul începe să tragă aer încărcat cu umiditate peste bobinele de dezumidificare. Bobinele condensează sau extrag umiditatea din aer, iar aerul curge prin jaluzelele de evacuare a aerului în cameră sub formă de aer uscat și cald. Umiditatea îndepărtată din aer este colectată într-o găleată din partea frontală a dezumidificatorului.
Unitatea este proiectată să funcționeze între 41°F (5°C) și 89°F (32°C). Unitatea nu va funcționa corect dacă temperatura este în afara acestui interval de temperatură sau performanța unității va scădea foarte mult.
Circuitul "Compressor" ("Compresor") are o pornire automată întârziată de 3 minute dacă unitatea este oprită și pornită rapid. Acest lucru previne supraîncălzirea compresorului și posibila declanșare a întrerupătorului. Asigurați-vă că rezervorul este montat corect, altfel unitatea nu se va porni.
Diagramă de cablare

Caracteristicile dezumidificatorului
CONTROL ELECTRONIC
Înainte de a începe, familiarizați-vă temeinic cu panoul de control și cu toate funcțiile sale (așa cum se arată mai jos).

- Butonul de resetare a filtrului Check Filter Reset Button
- Indicatorul de găleată plină Bucket Full Indicator
- Afișează umiditatea Displays Humidity
- Pornește sau oprește unitatea Turns Unit On Or Off
- Setează viteza ventilatorului Sets Fan Speed
- Ajustează umiditatea Adjusts Humidity
- Setează temporizatorul Sets Timer
- Funcția de pompare Pump Feature
Instrucțiuni de operare
Permiteți unității să ajungă la temperatura camerei înainte de operare.
Pentru a începe operarea dezumidificatorului, urmați acești pași:
NOTĂ
Unitatea trebuie să fie în poziție verticală timp de o oră înainte de operare.
- Introduceți cablul de alimentare într-o priză de 115 volți AC împământată corespunzător.
NOTĂ
Dacă indicatorul luminos "BUCKET FULL" ("Găleată plină") este aprins, scoateți găleata și reinstalați-o pentru a reseta întrerupătorul cu flotor.
![]()
- Pentru a porni unitatea, apăsați butonul ON/OFF (PORNIT/OPRIT). Unitatea va funcționa în setarea din fabrică CONTINUOUS (CONTINUU) și viteză mare a ventilatorului. În modul CONTINUOUS (CONTINUU), unitatea va afișa doar CO și nu umiditatea camerei. Se recomandă să lăsați unitatea să funcționeze în setarea CONTINUOUS (CONTINUU) timp de primele trei sau patru zile până când mirosurile de transpirație și umezeală au încetat.
![]()
- După câteva zile, când umiditatea relativă a scăzut, apăsați butoanele HUMIDITY (UMIDITATE) (
) sau (
) pentru a alege o valoare între 35% și 85%, astfel încât camera să fie menținută la o umiditate confortabilă. Apăsarea butoanelor (
) sau (
) va schimba selecția umidității în incrementări de 5%. La 5 secunde după ce ați setat umiditatea dorită, afișajul va indica umiditatea reală a camerei. Dacă în orice moment doriți să reveniți la modul CONTINUOUS (CONTINUU), apăsarea butonului HUMIDITY (UMIDITATE) (
) va reduce umiditatea relativă prin decrementări de 5% până când afișajul indică CO.
![]()
- Puteți utiliza, de asemenea, butonul FAN SPEED (VITEZA VENTILATORULUI) pentru a schimba viteza ventilatorului la Hi (Mare), Med (Medie) sau Lo (Mică). Indicatorul luminos va arăta setarea pe care ați selectat-o. O viteză mai mare a ventilatorului va duce la o îndepărtare mai rapidă a umidității.
![]()
- Indicatorul luminos Filter reset (Resetare filtru) se va aprinde după 250 de ore de funcționare. În acest moment, consultați secțiunea de îngrijire și curățare pentru a scoate și curăța filtrul. Odată ce filtrul a fost curățat și înlocuit, pur și simplu apăsați butonul Filter reset (Resetare filtru) pentru a stinge indicatorul luminos.
![]()
- Funcția TIMER (TIMER) vă permite fie să întârziați pornirea, fie să întârziați oprirea unității, alegând de la 0,5 ore la 24 de ore. Dacă unitatea funcționează, selectarea Timer (Timer) va opri unitatea în orele care vor fi setate (Delay Stop - Oprire întârziată). Dacă unitatea este oprită, selectarea Timer (Timer) va porni unitatea în orele care vor fi setate (Delay Start - Pornire întârziată). Setarea TIMER (TIMER): Mai întâi apăsați butonul TIMER (TIMER), apoi ajustați setarea timerului, atingând sau menținând apăsat butonul (
) sau (
) pentru a schimba timerul de întârziere în incrementări de 0,5 ore, până la 10 ore, apoi în incrementări de 1 oră până la 24 de ore. Controlul va număra invers timpul rămas (8, 7.5, 7, etc.) până când unitatea pornește sau se oprește. Pentru Delay Start (Pornire întârziată), viteza ventilatorului și umiditatea menținută vor fi aceleași ca la setarea anterioară. După ce setarea TIMER (TIMER) se termină, apăsarea din nou a butonului TIMER (TIMER) în orice moment va opri funcția TIMER (TIMER). Funcția Delay Start/Stop (Pornire/Oprire întârziată) va funcționa până când unitatea pornește sau se oprește. Odată ce se întâmplă acest lucru, pașii de mai sus trebuie repetați.
![]()
NOTĂ
- Înainte de a intra în setarea TIMER (TIMER), asigurați-vă că unitatea este alimentată cu energie.
- Înainte de a intra în setarea TIMER (TIMER), asigurați-vă că apăsarea butonului HUMIDITY (UMIDITATE) (
) sau (
) setează mai întâi o umiditate dorită a camerei.
- Apăsați butonul PUMP (POMPĂ), unitatea va intra în modul de pompare a apei. Indicatorul Pump Mode (Mod Pompă) va fi aprins. Când rezervorul de apă este plin cu apă, pompa va începe să pompeze apa automat. Pompa se va opri automat după ce rezervorul de apă s-a golit.
![]()
NOTĂ:
- Furtunul de drenaj al pompei trebuie să fie bine conectat pentru acest mod.
- Dacă indicatorul Pump (Pompă) și indicatorul Bucket Full (Găleată plină) clipesc simultan, după apăsarea butonului Pump (Pompă), verificați dacă furtunul de drenaj al pompei din găleată este instalat corect.
- Pentru a opri unitatea, apăsați butonul ON/OFF (PORNIT/OPRIT).
![]()
Notă: După o pană de curent, unitatea va memora ultima setare și va reveni la aceeași setare odată ce alimentarea este restabilită.
Coduri de eroare
- Dacă pe ecran apare "AS" sau "ES", un senzor a defectat. Contactați Centrul de Service Autorizat Frigidaire.
![]()
- Dacă pe ecran apare "EC", verificați următoarele condiții de funcționare. Tensiunea de la priză trebuie să fie de 115V±10%, iar temperatura ambiantă trebuie să se încadreze în intervalul 41°F până la 89°F. Deconectați unitatea și conectați-o din nou în condiții normale de funcționare. Dacă codul "EC" persistă, contactați Centrul de Service Autorizat Frigidaire.
![]()
- Dacă pe ecran apare "E4", comunicarea dintre PCB-ul afișajului și PCB-ul principal de control este defectuoasă. Contactați Centrul de Service Autorizat Frigidaire.
![]()
- Dacă pe ecran apare "PU", verificați următoarele condiții de funcționare:
- Asigurați-vă că furtunul de drenaj al pompei este bine conectat.
- Verificați dacă furtunul nu este blocat, îndoit sau înghețat.
- Scoateți și goliți găleata de apă pentru a verifica dacă preluarea găleții este blocată de murdărie sau alge.
- Opriți unitatea și reporniți-o în condiții normale de funcționare.
- Deconectați unitatea și conectați-o din nou în condiții normale de funcționare. Dacă codul "PU" persistă, contactați Centrul de Service Autorizat Frigidaire.
![]()
NOTĂ:
- Dacă unitatea dvs. nu pompează apă, trebuie să verificați mai întâi următoarele:
- Verificați dacă pompa este pornită.
- Unitatea nu va pompa până când nu atinge punctul de găleată plină.
- Vă rugăm să urmați pașii descriși în "Golirea găleții" pentru a scoate și goli găleata de apă.
- Vă rugăm să urmați pașii descriși în "Îngrijire și curățare" pentru a curăța unitatea în mod regulat pentru a preveni murdăria sau algele.
- Dacă unitatea dvs. nu pompează apă, trebuie să verificați mai întâi următoarele:
Îndepărtarea apei colectate
1. Golirea găleții:
- Când găleata este plină, unitatea se va opri și indicatorul BUCKET FULL (GĂLEATĂ PLINĂ) se va aprinde.
![]()
- Nu mutați unitatea în acest moment, altfel apa se poate vărsa pe podea.
- Apăsați ușor părțile laterale ale găleții pentru a desprinde găleata de unitate.
- Scoateți găleata așa cum se arată în fotografiile de mai jos și goliți găleata.
![Frigidaire - FFAP5033W1 - Îndepărtarea apei colectate - Pasul 1 Îndepărtarea apei colectate - Pasul 1]()
![Frigidaire - FFAP5033W1 - Îndepărtarea apei colectate - Pasul 2 Îndepărtarea apei colectate - Pasul 2]()
Aruncați apa din găleată. Apa nu este potabilă și nu poate fi folosită pentru băut. - Înlocuiți găleata goală înapoi în unitate și, odată așezată corect, unitatea va porni din nou.
- Ar trebui să auziți un clic când găleata este în poziția corectă.
Dacă indicatorul luminos de găleată plină nu se stinge, verificați dacă flotorul este fixat corect în poziție.

- Drenaj continuu:
- Pentru funcționarea cu drenaj continuu, veți avea nevoie de un furtun de grădină și de un canal de scurgere în apropiere pentru a descărca apa.
- Deșurubați capacul de drenaj de pe partea din spate a unității. (fig.1)
![]()
- Introduceți capătul filetat feminin al furtunului pe conectorul de drenaj al unității. (fig.2)
![]()
- Înșurubați furtunul de grădină pe porțiunea filetată a conectorului de drenaj. (fig.3)
![]()
- Asigurați-vă că furtunul este fixat astfel încât să nu existe scurgeri.
- Direcționați furtunul spre canalul de scurgere, asigurându-vă că nu există îndoiri care să oprească curgerea apei.
- Așezați capătul furtunului în canalul de scurgere. (fig.4)
![]()
- Selectați setarea de umiditate dorită și viteza ventilatorului pe unitate pentru ca drenajul continuu să înceapă.
NOTĂ
- Verificați etanșarea dintre furtun și conectorul de drenaj. Dacă există o scurgere mică, atunci înlocuiți garnitura furtunului și strângeți din nou furtunul.
- Se recomandă utilizarea unui furtun de drenaj pentru dezumidificator - 1/2" (12,7 mm) sau mai mare. Asigurați-vă că nu există îndoiri sau elevații în furtun.
- Când un furtun nu este atașat la conectorul de drenaj, vă rugăm să vă asigurați că capacul de drenaj este înșurubat bine pe conector pentru a preveni scurgerile.
- Funcția de pompare:
Pentru a conecta furtunul de drenaj al pompei:- Apăsați inelul de strângere al îmbinării de drenaj;(fig.11)
![Frigidaire - FFAP5033W1 - Conectați furtunul de drenaj al pompei - Pasul 1 Conectați furtunul de drenaj al pompei - Pasul 1]()
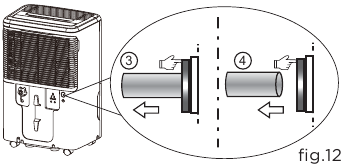
- Țineți apăsat inelul gri în timp ce scoateți ștecherul. (fig.12);
![Frigidaire - FFAP5033W1 - Conectați furtunul de drenaj al pompei - Pasul 2 Conectați furtunul de drenaj al pompei - Pasul 2]()
- Introduceți furtunul de drenaj pe îmbinarea de drenaj, asigurați-vă că este bine conectat, astfel încât să fie complet așezat.
- Așezați celălalt capăt al furtunului de drenaj în locația în care doriți ca apa să ajungă la un canal de scurgere, un recipient de apă sau printr-o fereastră de la subsol spre exterior.
- Apăsați inelul de strângere al îmbinării de drenaj;(fig.11)
Pentru a scoate furtunul de drenaj al pompei:
- Apăsați inelul de strângere al îmbinării de drenaj.
- Scoateți furtunul de drenaj.
- Puneți ștecherul înapoi la îmbinare.
NOTĂ:
- Distanța maximă și înălțimea pot fi de 5 m de la unitate. Depășirea acestei distanțe poate deteriora unitatea sau poate provoca scurgeri.
- Dacă scoateți furtunul pentru a-l utiliza în modul Bucket (Găleată), vă rugăm să reintroduceți ștecherul de drenaj pentru a preveni scurgerile accidentale de apă. (Trebuie să apăsați în continuare inelul de strângere când scoateți furtunul.)
Îngrijire și curățare
- Filtru
Curățați filtrul la fiecare două săptămâni, în funcție de condițiile normale de funcționare.
Pentru a scoate filtrul:- Deschideți grila din spate și scoateți filtrul.
- Spălați filtrul cu apă curată, apoi uscați-l.
- Reinstalați filtrul.
- Carcasă
- Ștergeți carcasa cu o cârpă fără ulei sau cu o cârpă umedă.
- Aspiră grila folosind accesoriul cu perie.
- Găleată de apă
Curățați găleata de apă la fiecare două săptămâni, în funcție de condițiile normale de funcționare.- Curățați găleata cu apă caldă și detergent.
- Curățați filtrul pompei în același timp cu curățarea găleții.
![]()
- Filtru pompă
Curățați filtrul pompei la fiecare două săptămâni, în funcție de condițiile normale de funcționare.- Scoateți găleata de apă din unitate.
- Scoateți șurubul așa cum se arată în fig.20.
![Frigidaire - FFAP5033W1 - Curățați filtrul pompei Curățați filtrul pompei]()
- Scoateți structura de drenaj a pompei și curățați filtrul de la butonul furtunului. fig.21
![]()
- Reinstalați filtrul și structura de drenaj a pompei în găleata de apă.
DEPOZITARE
Când unitatea nu este utilizată, deconectați-o și utilizați înfășurarea cablului prezentată pentru tipul dvs. de model.

Sunete normale

- Sunet de picurare
Sunetul apei care picură poate fi auzit în timpul ciclului de dezumidificare. - Sunet de aer care trece repede
În partea de sus a unității, puteți auzi sunetul aerului care trece repede, fiind mișcat de ventilator. - Gâlgâit/Șuierat
Zgomotul de "gâlgâit sau șuierat" poate fi auzit din cauza agentului frigorific care trece prin evaporator în timpul funcționării normale. - Zgomot ascuțit
Compresoarele de înaltă eficiență de astăzi pot avea un zgomot ascuțit în timpul ciclului de dezumidificare.
ÎNAINTE DE A SUNA
Înainte de a apela pentru service, consultați această listă. Vă poate economisi timp și cheltuieli. Această listă include evenimente comune care nu sunt rezultatul unei manopere sau materiale defectuoase în acest aparat.
| EVENIMENT | SOLUȚIE |
| Dezumidificatorul nu funcționează. |
|
| Dezumidificatorul funcționează prea mult. |
|
| Dezumidificatorul funcționează, dar camera nu este suficient de uscată. |
|
| Apare gheață pe bobinele din spatele filtrului |
|
| Zgomot de ventilator. |
|
Dacă aceste soluții eșuează, sunați la 1-800-944-9044(SUA)/1-800-265-8352(Canada) pentru service Frigidaire.
Frigidaire.com
1-800-944-9044
Frigidaire.ca
1-800-265-8352

Descărcați manualul
Aici puteți descărca versiunea completă pdf a manualului, aceasta poate conține instrucțiuni suplimentare de siguranță, informații despre garanție, reguli FCC etc.



) sau (
) pentru a alege o valoare între 35% și 85%, astfel încât camera să fie menținută la o umiditate confortabilă. Apăsarea butoanelor (




















