Logitech Z207 - Manual de utilizare pentru difuzoare stereo Bluetooth multi-dispozitiv
Cuprins

CUNOAȘTEȚI-VĂ PRODUSUL

CONECTAREA DIFUZOARELOR
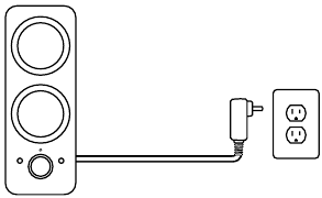
- Conectați ștecherul de alimentare CC la partea din spate a difuzorului din dreapta și conectați adaptorul de curent alternativ la priza electrică.
![]()
- Conectați-vă la mufa audio de 3,5 mm de pe dispozitivul sursă utilizând intrarea auxiliară de 3,5 mm de pe partea din spate a difuzorului din dreapta.
![]()
- (Opțional) Conectați căștile la mufa pentru căști din partea din față a difuzorului din dreapta.
![]()
- Porniți difuzorul folosind butonul de alimentare.
![]()
- Pentru a asocia dispozitivele cu difuzoarele folosind Bluetooth, apăsați butonul de asociere Bluetooth timp de 3 secunde până când LED-ul începe să clipească. Activați Bluetooth pe dispozitivul dvs. și selectați "Logi Z207" pentru a vă conecta la acesta. Apoi, LED-ul se va transforma într-o lumină albastră continuă după asociere.
![]()
REGLAREA VOLUMULUI
- Măriți (sau micșorați) volumul difuzoarelor rotind butonul de control al volumului în sensul acelor de ceasornic (sau în sens invers acelor de ceasornic) pe difuzorul din dreapta.
![Logitech - Z207 - Reglarea volumului Reglarea volumului]()

Referințe
Descărcați manualul
Aici puteți descărca versiunea completă pdf a manualului, aceasta poate conține instrucțiuni suplimentare de siguranță, informații despre garanție, reguli FCC etc.
Descărcați Logitech Z207 - Manual de utilizare pentru difuzoare stereo Bluetooth multi-dispozitiv





