Philips BRR474, BRR464, BRR454 - Руководство по эксплуатации триммера для лица

Введение
Поздравляем с покупкой и приветствуем в Philips! Чтобы в полной мере воспользоваться поддержкой, которую предлагает Philips, зарегистрируйте свой продукт на www.philips.com/welcome.
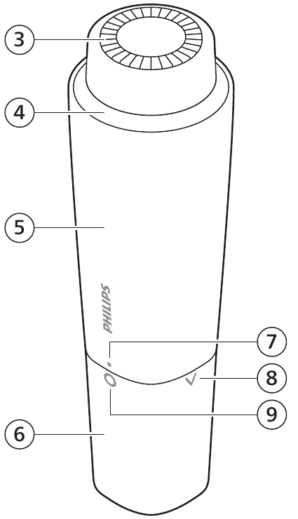
Особенности (Рис. 1)




- Зеркало
- Защитный колпачок
- Головка для удаления волос
- Световое кольцо
- Верхняя часть ручки с батарейным отсеком
- Нижняя часть ручки (крышка батарейного отсека) с функциями включения/выключения и блокировки/разблокировки
- Индикатор настройки
- Индикация "Разблокировано" ('Unlocked' indication)
- Индикация "Выключено" ('Off' indication)
- Щеточка для чистки
- Щелочная батарейка AA 1,5 В
Установка батарейки
Примечание: При работе с батарейками убедитесь, что ваши руки, продукт и батарейки сухие.
- Чтобы снять крышку батарейного отсека, поверните ее до тех пор, пока индикация "разблокировано" (V) не совместится с индикатором настройки (маленькая точка) на верхней части ручки (Рис. 3).
![]()
- Снимите крышку батарейного отсека с ручки (Рис. 4).
![]()
- Вставьте батарейку в батарейный отсек (Рис. 5).
Убедитесь, что полюса + и - батарейки направлены в правильном направлении.
![]()
- Наденьте крышку батарейного отсека обратно на ручку (Рис. 6).
![]()
- Поверните крышку батарейного отсека до тех пор, пока индикация "заблокировано" (O) не совместится с индикатором настройки (маленькая точка) на верхней части ручки (Рис. 7).
![]()
Примечание: Продукт работает от одной одноразовой щелочной батарейки AA 1,5 В.
Проверьте продукт перед использованием
- Всегда проверяйте головку для удаления волос перед использованием, чтобы убедиться, что она чистая, в хорошем состоянии, не повреждена и не изношена (Рис. 8). Поврежденная головка для удаления волос может вызвать раздражение кожи и снижение производительности продукта.
![]()
- Если головка для удаления волос повреждена, прекратите использование продукта и обратитесь в службу поддержки Philips по телефону 1-800-243-7884 (США) или +1 (866) 800 9311 (Канада).
Использование продукта
Продукт предназначен для удаления волос на лице со щек, лба, линии подбородка, между бровями и с области над верхней губой (Рис. 9).

Не используйте его на бровях и участках непосредственно над и под глазами (Рис. 10).

- Снимите защитный колпачок (Рис. 11).
![]()
На верхней части защитного колпачка есть зеркало для удобного использования в дороге (Рис. 12).
![]()
- Чтобы включить продукт, поверните нижнюю часть ручки до тех пор, пока индикация "включено" (l) не совместится с индикатором настройки (черная точка) на верхней части ручки (Рис. 13).
![]()
Световое кольцо загорается (Рис. 14), чтобы вам было лучше видно область, с которой вы удаляете волосы.
![]()
- Приложите головку для удаления волос плашмя к коже и делайте круговые движения (Рис. 15)
![]()
- Чтобы выключить продукт, поверните нижнюю часть ручки до тех пор, пока индикация "выключено" (O) не совместится с индикатором настройки (черная точка) на верхней части ручки (Рис. 16).
![]()
- После каждого использования надевайте защитный колпачок обратно на продукт (Рис. 17), чтобы предотвратить повреждение головки для удаления волос.
![]()
Убедитесь, что вы всегда держите головку для удаления волос плашмя на коже.
Чистка
Держите продукт сухим (Рис. 2).

Очищайте продукт после каждого использования.
- Выключите продукт.
- Чтобы удалить волоски с внешней стороны головки для удаления волос, сначала сдуйте их (Рис. 18), а затем смахните оставшиеся волоски щеточкой для чистки (Рис. 19).
![]()
![]()
- Поверните головку для удаления волос против часовой стрелки и снимите ее с ручки (Рис. 20).
![]()
- Чтобы удалить волоски с внутренней стороны головки для удаления волос, сначала выдуйте их (Рис. 21), а затем вычистите оставшиеся волоски щеточкой для чистки (Рис. 22).
![]()
![]()
- Чтобы удалить волоски из камеры для волос, сначала выдуйте их (Рис. 23), а затем вычистите оставшиеся волоски щеточкой для чистки (Рис. 24).
![]()
![]()
- Установите головку для удаления волос обратно на ручку и поверните ее по часовой стрелке, чтобы закрепить (Рис. 25).
![]()
Хранение
- После каждого использования надевайте защитный колпачок обратно на продукт (Рис. 17), чтобы предотвратить повреждение головки для удаления волос.
![]()
- Вы можете брать продукт с собой в дорогу (Рис. 26) или хранить его в безопасном, сухом месте дома (Рис. 27).
![]()
![]()
Помощь
Для получения помощи посетите наш веб-сайт:
www.philips.com/support или позвоните по бесплатному номеру
1-800-243-7884 (только в США) или
1-866-800-9311 (только в Канаде).
ВАЖНЫЕ ИНСТРУКЦИИ ПО БЕЗОПАСНОСТИ
При использовании электрического продукта всегда следует соблюдать основные меры предосторожности, в том числе следующие:
Прочтите все инструкции перед использованием этого продукта
Чтобы снизить риск ожогов, пожара, поражения электрическим током или травм:
- Держите продукт сухим (Рис. 2).
![]()
- Используйте продукт только в сухом состоянии. Не используйте во время купания или в душе.
- Этот продукт не предназначен для использования лицами (включая детей) с ограниченными физическими, сенсорными или умственными способностями, или с недостатком опыта и знаний, если они не находятся под присмотром или не проинструктированы относительно использования продукта лицом, ответственным за их безопасность. Необходимо следить за детьми, чтобы они не играли с продуктом.
- Используйте этот продукт только для его предполагаемого бытового использования, как описано в данном руководстве. Неправильное использование может привести к опасности или серьезным травмам. Не используйте насадки, не рекомендованные Philips North America LLC. Комплектация может отличаться для разных продуктов.
- Никогда не роняйте и не вставляйте какие-либо предметы в какие-либо отверстия.
- Никогда не используйте этот продукт, если он не работает должным образом, после того, как он был уронен или поврежден, или после того, как продукт упал в воду. Для получения помощи позвоните по телефону 1-800-243-7884 (США) или +1 (866) 800 9311 (Канада).
- Не используйте этот продукт на открытом воздухе и не используйте его там, где используются аэрозольные (спреи) продукты или где подается кислород.
- Используйте только оригинальные аксессуары или расходные материалы Philips.
- Используйте этот продукт только с одноразовыми щелочными батарейками AA 1,5 В.
- Не перезаряжайте неперезаряжаемые батарейки.
- Держите продукт и батарейки вдали от огня и не подвергайте их воздействию прямых солнечных лучей или высоких температур.
- Если продукт становится аномально горячим или издает неприятный запах, или меняет цвет, прекратите использование продукта и обратитесь в Philips.
- Не помещайте продукты и их батарейки в микроволновые печи или на индукционные плиты.
- Не модифицируйте, не прокалывайте, не повреждайте и не разбирайте продукт или батарею, чтобы предотвратить нагрев батарей или выделение токсичных или опасных веществ. Не допускайте короткого замыкания, перезарядки или обратной зарядки батарей.
- Если батареи повреждены или протекают, избегайте контакта с кожей или глазами. В этом случае немедленно промойте большим количеством воды и обратитесь к врачу.
- При работе с батареями убедитесь, что ваши руки, продукт и батареи сухие.
- Вставляйте батареи полюсами + и - в направлении, указанном в батарейном отсеке или держателе.
- Не смешивайте разные бренды и типы батарей, не смешивайте новые и использованные батареи и не используйте батареи с разными кодами дат.
- Извлекайте батареи из продукта, если вы не собираетесь использовать его в течение некоторого времени.
- Чтобы избежать случайного короткого замыкания батарей после извлечения, не допускайте контакта клемм батарей с металлическими предметами (например, монетами, заколками, кольцами). Не заворачивайте батареи в алюминиевую фольгу. Заклейте клеммы батарей лентой или поместите батареи в пластиковый пакет перед тем, как выбросить их.
- Не оставляйте пустые одноразовые батареи внутри продукта.
СОХРАНИТЕ ЭТИ ИНСТРУКЦИИ
ВАЖНАЯ ИНФОРМАЦИЯ
- Используйте прибор только для удаления волос на лице со щек, лба, линии подбородка, между бровями и с области над верхней губой.
- Чтобы предотвратить повреждение или травму, держите работающий продукт вдали от ресниц, волос на голове, одежды и т. д.
- Из соображений гигиены прибором должен пользоваться только один человек.
- Никогда не используйте сжатый воздух, абразивные губки, абразивные чистящие средства или агрессивные жидкости, такие как бензин или ацетон, для очистки продукта.
- Очищайте продукт после каждого использования.
Этот продукт не содержит других деталей, обслуживаемых пользователем.

Ссылки
Скачать инструкцию
Здесь вы можете скачать полную PDF‑версию инструкции. Она может содержать дополнительные инструкции по безопасности, информацию о гарантии, правила FCC и т. д.
Скачать Philips BRR474, BRR464, BRR454 - Руководство по эксплуатации триммера для лица






















