Nedis TCARF260BK - Руководство по адаптеру USB-C
Содержание

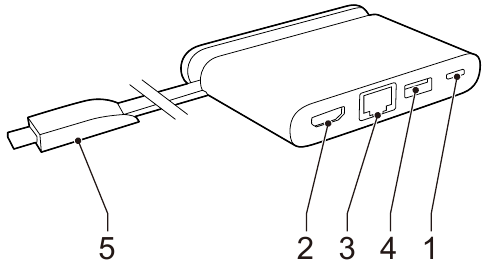
Описание устройства

| 1. Вход USB-C |
|
| 2. Выход HDMI |
|
| 3. Выход роутера |
|
| 4. Выход USB 3.0 |
|
| 5. Штекерный разъем USB-C |
|
Использование
- Подключите штекерный разъем USB-C устройства к входу типа C компьютера (Macbook Pro, Macbook или chromebook).
- Подключите кабель HDMI к HDTV и к выходу HDMI устройства.
- Подключите кабель Ethernet к роутеру и к выходу роутера устройства.
- Подключите устройство USB 3.0/2.0 к выходу USB 3.0 устройства.
- Подключите адаптер питания USB-C (включая PD-адаптер) или устройство USB-C к выходу USB-C устройства.
Примечание: Устройство поддерживает зарядку Power Delivery (PD) от PD-зарядного устройства до максимальной мощности 100 Вт (20 В/5 А).
Примечание: Устройство поддерживает функцию Fast Role Swap стандарта PD 3.0. Если PD-адаптер отключен во время работы на устройстве PD 3.0, устройство не будет отключено.
Безопасность
Общие правила безопасности
- Внимательно прочитайте руководство перед использованием. Сохраните руководство для дальнейшего использования.
- Производитель не несет ответственности за косвенные убытки или ущерб имуществу или лицам, вызванные несоблюдением инструкций по безопасности и неправильным использованием устройства.
- Используйте устройство только по назначению. Не используйте устройство для других целей, кроме описанных в руководстве.
- Не используйте устройство, если какая-либо часть повреждена или неисправна. Если устройство повреждено или неисправно, немедленно замените его.
- Устройство предназначено только для использования в помещении. Не используйте устройство на открытом воздухе.
- Устройство предназначено только для бытового использования. Не используйте устройство в коммерческих целях.
- Не используйте устройство в местах с высокой влажностью, таких как ванные комнаты и бассейны.
- Не используйте устройство рядом с ваннами, душевыми кабинами, раковинами или другими емкостями, содержащими воду.
- Не используйте таймер или отдельную систему дистанционного управления, которая автоматически включает устройство.
- Не накрывайте устройство.
- Установите устройство на устойчивую ровную поверхность.
- Держите устройство вдали от легковоспламеняющихся предметов.
Электробезопасность
РИСК ПОРАЖЕНИЯ ЭЛЕКТРИЧЕСКИМ ТОКОМ
НЕ ОТКРЫВАТЬ
- Чтобы снизить риск поражения электрическим током, этот продукт должен открываться только авторизованным специалистом при необходимости обслуживания.
- Отключите изделие от сети и другого оборудования в случае возникновения проблемы.
- Не используйте устройство, если сетевой кабель или вилка повреждены или неисправны. Если сетевой кабель или вилка повреждены или неисправны, они должны быть заменены производителем или авторизованным сервисным агентом.
- Перед использованием всегда проверяйте, чтобы напряжение сети соответствовало напряжению, указанному на паспортной табличке устройства.
- Не перемещайте устройство, потянув за сетевой кабель. Убедитесь, что сетевой кабель не может запутаться.
- Не погружайте устройство, сетевой кабель или вилку в воду или другие жидкости.
- Не оставляйте устройство без присмотра, когда вилка подключена к сети электропитания.
- Не используйте удлинитель.
Чистка и техническое обслуживание
- Перед чисткой или техническим обслуживанием всегда выключайте устройство, вынимайте вилку из розетки и ждите, пока устройство не остынет.
- Не используйте чистящие растворители или абразивы.
- Не чистите внутреннюю часть устройства.
- Не пытайтесь ремонтировать устройство. Если устройство работает неправильно, замените его новым устройством.
- Не погружайте устройство в воду или другие жидкости.
- Протрите внешнюю часть устройства мягкой влажной тканью. Тщательно высушите устройство чистой сухой тканью.
- Очистите вентиляционные отверстия мягкой щеткой.
Поддержка
Если вам нужна дополнительная помощь или у вас есть комментарии или предложения, посетите www.nedis.com/support

Ссылки
Скачать инструкцию
Здесь вы можете скачать полную PDF‑версию инструкции. Она может содержать дополнительные инструкции по безопасности, информацию о гарантии, правила FCC и т. д.
Скачать Nedis TCARF260BK - Руководство по адаптеру USB-C