Crivit 14131 - Инструкция к комплекту светодиодных велосипедных фонарей
Введение
| Список используемых пиктограмм | |
| Прочтите инструкцию! | |
![]() | |
| Соблюдайте предупреждения и указания по безопасности! | |
![]() | |
![]() | Утилизируйте упаковку и изделие экологически безопасным способом! |
![]() | Экологический ущерб из-за неправильной утилизации батарей/аккумуляторов! |
Назначение
Этот продукт подходит для освещения дороги во время езды на велосипеде. Комплект светодиодных велосипедных фонарей одобрен в качестве эксклюзивного освещения для всех велосипедов. Распределение света не должно ухудшаться другими частями велосипеда или багажом. Продукт предназначен для использования на открытом воздухе. Любое использование, отличное от вышеупомянутого, или любая модификация продукта запрещены и могут привести к травмам и повреждению продукта. Производитель не несет ответственности за ущерб, возникший в результате неправильного использования. Этот продукт не предназначен для коммерческого использования.
Описание деталей
- Кронштейн фары
- Резиновый переходник
- Крепежный винт кронштейна фары
- Выключатель фары
- Индикатор контроля батареи/аккумулятора фары
- Батарейный отсек фары
- Фара
- Винт регулировки угла наклона фары
- Фиксатор фары
- Кронштейн заднего фонаря
- Фиксатор заднего фонаря
- Резиновый язычок кронштейна заднего фонаря
- Выключатель заднего фонаря
- Индикатор контроля батареи заднего фонаря
- Задний фонарь
- Крепежный винт заднего фонаря
- Крышка батарейного отсека
Комплект поставки
Технические данные
| Фара | |
| Обозначение модели: | XC-196A / L-Lux 40 |
| Номинальная мощность: | 1 Вт |
| Тип защиты: | IP44 согласно DIN EN 60529 |
| Батареи | 4 x 1.5 В AA LR6 |
| Задний фонарь | |
| Обозначение модели: | XC-117E / D-LED 4 |
| Номинальная мощность: | 0.2 Вт |
| Тип защиты: | IP44 согласно DIN EN 60529 |
| Батареи: | 2 x 1.5 В AAA LR03 |
Примечание: Пожалуйста, используйте только щелочные батареи или аналогичные аккумуляторы 1.2 В.
Инструкции по безопасности
ОПАСНОСТЬ ДЛЯ ЖИЗНИ И РИСК НЕСЧАСТНОГО СЛУЧАЯ ДЛЯ МЛАДЕНЦЕВ И ДЕТЕЙ!
Никогда не оставляйте детей без присмотра с упаковочным материалом из-за опасности удушения при проглатывании его частей. Дети часто недооценивают опасности.- Всегда держите продукт в недоступном для детей месте. Этот продукт не игрушка!
- Этот продукт не предназначен для использования лицами (включая детей) с ограниченными физическими, сенсорными или умственными способностями, или с недостатком опыта или знаний, если они не находятся под присмотром лица, ответственного за их безопасность. Обратите внимание, что повреждения, вызванные неправильным обращением, несоблюдением инструкций по эксплуатации или вмешательством в устройство неуполномоченными лицами, исключаются.
- Никогда не разбирайте продукт. Неправильный ремонт может привести к значительной опасности для пользователя. Ремонт должен выполняться только квалифицированным персоналом. Светодиодные лампы не подлежат замене.
Рекомендации по безопасности, касающиеся батарей/аккумуляторов
ОПАСНОСТЬ ВЗРЫВА!
Никогда не заряжайте батареи!
![]()
- Извлекайте батареи во время длительного неиспользования.
- При установке батареи убедитесь в правильности полярности! Она указана в батарейном отсеке.
- При необходимости очистите контакты батареи и устройства перед установкой батареи.
- Немедленно извлекайте использованные батареи из устройства. Существует повышенный риск протечки!
- Всегда заменяйте все батареи одновременно.
- Не смешивайте щелочные батареи и аккумуляторы.
- Никогда не смешивайте старые и новые батареи.
- Не выбрасывайте батареи/аккумуляторы вместе с бытовыми отходами!
- Каждый потребитель по закону обязан утилизировать батареи/аккумуляторы надлежащим образом!
ОПАСНОСТЬ ВЗРЫВА!
Храните батареи/аккумуляторы в недоступном для детей месте, не бросайте батареи/аккумуляторы в огонь, не допускайте короткого замыкания и не разбирайте их.- Несоблюдение этого указания может привести к глубокой разрядке батарей. Это создает риск протечки.
- Если батареи протекают внутри продукта, немедленно извлеките их, чтобы предотвратить повреждение продукта!
- Избегайте контакта с кожей, глазами и слизистыми оболочками, если жидкость вытекла из батарей/аккумулятора. В случае контакта с кислотой из батареи тщательно промойте пораженный участок чистой водой и немедленно обратитесь к врачу.
- Никогда не заряжайте одноразовые батареи! Опасность взрыва!
- Примечание: Если красный индикатор контроля аккумулятора/батареи
на фаре
или заднем фонаре
загорается, немедленно замените батареи или зарядите аккумуляторы. - Обратите внимание, что как только загорается индикатор батареи, фонари больше не соответствуют Правилам дорожного движения.
Установка
Установка фары
- Выкрутите крепежный винт
из кронштейна
. - Установите кронштейн
в желаемом месте на руле. При необходимости используйте резиновые переходники
, чтобы обеспечить оптимальную посадку.
![Crivit - 14131 - Установка фары - Шаг 1 Установка фары - Шаг 1]()
- Установите крепежный винт
обратно.
![Crivit - 14131 - Установка фары - Шаг 2 Установка фары - Шаг 2]()
- Затяните винт от руки. Чтобы предотвратить повреждение, не используйте инструменты на этом шаге.
- Чтобы отрегулировать оптимальный угол к направлению движения, ослабьте винт регулировки угла
на 2–3 оборота с помощью крестовой отвертки. - Отрегулируйте желаемый угол и затяните винт регулировки угла
. - Вставьте фару
в кронштейн
до щелчка. - Чтобы освободить, нажмите на фиксатор фары
и сдвиньте фару
вперед из кронштейна
.
![Crivit - 14131 - Установка фары - Шаг 3 Установка фары - Шаг 3]()
ВНИМАНИЕ! Регулярно проверяйте регулировку фары. Световой конус должен быть направлен прямо вперед, в направлении движения, и не должен быть отрегулирован слишком высоко, чтобы не ослеплять встречный транспорт.
Установка батарей в фару

- Поверните переднюю часть фары
до тех пор, пока маленькая стрелка не окажется в положении «открыто». - Снимите крышку батарейного отсека
. - Вставьте батареи (4 x AA, 1.5 В) в батарейный отсек
. Убедитесь в правильности полярности. - Затем соберите фару
.
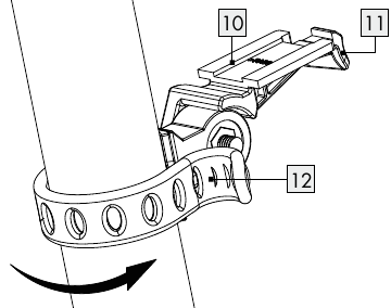
Установка заднего фонаря
- Закрепите кронштейн
на подседельном штыре или задней перекладине с помощью резинового язычка
. Убедитесь, что перед задним фонарем
нет никаких предметов.
![Crivit - 14131 - Установка заднего фонаря - Шаг 1 Установка заднего фонаря - Шаг 1]()
- Затяните и зацепите резиновый язычок
. - Ослабьте крепежный винт
на кронштейне
и отрегулируйте желаемый угол. - Затем затяните винт. Затяните винт от руки. Чтобы предотвратить повреждение, не используйте инструменты на этом шаге.
- Вставьте задний фонарь
в кронштейн
до щелчка.
![Crivit - 14131 - Установка заднего фонаря - Шаг 2 Установка заднего фонаря - Шаг 2]()
- Чтобы освободить задний фонарь
, потяните вниз фиксатор заднего фонаря
и сдвиньте задний фонарь
.
ВНИМАНИЕ! Задний фонарь должен быть установлен и отрегулирован так, чтобы опорная ось была параллельна средней продольной плоскости транспортного средства и параллельна дороге.
Установка батарей в задний фонарь
- Сдвиньте крышку батарейного отсека
назад.
![Crivit - 14131 - Установка батарей в задний фонарь - Шаг 1 Установка батарей в задний фонарь - Шаг 1]()
- Вставьте батареи в задний фонарь (2 x AAA 1.5 В). Убедитесь в правильности полярности.
![Crivit - 14131 - Установка батарей в задний фонарь - Шаг 2 Установка батарей в задний фонарь - Шаг 2]()
- Затем соберите фонарь.
Включение / выключение
Фара
имеет три уровня яркости.
| Выключатель | |
| нажать один раз | Режим высокой мощности (40 Lux) для езды в неосвещенных местах |
| нажать дважды | Стандартный режим (20 Lux) для езды в освещенных местах |
| нажать три раза | Экономичный режим (10 Lux) для езды в хорошо освещенных местах |
| нажать четыре раза | выключено |
Чистка и уход
- Никогда не погружайте фонари полностью в воду. Не используйте агрессивные или абразивные чистящие средства. Это повредит фонари.
- Очищайте комплект светодиодных велосипедных фонарей слегка влажной тканью без ворса.
GB
KLB GmbH
Diekbree 8
DE-48157 Münster, GERMANY
Tel: +49 2 51 132 37 57
E-Mail: gb@klb-service.eu
www.klb-service.eu
IE
KLB GmbH
Diekbree 8
DE-48157 Münster, GERMANY
Tel: +49 2 51 132 37 57
E-Mail: ie@klb-service.eu
www.klb-service.eu
NI
KLB GmbH
Diekbree 8
DE-48157 Münster, GERMANY
Tel: +49 2 51 132 37 57
E-Mail: ni@klb-service.eu
www.klb-service.eu

Ссылки
Скачать инструкцию
Здесь вы можете скачать полную PDF‑версию инструкции. Она может содержать дополнительные инструкции по безопасности, информацию о гарантии, правила FCC и т. д.
Скачать Crivit 14131 - Инструкция к комплекту светодиодных велосипедных фонарей





на фаре
или заднем фонаре
загорается, немедленно замените батареи или зарядите аккумуляторы.
из кронштейна
.
, чтобы обеспечить оптимальную посадку. 

на 2–3 оборота с помощью крестовой отвертки.
в кронштейн
и сдвиньте фару
вперед из кронштейна 
.
на подседельном штыре или задней перекладине с помощью резинового язычка
. Убедитесь, что перед задним фонарем
нет никаких предметов.
.
на кронштейне
и отрегулируйте желаемый угол.
в кронштейн 
и сдвиньте задний фонарь
назад.
