RGMT BATTLEDRESS - Návod na použitie chronografových hodiniek
- 1 PREHĽAD
- 2 AKO PRIPEVNIŤ REMIENKY
- 3 AKO ZMENIŤ REMIENKY NA REMIENOK NATO
- 4 POUŽÍVANIE SKRUTKOVEJ KORUNKY
- 5 AKO NASTAVIŤ ČAS
- 6 AKO NASTAVIŤ DÁTUM
- 7 FUNKCIA STOPKY
- 8 ŠTANDARDNÉ MERANIE
- 9 MERANIE NAHROMADENÉHO UPLYNULÉHO ČASU
- 10 MERANIE MEDZIČASU
- 11 NASTAVENIE RUČIČIEK CHRONOGRAFU DO NULOVEJ POLOHY
- 12 VODOTESNOSŤ
- 13 Referencie
- 14 Stiahnuť návod
- 15 V iných jazykoch
PREHĽAD


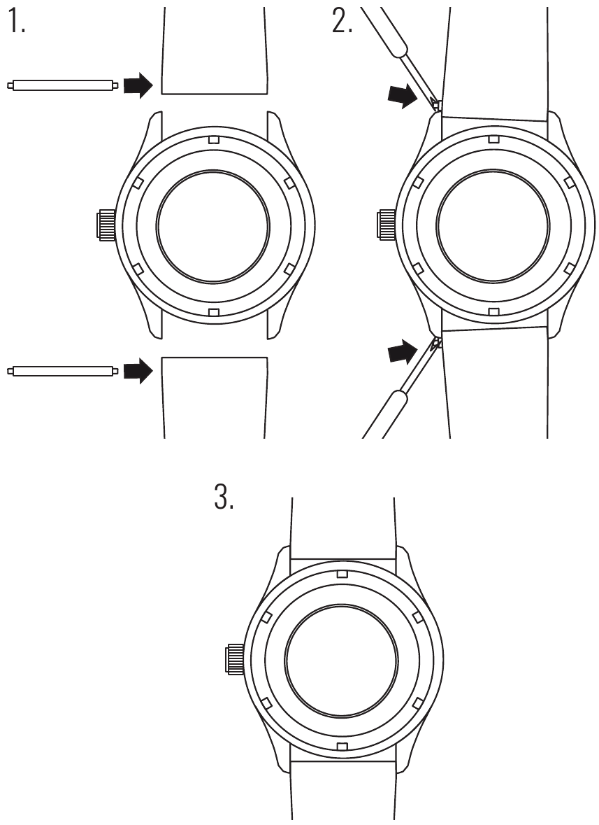
AKO PRIPEVNIŤ REMIENKY

AKO ZMENIŤ REMIENKY NA REMIENOK NATO



PRED ODSTRÁNENÍM KORUNKY SI PREČÍTAJTE NASLEDUJÚCE:
SKRUTKOVACIA KORUNKA
Skrutkovacie korunky sa používajú na zabezpečenie vodotesnosti. VŽDY sa uistite, že je vaša korunka bezpečne zaskrutkovaná (Pozícia [0] je zabezpečená. Pozície [1], [2] a [3] nie sú zabezpečené pre vodotesnosť).
NEODSTRAŇUJTE korunku, keď sa nachádzate v prostredí, kde je prítomná vlhkosť.

POUŽÍVANIE SKRUTKOVEJ KORUNKY
NEVYŤAHUJTE KORUNKU, POKIAĽ NIE JE NAJPRV ODSTRÁNENÁ:
NA ODSTRÁNENIE: Otáčajte korunkou proti smeru hodinových ručičiek, kým sa nebude voľne otáčať bez napätia. Jemne vytiahnite korunku do iných požadovaných polôh na nastavenie hodiniek (pozrite si konkrétne prevádzkové pokyny na nasledujúcich stranách).

NA ZASKRUTKOVANIE: Zatlačte korunku ÚPLNE DOVNÚTRA (smerom k hodinkám) A POTOM začnite otáčať v smere hodinových ručičiek, kým nebude bezpečne zaskrutkovaná.

POZNÁMKA: Ak po nastavení hodiniek BEZPEČNE nezaskrutkujete korunku, môže to ovplyvniť ich vodotesnosť.
AKO NASTAVIŤ ČAS
- Vytiahnite korunku do polohy [3]-(2. kliknutie). (hodinky sa zastavia).
- Otáčajte korunkou, kým nedosiahnete správny čas.
- Zatlačte a zaskrutkujte korunku späť do polohy [0].
AKO NASTAVIŤ DÁTUM
- Vytiahnite korunku do polohy [2]-(1. kliknutie). (hodinky pokračujú v chode).
- Otáčajte korunkou, kým sa nezobrazí správny dátum.
- Zatlačte a zaskrutkujte korunku späť do polohy [0].
Upozornenie: Dátum je možné zmeniť počas fázy zmeny dátumu približne medzi 21:00 a 24:00; upozorňujeme, že dátum musí byť nastavený na dátum nasledujúceho dňa, pretože v tomto prípade automatická zmena dátumu nenastane o polnoci.
FUNKCIA STOPKY
- Stopky merajú až 10 hodín.
ŠTANDARDNÉ MERANIE

MERANIE NAHROMADENÉHO UPLYNULÉHO ČASU

Reštart a zastavenie stopiek je možné opakovať stlačením tlačidla A.
MERANIE MEDZIČASU

Meranie a uvoľnenie medzičasu je možné opakovať toľkokrát, koľkokrát je potrebné, stlačením tlačidla B.
NASTAVENIE RUČIČIEK CHRONOGRAFU DO NULOVEJ POLOHY
Príklad:
Jedna alebo viac ručičiek chronografu nie sú v správnej nulovej polohe a je potrebné ich nastaviť (napr. po výmene batérie).
- Odstráňte a vytiahnite korunku do polohy [3]-(2. kliknutie). (všetky ručičky chronografu sú v správnej alebo nesprávnej nulovej polohe).
![RGMT - BATTLEDRESS - NASTAVENIE RUČIČIEK CHRONOGRAFU DO NULOVEJ POLOHY - Krok 1 NASTAVENIE RUČIČIEK CHRONOGRAFU DO NULOVEJ POLOHY - Krok 1]()
- Podržte stlačené tlačidlá A a B súčasne aspoň 2 sekundy (ručička sekundového počítadla sa otočí o 360º korektívny režim je aktivovaný).
![RGMT - BATTLEDRESS - NASTAVENIE RUČIČIEK CHRONOGRAFU DO NULOVEJ POLOHY - Krok 2 NASTAVENIE RUČIČIEK CHRONOGRAFU DO NULOVEJ POLOHY - Krok 2]()
- Nastavenie ručičky sekundového počítadla: Jednotlivý krok, stlačte tlačidlo A raz
Nepretržite. stlačte a podržte tlačidlo A dlho
![]()
Na nastavenie nasledujúcej ručičky stlačte tlačidlo B
![]()
- Nastavenie ručičky minútového počítadla (poloha 9h):
Jednotlivý krok, stlačte tlačidlo A raz
Nepretržite. Stlačte a podržte tlačidlo A dlho
![]()
Zatlačte korunku späť a zaskrutkujte ju do polohy[0] na ukončenie nastavenia ručičiek chronografu.
![RGMT - BATTLEDRESS - NASTAVENIE RUČIČIEK CHRONOGRAFU DO NULOVEJ POLOHY - Krok 3 NASTAVENIE RUČIČIEK CHRONOGRAFU DO NULOVEJ POLOHY - Krok 3]()
VODOTESNOSŤ
Upozorňujeme, že tabuľka vodotesnosti slúži len ako pomôcka (pozrite si tabuľku vodotesnosti na nasledujúcej strane). Skutočná vodotesnosť sa môže líšiť v závislosti od viacerých faktorov vrátane teploty vody, salinity vody a používania pod vodou.
Vodotesnosť vašich hodiniek sa môže časom zhoršiť v dôsledku bežného opotrebovania a používania hodiniek v nepriaznivých podmienkach.
Vždy pamätajte na použitie skrutkovacej korunky, ak je k dispozícii, aby ste zachovali vodotesnosť svojich hodiniek. Záruka môže byť neplatná, ak skrutkovacia korunka nebola správne použitá.
Upozorňujeme, že by ste nikdy nemali nosiť hodinky v jacuzzi alebo parnej miestnosti, kde sa môže para dostať do puzdra napriek vodotesným tesneniam použitým na ochranu vašich hodiniek. To môže spôsobiť kondenzáciu vo vnútri vašich hodiniek, čo môže ovplyvniť a poškodiť vnútorné fungovanie vašich hodiniek.
| TABUĽKA VODOTESNOSTI | 100M/ 10ATM |
| STRIEKAJÚCA VODA / SPRCHOVANIE | ![]() |
| PLÁVANIE / KÚPANIE | ![]() |
| KRÁTKE PLÁVANIE / VODNÉ ŠPORTY | ![]() |
| DLHODOBÉ PLÁVANIE / POTÁPANIE NA NÁDYCH | ![]() |
| POTÁPANIE S PRÍSTROJOM | ![]() |
| PROFESIONÁLNE HLBOKOMORSKÉ POTÁPANIE | ![]() |
Tieto hodinky sú vybavené strojčekom SWISS MADE CHRONOGRAPH.
Pre viac informácií o ovládaní týchto hodiniek si pozrite priloženú brožúru alebo navštívte: IM.RGMT.CO

Referencie
Stiahnuť návod
Tu si môžete stiahnuť úplnú verziu návodu vo formáte pdf, môže obsahovať ďalšie bezpečnostné pokyny, informácie o záruke, pravidlá FCC atď.
Stiahnuť RGMT BATTLEDRESS - Návod na použitie chronografových hodiniek







