EDIFIER W288BT - Priročnik za Bluetooth športne slušalke
- 1 Opis
- 2 Pred uporabo
- 3 Kako uporabljati slušalko
- 4 Vzdrževanje
- 5 Pogosta vprašanja
- 6 Specifikacije
- 7 Reference
- 8 Prenesi navodilo
- 9 V drugih jezikih

Prosimo, pozorno preberite ta priročnik, da boste enoto varno uporabljali in izkoristili njeno največjo zmogljivost. Priročnik shranite za prihodnjo uporabo.
Opis
W288BT so Bluetooth stereo ušesne slušalke. So precej majhne in prenosne, podpirajo pa funkcije klicanja in predvajanja glasbe hkrati. Brezžično se lahko pogovarjate in uživate v visokokakovostni glasbi prek Bluetootha, kadar koli in kjer koli. Poleg tega podpirajo hitro seznanjanje NFC, če ima vaš telefon Bluetooth funkcijo NFC. Samodejno se bodo seznanile, samo za trenutek se dotaknite telefona s slušalko.
Pred uporabo
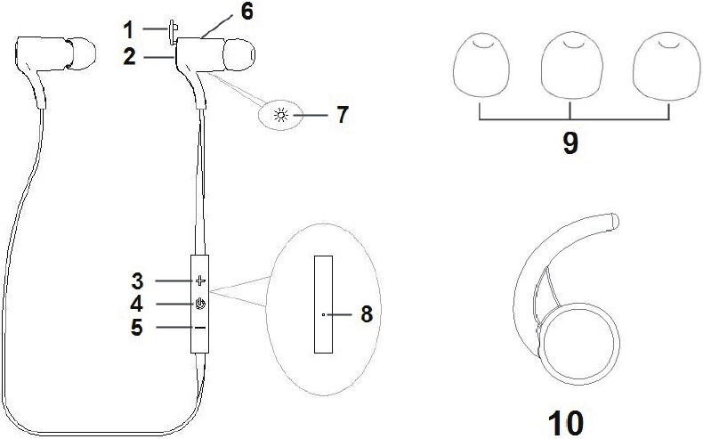
Ilustracija

- Zadnji pokrov priključka za polnjenje
- Priključek za polnjenje Micro USB
gumb: povečanje glasnosti, prejšnja skladba
gumb: večnamenski gumb
gumb: zmanjšanje glasnosti, naslednja skladba- Območje NFC
- Indikator
- Mikrofon
- Ohišja za ušesa L, M, S
- Ušesni kavelj
Polnjenje
V slušalki je vgrajena polnilna baterija, zato jo pred prvo uporabo popolnoma napolnite. Med uporabo, če samo utripa rdeča lučka in se vsakih 5 minut sliši niz opozorilnih tonov, to pomeni nizko raven baterije in morate napolniti slušalko.
- Priključite kabel USB za polnjenje v režo USB na računalniku.
- Odprite zadnji pokrov priključka za polnjenje in priključite kabel za polnjenje na priključek za polnjenje Micro USB.
![EDIFIER - W288BT - Polnjenje Polnjenje]()
Rdeča lučka sveti: polnjenje
Rdeča lučka ugasnjena: popolnoma napolnjena
Čas polnjenja
Baterija potrebuje približno 2 uri za popolno polnjenje.

Polnilno baterijo ustrezno zavrzite za recikliranje.
Za ustrezno odstranjevanje se obrnite na lokalni center za recikliranje.
Da zmanjšate nevarnost eksplozije, izdelka ne mečite v ogenj.
Kako uporabljati slušalko
Vklop/izklop

Vklop: pritisnite gumb
za približno 4 sekunde in ga spustite, ko zasvetijo modre lučke. Slušalka bo 4-krat zazvonila z indikatorskim tonom.
Izklop: pritisnite gumb
za približno 4 sekunde in ga spustite, ko zasvetijo rdeče lučke. Slušalka bo 4-krat zazvonila z indikatorskim tonom.
Opomba: Če v 5 minutah po vklopu ne morete povezati nobene naprave, se bo slušalka samodejno izklopila, da bi prihranila energijo.
Kako nositi slušalko

- Kot je prikazano na sliki, namestite ušesni kavelj na slušalko in ga zavrtite v ustrezen položaj.
- Glede na velikost vaših ušesnih lukenj izberite najbolj primerne ušesne nastavke in jih namestite na zvočnike.
- Kot je prikazano na sliki, glede na desni/levi kanal nosite slušalko na desnem/levem ušesu in jo zavrtite v udoben položaj.
![EDIFIER - W288BT - Nošenje slušalk - 2. korak Nošenje slušalk - 2. korak]()
- Kot je prikazano na sliki, uporabite dve žični sponki za ovijanje predolge žice.
![EDIFIER - W288BT - Nošenje slušalk - 3. korak Nošenje slušalk - 3. korak]()
Seznanjanje/povezava
Seznanjanje slušalke s telefoni Bluetooth
Prosimo, seznanite svojo slušalko s telefoni Bluetooth, ko jo uporabljate prvič.
Koraki so naslednji:
- Prosimo, da razdalja med telefonom in slušalko ne bo večja od 1 m, bližje, tem bolje.
- Pritisnite gumb
za približno 8 sekund in ga spustite, ko rdeči in modri indikator izmenično utripata, slušalka je v načinu seznanjanja. - Odprite funkcijo Bluetooth telefona za iskanje naprave Bluetooth. Izberite "W288BT" za seznanjanje. Ko je povezava uspešna, modri indikator slušalke utripne dvakrat na 4 sekunde.
Opomba:
- PIN koda za povezavo je "0000", če je potrebna.
- Način seznanjanja bo trajal 2 minuti. Slušalka bo samodejno preklopila v stanje pripravljenosti, če se v 2 minutah ne seznani z nobeno napravo.
- Slušalka in telefon si bosta zapomnila drug drugega po končanem seznanjanju. Naslednjič naprave ni treba seznanjati. Slušalka se bo samodejno povezala z zadnjo seznanjeno napravo, ko jo vklopite.
Uporaba funkcije NFC za seznanjanje s telefoni Bluetooth
- Vklopite slušalko in vklopite funkcijo NFC na svojem telefonu Bluetooth.
- Telefon približajte območju NFC slušalke. Telefon bo samodejno vzpostavil povezavo prek NFC. Vaš telefon je zdaj povezan s slušalko.

- Pri prvi uporabi se morate s telefonom dotakniti slušalke za približno 3 sekunde. Telefon lahko odmaknete, ko rdeči/modri indikator slušalke izmenično utripa. V nasprotnem primeru se seznanjanje morda ne bo posrečilo.
- Če je slušalka povezana s telefonom, se bo samodejno prekinila, ko se telefon ponovno dotakne območja NFC slušalke.
Seznanjanje/povezava z več napravami
Ta slušalka lahko vzpostavi povezavo z dvema napravama Bluetooth hkrati. Pri prvi uporabi je ena od dveh funkcij slušalke privzeto zaprta; lahko jo vklopite ročno. Če se morate seznaniti/povezati z več napravami, sledite spodnjim korakom.
- Najprej seznanite in povežite s prvo napravo.
- Znova zaženite slušalko in jo preklopite v način seznanjanja, nato pa seznanite in povežite z drugo napravo.
- Delujte na prvi napravi in izberite povezavo s to slušalko. Nato je slušalka hkrati povezana s prvo in drugo napravo.
Opomba:
- Vklop funkcije "ena z dvema": V stanju pripravljenosti hkrati pritisnite in držite tipki
in
, nato pa spustite tipki, ko zaslišite 4 pozivne tone od nizkega do visokega.
Izklop funkcije "ena z dvema": V stanju pripravljenosti hkrati pritisnite in držite tipki
in
, nato pa spustite tipki, ko zaslišite 4 pozivne tone od visokega do nizkega. - Če je slušalka povezana z dvema napravama, se bo slušalka samodejno povezala z obema napravama, ko jo ponovno vklopite.
- Če se morate povezati samo z enim telefonom, vam svetujemo, da izklopite funkcijo "ena z dvema", da izboljšate učinkovitost uporabe slušalke.
Komunikacija s slušalko
Osnovno delovanje
| Funkcija | Stanje | Delovanje | Pozivni ton |
| Preklic klica | Klicanje | Enkrat pritisnite | En kratek ton |
| Sprejem klica | Dohodni zvonjenje | Enkrat pritisnite | Dva naraščajoča tona |
| Zavrnitev klica | Dohodni zvonjenje | Pritisnite in držite za 2 sekundi | Dva padajoča tona |
| Končanje klica | Odgovarjanje | Enkrat pritisnite | En kratek ton |
| Povečanje glasnosti | Odgovarjanje | Pritisnite | N/A |
| Zmanjšanje glasnosti | Odgovarjanje | Pritisnite | N/A |
| Prenos na telefon | Odgovarjanje | Pritisnite in držite za 2 sekundi | En kratek ton |
| Prenos na slušalko | Odgovarjanje | Pritisnite in držite za 2 sekundi | En kratek ton |
| Izklop mikrofona | Odgovarjanje | Pritisnite in držite za 2 sekundi | Dva padajoča tona |
| Preklic izklopa | Odgovarjanje (izklop mikrofona) | Pritisnite in držite za 2 sekundi | Dva naraščajoča tona |
| Glasovno klicanje | Povezano z napravo | Hkrati enkrat pritisnite in | En kratek ton |
| Ponovno klicanje zadnje številke | Povezano z napravo | Dvakrat pritisnite | En kratek ton |
Opomba:
- Ko je glasnost slušalke nastavljena na največjo ali najmanjšo vrednost, boste zaslišali pozivni ton.
- Ko je slušalka v stanju izklopa zvoka, boste neprekinjeno slišali pozivni ton dvakrat na 10 sekund.
- Pri nekaterih telefonih pritisnite tipko za odgovor, da sprejmete dohodni klic, komunikacija se bo najprej prenesla na telefon. V tem trenutku lahko uporabite funkcijo preklopa klica slušalke ali pa delujete na telefonu, da preklopite klic na slušalko. Za podrobnejše informacije si oglejte priročnik za telefon.
Delovanje komunikacije s tremi stranmi
| Funkcija | Stanje | Delovanje |
| Sprejem novega klica in končanje trenutnega klica | Prihaja drugi klic | Enkrat pritisnite |
| Sprejem novega klica in ohranitev trenutnega klica | Prihaja drugi klic | Dvakrat pritisnite |
| Preklop klicev | Odgovarjanje (ohranjanje) | Dvakrat pritisnite |
| Končanje trenutnega klica in prenos na ohranjeni klic | Odgovarjanje (ohranjanje) | Enkrat pritisnite |
Povezava klica dveh telefonov
| Funkcija | Stanje | Delovanje |
| Končanje klica prvega telefona, sprejem dohodnega klica drugega telefona | Prvi telefon je v klicu, drugi telefon ima dohodni klic | Enkrat pritisnite |
| Ohranitev klica prvega telefona, sprejem dohodnega klica drugega telefona | Prvi telefon je v klicu, drugi telefon ima dohodni klic | Dvakrat pritisnite |
| Preklop klicev | Odgovarjanje, en klic je ohranjen | Dvakrat pritisnite |
| Končanje trenutnega klica, vrnitev na ohranjeni telefon | Odgovarjanje, en klic je ohranjen | Enkrat pritisnite |
Predvajanje glasbe
| Funkcija | Stanje | Delovanje |
| Povečanje glasnosti | Predvajanje glasbe | Enkrat pritisnite |
| Zmanjšanje glasnosti | Predvajanje glasbe | Enkrat pritisnite |
| Prejšnja skladba | Predvajanje glasbe | Pritisnite in držite |
| Naslednja skladba | Predvajanje glasbe | Pritisnite in držite |
| Začasna ustavitev predvajanja (Pause play) | Predvajanje glasbe | Enkrat pritisnite |
| Obnovitev predvajanja (Recover play) | Začasna ustavitev predvajanja | Enkrat pritisnite |
Opomba:
- Ko je glasnost slušalke nastavljena na največjo ali najmanjšo vrednost, boste zaslišali pozivni ton.
- Za funkcijo daljinskega upravljanja predvajanja (prejšnja/naslednja skladba/pavza/nadaljevanje) mora vaš telefon ali zaganjalnik Bluetooth podpirati AVRCP (Audio/Video Remote Control Profile).
| Indikator | Stanje |
| Rdeča in modra lučka izmenično utripata | Seznanjanje |
| Modra lučka utripne enkrat na 2 sekundi | Ni povezano z napravo |
| Modra lučka utripne dvakrat na 4 sekunde | Povezano z napravo |
| Rdeča lučka, ki nadomešča modro lučko, utripa | Nizka raven baterije |
Obnovitev tovarniških nastavitev
Med polnjenjem pritisnite in držite gumb
za približno 4 sekunde, rdeča in modra lučka hkrati utripata in zaslišijo se 4 pozivni toni.
Opomba:
- Po obnovitvi tovarniških nastavitev bo seznam seznanjanj slušalke izbrisan. Ko ponovno vklopite slušalko, samodejno preide v način seznanjanja namesto samodejne povezave. Če se morate povezati z napravami, jo ponovno seznanite.
Vzdrževanje
Med uporabo natančno preberite spodnje predloge, ki vam bodo pomagale pri izpolnjevanju pogojev vzdrževanja in podaljšale življenjsko dobo tega izdelka.
- Hranite na suhem mestu in ne shranjujte v vlažnih prostorih, da ne bi vplivali na notranje vezje. Izogibajte se uporabi tega izdelka med intenzivnimi vajami ali obdobji močnega potenja, da preprečite, da bi znoj padel vanj in ga poškodoval.
- Ne postavljajte ga na mesta, ki so izpostavljena neposredni sončni svetlobi ali vročini. Vročina bo skrajšala življenjsko dobo elektronskih komponent, poškodovala baterijo in povzročila deformacijo nekaterih plastičnih delov.
- Ne postavljajte ga v prehladne prostore, da ne poškodujete notranje vezne plošče.
- Ne poskušajte odpreti tega izdelka. Če niste usposobljeno servisno osebje, lahko poškodujete ta izdelek.
- Ne spuščajte, močno stresajte ali udarjajte tega izdelka s trdim predmetom, da ne poškodujete notranjega vezja.
- Za čiščenje slušalk ne uporabljajte močnih kemikalij ali detergentov.
- Ne praskajte po njegovi površini z ostrimi predmeti, da ne poškodujete zunanjega pokrova in ne vplivate na videz.
Če ta izdelek ne deluje normalno, ga pošljite na usposobljeno servisno službo, kjer vam bo osebje prijazno pomagalo rešiti težavo.
Pogosta vprašanja
- Rdeča lučka namesto modre utripa.
Odgovor: to pomeni, da je raven baterije slušalk nizka; slušalke morate ponovno napolniti. - Med polnjenjem rdeča lučka ne sveti.
Odgovor:- Prepričajte se, da je naprava za polnjenje dobro povezana s slušalkami.
- Če baterije dlje časa ne uporabljate, bo v stanju mirovanja.
Rdeča lučka bo zasvetila po približno 30 minutah polnjenja.
- Iz slušalk ni zvoka
Odgovor:- Prepričajte se, da je v delovnem stanju.
- Prepričajte se, da je glasnost primerna.
- Prepričajte se, da je normalno povezan z mobilnim telefonom.
- Prepričajte se, da je v normalnem območju delovanja.
- Slab učinek klicanja
Odgovor:- Prepričajte se, da je mobilni telefon na območju z močnim signalom.
- Učinkovit doseg slušalk je 10 m, zato se prepričajte, da je znotraj tega učinkovitega dosega in da med slušalkami in mobilnim telefonom ni ovir.
- Med predvajanjem ni mogoče upravljati s premorom, nadaljevanjem, prejšnjo/naslednjo skladbo s slušalkami
Odgovor: Naprave, ki so seznanjene s slušalkami, morajo podpirati AVRCP (Audio/Video Remote Control Profile). - NFC ni mogoče uporabiti za seznanjanje in povezovanje
Odgovor:- Prepričajte se, da je funkcija NFC mobilnega telefona vklopljena.
- Za prvo seznanjanje se morate s telefonom dotikati slušalk približno 3 sekunde, dokler rdeča in modra lučka ne utripata izmenično, nato pa telefon odmaknite, sicer se seznanjanje morda ne bo posrečilo.
Specifikacije
| Vrsta slušalk | V ušesu, gibljiva tuljava |
| Gonilna enota | 5.5mm |
| Frekvenčni odziv | 20-20KHz |
| Raven zvočnega tlaka (SPL) | 106dB |
| Nominalna impedanca | 16Ω |
| Različica Bluetooth | Bluetooth V4.0 |
| Profil Bluetooth | HFP, HSP, A2DP, AVRCP |
| Učinkovit doseg | 10m |
| Čas predvajanja slušalk | Do 5.0 ur |
| Čas klicanja slušalk | Do 5.5 ur |
| Čas pripravljenosti slušalk | Približno 200 ur |
| Vhod za polnjenje | DC 5.0V 500mA |
| Čas polnjenja slušalk | Približno 2 uri |
| Dimenzije | Slušalke: 37*16.3*27.7mm kabel: 500mm |
| Teža | 13g |
| Dodatna oprema | L/S silikonsko ohišje za ušesa: po 2 kosa; kabel za polnjenje: 1 kos; žična sponka: 2 kosa; ušesni kavelj: 2 kosa |
Ročna izdaja 1.0, apr. 2015
IB-200-W02880-00
EDIFIER TECHNOLOGY CO., LTD.
www.edifier.com
www.edifier-international.com
© 2015 Edifier International Limited. Vse pravice pridržane. Natisnjeno na Kitajskem
OPOMBA:
Zaradi potrebe po tehničnih izboljšavah in nadgradnji sistema se lahko informacije, ki jih vsebuje ta dokument, občasno spremenijo brez predhodnega obvestila.
Izdelki Edifier bodo prilagojeni različnim aplikacijam. Slike in ilustracije, prikazane v tem priročniku, se lahko nekoliko razlikujejo od dejanskega izdelka. Če opazite kakršno koli razliko, velja dejanski izdelek.

Reference
Edifier | A Passion for Sound | Headphones, Earphones, Speakers
Edifier - Speakers, Earphones and Headphones - Select Your Country
Prenesi navodilo
Tukaj lahko prenesete polno pdf različico navodila, ki lahko vsebuje dodatna varnostna navodila, informacije o garanciji, FCC pravila itd.
Prenesi EDIFIER W288BT - Priročnik za Bluetooth športne slušalke



za 2 sekundi
za 2 sekundi
za 2 sekundi