SONY WALKMAN NWZ-E453K, NWZ-E454K - Manuali i Luajtësve të Mediave Dixhitale
KUJDES
Për të zvogëluar rrezikun e zjarrit ose goditjes elektrike, mos e ekspozoni këtë pajisje ndaj pikimit ose spërkatjes dhe mos vendosni objekte të mbushura me lëngje, si vazo, mbi pajisje.
Mos e instaloni pajisjen në një hapësirë të kufizuar, si p.sh. një raft librash ose dollap i integruar.
Duke qenë se priza kryesore e përshtatësit të energjisë AC përdoret për të shkëputur përshtatësin e energjisë AC nga rrjeti, lidheni atë në një prizë AC lehtësisht të arritshme. Nëse vëreni një anomali në të, shkëputeni menjëherë nga priza AC.

Hedhja e Pajisjeve të Vjetra Elektrike dhe Elektronike (E aplikueshme në Bashkimin Evropian dhe vende të tjera evropiane me sisteme të veçanta grumbullimi)
Ky simbol në produkt ose në paketimin e tij tregon se ky produkt nuk duhet të trajtohet si mbetje shtëpiake. Në vend të kësaj, ai duhet t'i dorëzohet pikës së grumbullimit të aplikueshme për riciklimin e pajisjeve elektrike dhe elektronike. Duke siguruar që ky produkt të hidhet në mënyrë korrekte, ju do të ndihmoni në parandalimin e pasojave të mundshme negative për mjedisin dhe shëndetin e njeriut, të cilat mund të shkaktohen nga trajtimi i pahijshëm i mbetjeve të këtij produkti. Riciklimi i materialeve do të ndihmojë në ruajtjen e burimeve natyrore. Për informacione më të detajuara rreth riciklimit të këtij produkti, ju lutemi kontaktoni Zyrën tuaj Lokale Civile, shërbimin tuaj të asgjësimit të mbetjeve shtëpiake ose dyqanin ku e keni blerë produktin.
Specifikimet
| Dalja e vazhdueshme e fuqisë RMS (referencë)* Hyrja: | 1: 1 W +1 W (1 kHz, 10% THD) WM-PORT* 2 |
| Altoparlanti: | 39 mm diam. |
| Përmasat (g/l/t): | Përafërsisht. 156 × 110 × 24 mm (6 / × 4 / × / 1 4 3 8 31 32 inç) |
| Përmasat (g/l/t, pozicioni vertikal): | Përafërsisht. 156 × 110 × 42 mm (6 / × 4 / × 1 / 1 4 3 8 5 8 inç) |
| Masa: | Përafërsisht. 152 g (5.4 oz) |
| Temperatura e funksionimit: | 5°C deri në 35°C (41°F deri në 95°F) |
| Kërkesat e energjisë: | DC 5.2 V (100-240 V) |
| Burimi i energjisë (furnizim energjie me 2 mënyra): Konsumi i rrymës nominale: | Përshtatësi i energjisë AC AC-E5212 (i furnizuar)/ Furnizimi me bateri nga "WALKMAN" 500 mA ("WALKMAN") |
| Konsumi i rrymës nominale: | 1.25 A (altoparlant) |
Dizajni dhe specifikimet mund të ndryshojnë pa paralajmërim.
*1 Kur përdorni përshtatësin e energjisë AC.
*2 WM-PORT është një lidhës i dedikuar multi-terminal, i përdorur për të lidhur një "WALKMAN" me aksesorët e tij.
| Rreth faqes së internetit të mbështetjes së klientit Nëse keni ndonjë pyetje ose problem me këtë produkt, ose dëshironi informacione mbi artikujt e pajtueshëm me këtë produkt, vizitoni faqet e internetit të mëposhtme. Për klientët në Evropë: http://support.sony-europe.com/DNA Për klientët në Amerikën Latine: http://www.sony-latin.com/index.crp Për klientët në vende/rajone të tjera: http://www.sony-asia.com/support Për klientët që kanë blerë modelet jashtë shtetit: http://www.sony.co.jp/overseas/support/ |
- "WALKMAN" dhe logoja "WALKMAN" janë marka të regjistruara të Sony Corporation.
- Të gjitha markat e tjera tregtare dhe markat e regjistruara janë marka tregtare ose marka të regjistruara të mbajtësve të tyre përkatës. Në këtë manual, markat ™ dhe ® nuk specifikohen.
Paraprakisht
Për sigurinë
- Përdorni vetëm përshtatësin e energjisë AC të furnizuar. Mos përdorni asnjë përshtatës tjetër të energjisë AC.
![]()
Për vendosjen
- Mos e vendosni sistemin në një pozicion të pjerrët.
- Mos e vendosni sistemin në vende që janë të nxehta ose të ekspozuara ndaj rrezeve të diellit direkte, pluhurit, lagështisë së lartë ose të ftohtit ekstrem.
- Bëni kujdes kur vendosni sistemin në një dysheme të trajtuar posaçërisht (me dyllë, vaj, lustruar, etj.), pasi mund të rezultojë njollosje ose zbardhje.
Për pastrimin
Pastroni kutitë me një leckë të butë të lagur lehtë me një tretësirë të butë detergjenti ose ujë. Mos përdorni asnjë lloj jastëku gërryes, pluhur pastrimi ose tretës, si alkooli ose benzina.
Kontrollimi i Artikujve të Furnizuar
Artikujt e përshkruar më poshtë janë të bashkuar me këtë komplet.
- "WALKMAN"
- Kufje (1)
- Kabllo USB (1)
- Bashkëngjitje (1)
Përdorni kur lidhni "WALKMAN" me djepin opsional, etj. - Udhëzues i Shpejtë i Fillimit
- Altoparlant* 1 (ky sistem, 1)
![]()
- Përshtatës i energjisë AC AC-E5212*
- Udhëzimet e Përdorimit* manual)
*1 Artikujt (altoparlanti, etj.) të bashkuar me këtë komplet nuk përshkruhen në "Artikujt e Furnizuar" në "Udhëzuesin e Shpejtë të Fillimit" të furnizuar me "WALKMAN."
*2 Forma e prizës së energjisë AC ndryshon në varësi të vendit ose rajonit.
Pjesët dhe Kontrollet

- Bashkëngjitje
- WM-PORT

- Foleja DC IN 5.2 V
- Mbajtëse
- Butoni VOLUME +/-
Instalimi
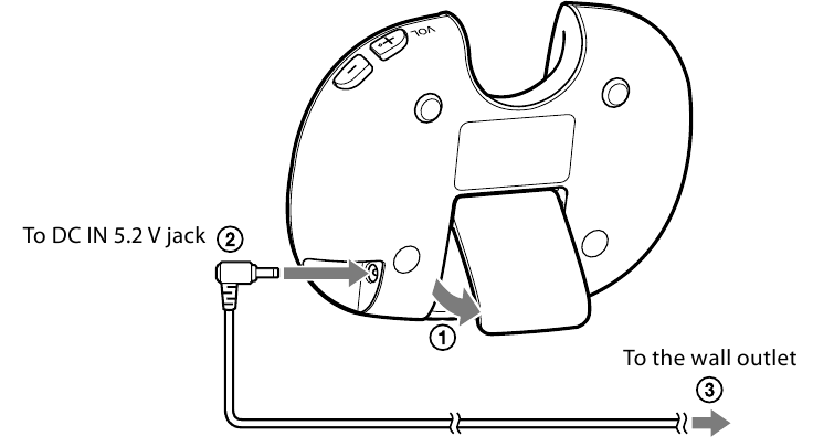
- Vendosni mbajtësen që ndodhet në anën e pasme të sistemit
, lidhni përshtatësin e energjisë AC
, dhe vendosni prizën e përshtatësit të energjisë AC në prizën e murit
.
![SONY - WALKMAN NWZ-E453K - Instalimi - Hapi 1 Instalimi - Hapi 1]()
- Instaloni "WALKMAN" në sistem.
![SONY - WALKMAN NWZ-E453K - Instalimi - Hapi 2 Instalimi - Hapi 2]()
Shënime
- Kur një rrip është i bashkangjitur në "WALKMAN" tuaj, vendoseni atë poshtë dhe jashtë në pjesën e përparme të "WALKMAN". Përpara se të përdorni altoparlantin, kontrolloni që fijet e rripit të mos jenë në brazdën e lakuar.
![SONY - WALKMAN NWZ-E453K - Instalimi - Hapi 3 Instalimi - Hapi 3]()
- Në blerje, bashkëngjitja vendoset në altoparlant. Nëse bashkëngjitja shkëputet, rrëshqiteni dhe vendoseni në altoparlant derisa të klikojë siç tregohet në ilustrim.
![SONY - WALKMAN NWZ-E453K - Instalimi - Hapi 4 Instalimi - Hapi 4]()
Dëgjimi i Muzikës

- Luaj përmbajtje në "WALKMAN" tuaj.
- Shtypni butonin VOLUME +/- në sistem për të rregulluar volumin.
Këshilla
- Ju mund të kryeni riprodhim në "WALKMAN" tuaj të instaluar në sistem pa lidhur përshtatësin e energjisë AC.
- Kur e vendosni [SP Output Optimizer] në [SRS-NWGT015] në "WALKMAN" tuaj, cilësia e daljes së zërit nga altoparlanti mund të optimizohet. Vetëm ky cilësim i cilësisë së zërit zbatohet për altoparlantin, ndërsa cilësimet e tjera të cilësisë së zërit nuk zbatohen.
- Për detaje se si të kryeni riprodhim në "WALKMAN" tuaj, referojuni "Udhëzuesit të Përdoruesit" të furnizuar me "WALKMAN" tuaj.
- Ju gjithashtu mund të përdorni "WALKMAN" tuaj me mbajtësen e altoparlantit të mbyllur.
Shënime
- Kur luani në "WALKMAN" tuaj pa përshtatësin e energjisë AC të lidhur, dalja e volumit nga sistemi reduktohet. Bateria e "WALKMAN" tuaj gjithashtu konsumohet.
- Nëse dëshironi të rregulloni volumin, bëjeni këtë ndërsa "WALKMAN" juaj është i instaluar. Nëse shkëputni përshtatësin e energjisë AC gjatë riprodhimit dhe gjithashtu shkëputni "WALKMAN" tuaj, volumi rivendoset në cilësimin e parazgjedhur.
- Ju nuk mund të përdorni funksionin e radios FM ndërsa "WALKMAN" juaj është i instaluar në sistem.
- Kur përdorni "WALKMAN" tuaj ndërsa është i instaluar në sistem, mbajeni atë me dorën tuaj tjetër.
Koha e disponueshme e riprodhimit pa përshtatësin e energjisë AC të lidhur
NWZ-E453K / E454K: 15 orë (përafërsisht)
* [SP Output Optimizer] i vendosur në [Off], riprodhimi MP3, 128 kbps
Shënim
- Kur [SP Output Optimizer] është vendosur në [SRS-NWGT015] (cilësimi i parazgjedhur) në "WALKMAN" tuaj, jetëgjatësia e baterisë mund të shkurtohet me përafërsisht 30%.
Për të rikarikuar baterinë e "WALKMAN" tuaj
Nëse e vendosni "WALKMAN" tuaj në sistem ndërsa përshtatësi i energjisë AC është i lidhur, karikimi i baterisë fillon automatikisht. Progresi i karikimit shfaqet në "WALKMAN". Për detaje, referojuni "Udhëzuesit të Përdoruesit" të furnizuar me "WALKMAN" tuaj.
Zgjidhja e Problemeve
Nëse hasni një problem me sistemin, gjeni problemin tuaj në listën e kontrollit të zgjidhjes së problemeve më poshtë dhe ndërmerrni veprimin korrektues të treguar. Nëse problemi vazhdon, kontaktoni shitësin tuaj të Sony-t. Vini re se nëse personeli i shërbimit ndryshon disa pjesë gjatë riparimit, këto pjesë mund të mbahen.
Kur e sillni sistemin për riparime, sigurohuni që të sillni të gjithë sistemin. Ky produkt është një produkt sistemi dhe i gjithë sistemi është i nevojshëm për të përcaktuar problemin.
Nuk ka zë
- Sigurohuni që përshtatësi i energjisë AC dhe kordoni i energjisë janë të lidhur mirë.
- Shtypni butonin VOLUME + për të rritur volumin.
- Sigurohuni që "WALKMAN" juaj është i lidhur mirë.
- Sigurohuni që "WALKMAN" juaj po luan muzikë.
Pasi të keni përshkruar mjetet juridike më sipër, nëse problemi vazhdon ende, shtypni butonin RESET të "WALKMAN" tuaj për ta rivendosur atë.
Ka një zhurmë ose zhurmë të fortë
- Largojeni sistemin nga çdo burim i mundshëm zhurme.
- Lidheni përshtatësin e energjisë AC në një rrjet tjetër.
Zëri është i shtrembëruar
- Shtypni butonin VOLUME – për të ulur volumin.
- Vendoseni modalitetin e zërit të "WALKMAN" në cilësi normale ose të sheshtë të zërit.
Mbajtësja shkëputet
- Instaloni mbajtësen në sistem duke ndjekur procedurën më poshtë.
- Vendoseni menteshën e sipërme të djathtë të mbajtëses në kunjën e anës së djathtë në pjesën e pasme të sistemit. Sigurohuni që të vendosni fillimisht menteshën në kunjën e anës së djathtë.
![SONY - WALKMAN NWZ-E453K - Zgjidhja e Problemeve - Hapi 1 Zgjidhja e Problemeve - Hapi 1]()
- Vendoseni menteshën tjetër në kunjën e majtë, dhe më pas shtypni mbajtësen derisa të klikojë.
![SONY - WALKMAN NWZ-E453K - Zgjidhja e Problemeve - Hapi 2 Zgjidhja e Problemeve - Hapi 2]()
(Njoftim për përdorimin e përshtatësit të energjisë AC)

Referencat
Mbështetja e Sony Europe
Sony América Latina | Lajmet e fundit, teknologjia dhe pajisjet | Elektronikë | Argëtim | Sonyhttp://www.sony-asia.com/support
Mbështetja e Klientit për Modelin Jashtë Shtetit
Shkarko manual
Këtu mund të shkarkoni versionin e plotë pdf të manualit, ai mund të përmbajë udhëzime shtesë sigurie, informacione garancioni, rregulla FCC, etj.
Shkarko SONY WALKMAN NWZ-E453K, NWZ-E454K - Manuali i Luajtësve të Mediave Dixhitale


, lidhni përshtatësin e energjisë AC
, dhe vendosni prizën e përshtatësit të energjisë AC në prizën e murit
.




