Philips HP8324, HP8333 - Manuali i drejtuesit të flokëve

Për të përfituar plotësisht nga mbështetja që ofron Philips, regjistroni produktin tuaj në www.philips.com/welcome.
Drejtoni flokët tuaj
Sigurohuni që të zgjidhni një cilësim temperature që është i përshtatshëm për flokët tuaj. Zgjidhni gjithmonë një cilësim të ulët kur e përdorni drejtuesin për herë të parë.
| Lloji i flokëve | Cilësimi i temperaturës |
| Të trashë, kaçurrelë, të vështirë për t'u drejtuar | Mesatar deri në të lartë (cilësimi 4 dhe lart) |
| Të hollë, me teksturë mesatare ose me onde të buta | I ulët deri në mesatar (cilësimi 4-5) |
| Të zbehtë, biondë, të zbardhur ose të trajtuar me ngjyrë | I ulët (nën 4) |

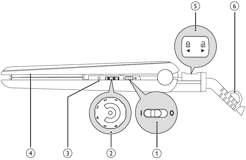
- Lidheni spinën në një prizë të furnizimit me energji.
- Rrëshqitni çelësin ndezës/fikës (
) në
për të ndezur pajisjen.
LED (
) ndizet dhe fillon të pulsojë. - Rrotulloni rrotën e reostatit (
) për të zgjedhur një cilësim temperature të përshtatshëm për flokët tuaj.
Pas 60 sekondash, pajisja nxehet dhe LED-i jeshil qëndron i ndezur pa pulsuar.
Funksioni i joneve aktivizohet kur pajisja ndizet. Funksioni siguron shkëlqim shtesë dhe redukton elektrizimin. Kur funksioni është i ndezur, mund të ndihet një erë e veçantë dhe mund të dëgjohet një zhurmë fërshëlluese, e cila është normale dhe shkaktohet nga jonet që gjenerohen. - Rrëshqitni kyçin e mbylljes (
) për të zhbllokuar pajisjen. - Krihni flokët tuaj dhe merrni një pjesë që nuk është më e gjerë se 5 cm për drejtim.
- Vendoseni atë midis pllakave drejtuese (
) dhe shtypni dorezat së bashku. - Rrëshqitni drejtuesin poshtë gjatësisë së flokëve me një lëvizje të vetme (maks. 5 sekonda) nga rrënja në fund, pa ndaluar për të parandaluar mbinxehjen.
- Për të krijuar kthime, rrotulloni drejtuesin gjysmë rrethi nga brenda (ose nga jashtë) kur arrin në fund të flokëve. Mbajeni drejtuesin në atë pozicion për 2 deri në 3 sekonda, dhe më pas lëshojeni atë.
- Për të drejtuar pjesën tjetër të flokëve tuaj, përsëritni hapat 5 deri në 7.
Shënim: Pajisja është e pajisur me një funksion automatik të fikjes. Pas 60 minutash, pajisja fiket automatikisht. Ju mund ta rindizni pajisjen duke rrëshqitur çelësin ON/OFF (ndezur/fikur) në
dhe më pas në
përsëri.
Pas përdorimit:
- Fikeni pajisjen dhe shkëputeni atë nga priza.
- Vendoseni atë në një sipërfaqe rezistente ndaj nxehtësisë derisa të ftohet.
- Pastroni pajisjen dhe pllakat drejtuese me një leckë të lagur.
- Mbyllni pllakat drejtuese (
) duke mbyllur krahët dhe duke rrëshqitur kyçin e mbylljes përpara. - Mbajeni atë në një vend të sigurt dhe të thatë, pa pluhur. Ju gjithashtu mund ta varni atë me lakun e varjes (
).
Garancia dhe shërbimi
Nëse keni nevojë për informacion p.sh. rreth zëvendësimit të një aksesori ose nëse keni një problem, ju lutemi vizitoni faqen e internetit të Philips në www.philips.com ose kontaktoni Qendrën e Kujdesit ndaj Klientit të Philips në vendin tuaj (ju e gjeni numrin e telefonit të saj në fletushkën e garancisë botërore). Nëse nuk ka Qendër të Kujdesit ndaj Konsumatorit në vendin tuaj, shkoni te shitësi juaj lokal i Philips.
E rëndësishme
Lexoni me kujdes këtë manual përdorimi përpara se të përdorni pajisjen dhe mbajeni atë për referencë të ardhshme.
Mos e përdorni këtë pajisje pranë ujit.- Kur pajisja përdoret në një banjo, shkëputeni atë nga priza pas përdorimit pasi afërsia e ujit paraqet një rrezik, edhe kur pajisja është e fikur.
Mos e përdorni këtë pajisje pranë vaskave, dusheve, lavamanëve ose enëve të tjera që përmbajnë ujë.
![]()
- Shkëputeni gjithmonë pajisjen nga priza pas përdorimit.
- Nëse kordoni i rrymës është i dëmtuar, ju duhet ta zëvendësoni atë nga Philips, një qendër shërbimi e autorizuar nga Philips ose persona të kualifikuar në mënyrë të ngjashme në mënyrë që të shmangni një rrezik.
- Kjo pajisje mund të përdoret nga fëmijët e moshës 8 vjeç e lart dhe personat me aftësi të reduktuara fizike, shqisore ose mendore ose mungesë të përvojës dhe njohurive nëse atyre u është dhënë mbikëqyrje ose udhëzime në lidhje me përdorimin e pajisjes në një mënyrë të sigurt dhe i kuptojnë rreziqet e përfshira. Fëmijët nuk duhet të luajnë me pajisjen. Pastrimi dhe mirëmbajtja e përdoruesit nuk duhet të bëhen nga fëmijët pa mbikëqyrje.
- Përpara se të lidhni pajisjen, sigurohuni që voltazhi i treguar në pajisje korrespondon me voltazhin lokal të energjisë.
- Mos e përdorni pajisjen për ndonjë qëllim tjetër përveç atij të përshkruar në këtë manual.
- Kur pajisja është e lidhur me energjinë, mos e lini kurrë pa mbikëqyrje.
- Mos përdorni kurrë ndonjë aksesor ose pjesë nga prodhues të tjerë ose që Philips nuk i rekomandon posaçërisht. Nëse përdorni aksesorë ose pjesë të tilla, garancia juaj bëhet e pavlefshme.
- Mos e mbështillni kordonin e rrymës rreth pajisjes.
- Prisni derisa pajisja të jetë ftohur përpara se ta ruani atë.
Kushtojini vëmendje të plotë kur përdorni pajisjen pasi ajo mund të jetë jashtëzakonisht e nxehtë. Mbajeni vetëm dorezën pasi pjesët e tjera janë të nxehta dhe shmangni kontaktin me lëkurën.
- Vendoseni gjithmonë pajisjen me mbajtësen në një sipërfaqe të sheshtë, të qëndrueshme dhe rezistente ndaj nxehtësisë. Pllakat e nxehta ngrohëse nuk duhet të prekin kurrë sipërfaqen ose materiale të tjera të ndezshme.
- Shmangni që kordoni i rrymës të bjerë në kontakt me pjesët e nxehta të pajisjes.
- Mbajeni pajisjen larg objekteve dhe materialeve të ndezshme kur ajo është e ndezur.
- Mos e mbuloni kurrë pajisjen me asgjë (p.sh. një peshqir ose veshje) kur është e nxehtë.
- Përdorni vetëm pajisjen në flokë të thatë. Mos e përdorni pajisjen me duar të lagura.
- Mbajeni pllakat ngrohëse të pastra dhe pa pluhur dhe produkte stilimi si shkumë, sprej dhe xhel. Mos e përdorni kurrë pajisjen në kombinim me produkte stilimi.
- Pllakat ngrohëse kanë veshje. Kjo veshje mund të konsumohet ngadalë me kalimin e kohës. Megjithatë, kjo nuk ndikon në performancën e pajisjes.
- Nëse pajisja përdoret në flokë të trajtuar me ngjyrë, pllakat ngrohëse mund të njollosen. Përpara se ta përdorni atë në flokë artificialë, konsultohuni gjithmonë me shpërndarësin e tyre.
- Kthejeni gjithmonë pajisjen në një qendër shërbimi të autorizuar nga Philips për ekzaminim ose riparim. Riparimi nga persona të pakualifikuar mund të rezultojë në një situatë jashtëzakonisht të rrezikshme për përdoruesin.
Mos futni objekte metalike në hapje për të shmangur goditjen elektrike.
- Mos e tërhiqni kordonin e energjisë pas përdorimit. Shkëputeni gjithmonë pajisjen nga priza duke mbajtur spinën.
Specifikimet mund të ndryshojnë pa paralajmërim
© 2015 Koninklijke Philips N.V.
Të gjitha të drejtat e rezervuara.

Referencat
Shkarko manual
Këtu mund të shkarkoni versionin e plotë pdf të manualit, ai mund të përmbajë udhëzime shtesë sigurie, informacione garancioni, rregulla FCC, etj.
Shkarko Philips HP8324, HP8333 - Manuali i drejtuesit të flokëve
) në
për të ndezur pajisjen.
LED (
) ndizet dhe fillon të pulsojë.
) për të zgjedhur një cilësim temperature të përshtatshëm për flokët tuaj.
) për të zhbllokuar pajisjen.
) dhe shtypni dorezat së bashku.
).