Makita GD0600 - Mwongozo wa Kisaga cha Die

VIPIMO
| Mfumo | GD0600 | |
| Upeo. wa uwezo wa kolati | 6 mm au 6.35 mm (1/4") | |
| Ncha ya Gurudumu | Upeo wa kipenyo cha gurudumu | 38 mm |
| Upeo wa urefu wa mandrel (shank) | 46 mm | |
| Kasi iliyokadiriwa (n) / Kasi bila mzigo (n0) | 25,000 min-1 | |
| Urefu wa jumla | 358 mm | |
| Uzito halisi | 1.7 kg | |
| Darasa la usalama | /II | |
- Kutokana na programu yetu endelevu ya utafiti na maendeleo, vipimo vilivyomo humu vinaweza kubadilika bila taarifa.
- Vipimo vinaweza kutofautiana kutoka nchi hadi nchi.
- Uzito kulingana na EPTA-Utaratibu 01/2003
Matumizi yaliyokusudiwa
Chombo kimekusudiwa kwa kusaga vifaa vya chuma au kuondoa miamba kwenye vitupwa.
Ugavi wa umeme
Chombo kinapaswa kuunganishwa tu na usambazaji wa umeme wa volti sawa na ilivyoonyeshwa kwenye bamba la jina, na kinaweza kuendeshwa tu kwa usambazaji wa AC wa awamu moja. Vimeingizwa mara mbili na vinaweza, kwa hivyo, pia kutumika kutoka kwa soketi bila waya wa ardhi.
Kelele
Kiwango cha kawaida cha kelele kilichopimwa kwa A kilichoamuliwa kulingana na EN60745:
Kiwango cha shinikizo la sauti (LpA): 74 dB (A)
Kutokuwa na uhakika (K): 3 dB (A)
Kiwango cha kelele chini ya kufanya kazi kinaweza kuzidi 80 dB (A).
Vaa kinga ya sikio
Mitetemo
Thamani ya jumla ya mitetemo (jumla ya vekta ya tri-axial) iliyoamuliwa kulingana na EN60745:
Njia ya kufanya kazi: kusaga uso
Utoaji wa mitetemo (ah, SG): 2.5 m/s2 au chini
Kutokuwa na uhakika (K): 1.5 m/s2
KUMBUKA: Thamani iliyotangazwa ya utoaji wa mitetemo imepimwa kwa mujibu wa njia ya kawaida ya majaribio na inaweza kutumika kwa kulinganisha chombo kimoja na kingine.
KUMBUKA: Thamani iliyotangazwa ya utoaji wa mitetemo inaweza pia kutumika katika tathmini ya awali ya mfiduo.
KUMBUKA: Thamani iliyotangazwa ya utoaji wa mitetemo inatumika kwa matumizi makuu ya zana ya nguvu. Hata hivyo ikiwa chombo cha nguvu kinatumika kwa matumizi mengine, thamani ya utoaji wa mitetemo inaweza kuwa tofauti.
Utoaji wa mitetemo wakati wa matumizi halisi ya chombo cha nguvu unaweza kutofautiana na thamani iliyotangazwa ya utoaji kulingana na njia ambazo chombo kinatumika.
Hakikisha kutambua hatua za usalama za kumlinda opereta ambazo zinatokana na makadirio ya mfiduo katika hali halisi za matumizi (kuzingatia sehemu zote za mzunguko wa uendeshaji kama vile nyakati ambazo chombo kimezimwa na kinapoendesha bila kazi pamoja na wakati wa kichochezi).
Maonyo ya Jumla ya Usalama kwa Zana za Nguvu
Soma maonyo yote ya usalama na maagizo yote. Kukosa kufuata maonyo na maagizo kunaweza kusababisha mshtuko wa umeme, moto na/au majeraha makubwa.
Hifadhi maonyo yote na maagizo kwa marejeleo ya baadaye.
Maonyo ya Usalama ya Kawaida kwa Operesheni ya Kusaga:
Zana hii ya nguvu imekusudiwa kufanya kazi kama grinder. Soma maonyo yote ya usalama, maagizo, vielelezo na vipimo vilivyotolewa na zana hii ya nguvu. Kukosa kufuata maagizo yote yaliyoorodheshwa hapa chini kunaweza kusababisha mshtuko wa umeme, moto na/au majeraha makubwa.- Shughuli kama vile kusaga, kupiga waya, kung'arisha au kukata hazipendekezwi kufanywa na zana hii ya nguvu. Shughuli ambazo zana ya nguvu haikukusudiwa zinaweza kuleta hatari na kusababisha majeraha ya kibinafsi.
- Usitumie vifaa ambavyo havijaundwa mahsusi na kupendekezwa na mtengenezaji wa zana. Kwa sababu tu kifaa kinaweza kuunganishwa kwenye zana yako ya nguvu, haihakikishi utendaji salama.
- Kasi iliyokadiriwa ya kifaa lazima iwe angalau sawa na kasi ya juu iliyo alama kwenye zana ya nguvu. Vifaa vinavyoenda kasi kuliko kasi yao iliyokadiriwa vinaweza kuvunjika na kuruka kando.
- Kipenyo cha nje na unene wa kifaa chako lazima ziwe ndani ya uwezo wa ukadiriaji wa zana yako ya nguvu. Vifaa vya ukubwa usio sahihi haviwezi kudhibitiwa vya kutosha.
- Ukubwa wa mhimili wa vifaa lazima ulingane vizuri na koleti ya zana ya nguvu. Vifaa ambavyo hailingani na vifaa vya kupachika vya zana ya nguvu vitaenda nje ya usawa, vitatetemeka kupita kiasi na vinaweza kusababisha kupoteza udhibiti.
- Vifaa vilivyowekwa kwenye mandrel lazima viingizwe kikamilifu kwenye koleti au chuck. Ikiwa mandrel haijashikiliwa vya kutosha na/au mwingilio wa gurudumu ni mrefu sana, kifaa kilichowekwa kinaweza kulegea na kutupwa kwa kasi ya juu.
- Usitumie kifaa kilichoharibiwa. Kabla ya kila matumizi, kagua kifaa kama vile magurudumu ya abrasive kwa chips na nyufa. Ikiwa zana ya nguvu au kifaa imedondoshwa, kagua uharibifu au usakinishe kifaa kisichoharibika. Baada ya kukagua na kusakinisha kifaa, jiweke wewe na watazamaji mbali na ndege ya kifaa kinachozunguka na uendeshe zana ya nguvu kwa kasi ya juu isiyo na mzigo kwa dakika moja. Vifaa vilivyoharibiwa kawaida huvunjika wakati huu wa majaribio.
- Vaa vifaa vya kujikinga vya kibinafsi. Kulingana na matumizi, tumia ngao ya uso, miwani ya usalama au glasi za usalama. Inapofaa, vaa barakoa ya vumbi, vilinda sikio, glavu na aproni ya warsha inayoweza kusimamisha vipande vidogo vya abrasive au vipande vya kazi. Kinga ya macho lazima iweze kuzuia uchafu unaoruka unaozalishwa na shughuli mbalimbali. Barakoa ya vumbi au kipumuaji lazima kiweze kuchuja chembe zinazozalishwa na operesheni yako. Mfiduo wa muda mrefu kwa kelele kubwa kunaweza kusababisha upotezaji wa kusikia.
- Weka watazamaji umbali salama kutoka eneo la kazi. Mtu yeyote anayeingia katika eneo la kazi lazima avae vifaa vya kujikinga vya kibinafsi. Vipande vya workpiece au kifaa kilichovunjika vinaweza kuruka na kusababisha jeraha zaidi ya eneo la karibu la operesheni.
Shikilia zana ya nguvu kwa sehemu za kushika zilizowekwa maboksi pekee, wakati unafanya operesheni ambapo kifaa cha kukata kinaweza kugusa waya zilizofichwa au kamba yake yenyewe. Kifaa cha kukata kinachogusa waya "moto" kinaweza kufanya sehemu za chuma zilizo wazi za zana ya nguvu "kuwa moto" na inaweza kumpa opereta mshtuko wa umeme.
- Daima shikilia zana kwa uthabiti mikononi mwako wakati wa kuanza. Mwitikio wa torque ya motor, inapoanza kuharakisha hadi kasi kamili, inaweza kusababisha zana kupinduka.
- Tumia clamp kusaidia workpiece inapowezekana. Usishike kamwe workpiece ndogo kwa mkono mmoja na zana kwa mkono mwingine wakati unatumiwa. Kubana workpiece ndogo hukuruhusu kutumia mkono wako (mikono) kudhibiti zana. Vifaa vya pande zote kama vile vijiti vya dowel, mabomba au tubing vina tabia ya kusonga wakati vinakatwa, na vinaweza kusababisha biti kufunga au kuruka kuelekea kwako.
- Weka kamba mbali na kifaa kinachozunguka. Ikiwa unapoteza udhibiti, kamba inaweza kukatwa au kunaswa na mkono wako au mkono wako unaweza kuvutwa kwenye kifaa kinachozunguka.
- Kamwe usiweke zana ya nguvu chini hadi kifaa kimesimama kabisa. Kifaa kinachozunguka kinaweza kunyakua uso na kuvuta zana ya nguvu nje ya udhibiti wako.
- Baada ya kubadilisha biti au kufanya marekebisho yoyote, hakikisha kuwa nati ya koleti, chuck au vifaa vingine vyovyote vya kurekebisha vimekazwa kwa usalama. Vifaa huru vya kurekebisha vinaweza kubadilika bila kutarajiwa, na kusababisha upotezaji wa udhibiti, vipengele huru vinavyozunguka vitatupwa kwa nguvu.
- Usikimbie zana ya nguvu wakati umeibeba upande wako. Kugusa kwa bahati mbaya na kifaa kinachozunguka kunaweza kunasa nguo zako, na kuvuta kifaa hicho ndani ya mwili wako.
- Safisha mara kwa mara matundu ya hewa ya zana ya nguvu. Shabiki wa motor atavuta vumbi ndani ya nyumba na mkusanyiko mwingi wa chuma cha unga unaweza kusababisha hatari za umeme.
- Usitumie zana ya nguvu karibu na vifaa vinavyoweza kuwaka. Cheche zinaweza kuwasha vifaa hivi.
Usitumie vifaa vinavyohitaji vipozaji vya kioevu. Kutumia maji au vipozaji vingine vya kioevu kunaweza kusababisha umeme au mshtuko.
Kickback na Maonyo Yanayohusiana
Kickback ni majibu ya ghafla kwa kifaa kinachozunguka kilichobanwa au kilichonaswa. Kubana au kunasa husababisha kusitishwa kwa haraka kwa kifaa kinachozunguka ambacho kwa upande wake husababisha zana ya nguvu isiyodhibitiwa kulazimishwa katika mwelekeo kinyume cha mzunguko wa kifaa. Kwa mfano, ikiwa gurudumu la abrasive limenaswa au kubanwa na workpiece, makali ya gurudumu ambayo yanaingia kwenye hatua ya kubana yanaweza kuchimba kwenye uso wa nyenzo na kusababisha gurudumu kupanda nje au kukimbia. Gurudumu linaweza kuruka kuelekea au mbali na opereta, kulingana na mwelekeo wa harakati ya gurudumu kwenye hatua ya kubana. Magurudumu ya abrasive yanaweza pia kuvunjika chini ya hali hizi.
Kickback ni matokeo ya matumizi mabaya ya zana ya nguvu na/au taratibu au hali zisizo sahihi za uendeshaji na inaweza kuepukwa kwa kuchukua tahadhari sahihi kama ilivyopewa hapa chini.
- Dumisha mshiko thabiti kwenye zana ya nguvu na uweke mwili wako na mkono wako ili kukuruhusu kupinga nguvu za kickback. Opereta anaweza kudhibiti nguvu za kickback, ikiwa tahadhari sahihi zinachukuliwa.
- Tumia uangalifu maalum wakati wa kufanya kazi pembe, kingo kali nk. Epuka kuruka na kunasa kifaa. Pembe, kingo kali au kuruka kuna tabia ya kunasa kifaa kinachozunguka na kusababisha upotezaji wa udhibiti au kickback.
- Usishikamishe blade ya msumeno yenye meno. Blade kama hizo huunda kickback ya mara kwa mara na upotezaji wa udhibiti.
- Daima lishe biti kwenye nyenzo katika mwelekeo sawa na makali ya kukata inatoka kwenye nyenzo (ambayo ni mwelekeo sawa na chipsi zinatupwa). Kulisha zana katika mwelekeo usio sahihi husababisha makali ya kukata ya biti kupanda nje ya kazi na kuvuta chombo katika mwelekeo wa kulisha hii.
Maonyo ya Usalama Maalum kwa Kusaga:
- Tumia tu aina za magurudumu ambazo zinapendekezwa kwa zana yako ya nguvu na tu kwa matumizi yaliyopendekezwa.
- Usiweke mkono wako sambamba na nyuma ya gurudumu linalozunguka. Wakati gurudumu, kwenye hatua ya operesheni, linasogea mbali na mkono wako, kickback inayowezekana inaweza kuendesha gurudumu linalozunguka na zana ya nguvu moja kwa moja kwako.
Maonyo ya Ziada ya Usalama:
- Chombo kimekusudiwa kutumiwa na pointi za gurudumu za abrasive zilizounganishwa (mawe ya kusaga) yaliyowekwa kabisa kwenye mandrel (shanks) wazi, isiyo na nyuzi.
- Hakikisha gurudumu haligusani na workpiece kabla ya kubadili kuwashwa.
- Kabla ya kutumia zana kwenye workpiece halisi, iruhusu iendeshe kwa muda. Angalia mtetemo au kuyumbayumba ambayo inaweza kuonyesha ufungaji mbaya au gurudumu lisilo na usawa.
- Tumia uso ulioainishwa wa gurudumu kufanya kusaga.
- Angalia cheche zinazoruka. Shikilia chombo ili cheche ziruke mbali na wewe na watu wengine au vifaa vinavyoweza kuwaka.
- Usiache chombo kikiendesha. Endesha chombo tu kikiwa kimeshikiliwa kwa mkono.
Usiguse workpiece mara baada ya operesheni; inaweza kuwa moto sana na inaweza kuchoma ngozi yako.- Angalia maagizo ya mtengenezaji kwa kuweka sahihi na matumizi ya magurudumu. Shikilia na uhifadhi magurudumu kwa uangalifu.
- Angalia kwamba workpiece inasaidiwa vizuri.
- Ikiwa mahali pa kazi ni moto sana na unyevu, au umechafuliwa vibaya na vumbi conductive, tumia kivunja mzunguko mfupi (30 mA) ili kuhakikisha usalama wa opereta.
- Usitumie chombo kwenye vifaa vyovyote vyenye asbesto.
- Daima hakikisha kuwa una msingi thabiti. Hakikisha hakuna mtu aliye chini wakati wa kutumia chombo katika maeneo ya juu.
HIFADHI MAAGIZO HAYA.
USIRUHUSU faraja au ujuzi na bidhaa (iliyopatikana kutoka kwa matumizi ya mara kwa mara) kuchukua nafasi ya uzingatiaji mkali wa sheria za usalama kwa bidhaa husika. MATUMIZI MABAYA au kushindwa kufuata sheria za usalama zilizotajwa katika mwongozo huu wa maagizo kunaweza kusababisha majeraha makubwa ya kibinafsi
MAELEZO YA UTENDAJI

Daima hakikisha kuwa kifaa kimezimwa na kimechomolewa kabla ya kurekebisha au kuangalia utendaji wake.

Kitendo cha swichi ► Mchoro 1:
- Kiwango cha swichi
- Kiwango cha kufunga
- Kitufe cha kufunga
- Kabla ya kuchomeka kifaa, daima angalia ili kuhakikisha kwamba kiwango cha swichi kinafanya kazi vizuri na kinarejea kwenye nafasi ya "ZIMA" kinapoachiliwa.
- Usivute kiwango cha swichi kwa nguvu bila kusukuma kiwango cha kufunga.
Kwa kifaa chenye kitufe cha kufunga
Ili kuzuia kiwango cha swichi kuvutwa kwa bahati mbaya, kiwango cha kufunga kimetolewa. Ili kuanzisha kifaa, vuta kiwango cha kufunga kuelekea kwa opereta na kisha uvute kiwango cha swichi. Achilia kiwango cha swichi ili kusimamisha. Kwa operesheni endelevu, vuta kiwango cha swichi na kisha sukuma kitufe cha kufunga. Ili kusimamisha kifaa kutoka nafasi iliyofungwa, vuta kiwango cha swichi kikamilifu, kisha uachilie.
Kwa kifaa kisicho na kitufe cha kufunga
Ili kuzuia kiwango cha swichi kuvutwa kwa bahati mbaya, kiwango cha kufunga kimetolewa. Ili kuanzisha kifaa, vuta kiwango cha kufunga kuelekea kwa opereta na kisha uvute kiwango cha swichi. Achilia kiwango cha swichi ili kusimamisha.
KUFUNGA AU KUONDOA NCHA YA GURUDUMU
Daima hakikisha kuwa kifaa kimezimwa na kimechomolewa kabla ya kufanya kazi yoyote kwenye kifaa.

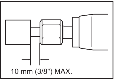
► Mchoro 2:
- Wrenchi 13
- Kokwa ya koleti
- Wrenchi 13
Legeza kokwa ya koleti na uingize ncha ya gurudumu kwenye kokwa ya koleti. Tumia wrenchi moja kushikilia spindle na nyingine kukaza kokwa ya koleti kwa usalama.
Ncha ya gurudumu haipaswi kuwekwa zaidi ya milimita 10 kutoka kwa kokwa ya koleti. Kuzidi umbali huu kunaweza kusababisha mtetemo au shimoni iliyovunjika.

Ili kuondoa ncha ya gurudumu, fuata utaratibu wa ufungaji kwa mpangilio wa nyuma.
Tumia koni ya koleti ya ukubwa sahihi kwa ncha ya gurudumu ambayo unakusudia kutumia
UTENDAJI

Washa kifaa bila ncha ya gurudumu kugusa sehemu ya kazi na usubiri hadi ncha ya gurudumu ifikie kasi kamili. Kisha weka ncha ya gurudumu kwenye sehemu ya kazi kwa upole. Ili kupata umaliziaji mzuri, songesha kifaa kuelekea upande wa kushoto polepole. ► Mchoro 3
Weka shinikizo kidogo kwenye kifaa. Shinikizo kubwa kwenye kifaa itasababisha tu umaliziaji mbaya na upakiaji mwingi wa injini
UTENGENEZAJI
- Daima hakikisha kuwa kifaa kimezimwa na kimechomolewa kabla ya kujaribu kufanya ukaguzi au utengenezaji.
- Kamwe usitumie petroli, benzini, thinner, pombe au vitu kama hivyo. Kubadilika rangi, kuharibika au kupasuka kunaweza kutokea.
Ili kudumisha USALAMA na UAMINIFU wa bidhaa, matengenezo, ukaguzi na ubadilishaji wa brashi ya kaboni, matengenezo au marekebisho mengine yoyote yanapaswa kufanywa na Vituo vya Huduma Vilivyoidhinishwa vya Makita, daima kwa kutumia vipuri vya uingizwaji vya Makita.
VIFAA VYA HIARI
Vifaa au viambatisho hivi vinapendekezwa kwa matumizi na kifaa chako cha Makita kilichobainishwa katika mwongozo huu. Matumizi ya vifaa au viambatisho vingine vyovyote yanaweza kuwasilisha hatari ya kuumia kwa watu. Tumia tu kifaa au kiambatisho kwa madhumuni yake yaliyoelezwa
Ikiwa unahitaji usaidizi wowote kwa maelezo zaidi kuhusu vifaa hivi, uliza Kituo chako cha Huduma cha Makita cha eneo lako.
- Ncha za gurudumu
- Seti ya koni ya koleti (3 mm, 6 mm, 1/4", 1/8")
- Wrenchi 13
- Kishikilia vise
- Seti ya kishikilia pembeni

Kishikilia pembeni ► Mchoro 4:
- Kishikilia pembeni
Unapotumia kishikilia pembeni, ondoa kilinda mpira, ingiza kishikilia pembeni kwenye pipa la kifaa kadiri itakavyokwenda na uizungushe kwenye pembe inayotakiwa. Kisha kaza kishikilia kwa uthabiti kwa kukigeuza kisaa.
- Unapotumia kifaa bila kishikilia, daima weka kilinda mpira kwenye kifaa.
- Unapoweka kilinda mpira, daima kisukume kwenye kifaa hadi uvimbe ndani ya mpira uendane na mitaro kwenye kifaa.
KUMBUKA:
- Baadhi ya vipengee katika orodha vinaweza kujumuishwa kwenye kifurushi cha kifaa kama vifaa vya kawaida. Vinaweza kutofautiana kutoka nchi hadi nchi.
Pakua mwongozo
Hapa unaweza kupakua toleo kamili la pdf la mwongozo, linaweza kujumuisha maelekezo ya ziada ya usalama, taarifa za udhamini, sheria za FCC, n.k.
Pakua Makita GD0600 - Mwongozo wa Kisaga cha Die
/II