Savio SMART TV-BOX GOLD TB-G01 Kullanım Kılavuzu

Kullanmadan önce
Satın alınan cihazı kullanmadan önce, tüm kullanım kılavuzunu okumanız önerilir.
SAVIO marka cihazları tercih ettiğiniz için teşekkür ederiz.
Ürünlerimizin müşterilerimizin yüksek gereksinimlerini karşılamasını sağlamak için tüm çabayı gösteriyoruz.
Cihazlarımızla ilgili herhangi bir sorunuz olması durumunda, web sitemiz aracılığıyla yardım bulabilirsiniz: www.savio.net.pl/en
Paket içeriği

- SMART TV BOX GOLD
- Uzaktan kumanda
- HDMI kablosu Kılavuz
- Güç adaptörü
Uygulama
SMART TV BOX GOLD, Android 8.1(Oreo)'ya sahiptir ve bir TV, Bilgisayar Monitörü veya projektöre bağlanmak için tasarlanmıştır. SMART TV BOX Gold, internetten veya harici veri depolama cihazından multimedya dosyalarını (videolar, resimler, müzik, video oyunları) oynatmak için kullanılabilen çok fonksiyonlu bir cihazdır. Videoyu 4K çözünürlükte oynatmak için bir HDMI 2.0 Savio Kablosu (dahil değildir) kullanılması önerilir.

Giriş/Çıkış
SPDIF - ses iletim çıkışı
AV - ses/video çıkışı
Ethernet - LAN 100 Mb/s bağlantısı: cihazı internete bağlamak için kullanılır
HD - HDMI çıkışı 2.1: TV, monitör veya projektör bağlamak için kullanılır 5V - güç girişi
USB-1 - USB 3.0 yuvası: harici bir bellek depolama cihazı ve giriş cihazlarını bağlamak için kullanılır
USB-2 - USB 2.0 yuvası: harici bellek depolama cihazı ve giriş cihazını bağlamak için kullanılır
TF - hafıza kartı yuvası: microSD kartı destekler
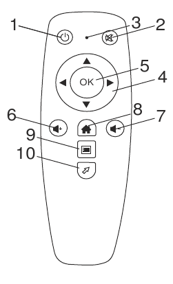
Uzaktan kumanda

- Açma/kapama
- Sessiz
- LED diyot
- Yukarı/aşağı/sol/sağ ok
- Onayla/Tamam/Enter
- Sesi aç
- Sesi kıs
- Ana menüye dön
- Önceki menüye dön
- Fare imlecini açma/kapama
Ön panelin açıklaması
Mavi diyot – cihazın açık olduğunu bildirir
Kırmızı diyot – cihazın kapalı olduğunu bildirir
Cihazı bağlama
- Cihazın HDMI veya AV soketi ile bir TV, monitör veya projektöre bağlanması gerekir. Videoyu 4K çözünürlükte oynatmak için bir HDMI 2.0 Savio Kablosu (dahil değildir) kullanılması önerilir.
- Güç fişinin cihazdaki bir güç soketine bağlanması ve ardından güç adaptörünün bir elektrik prizine takılması gerekir.
- Cihazı açmak/kapatmak için uzaktan kumandadaki
düğmesine basın.
Dili seçme
Bir dil ayarlamak için:
- Ana menüden ayarları seçin (settings).
- Dil seçeneğini seçin (Language).
- Mevcut diller listesinden doğru olanı seçin.
- Uzaktan kumandadaki "OK" düğmesiyle seçimi onaylayın.
WLAN(Wi-Fi) ile bağlantı
Bir Wi-Fi ağına bağlanmak için şu adımları izleyin:
- Ana menüde ayarları seçin (settings), ardından bir ağ seçin.
- Wi-Fi'yi seçin.
- Mevcut ağlar listesinden bağlanmak istediğiniz ağı seçin.
- Ağ güvenliyse bir şifre yazın.
- Savio Smart TV BOX Gold cihazı iki Wi-Fi Frekansını (2,4 GHz ve 5 GHz) destekler. 5 Ghz ağına bağlanmak için, ağ seçimi sırasında 5GHz hakkında sizi bilgilendiren ağa bağlanmanız gerekir. Ek olarak, yönlendiricinin 5GHz'i desteklemesi gerekir.
Lan bağlantısı
Cihaz, ağ kablosunu cihazdaki bir Ethernet'e bağlayarak bir LAN ağına da bağlanabilir.
Bluetooth
Bir gamepad, Bluetooth hoparlör veya diğer cihazlar gibi ek cihazları Bluetooth aracılığıyla bağlamak için şunlar gereklidir:
- Ana menüden ayarları seçin (settings).
- Bluetooth seçeneğini seçin:
- İstenen cihazı aramak için taramayı açın.
- Seçilen cihazı seçin ve bağlanın.
Uygulama kurulumu
Uygulamalar Google Play hizmeti aracılığıyla yüklenebilir.
Bunu yapmak için, google hesabına kaydolmak ve/veya giriş yapmak gerekir. Çeşitli uygulamaları kullanırken daha fazla rahatlık için, kablosuz Savio KW-01, KW-02 veya KW-03 klavyeyi öneriyoruz.
Yorumlar:
- Cihazın kasası kuru bir bezle temizlenmelidir.
- Ürün nem, su, güneş ışığından korunmalıdır. - Cihaz, uzaktan kumandadaki kırmızı düğmeye (Güç (Power)) basılarak açılmalıdır.
- Uzaktan kumanda kullanılırken ön panel kapatılmamalıdır, sinyali engelleyebilir veya kötüleştirebilir.
- Harici depolama cihazları kullanılırken, veri okunurken bunları dışarı çekmeyin, hasara veya veri kaybına neden olabilir. - Güç kablosu ezilmeye ve bükülmeye karşı korunmalıdır.
- Kendi kendine onarımlar ve kendi kendine yapılan değişiklikler, garantinin otomatik olarak kaybedilmesine neden olur. Cihaz, ısı kaynağının (örneğin ısıtıcı) yakınında çalışamaz.
- Aynı zamanda, yüklenen uygulamaların çalışmasıyla ilgili tüm durumların, yüklenen yazılımın geliştiricilerine yönlendirilmesi gerektiğini bildiririz, çünkü bu uygulamalarda yapılan güncelleme ve değişiklikler üzerinde herhangi bir etkimiz yoktur.
Teknik özellikler
| İşletim sistemi: | Android 8.1 Oreo |
| Merkezi İşlem Birimi: | Amlogic S905X2 Quad-Core-A53 CPU, 4x1,8 Ghz |
| Grafik İşlem Birimi: | Mali G31 |
| ROM: | 16GB eMMC |
| RAM: | 2 GB DDR4 |
| Bluetooth sürümü: | 4.1 |
| Wi-Fi: | Çift Bant 2.4+5 GHz |
| LAN: | 100Mbps |
| USB bağlantı noktaları: | 1xUSB 3.0, 1xUSB 2.0 |
| Çözünürlük: | 4K Ultra HD-maks. 3840 x 2016 |
| Güç: | DC 5V/2A |
| Destekler: | TVN Player, TVP VOD, HBO GO, IPLA, NC+GO, Cyfrowy Polsat GO, Netflix, YouTube, Chrome, Facebook ve Google Play'de bulunan diğer uygulamalar |
| SD Kart desteği: | 128GB'a kadar |
| HDD desteği: | FAT16/FAT32/NTFS |
| Video sıkıştırma formatları: | Vp9, H.265, H.264, MPEG-4, WMV/VC-1, AVS-P16, MPEG-2, MPEG-1, RealVideo 8/9/10, WebM |
| Desteklenen video formatları: | AVI/RM/RMVB/TS/VOB/MKV/MOV/ISO/WMV/ASF/FLV/DAT/ MPG/MPEG |
| Desteklenen ses formatları: | MP3/WMA/AAC/WAV/OGG/AC3/DDP/TrueHD/DTS/DTS/HD/ FLAC/APE |
| Desteklenen resim formatları: | HD JPEG/BMP/GIF/PNG/TIFF |
| Arayüz: | Lehçe, İngilizce, Almanca, Yunanca, Litvanca, Çekçe, Slovakça ve daha birçok dilde menü. |
| İşaretleme cihazları: | Fare, kablosuz klavye, işaretleme cihazları (USB 2.4 Ghz Alıcısı) Bluetooth desteği |

Referanslar
Kılavuzu indir
Burada kılavuzun tam PDF sürümünü indirebilirsiniz, ek güvenlik talimatları, garanti bilgileri, FCC kuralları vb. içerebilir.
Savio SMART TV-BOX GOLD TB-G01 Kullanım Kılavuzu indir