Acer Chromebook 315 Dizüstü Bilgisayar Kullanım Kılavuzu
ÇEVRE
Sıcaklık:
- Çalışma: 5°C ila 35°C
- Depolama: -20°C ila 60°C
Nem (yoğuşmasız):
- Çalışma: %20 ila %80
- Depolama: %20 ila %60
Başlarken
Chromebook'unuzu açın
Chromebook klavyesinde, yukarı kaydır tuşunun yanındaki üst kenarda bulunan güç düğmesine basın. Chromebook ilk açıldığında bir "Hoş Geldiniz" ekranı görünecektir.
Dil ayarlarınızı seçin
Varsayılan dil ayarınızı seçmek için "Dil" açılır listesini kullanın. Dilinizde yazmanın birden fazla yolu varsa, bir klavye giriş yöntemi de seçmeniz istenebilir.
Bir ağa bağlanın
İnternete bağlanmak için "Ağa bağlan" listesinden bir ağ seçin. Ağ erişimi korunuyorsa, bağlanmak için bir erişim parolasına ihtiyacınız olacaktır.
Hizmet Şartlarını kabul edin
Bir ağa bağlandıktan sonra, Hizmet Şartlarını kabul edin. Chromebook'unuz daha sonra mevcut sistem güncellemelerini indirecek, böylece en son Chrome OS özelliklerini otomatik olarak elde edersiniz.
İlk kez oturum açma
Yeni bir Google™ Hesabı oluşturun
Henüz bir Google Hesabınız yoksa yeni bir Google Hesabı oluşturabilirsiniz. Yeni bir hesap kurmak için Google Hesabı oluştur'u seçin. Bir Google Hesabı, Gmail, Google Drive ve Google Takvim gibi Google tarafından geliştirilen yararlı web hizmetlerine erişmenizi sağlar.
Misafir olarak göz atın
Misafir olarak Göz At'ı seçerek Chromebook'u bir Google Hesabı olmadan da kullanabilirsiniz.
Google Hesabınızda oturum açın
Zaten bir Google Hesabınız varsa, görünen oturum açma kutusuna kullanıcı adınızı ve şifrenizi girin ve Oturum aç (Sign in) düğmesini seçin.

Birincil Google Hesabınızla oturum açın. Bu hesap sahip olarak ayarlanacak ve belirli Chrome ayarlarını değiştirebilecek tek hesap olacaktır.
Acer Chromebook turunuz
Kurulumu tamamladığınıza göre, size yeni Acer Chromebook'unuzu gezdirelim.
Ön görünüm

| # | Simge | Öğe | Açıklama |
| 1 | Mikrofon | Ses kaydı için dahili mikrofon. | |
| 2 | Dokunmatik ekran | Bilgisayar çıktısını görüntüler, çoklu dokunma girişini destekler. | |
| 3 | Web kamerası | Video iletişimi için web kamerası. Web kamerasının yanındaki bir ışık, web kamerasının etkin olduğunu gösterir. |
Klavye görünümü

| # | Simge | Öğe | Açıklama |
| 1 | Klavye | Bilgisayarınıza veri girmek için. | |
| 2 | Dokunmatik yüzey / tıklama düğmesi | Bilgisayar faresi gibi işlev gören dokunmaya duyarlı işaretleme aygıtı. Yüzeyin herhangi bir yerine basmak, bir farenin sol düğmesi gibi işlev görür. İki parmağınızla herhangi bir yere basmak, bir farenin sağ düğmesi gibi işlev görür. | |
| 3 | ![]() | Güç düğmesi | Bilgisayarı açar veya kapatır. |
| 4 | Sayısal tuş takımı | Sayısal veri girişi için ayrı bir tuş takımı. |
Fonksiyon tuşları
Bilgisayar, ekran parlaklığı ve ses düzeyi gibi bazı donanım ve yazılım kontrollerine erişmek için fonksiyon tuşlarını veya tuş kombinasyonlarını kullanır. Özel fonksiyon tuşlarının her birinin belirli bir işlevi vardır.
| Simge | Fonksiyon | Açıklama |
![]() | Önceki | Önceki sayfaya git. |
![]() | Sonraki | Sonraki sayfaya git. |
![]() | Yeniden yükle | Geçerli sayfayı yeniden yükle. |
![]() | Tam ekran | Sayfayı tam ekran modunda açın. |
![]() | Sonraki pencere | Sonraki pencereye geç. |
![]() | Parlaklığı azalt | Ekran parlaklığını azaltır. |
![]() | Parlaklığı artır | Ekran parlaklığını artırır. |
![]() | Sessiz | Ses çıkışını kapatır. |
![]() | Sesi kıs | Sesi azaltır. |
![]() | Sesi aç | Sesi yükseltir. |
![]() | Ara | Uygulamalar panelinden arama yapın. |
Dokunmatik yüzey
Dahili dokunmatik yüzey, yüzeyindeki hareketi algılayan bir işaretleme aygıtıdır. Bu, parmaklarınızı dokunmatik yüzeyin yüzeyinde hareket ettirdiğinizde imlecin yanıt verdiği anlamına gelir.
| Eylem | Hareket |
| Tıklama | Dokunmatik yüzeyin herhangi bir yerine basın. |
| İki parmakla dokunma (veya alt tıklama) | Dokunmatik yüzeye iki parmakla dokunmak veya klavyede Alt tuşuna basılı tutarak dokunmatik yüzeye tek parmakla dokunmak, bir bilgisayar faresinde "sağ tıklama" ile aynıdır. |
| İki parmakla kaydırma | İki parmağınızı dokunmatik yüzeye yerleştirin ve dikey olarak kaydırmak için yukarı ve aşağı, yatay olarak kaydırmak için sola ve sağa hareket ettirin. |
| Sürükle ve bırak | Taşımak istediğiniz öğeyi bir parmağınızla seçin. İkinci bir parmakla öğeyi hareket ettirin. Öğeyi bırakmak için her iki parmağınızı da bırakın. (Bu hareket dosyalar için geçerlidir, pencereler veya simgeler için geçerli değildir.) |
Sol görünüm

| # | Simge | Öğe | Açıklama |
| 1 | ![]() | Pil göstergesi | Bilgisayarın pil durumunu gösterir. Şarj oluyor: Pil şarj olurken ışık kehribar rengini gösterir. Tamamen şarj oldu: AC modundayken ışık mavi rengini gösterir. |
| 2 | ![]() | DC girişli USB Type-C bağlantı noktası | Sağlanan USB Type-C güç adaptörüne ve USB Type-C konektörlü USB cihazlarına bağlanır. USB-C™ üzerinden DisplayPort™'u destekler. |
| 3 | ![]() | USB bağlantı noktası | USB cihazlarına bağlanır. |
| 4 | ![]() | MicroSD kart yuvası | Bu yuvaya bir microSD kartı takın. |
| 5 | ![]() | Kulaklık / hoparlör jakı | Ses cihazlarına (örn. hoparlörler, kulaklıklar) veya mikrofonlu bir kulaklığa bağlanır. |
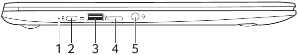
Sağ görünüm

| # | Simge | Öğe | Açıklama |
| 1 | ![]() | USB bağlantı noktası | USB cihazlarına bağlanır. |
| 2 | ![]() | DC girişli USB Type-C bağlantı noktası | Sağlanan USB Type-C güç adaptörüne ve USB Type-C konektörlü USB cihazlarına bağlanır. USB-C™ üzerinden DisplayPort™'u destekler. |
| 3 | ![]() | Kensington kilit yuvası | Kensington uyumlu bir güvenlik kilidine bağlanır. |
USB 3.1 Gen 1 bilgileri
- USB 3.1 Gen 1 uyumlu bağlantı noktaları mavidir.
- USB 3.1 Gen 1 ve önceki cihazlarla uyumludur.
- Optimum performans için, USB 3.1 Gen 1 sertifikalı cihazlar kullanın.
- USB 3.1 Gen 1 spesifikasyonu (SuperSpeed USB) tarafından tanımlanmıştır.
USB Type-C bilgileri
- 5 Gbps'ye kadar aktarım hızlarına sahip USB 3.1 Gen 1.
- DisplayPort™ ses/video çıkışını destekler.
- USB şarjı için 5 V DC'de 3 A'e kadar güç sağlar.
- DC girişi: 12/18~20 V'de 45 W sağlayan güç adaptörü veya güç kaynağı gerektirir. Optimum performans için lütfen sertifikalı bir Acer güç adaptörü veya USB Power Delivery cihazı kullanın.
Alt görünüm

| # | Simge | Öğe | Açıklama |
| 1 | Hoparlörler | Stereo ses çıkışı sağlar. |
© 2019. Tüm Hakları Saklıdır.
Kılavuzu indir
Burada kılavuzun tam PDF sürümünü indirebilirsiniz, ek güvenlik talimatları, garanti bilgileri, FCC kuralları vb. içerebilir.
Acer Chromebook 315 Dizüstü Bilgisayar Kullanım Kılavuzu indir

















