Logitech MeetUp o'rnatish bo'yicha qo'llanma
- 1 QUTIDA NIMA BOR
- 2 NIMA NIMA
- 3 JOYLASHTIRISH
- 4 ULANISH
- 5 MEETUP-NI STANDART QURILMA QILING
- 6 4K VIDEO HAQIDA ESDA TUTING
- 7 VIDEO QO'NG'IROQNI BOSHLASH
- 8 MEETUP-NI BLUETOOTH QURILMASIGA ULANISH
- 9 MASOFADAN BOSHQARISH PULTINI KAMERAGA ULANISH
- 10 QO'SHIMCHA MA'LUMOT UCHUN
- 11 Manbalar
- 12 Qo'llanmani yuklab olish
- 13 Boshqa tillarda

QUTIDA NIMA BOR

- MeetUp kamera va dinamik
- Masofadan boshqarish pulti
- 5m USB kabeli
- Quvvat adapteri
- Devorga o'rnatish uchun qavs
- Devorga o'rnatish uchun apparat
- Hujjatlar
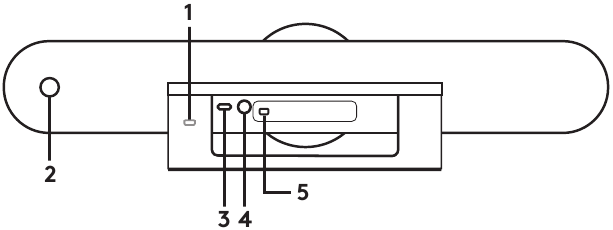
NIMA NIMA
KAMERA DINAMIK

- Xavfsizlik tirqishi
- Masofadan boshqarish pultini ulash
- USB
- Quvvat
- Ixtiyoriy kengaytma mikrofon
MASOFADAN BOSHQARISH PULTI

- Mikrofonni o'chirish
- Qo'ng'iroqqa javob berish (Qo'ng'iroqqa javob berish)
- Qo'ng'iroqni yakunlash (Qo'ng'iroqni tugatish)
- Bluetooth
- Ovozni balandlatish/pasaytirish
- Kattalashtirish/kichraytirish
- Kamerani aylantirish/og'dirish
- Kamera bosh holati
- Kamera sozlamasi
* Iltimos, barcha ilovalar qo'ng'iroqqa javob berish va tugatish tugmalarini qo'llab-quvvatlamasligini unutmang
JOYLASHTIRISH
Kamerani ko'z sathiga imkon qadar yaqinroq joylashtirishni tavsiya qilamiz
Odatda eng yaxshi natijalar monitordan pastroqqa o'rnatishdan kelib chiqadi
- Monitör yaqinidagi stol yoki tokchaga qo'ying
- Kabellarni ulang
- Devorga o'rnating:
- Qavsni devorga mahkamlang.
Devor turiga mos keladigan vintlardan foydalaning
![Logitech - MeetUp - JOYLASHTIRISH - 1-qadam JOYLASHTIRISH - 1-qadam]()
- Kamerani qavsga mahkamlang
![Logitech - MeetUp - JOYLASHTIRISH - 2-qadam JOYLASHTIRISH - 2-qadam]()
- Qavsni devorga mahkamlang.
- Televizorga o'rnatish: Ixtiyoriy televizorga o'rnatish qavsi Logitech.com saytida mavjud
ULANISH
MeetUp-ni xonada maxsus kompyuterdan foydalanishni rejalashtirganingizda ham, yoki jamoa a'zolaringiz yig'ilishni o'tkazish uchun noutbukni xonaga olib kelishsa ham, ulanish bir xil
- MeetUp-ni quvvatga ulang
![Logitech - MeetUp - ULANISH - 1-qadam - Quvvatni yoqish ULANISH - 1-qadam - Quvvatni yoqish]()
- USB kabelini MeetUp-dan kompyuterga ulang
![Logitech - MeetUp - ULANISH - 2-qadam ULANISH - 2-qadam]()
- Televizorni kompyuterga ulang.
![Logitech - MeetUp - ULANISH - 3-qadam ULANISH - 3-qadam]()
Barcha ulanishlar diagrammasi:
![Logitech - MeetUp - Barcha ulanishlar diagrammasi Barcha ulanishlar diagrammasi]()
MEETUP-NI STANDART QURILMA QILING
MeetUp video konferentsiya ilovalarida kamera, dinamik va mikrofon sifatida tanlanganligiga ishonch hosil qiling Buni qanday qilish bo'yicha qo'shimcha ko'rsatmalar uchun ilova hujjatlariga murojaat qiling
4K VIDEO HAQIDA ESDA TUTING
MeetUp bilan birga kelgan USB 2 0 kabeli FullHD videoni (1080p gacha) qo'llab-quvvatlaydi Agar siz 4k videodan foydalanishni rejalashtirmoqchi bo'lsangiz, iltimos, USB 3 0 kabelidan foydalaning (qo'shilmagan)
VIDEO QO'NG'IROQNI BOSHLASH
MeetUp-ni o'rnatgandan so'ng va u video konferentsiya ilovasida standart qurilma ekanligiga ishonch hosil qilgandan so'ng, ilovani odatdagidek ishga tushiring va yaxshilangan audio va videoning afzalliklaridan bahramand bo'ling
MEETUP-NI BLUETOOTH QURILMASIGA ULANISH
MeetUp-dan Bluetooth qurilmasiga ulangan holda audio qo'ng'iroqlar uchun foydalanishingiz mumkin.
Bluetooth qurilmangizni MeetUp-ga ulash uchun quyidagi oddiy qadamlarni bajaring:
- Kamera linzalari yaqinida miltillovchi ko'k chiroqni ko'rmaguningizcha, masofadan boshqarish pultidagi Bluetooth tugmasini bosib ushlab turing
- Mobil qurilmangizni Bluetooth ulanish rejimiga qo'ying va "Logitech MeetUp" ni tanlang
Endi siz MeetUp-dan audio qo'ng'iroqlar uchun foydalanishga tayyorsiz.
Ulangandan so'ng masofadan boshqarish pultidagi Bluetooth tugmasini bosish Bluetooth qurilmasini uzadi ("ulangan" bo'ladi, lekin "bog'langan" emas)
Uni yana bosish diapazondagi oxirgi ulangan qurilmani qayta ulaydi.
MASOFADAN BOSHQARISH PULTINI KAMERAGA ULANISH
Kamera va masofadan boshqarish pulti zavodda ulangan Biroq, agar siz kameraga masofadan boshqarish pultini ulashingiz kerak bo'lsa (masalan, yo'qolgan masofadan boshqarish pultini almashtirganda) quyidagilarni bajaring:
- LED ko'k rangda miltillaguncha kameraning orqa tomonidagi tugmani bosib ushlab turing
- Uni ulanish rejimiga o'tkazish uchun masofadan boshqarish pultidagi Bluetooth tugmasini 10 soniya bosib ushlab turing
- Masofadan boshqarish pulti va kamera ulangandan so'ng LED miltillashni to'xtatadi
- Agar ulanish muvaffaqiyatsiz bo'lsa, LEDlar miltillashda davom etadi 2-qadamdan boshlang va takrorlang
QO'SHIMCHA MA'LUMOT UCHUN
MeetUp haqida qo'shimcha ma'lumotni quyidagilardan topishingiz mumkin:
- TSS
- Turli ilovalarda funksiyalarni yoqish uchun dasturiy ta'minot
- Ehtiyot qismlarga qanday buyurtma berish
- Va boshqalar
www.Logitech.com/MeetUp
Manbalar
Logitech | Mantiqqa zid - Ertangi kunni yaxshiroq yaratish uchun vositalar
Kichik xonalar uchun Logitech MeetUp video konferentsiya kamerasi
Qo'llanmani yuklab olish
Bu yerda siz qo'llanmaning to'liq pdf versiyasini yuklab olishingiz mumkin, u qo'shimcha xavfsizlik ko'rsatmalari, kafolat ma'lumotlari, FCC qoidalari va hokazolarni o'z ichiga olishi mumkin.
Logitech MeetUp o'rnatish bo'yicha qo'llanma ni yuklab olish





