Kalorik VC 47706 - Simsiz Siklon Changyutgich Qo'llanmasi

QISMLAR

- Asosiy qism
- Uzatuvchi truba
- Motorli pol uchun nasadka
- Yumshoq rolikli cho'tka
- To'g'ridan-to'g'ri haydovchi cho'tka
- Mebel cho'tkasi
- Tor joylar uchun asbob
- Adapter
- Devorga o'rnatish moslamasi
MUHIM XAVFSIZLIK CHORALARI
Yong'in, elektr toki urishi yoki shikastlanish xavfini kamaytirish uchun, qurilmangizdan foydalanganda, quyidagi asosiy xavfsizlik qoidalariga har doim rioya qilish kerak, jumladan:
- Ishlatishdan oldin barcha ko'rsatmalarni o'qing.
- Faqat maqsadli foydalanish uchun ishlating.
- Changyutgichni issiqlik manbalari, radiatsiya yoki yonayotgan sigaretga yaqin joylashtirmang.
- Quyidagi narsalarni olib tashlash uchun qurilmani ishlatmang.
- Suv va erituvchilar kabi barcha suyuqliklar.
- Ohak, tsement, kul va boshqa qurilish materiallari.
- Sigaret qoldiqlari kabi issiq narsalar.
- Shisha siniqlari va boshqalar kabi o'tkir qoldiqlar.
- Benzin yoki spirtli mahsulotlar kabi yonuvchan va portlovchi moddalar.
- Baxtsiz hodisalarning oldini olish uchun bolalarga changyutgich bilan o'ynashga yoki uni ishlatishga ruxsat bermang.
- Ishlayotgan changyutgichni qarovsiz qoldirmang.
- Tozalash, texnik xizmat ko'rsatish yoki saqlash vaqtida quvvat o'chirilgan bo'lishi kerak.
- Adapter (moslashtirgich)ni simdan tortmang. Uni rozetkadan chiqarish uchun vilkaning plastik qismini ushlang.
- Elektr ta'minoti kuchlanishi changyutgichni zaryadlash kuchlanishiga mos kelishi kerak.
- Zarar yetkazmaslik uchun elektr simini o'tkir narsalardan uzoqroq tuting.
- Yong'inning oldini olish uchun changyutgichni suvga botirmang, uni isitish moslamalariga ta'sir qilmang.
- Zaryadlash stantsiyasini ko'chirishda elektr simini sudrab yurmang.
- Quyidagi holatlarda changyutgichni ishlatmang va agar u darhol yaqin atrofdagi tasdiqlangan texnik xizmat ko'rsatish markaziga yuboring:
- Changyutgich tushib ketgan va natijada shikastlangan
- Elektr simi shikastlangan
- Dvigatelga zarar yetkazmaslik (masalan, haddan tashqari qizib ketish) yoki haddan tashqari qizib ketgan dvigatel tufayli changyutgichning plastik qismining deformatsiyasini oldini olish uchun assimilyatsiya kirish joyi to'sib qo'yilgan bo'lsa, changyutgichni ishlatishni to'xtating.
- Uzoq vaqt davomida ishlatilmaganda va tozalashdan oldin batareyani olib tashlang.
- Batareyani tashish yoki saqlash vaqtida batareya terminallarining metall buyumlar bilan aloqa qilishiga yo'l qo'ymang. Hech qanday sababsiz batareyani ochishga yoki o'zgartirishga urinmang.
USHBU KO'RSATMALARNI FAQAT UY SHAROITIDA FOYDALANISH UCHUN SAQLAB QOLING
BIRINCHI FOYDALANISHDAN OLDIN
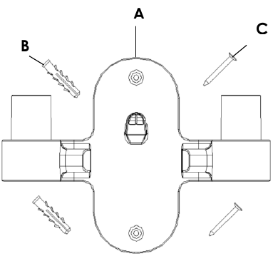
Devorga O'rnatiladigan Zaryadlash Stantsiyasini O'rnatish
- Devorga o'rnatish moslamasini o'rnatish uchun elektr rozetkasiga yaqin joyni tanlang. O'rnatish joyining orqasida hech qanday quvur (gaz, suv, havo) yoki elektr kabellari, simlar yoki havo o'tkazgichlari joylashmaganligiga ishonch hosil qiling. Dok stantsiyasini o'rnatishda himoya kiyimlari, ko'zoynaklar va materiallardan foydalanish tavsiya etiladi.
- Tayoq va elektr cho'tkasi erkin osilib turishi uchun devorda etarlicha baland nuqtani toping.
- Devorga o'rnatish moslamasini (A) devorga qo'ying va burg'ulash teshiklarini belgilash uchun qalamdan foydalaning.
![Kalorik - VC 47706 - Devorga O'rnatiladigan Zaryadlash Stantsiyasini O'rnatish Devorga O'rnatiladigan Zaryadlash Stantsiyasini O'rnatish]()
- Teshiklarni (1/4 dyuymli burg'u bilan) burg'ulang va gipsokarton ankerlarini (B) joylashtiring.
- O'rnatish moslamasidagi teshiklardan vintlarni (C) joylashtiring va mahkam o'rnatilguncha torting.
Qurilmani Yig'ish
- Tayoqni asosiy qismga suring, u bosilguncha
- Tayoqni elektr cho'tkasiga suring, u bosilguncha
- Aksessuarlarni yuqori, yetishish qiyin bo'lgan joylar uchun tayoqga ulash mumkin.
Qurilmani Zaryadlash
Batareya birinchi ishlatishdan oldin to'liq zaryadlangan bo'lishi kerak. Batareyani qurilmani devorga o'rnatish moslamasiga qo'yish, asosiy qismni gorizontal ravishda zaryadlash yoki faqat batareyani zaryadlash orqali zaryadlash mumkin.
Devorga O'rnatish Moslamasida Zaryadlash
- Asosiy qismni devorga o'rnatish moslamasiga qo'ying
- Adapter (moslashtirgich) simini zaryadlash rozetkasiga ulash uchun batareya blokining o'rtasida joylashgan yorliqni ko'taring.
![]()
- Ulanganda, qurilma zaryad olayotganda quvvat ko'rsatkichlari miltillaydi. To'liq zaryadlangandan so'ng, barcha indikator chiroqlari doimiy ko'k rangda yonadi.
Asosiy Qismni Gorizontal Ravishda Zaryadlash
- Asosiy qismni tekis yuzaga qo'ying.
- Adapter (moslashtirgich) simini zaryadlash rozetkasiga ulash uchun batareya blokining o'rtasida joylashgan yorliqni ko'taring.
![Kalorik - VC 47706 - Asosiy Qismni Gorizontal Ravishda Zaryadlash Asosiy Qismni Gorizontal Ravishda Zaryadlash]()
- Ulanganda, qurilma zaryad olayotganda quvvat ko'rsatkichlari miltillaydi.
- To'liq zaryadlangandan so'ng, barcha indikator chiroqlari doimiy ko'k rangda yonadi.
Eslatma: Gorizontal zaryadlashda asosiy qismni barqaror ushlab turish uchun qurilmani cho'tka va uzatuvchi trubasiz zaryadlash tavsiya etiladi.
Faqat Batareyani Zaryadlash
- Bo'shatish tugmasini bosib, batareya blokini asosiy qismdan olib tashlang.
![Kalorik - VC 47706 - Faqat Batareyani Zaryadlash Faqat Batareyani Zaryadlash]()
- Adapter (moslashtirgich) simini zaryadlash rozetkasiga ulash uchun batareya blokining o'rtasida joylashgan yorliqni ko'taring.
- Ulanganda, qurilma zaryad olayotganda quvvat ko'rsatkichlari miltillaydi.
Eslatma:
- Umumiy zaryadlash vaqti: 4-5 soat
- Yuqori quvvat rejimi (motorli aksessuarsiz): taxminan 10 daqiqa
- Eko rejimi (motorli aksessuarsiz): taxminan 40 daqiqa
- Quyidagi holatlarda zaryadlash uzoqroq vaqt talab qilishi mumkin:
- Xona harorati 30°C dan yuqori;
- Changyutgich ishlashni to'xtatgandan so'ng darhol qayta zaryadlandi.
- Har bir foydalanishdan keyin, qancha vaqt ishlatilganidan qat'i nazar, changyutgichni har doim qayta zaryadlang.
- Zaryadlanmaganda tokdan uzing.
- Batareyaning ishlash muddatini uzaytirish uchun changyutgichni kamida ikki oyda bir marta zaryadlash kerak. Agar changyutgich ikki oydan ko'proq vaqt davomida ishlatilmasa, changyutgichni elektr ta'minotidan uzib qo'yish tavsiya etiladi.
- Changyutgich yoki adapter (moslashtirgich) zaryadlash vaqtida qizib ketishi mumkin. Aloqa qilishdan saqlanish uchun zarur choralarni ko'ring.
FOYDALANISH
- Qurilma to'liq zaryadlangandan so'ng, asosiy qismni adapter simidan ajratib oling.
- Kerakli aksessuarlarni changyutgichga ulang (batafsil ma'lumot uchun AKSESSUARLARDAN FOYDALANISH bo'limiga qarang).
- Yoqish/o'chirish tetigini (A) bosib, changyutgichni yoqing. Indikator chiroqlari (B) yonadi va batareya darajasini ko'rsatadi.
- MAX/MIN tugmasini (C) bosib, kerakli so'rish quvvatini tanlang.
- Ishni tugatgandan so'ng, qurilmani o'chirish uchun ON/OFF (yoqish/o'chirish) tetigini yana bosing.
- O'chirilgandan so'ng, qurilmani zaryadlang.
AKSESSUARLARDAN FOYDALANISH
Motorli pol tozalash moslamasi

Motorli pol tozalash moslamasini (A) uzaytirish trubasiga (B) ulang. Uzaytirish trubasini asosiy
qismga (C) ulang.
Eslatma: Uzaytirish trubasini pol tozalash moslamasidan yoki asosiy qismdan ajratish uchun, biriktirmani ulashda uzaytirish trubasining uchidagi bo'shatish tugmasini bosib ushlab turing. Tugmani ushlab turgan holda, biriktirmani ehtiyotkorlik bilan, lekin mahkam ajratib oling.
Pol tozalash moslamasi cho'tkalari
Motorli pol tozalash moslamasini 2 xil cho'tka bilan ishlatish mumkin: to'g'ridan-to'g'ri haydovchi cho'tkasi va yumshoq rolikli
cho'tka.
To'g'ridan-to'g'ri haydovchi cho'tkasi gilamlar va chuqur tozalash uchun yaxshiroq mos keladi, yumshoq rolikli cho'tka esa qattiq
pollarni ehtiyotkorlik bilan tozalash uchun idealdir.
Mebel cho'tkasi va tirqish asbobi

Qo'lda changyutgich sifatida foydalanilganda, mebel cho'tkasini (D) yoki tirqish asbobini (E) asosiy
qismga (C) ulang.

Uzaytirish trubasi bilan foydalanilganda, mebel cho'tkasini (D) uzaytirish trubasiga (B) ulang.
Uzaytirish trubasini asosiy qismga (C) ulang.
Eslatma: Mebel cho'tkasini yoki tirqish asbobini ajratish uchun, biriktirmani asosiy qismdan yoki uzaytirish trubasidan ehtiyotkorlik bilan, lekin mahkam tortib oling.
TOZALASH VA XIZMAT KO'RSATISH
Chang idishini bo'shatish
- Changyutgich o'chirilganligiga ishonch hosil qiling.
- Batareyani va barcha biriktirmalarni asosiy qismdan olib tashlang.
- Changyutgichni pastki qopqoq yuqoriga qaragan holda aylantiring.
- Tekis yuzaga qo'ying. Pastki qopqoqni ochish uchun bo'shatish tugmasini (A) bosing.
- Qurilmani axlat qutisi ustiga aylantirib, chiqindilarni tashlang (B). Agar kerak bo'lsa, idishga yopishgan
har qanday chiqindilarni olib tashlash uchun qo'lingizdan foydalaning.
- Pastki qopqoqni joyiga tushguncha yoping.
Motorli pol tozalash moslamasi va cho'tkalarni tozalash
- Changyutgich o'chirilganligiga ishonch hosil qiling.
- Pol tozalash moslamasidagi bo'shatish tugmasini ushlab turing va motorli pol tozalash moslamasini uzaytirish trubasidan
ajratib oling.
- Tekis tornavida yoki tanga yordamida vintni "qulfdan chiqarish" holatiga aylantiring. Tozalash uchun cho'tka rolikini
qismlarga ajrating va barcha qismlar tozalandi so'ng qayta yig'ing.
Eslatma: Cho'tka roligi yuvilishi mumkin. Qayta yig'ishdan oldin to'liq quritilganligiga ishonch hosil qiling.
Filtrlarni tozalash
Mikrofiber filtr va filtr ekrani
- Chang idishini "qulfdan chiqarish" holatiga burab olib tashlang. Chang idishini burab olib tashlang. Qismlarga ajratishni
osonlashtirish uchun qurilmani tekis yuzaga qo'yish tavsiya etiladi, ikki qo'l bilan foydalaning.
![Kalorik - VC 47706 - Mikrofiber filtr va filtr ekranini tozalash - 1-qadam Mikrofiber filtr va filtr ekranini tozalash - 1-qadam]()
- Mikrofiber filtrni yuqoriga ko'taring. Filtr ekranini burab olib tashlang.
- Filtrlarni chayib, yaxshilab quriting.
- To'liq quritilgandan so'ng, qayta yig'ing.
Eslatma: Mikrofiber filtrni taxminan har 3 oyda almashtirish tavsiya etiladi.
HEPA filtri
- Asosiy qismning yuqori qismida joylashgan filtr qopqog'ini soat miliga teskari tomonga burab olib tashlang
![Kalorik - VC 47706 - HEPA filtrini tozalash HEPA filtrini tozalash]()
- Motordan keyingi HEPA filtrini yuqoriga ko'taring.
- Changni olib tashlash uchun silkitib tashlang. Filtrni sovuq suv ostida yuving.
- Yig'ishdan oldin filtrni to'liq quriting.
Eslatma: Changyutgichning ishlashini ta'minlash uchun HEPA filtrini muntazam foydalanishdan keyin olti oy o'tgach yuvish tavsiya etiladi. Agar HEPA filtri juda iflos bo'lsa, uni yangi filtrga almashtirish tavsiya etiladi.
MUAMMOLARNI BARTARAF ETISH
| MUAMMO | BO'LISHI MUMKIN BO'LGAN SABAB | BO'LISHI MUMKIN BO'LGAN YECHIM |
Pol boshidagi indikator chiroqlari miltillayapti |
|
|
Pol boshi ishlamayapti |
Pol boshi chiqindilar yoki sochlar bilan to'sib qo'yilgan | Cho'tka atrofida soch yoki boshqa ip qolib ketmaganligiga ishonch hosil qiling va cho'tka maydonini kattaroq chiqindilar uchun tekshiring |
Ishlash vaqti qisqardi |
|
|
Changyutgichda so'rish kuchi yo'q |
|
|
Asosiy korpusdagi barcha indikator chiroqlari miltillaydi |
Filtr yoki havo yo'li to'sib qo'yilgan | Chang filtri, chang idishi va havo yo'lini tozalang |
Zaryadlanmayapti |
Zaryadlash paytida atrof-muhit harorati juda past yoki juda yuqori | Mashinani to'g'ri harorat muhitida zaryadlang (5°C - 40°C) |
Manbalar
Qo'llanmani yuklab olish
Bu yerda siz qo'llanmaning to'liq pdf versiyasini yuklab olishingiz mumkin, u qo'shimcha xavfsizlik ko'rsatmalari, kafolat ma'lumotlari, FCC qoidalari va hokazolarni o'z ichiga olishi mumkin.
Kalorik VC 47706 - Simsiz Siklon Changyutgich Qo'llanmasi ni yuklab olish





