Comfee CRM45D3ABB, CRM45D3AST - Ikki eshikli muzlatgich qo'llanmasi

Xavfsizlik ogohlantirishlari

yong'in xavfi / yonuvchan materiallar
BU qurilma uy xo'jaliklarida va shunga o'xshash joylarda, masalan, do'konlar, ofislar va boshqa ish joylaridagi xodimlar oshxona joylarida; fermer xo'jaliklarida va mehmonxonalar, motellar va boshqa turar joylarda; yotoq va nonushta turidagi joylarda; ovqatlanish va shunga o'xshash chakana savdo bo'lmagan joylarda foydalanish uchun mo'ljallangan.
BU qurilma jismoniy, hissiy yoki aqliy qobiliyatlari cheklangan yoki tajribasi va bilimi yo'q shaxslar (shu jumladan bolalar) tomonidan ishlatish uchun mo'ljallanmagan, agar ularga xavfsizligi uchun mas'ul shaxs tomonidan qurilmadan foydalanish bo'yicha nazorat yoki ko'rsatma berilmagan bo'lsa.)
Agar ta'minot shnuri shikastlangan bo'lsa, xavfni oldini olish uchun uni ishlab chiqaruvchi, uning xizmat ko'rsatuvchi agenti yoki shunga o'xshash malakali shaxslar almashtirishi kerak.
BU qurilmada yonuvchan propellantli aerozol qutilari kabi portlovchi moddalarni saqlamang.
Qurilma ishlatilgandan so'ng va qurilmaga foydalanuvchi tomonidan texnik xizmat ko'rsatishdan oldin elektr tarmog'idan uzilishi kerak.
Qurilma korpusidagi yoki o'rnatilgan konstruksiyadagi shamollatish teshiklarini to'siqlardan tozalang.
Eritish jarayonini tezlashtirish uchun ishlab chiqaruvchi tomonidan tavsiya etilganidan boshqa mexanik qurilmalar yoki boshqa vositalardan foydalanmang.
Sovutgich zanjiriga zarar yetkazmang
Qurilmaning oziq-ovqat saqlash bo'limlari ichida elektr jihozlaridan foydalanmang, agar ular ishlab chiqaruvchi tomonidan tavsiya etilgan turdagi bo'lmasa.
Iltimos, muzlatgichni mahalliy qoidalarga muvofiq utilizatsiya qiling, chunki u yonuvchan gaz va sovutgichdan foydalanadi.
Qurilmani joylashtirganda, ta'minot shnurining qisilib qolmasligiga yoki shikastlanmasligiga ishonch hosil qiling.
Qurilmaning orqa tomonida bir nechta ko'chma rozetkalarni yoki ko'chma quvvat manbalarini joylashtirmang.
Uzatish shnurlaridan yoki yerga ulanmagan (ikki tirnoqli) adapterlardan foydalanmang.
Bolalarni ushlab qolish xavfi
Eski muzlatgichingizni tashlamasdan oldin
- Eshiklarni yechib oling.
- Bolalar osongina ichkariga kira olmasligi uchun javonlarni joyida qoldiring.
Muzlatgichga urinishdan oldin elektr ta'minoti manbaidan uzilishi kerak
Qurilma uchun ishlatiladigan sovutgich va siklopentan ko'pik materiallari yonuvchan hisoblanadi. Shuning uchun, qurilma utilizatsiya qilinganda, uni har qanday olov manbaidan uzoqroq tutish va atrof-muhitga yoki boshqa zararga yo'l qo'ymaslik uchun yoqish orqali utilizatsiya qilinmasdan, balki tegishli malakaga ega bo'lgan maxsus qayta tiklash kompaniyasi tomonidan qayta tiklanishi kerak.
BOLALAR qurilma bilan o'ynamasliklari uchun nazorat qilinishi kerak.
Qurilmaning beqarorligi tufayli xavfni oldini olish uchun uni ko'rsatmalarga muvofiq mahkamlash kerak
Faqat ko'chma suv ta'minotiga ulaning. (Muz yasash mashinasi uchun mos)
BOLANING TUTULIB QOLISHINI oldini olish uchun bolalarning qo'li yetmaydigan joyda saqlang va muzlatgich (yoki muzlatgich) yaqinida emas". (Qulflari bo'lgan mahsulotlar uchun mos)
Xavfsizlik ogohlantirish belgilarining ma'nolari
Taqiq belgisi | Bu taqiq belgisi. Ushbu belgi bilan belgilangan ko'rsatmalarga rioya qilmaslik mahsulotga zarar yetkazishi yoki foydalanuvchining shaxsiy xavfsizligiga tahdid solishi mumkin. |
Ogohlantirish belgisi | Bu |
Eslatma belgisi | Bu ogohlantiruvchi belgi. Ushbu belgi bilan belgilangan ko'rsatmalar maxsus |
Ushbu qo'llanmada foydalanuvchilar tomonidan rioya qilinishi kerak bo'lgan ko'plab muhim xavfsizlik ma'lumotlari mavjud.
Elektr energiyasi bilan bog'liq ogohlantirishlar
- Muzlatgichning elektr vilkasini tortayotganda elektr shnurini tortmang. Iltimos, vilkani mahkam ushlang va uni to'g'ridan-to'g'ri rozetkadan chiqarib oling. Xavfsiz foydalanishni ta'minlash uchun elektr shnuriga zarar yetkazmang yoki u shikastlangan yoki eskirgan bo'lsa, elektr shnuridan foydalanmang.
- Agar shovqin, hid va tutun paydo bo'lsa, iltimos, darhol elektr vilkasini uzing va distribyutorga yoki mahalliy xizmat ko'rsatuvchi agentga murojaat qiling
![]()
- Iltimos, maxsus elektr rozetkasidan foydalaning va elektr rozetkasi boshqa elektr jihozlari bilan bo'lishilmasligi kerak. Elektr vilkasi rozetka bilan mahkam bog'langan bo'lishi kerak, aks holda yong'inlar kelib chiqishi mumkin.
- Iltimos, elektr rozetkasining topraklama elektrodida ishonchli topraklama liniyasi bilan jihozlanganligiga ishonch hosil qiling.
![]()
- Gaz va boshqa yonuvchan gazlar sizib chiqsa, iltimos, sizib chiqayotgan gazning valfini o'chiring va keyin eshiklar va derazalarni oching. Uchqun yong'inga olib kelishi mumkinligini hisobga olib, muzlatgich va boshqa elektr jihozlarini elektr tarmog'idan uzmang.
![]()
- Ishlab chiqaruvchi tomonidan tavsiya etilgan turdagi bo'lmasa, qurilmaning yuqori qismida elektr jihozlaridan foydalanmang.
![]()
Foydalanish bo'yicha ogohlantirishlar
- Muzlatgichni o'zboshimchalik bilan qismlarga ajratmang yoki qayta tiklamang, sovutgich zanjiriga zarar yetkazmang; qurilmaga texnik xizmat ko'rsatish mutaxassis tomonidan amalga oshirilishi kerak
- Zararlangan elektr shnuri xavfni oldini olish uchun ishlab chiqaruvchi, uning texnik xizmat ko'rsatish bo'limi yoki tegishli mutaxassislar tomonidan almashtirilishi kerak.
![]()
- Muzlatgich eshiklari o'rtasidagi va eshiklar va muzlatgich korpusi o'rtasidagi bo'shliqlar kichik, barmoqni siqib qo'ymaslik uchun qo'lingizni ushbu joylarga qo'ymaslikni unutmang. Buyumlar tushib ketmasligi uchun muzlatgich eshigini yopayotganda ehtiyot bo'ling.
- Muzlatgich ishlayotgan paytda muzlash kamerasida nam qo'llar bilan oziq-ovqat yoki idishlarni, ayniqsa, sovuq urmaslik uchun metall idishlarni olmang.
- Jarohatlanmaslik uchun iltimos, qo'llaringizni qurilmaning ostiga yoki orqasiga qo'ymang
![]()
- Hech qanday bolaga muzlatgichga kirishiga yoki unga chiqishiga yo'l qo'ymang; aks holda bolaning bo'g'ilishi yoki yiqilib tushishi mumkin.
![]()
- Eshikni yopayotganda yoki ochayotganda buyumlar tushishi mumkinligini va tasodifiy jarohatlar kelib chiqishi mumkinligini hisobga olib, muzlatgichning yuqori qismiga og'ir narsalarni qo'ymang.
- Elektr uzilib qolganda yoki tozalashda vilkani chiqarib oling. Ketma-ket ishga tushirishlar tufayli kompressorga zarar yetkazmaslik uchun muzlatgichni besh daqiqa ichida elektr ta'minotiga ulamang.
![]()
Joylashtirish bo'yicha ogohlantirishlar
- Mahsulotga zarar yetkazmaslik yoki yong'in hodisalarining oldini olish uchun muzlatgichga yonuvchan, portlovchi, uchuvchan va yuqori korroziy moddalarni qo'ymang.
- Yong'in sodir bo'lishining oldini olish uchun muzlatgich yaqiniga yonuvchan narsalarni qo'ymang.
![]()
- Muzlatgich uy sharoitida foydalanish uchun mo'ljallangan, masalan, oziq-ovqat mahsulotlarini saqlash; undan qon, dori yoki biologik mahsulotlar va hokazolarni saqlash kabi boshqa maqsadlarda foydalanish mumkin emas.
![]()
- Muzlatgichning muzlash kamerasida shisha idishlarda yoki yopiq idishlarda pivo, ichimlik yoki boshqa suyuqliklarni saqlamang; aks holda shishalar yoki yopiq idishlar muzlash tufayli yorilib, shikastlanishi mumkin.
![]()
Energiya bo'yicha ogohlantirishlar
energiya uchun
- Sovutgich qurilmalari mo'ljallangan haroratlar diapazonining sovuq uchidan pastroqda uzoq vaqt joylashtirilganda doimiy ravishda ishlamasligi mumkin (muzlatilgan oziq-ovqat bo'limida tarkibning erishi yoki haroratning haddan tashqari isishi ehtimoli).
- Gazlangan ichimliklar oziq-ovqat muzlatgich bo'limlarida yoki shkaflarida yoki past haroratli bo'limlarda yoki shkaflarda saqlanmasligi kerakligi va muzli suv kabi ba'zi mahsulotlarni juda sovuq holda iste'mol qilmaslik kerakligi;
- Oziq-ovqat ishlab chiqaruvchilari tomonidan har qanday turdagi oziq-ovqat uchun va ayniqsa, oziq-ovqat muzlatgich va muzlatilgan oziq-ovqat saqlash bo'limlarida yoki shkaflarida tijorat maqsadida tez muzlatilgan oziq-ovqat uchun tavsiya etilgan saqlash vaqtidan(laridan) oshmaslik zarurligi;
- Sovutgich qurilmasini eritish paytida muzlatilgan oziq-ovqat haroratining haddan tashqari ko'tarilishini oldini olish uchun zarur bo'lgan ehtiyot choralari, masalan, muzlatilgan oziq-ovqatni bir necha qatlamli gazetaga o'rash.
- Qo'lda eritish, texnik xizmat ko'rsatish yoki tozalash paytida muzlatilgan oziq-ovqat haroratining oshishi saqlash muddatini qisqartirishi mumkinligi.
- Eshiklar yoki qulflar va kalitlar bilan jihozlangan qopqoqlar uchun bolalarning ichkarida qulflanishiga yo'l qo'ymaslik uchun kalitlar bolalar qo'li yetmaydigan joyda va sovutgich qurilmasi yaqinida saqlanmasligi zarurligi.
Utilizatsiya qilish bo'yicha ogohlantirishlar
Muzlatgich uchun ishlatiladigan sovutgich va siklopentan ko'pik materiallari yonuvchan hisoblanadi. Shuning uchun, muzlatgich utilizatsiya qilinganda, uni har qanday olov manbaidan uzoqroq tutish va atrof-muhitga yoki boshqa zararga yo'l qo'ymaslik uchun yoqish orqali utilizatsiya qilinmasdan, balki tegishli malakaga ega bo'lgan maxsus qayta tiklash kompaniyasi tomonidan qayta tiklanishi kerak.

Muzlatgich utilizatsiya qilinganda, eshiklarni qismlarga ajrating va eshikning gardishi va javonlarini olib tashlang; eshiklar va javonlarni to'g'ri joyga qo'ying, shunda hech qanday bola tutilib qolmaydi.

Ushbu mahsulotni to'g'ri utilizatsiya qilish: Ushbu belgi ushbu mahsulotni butun Yevropa Ittifoqi bo'ylab boshqa maishiy chiqindilar bilan birga tashlab yubormaslik kerakligini ko'rsatadi. Nazorat qilinmagan chiqindilarni utilizatsiya qilish natijasida atrof-muhitga yoki inson salomatligiga yetishi mumkin bo'lgan zararni oldini olish uchun uni moddiy resurslardan barqaror foydalanishni rag'batlantirish uchun mas'uliyat bilan qayta ishlang. Ishlatilgan qurilmangizni qaytarish uchun qaytarish va yig'ish tizimlaridan foydalaning yoki mahsulot sotib olingan chakana sotuvchiga murojaat qiling. Ular ushbu mahsulotni atrof-muhit uchun xavfsiz qayta ishlash uchun qabul qilishlari mumkin.
Sovutgichdan to'g'ri foydalanish
Joylashtirish
- Ishlatishdan oldin barcha o'rash materiallarini, shu jumladan pastki yostiqlar, ko'pikli prokladkalar va sovutgich ichidagi lentalarni olib tashlang; eshiklardagi va sovutgich korpusidagi himoya plyonkasini yirtib tashlang.
- Bo'g'ilish xavfini oldini olish uchun o'rash materiallari va boshqa qismlarni bolalarning qo'li yetmaydigan joyda qoldiring.
![]()
- Issiqdan uzoqroq tuting va to'g'ridan-to'g'ri quyosh nuridan saqlaning. Zanglash yoki izolyatsiya effektining kamayishiga yo'l qo'ymaslik uchun muzlatgichni nam yoki suvli joylarga qo'ymang.
![]()
- Sovutgichni purkamang yoki yuvmang: sovutgichning elektr izolyatsiya xususiyatlariga ta'sir qilmasligi uchun uni suv sepiladigan nam joylarga qo'ymang.
- Sovutgich yaxshi shamollatiladigan yopiq joyga joylashtiriladi; zamin tekis va mustahkam bo'lishi kerak (agar beqaror bo'lsa, tekislash uchun g'ildirakni chapga yoki o'ngga aylantiring).
- Iltimos, uskunani transport vositalarida (masalan, qayiq va hokazo) ishlatmang
![]()
- Sovutgichning yuqori qismi 30 sm dan katta bo'lishi kerak va issiqlik tarqalishini osonlashtirish uchun sovutgich devorga 10 sm dan ortiq bo'sh joy bilan joylashtirilishi kerak.
![]()
O'rnatishdan oldin ehtiyot choralari
Aksessuarlarni o'rnatishdan yoki sozlashdan oldin, sovutgichning elektr ta'minotidan uzilganligiga ishonch hosil qilish kerak. Tutqichning tushib ketishi natijasida shikastlanishning oldini olish uchun ehtiyot choralarini ko'rish kerak.
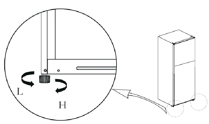
Tekislash oyoqlari
Tekislash oyoqlarining sxematik diagrammasi

(Yuqoridagi rasm faqat ma'lumot uchun. Haqiqiy konfiguratsiya jismoniy mahsulotga yoki distribyutorning bayonotiga bog'liq bo'ladi)
Sozlash tartibi:
- Sovutgichni ko'tarish uchun oyoqlarni soat yo'nalishi bo'yicha aylantiring;
- Sovutgichni tushirish uchun oyoqlarni soat yo'nalishiga teskari aylantiring;
- Gorizontal darajaga erishish uchun yuqoridagi tartiblarga asoslanib, o'ng va chap oyoqlarni sozlang.
Eshikni o'ngdan chapga o'zgartirish
| Foydalanuvchi tomonidan ta'minlanadigan asboblar ro'yxati | |||
![]() | Xochli tornavida | ![]() | Yupqa pichoqli shpaklyovka pichog'i tornavida |
![]() | 5/16" patron va ratchet | | Maskalash lentasi |
Eshikni teskari qilish uchun ishlatiladigan qismlar
| SN | Qismlar | Miqdor | Eslatmalar |
| 1 | Yuqori menteşa | 1 | Sovutgichga oldindan o'rnatilgan va eshikni almashtirishda ishlatiladi. |
| 2 | Yuqori menteşa qopqog'i | 1 | Sovutgichga oldindan o'rnatilgan va eshikni almashtirishda ishlatiladi. |
| 3 | Teshik qopqog'i | 1 | Sovutgichga oldindan o'rnatilgan va eshikni almashtirishda ishlatiladi. |
| 4 | O'ng to'xtatuvchi | 2 | Sovutgichga oldindan o'rnatilgan va eshikni almashtirishda ishlatiladi. |
| 5 | Chap to'xtatuvchi | 2 | Ilova qilingan plastik qopchada, eshik teskari bo'lganda foydalanish uchun ularni oling |
| 6 | O'rta menteşa | 1 | Sovutgichga oldindan o'rnatilgan va eshikni almashtirishda ishlatiladi. |
| 7 | Qistiruvchi pin | 2 | Sovutgichga oldindan o'rnatilgan va eshikni almashtirishda ishlatiladi. |
| 8 | O'ng pastki menteşa | 1 | Sovutgichga oldindan o'rnatilgan va eshikni almashtirishda ishlatiladi. |
| 9 | Chap pastki menteşa | 1 | Ilova qilingan plastik qopchada, eshik teskari bo'lganda foydalanish uchun ularni oling |
| 10 | Tekislash oyoqlari | 1 | Sovutgichga oldindan o'rnatilgan va eshikni almashtirishda ishlatiladi. |
| 11 | Spacer | 1 | Ilova qilingan plastik qopchada, eshik teskari bo'lganda foydalanish uchun ularni oling |
- Sovutgichni o'chiring va barcha narsalarni eshik tokchalaridan olib tashlang.
- Menteşa qopqog'ini olib tashlang, so'ngra yuqori menteşa vintlarini, yuqori menteşani va boshqa tomondagi teshik qopqog'ini olib tashlang.
![Comfee - CRM45D3ABB - Eshikni o'ngdan chapga o'zgartirish - 1-qadam Eshikni o'ngdan chapga o'zgartirish - 1-qadam]()
- Muzlatgich eshigini o'rta menteşa, vint teshigi qopqoqlarini olib tashlang. Sovutishning pastki qopqog'iga o'rnatilgan vintlarni va cheklov bloklarini olib tashlang.
![Comfee - CRM45D3ABB - Eshikni o'ngdan chapga o'zgartirish - 2-qadam Eshikni o'ngdan chapga o'zgartirish - 2-qadam]()
- Sovutgich eshigini olib tashlang, pastki menteşani va boshqa tomondagi sozlanishi oyoqni olib tashlang.
- Sozlash oyoqini o'ng tomonga o'rnating, ko'rsatma qo'llanmasidagi plastik qopdan 2 ta cheklov blokini oling va ularni mos ravishda pastki qopqoqning chap tomoniga vintlar bilan mahkamlang va pastki qopqoqning chap tomonini muzlating, pastki menteşaning boshqa tomonini ko'rsatma qopidan olib tashlang va uni chap tomonga o'rnating.
![Comfee - CRM45D3ABB - Eshikni o'ngdan chapga o'zgartirish - 3-qadam Eshikni o'ngdan chapga o'zgartirish - 3-qadam]()
- Sovutgich eshigini yuqoridan pastga joylashtiring, ko'rsatmalardagi plastik qopdan qistirma olib tashlang va uni rasmda ko'rsatilganidek, sovutgich eshigining chap tomonidagi o'q teshigiga joylashtiring. Markaziy menteşani vintlar bilan mahkamlang va tirgaklarni o'rnating
![Comfee - CRM45D3ABB - Eshikni o'ngdan chapga o'zgartirish - 4-qadam Eshikni o'ngdan chapga o'zgartirish - 4-qadam]()
- Muzlatgich eshigini o'rta menteşaga qo'ying, yuqori menteşani boshqa tomonga yig'ing, menteşa qopqog'ini yuqori menteşaga mahkamlang va teshik qopqog'ini boshqa tomonga mahkamlang.
![Comfee - CRM45D3ABB - Eshikni o'ngdan chapga o'zgartirish - 5-qadam Eshikni o'ngdan chapga o'zgartirish - 5-qadam]()
Yoritgichni almashtirish
LED lampalarni (115V, 2W) har qanday almashtirish yoki ta'mirlash ishlab chiqaruvchi, uning xizmat ko'rsatuvchi agenti yoki shunga o'xshash malakali shaxs tomonidan amalga oshirilishi kerak.
Ishlatishni boshlash
- Dastlabki ishga tushirishdan oldin, sovutgichni elektr ta'minotiga ulashdan oldin ikki soat davomida harakatsiz qoldiring.
- Yangi yoki muzlatilgan ovqatlarni qo'yishdan oldin, sovutgich 2-3 soat davomida ishlashi kerak, yoki atrof-muhit harorati yuqori bo'lganda yozda 4 soatdan ortiq ishlashi kerak.
![]()
- Eshiklar va tortmalarni qulay ochish uchun yetarli joy ajrating yoki distribyutorning bayonoti.
![]()
Energiyani tejash bo'yicha maslahatlar
- Uskuna xonaning eng salqin joyida, issiqlik ishlab chiqaradigan uskunalar yoki isitish quvurlaridan uzoqda va to'g'ridan-to'g'ri quyosh nuridan uzoqda joylashgan bo'lishi kerak.
- Issiq ovqatlarni uskunaga joylashtirishdan oldin xona haroratigacha sovutib oling. Uskunani ortiqcha yuklash kompressorni uzoqroq ishlashga majbur qiladi. Juda sekin muzlaydigan ovqatlar sifatini yo'qotishi yoki buzilishi mumkin
- Ovqatlarni to'g'ri o'rashga va uskunaga joylashtirishdan oldin idishlarni quritib artib oling. Bu uskunaning ichida sovuq hosil bo'lishini kamaytiradi.
- Uskunani saqlash uchun mo'ljallangan qutini alyumin folga, mumli qog'oz yoki qog'oz sochiq bilan qoplash kerak emas. Qoplamalar sovuq havo aylanishiga xalaqit berib, uskunani kamroq samarali qiladi.
- Eshik ochilishini va uzoq qidiruvlarni kamaytirish uchun ovqatni tartibga soling va belgilang. Bir vaqtning o'zida kerakli narsalarni olib tashlang va eshikni imkon qadar tezroq yoping.
Tuzilishi va funktsiyalari
Asosiy komponentlar

(Yuqoridagi rasm faqat ma'lumot uchun. Haqiqiy konfiguratsiya jismoniy mahsulotga yoki distribyutorning bayonotiga bog'liq bo'ladi)
Sovutish kamerasi
- Sovutish kamerasi turli xil mevalar, sabzavotlar, ichimliklar va qisqa muddatda iste'mol qilinadigan boshqa oziq-ovqatlarni saqlash uchun javob beradi.
- Pishirilgan ovqatlar xona haroratigacha sovutilmaguncha sovutish kamerasiga qo'yilmasligi kerak.
- Ovqatlarni sovutgichga qo'yishdan oldin ularni yopish tavsiya etiladi.
- Shisha tokchalarni oqilona miqdorda saqlash joyi va oson foydalanish uchun yuqoriga yoki pastga sozlash mumkin.
Muzlatish kamerasi
- Past haroratli muzlatish kamerasi oziq-ovqatni uzoq vaqt davomida yangi saqlashi mumkin va u asosan muzlatilgan oziq-ovqatlarni saqlash va muz tayyorlash uchun ishlatiladi.
- Muzlatish kamerasi go'sht, baliq, guruch to'plari va qisqa muddatda iste'mol qilinmaydigan boshqa oziq-ovqatlarni saqlash uchun javob beradi.
- Go'sht bo'laklarini oson olish uchun kichik bo'laklarga bo'lish afzalroq. Iltimos, oziq-ovqat mahsulotlarining yaroqlilik muddati ichida iste'mol qilinishiga e'tibor bering.
Eslatma: Elektrga dastlabki ulanishdan keyin ishlash vaqtida juda ko'p oziq-ovqat mahsulotlarini saqlash sovutgichning muzlash effektiga salbiy ta'sir ko'rsatishi mumkin.
Funktsiyalari

(Yuqoridagi rasm faqat ma'lumot uchun. Haqiqiy konfiguratsiya jismoniy mahsulotga yoki distribyutorning bayonotiga bog'liq bo'ladi )
- Haroratni nazorat qilish tugmachasini 3 ga burang, sovutgichning ichki harorati pastroq bo'ladi.
- Haroratni nazorat qilish tugmachasini 1 ga burang, sovutgichning ichki harorati yuqoriroq bo'ladi.
- Tugmachadagi harf faqat harorat darajasini bildiradi, lekin aniq haroratni bildirmaydi, "0" ishlashni to'xtatishni anglatadi
Sovutgichni texnik xizmat ko'rsatish va unga g'amxo'rlik qilish
Umumiy tozalash
- Sovutgich orqasidagi va erdagi changlar sovutish effektini yaxshilash va energiyani tejash uchun o'z vaqtida tozalanadi.
- Eshik qistirmasida hech qanday qoldiq yo'qligiga ishonch hosil qilish uchun uni muntazam tekshirib turing. Eshik qistirmani sovunli suv yoki suyultirilgan detarjen bilan namlangan yumshoq mato bilan tozalang
- Hidni oldini olish uchun sovutgichning ichki qismi muntazam ravishda tozalanishi kerak.
- Iltimos, ichki qismni tozalashdan oldin quvvatni o'chiring, barcha ovqatlar, ichimliklar, tokchalar, tortmalar va boshqalarni olib tashlang.
- Sovutgichning ichki qismini tozalash uchun yumshoq mato yoki gubkadan foydalaning, ikki qoshiq iste'mol sodasi va bir kvarta iliq suv bilan. Keyin suv bilan chayib, toza artib oling. Tozalashdan so'ng, eshikni oching va quvvatni yoqishdan oldin tabiiy ravishda quriting.
- Sovutgichda tozalash qiyin bo'lgan joylar (masalan, tor sendvichlar, bo'shliqlar yoki burchaklar) uchun ularni muntazam ravishda yumshoq latta, yumshoq cho'tka va hokazolar bilan artib turish tavsiya etiladi va zarurat tug'ilganda, ushbu joylarda ifloslantiruvchi moddalar yoki bakteriyalar to'planmasligini ta'minlash uchun ba'zi yordamchi vositalar (masalan, ingichka tayoqchalar) bilan birlashtiriladi.
- Sovun, detarjen, ishqalanish kukuni, purkagich tozalagich va hokazolardan foydalanmang, chunki ular sovutgichning ichida hid paydo bo'lishiga yoki oziq-ovqatning ifloslanishiga olib kelishi mumkin.
- Shisha ramka, tokchalar va tortmalarni sovunli suv yoki suyultirilgan detarjen bilan namlangan yumshoq mato bilan tozalang. Yumshoq mato bilan quriting yoki tabiiy ravishda quriting.
- Sovutgichning tashqi yuzasini sovunli suv, detarjen va hokazo bilan namlangan yumshoq mato bilan artib oling va keyin quriting.
- Qattiq cho'tkalar, tozalovchi po'lat sharlar, sim cho'tkalar, abrazivlar (masalan, tish pastalari), organik erituvchilar (masalan, spirtli ichimliklar, atseton, banan moyi va boshqalar), qaynoq suv, kislota yoki ishqoriy narsalardan foydalanmang, chunki ular muzlatgich yuzasiga va ichki qismiga zarar etkazishi mumkin. Qaynoq suv va benzol kabi organik erituvchilar plastik qismlarni deformatsiya qilishi yoki shikastlashi mumkin.
- Qisqa tutashuvlardan qochish yoki botirilgandan keyin elektr izolyatsiyasiga ta'sir qilmaslik uchun tozalash vaqtida to'g'ridan-to'g'ri suv yoki boshqa suyuqliklar bilan yuvmang.
![]()
Muzlatgichni eritish va tozalash uchun elektrdan uzib qo'ying
Eritish
- Elektr shnurini uzing.
- Oziq-ovqatni sovutgichdan olib tashlang va ularning erib ketishini oldini olish uchun to'g'ri joylashtiring.
- Drenaj trubasini tozalang (astariga zarar yetkazmaslik uchun yumshoq materiallardan foydalaning), suv idishlarini eritish preparati bilan birgalikda (kompressor bo'linmasining suv tepsisini tozalashga e'tibor bering, yerga toshib ketishining oldini oling).
- Tabiiy eritishning tabiiy haroratidan foydalanishingiz mumkin, shuningdek, sovuqni yo'q qilish uchun muz kurakchadan foydalanishingiz mumkin (astar yoki trubaga zarar yetkazmaslik uchun plastik yoki yog'och muz kurakchadan foydalaning)
- Bundan tashqari, eritishni tezlashtirish uchun tegishli miqdordagi issiq suvdan foydalanishingiz mumkin, eritgandan so'ng suvni quritish uchun quruq sochiq bilan arting.
- Oziq-ovqatni qaytarib qo'ying va yana yoqing
Ishlamay qolish
Elektr uzilishi: Elektr uzilishi bo'lsa, hatto yozda ham jihoz ichidagi oziq-ovqat bir necha soat davomida saqlanishi mumkin; elektr uzilishi vaqtida eshikni ochish vaqtini kamaytirish kerak va jihozga yangi oziq-ovqat qo'shilmasligi kerak.
Uzoq vaqt ishlatilmaslik: Jihoz elektrdan uzilishi va keyin tozalanadi; keyin hidni oldini olish uchun eshiklar ochiq qoldiriladi.
Ko'chirish: Sovutgichni ko'chirishdan oldin ichidagi barcha narsalarni olib tashlang, shisha to'siqlarni, sabzavot ushlagichini, muzlatish kamerasi tortmalarini va hokazolarni lenta bilan mahkamlang va tekislash oyoqlarini mahkamlang; eshiklarni yoping va ularni lenta bilan mahkamlang. Ko'chirish vaqtida jihozni teskari yoki gorizontal holda qo'ymaslik yoki tebratmaslik kerak; harakatlanish vaqtida og'ish 45° dan oshmasligi kerak.
Jihoz ishga tushirilgandan so'ng doimiy ravishda ishlashi kerak. Odatda, jihozning ishlashi (A uzilmasligi kerak; aks holda xizmat muddati buzilishi mumkin)
ESLATMA: Iltimos, "1" va "3" orasida sozlang va foydalaning.
Muammolarni bartaraf etish
Quyidagi oddiy muammolarni o'zingiz hal qilishga harakat qilishingiz mumkin. Agar ularni hal qilib bo'lmasa, sotuvdan keyingi bo'limga murojaat qiling.
| Ishlamay qolish | Jihoz quvvatga ulanganligini yoki vilkaning yaxshi kontaktda ekanligini tekshiring Voltaj juda pastligini tekshiring Elektr uzilishi yoki qisman zanjirlar o'chirilganligini tekshiring |
| Hid | Hidli oziq-ovqat mahkam o'ralgan bo'lishi kerak Chirigan oziq-ovqat bormi yoki yo'qligini tekshiring Sovutgichning ichki qismini tozalang |
| Kompressorning uzoq vaqt ishlashi | Atrof-muhit harorati yuqori bo'lganda yozda sovutgichning uzoq vaqt ishlashi normal holatdir Jihozga bir vaqtning o'zida juda ko'p ovqat qo'yish tavsiya etilmaydi Ovqatni jihozga qo'yishdan oldin sovutish kerak Eshiklar juda tez-tez ochiladi |
| Yorug'lik yonmayapti | Sovutgichning elektr ta'minotiga ulanganligini va yorituvchi chiroqning shikastlanganligini tekshiring Chiroqni mutaxassisga almashtiring |
| Eshiklar to'g'ri yopilmaydi | Eshik oziq-ovqat paketlari bilan tiqilib qolgan Juda ko'p ovqat joylashtirilgan Sovutgich egilgan |
| Qattiq shovqin | Polning tekisligini va sovutgichning barqaror joylashtirilganligini tekshiring Aksessuarlar to'g'ri joylarda joylashtirilganligini tekshiring |
| Eshik muhri mahkam bo'lmaydi | Eshik muhri ustidagi begona narsalarni olib tashlang Eshik muhri isiting va keyin tiklash uchun sovuting (yoki elektr fen bilan puflang yoki isitish uchun issiq sochiqdan foydalaning) |
| Suv tepsisi eritish tufayli havo va suvning ko'payishi bilan to'lib ketadi | Kamerada juda ko'p ovqat bor yoki saqlangan oziq-ovqat juda ko'p suv o'z ichiga oladi, bu esa kuchli eritishga olib keladi Eshiklar to'g'ri yopilmagan, natijada kirish tufayli muzlash paydo bo'ladi |
| Issiq korpus issiqlik tarqalishini osonlashtirish uchun yaxshi shamollatishni ta'minlaydi | O'rnatilgan kondensatorning korpus orqali issiqlik tarqalishi, bu normal holatdir Yuqori atrof-muhit harorati, juda ko'p ovqat saqlash yoki kompressorni o'chirish tufayli korpus issiq bo'lganda, |
| Yuzada kondensatsiya | Atrof-muhit namligi juda yuqori bo'lganda sovutgichning tashqi yuzasida va eshik muhrlarida kondensatsiya normal holatdir. Kondensatni toza sochiq bilan arting. |
| G'ayrioddiy shovqin | Guvillash: Kompressor ish paytida guvillashi mumkin va guvillashlar, ayniqsa, ishga tushirish yoki to'xtashda baland bo'ladi. Bu normal holat. G'ichirlash: Jihoz ichida oqayotgan sovutgich g'ichirlashi mumkin, bu normal holat. |

Qo'llanmani yuklab olish
Bu yerda siz qo'llanmaning to'liq pdf versiyasini yuklab olishingiz mumkin, u qo'shimcha xavfsizlik ko'rsatmalari, kafolat ma'lumotlari, FCC qoidalari va hokazolarni o'z ichiga olishi mumkin.
Comfee CRM45D3ABB, CRM45D3AST - Ikki eshikli muzlatgich qo'llanmasi ni yuklab olish
Taqiq belgisi

























