Holmes HAP242 Series - Ръководство за настолен пречиствател на въздух от HEPA тип

ВАЖНИ ПРЕДПАЗНИ МЕРКИ
МОЛЯ, ПРОЧЕТЕТЕ И ЗАПАЗЕТЕ ТЕЗИ ВАЖНИ ИНСТРУКЦИИ
Когато използвате електрически уреди, винаги трябва да се спазват основните мерки за безопасност, за да се намали рискът от пожар, токов удар и нараняване на хора. Тези предпазни мерки включват:
- Прочетете всички инструкции, преди да използвате уреда.
- За да намалите риска от пожар или токов удар, включете уреда директно в електрически контакт 120V AC.
- Ако филтърът е покрит с торба при изпращане, отстранете пластмасовата торба преди употреба.
- Дръжте кабела далеч от зони с интензивен трафик. За да избегнете опасност от пожар, НИКОГА не поставяйте кабела под килими, близо до отоплителни регистри, радиатори, печки или нагреватели.
- НЕ потапяйте уреда във вода или други течности. Не използвайте близо до вода.
- Необходим е строг надзор, когато даден уред се използва от или в близост до деца или хора с увреждания.
- Винаги изключвайте пречиствателя на въздуха от контакта, преди да преместите или почистите уреда, да отворите решетката, да смените филтъра и когато уредът не се използва. За да изключите уреда, не забравяйте да издърпате щепсела, а не кабела.
- НИКОГА не изпускайте и не поставяйте предмети в отворите на уреда.
- НЕ работете с уред с повреден кабел или щепсел. Ако моторният вентилатор не работи или уредът е изпуснат или повреден по някакъв начин, върнете уреда на производителя за преглед и/или ремонт.
- Използвайте уреда само по предназначение за домашна употреба, както е описано в това ръководство. Всяка друга употреба, която не е препоръчана от производителя, може да причини пожар, токов удар или нараняване на хора. Използването на приставки, които не са препоръчани или продадени от Jarden Consumer Solutions, може да причини наранявания.
- НЕ използвайте на открито.
- НИКОГА не поставяйте върху мека повърхност, като легло или диван, тъй като това може да доведе до преобръщане на уреда и блокиране на решетките за входящ или изходящ въздух.
- Дръжте уреда далеч от нагрети повърхности и открит пламък.
- НЕ се опитвайте да ремонтирате или регулирате каквито и да било електрически или механични функции на този уред. Това може да причини наранявания и да анулира гаранцията ви. Вътрешността на уреда не съдържа части, които могат да бъдат обслужени от потребителя. Всички сервизни дейности трябва да се извършват от Jarden Consumer Solutions или оторизиран сервизен център на Jarden Consumer Solutions.
- НЕ поставяйте нищо върху уреда.
- Винаги изключвайте уреда, преди да го изключите от контакта.
- Йонизаторът в този уред произвежда по-малко озон от установените от UL граници от 50ppb (части на милиард). Въпреки това, във високи концентрации озонът може да бъде вреден за птици и малки домашни любимци. За да предотвратите натрупването на озон, препоръчваме да използвате йонизатора в добре проветриви помещения с включен вентилатор.
- Този уред трябва да се използва само в помещение с температури между 40°F и 110°F.
За да намалите риска от пожар или токов удар, НЕ използвайте този уред с устройство за контрол на скоростта в твърдо състояние.
МОЛЯ, ПРОЧЕТЕТЕ И ЗАПАЗЕТЕ
ТЕЗИ ВАЖНИ ИНСТРУКЦИИ ЗА БЕЗОПАСНОСТ
За да намалите риска от токов удар, ТОЗИ ПРОДУКТ ИМА ПОЛЯРИЗИРАН ЩЕПСЕЛ (единият щифт е по-широк от другия).
Този щепсел ще се побере в поляризиран контакт само по един начин. Ако щепселът не се побере напълно в контакта, обърнете щепсела. Ако все още не се побере, свържете се с квалифициран персонал, за да инсталирате правилния контакт.
НЕ ПРОМЕНЯЙТЕ ЩЕПСЕЛА ПО НИКАКЪВ НАЧИН.
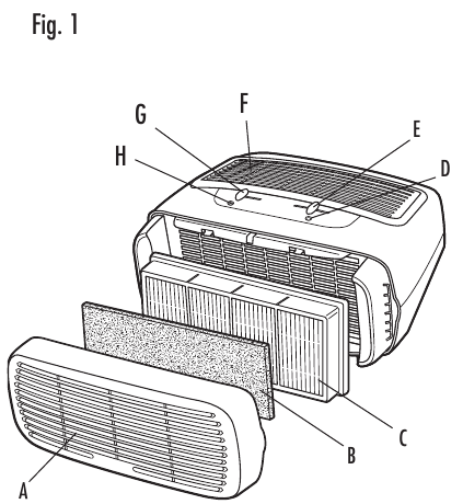
ХАРАКТЕРИСТИКИ
БЕЗОПАСНОСТ НА КАБЕЛА
- Дължината на кабела, използван на този уред, е избрана, за да се намали заплитането или опасностите от спъване.
- Ако е необходим по-дълъг кабел, може да се използва одобрен удължителен кабел. Електрическата мощност на удължителния кабел трябва да бъде равна или по-голяма от електрическата мощност на пречиствателя на въздуха (вижте етикета с номиналната мощност, отбелязан върху продукта).
- Трябва да се внимава да се подреди удължителният кабел така, че да не виси над плота или масата, където може да бъде издърпан от деца или случайно да се спънете в него.
ОПОЗНАЙТЕ ВАШИЯ ПРЕЧИСТВАТЕЛ НА ВЪЗДУХ
- Вашият пречиствател на въздух Holmes® разполага с филтър от HEPA тип, който премахва до 99% от праха и полените във въздуха с размер до 2 микрона и помага за намаляване на дима, спорите на плесени и пърхота от домашни любимци от въздуха, преминаващ през филтъра.
- Содата за хляб и въгленът Arm & Hammer® помагат за абсорбиране и елиминиране на битовите миризми.
- Опционалният йонизатор естествено подобрява работата и помага за освежаване на въздуха.
ЙОНИЗАТОР
Този уред има опционална функция йонизатор, която, когато е включена, освобождава отрицателни йони в изходящия филтриран въздух, за да подпомогне процеса на пречистване на въздуха.
Какво представляват йоните?
Йоните са малки частици, които носят положителен или отрицателен заряд. Те съществуват естествено около нас: във въздуха, водата и земята. Както положителните, така и отрицателните йони са безцветни, без мирис и безвредни.
Как работи йонизаторът?
Отрицателните йони подпомагат пречистването на въздуха, като се прикрепят към много малки частици във въздуха в помещението. Тези частици приемат отрицателен заряд и могат да се присъединят към положително заредени частици като прах, полени, дим и пърхот от домашни любимци, за да образуват по-големи частици. След това тези по-големи частици се улавят по-лесно от филтърната система.
Важни бележки:
Вашият йонизатор може да издава от време на време пукащ или пращящ звук. Това е нормално и се случва, когато се освободи малко натрупване на йони.
След продължителна употреба може да забележите прах около решетките или предния панел. Това е причинено от отрицателни йони, излизащи от изхода за въздух, което е доказателство за ефективността на йонизатора за почистване на въздуха. Можете да премахнете праха с мека четка или чиста, влажна кърпа.
По-големите частици могат да бъдат привлечени към положително заредени повърхности в дома, като стени или подове.
- Това може да се случва по-често, когато филтърът е към края на полезния си живот и не може да улови толкова много заредени частици.
- Прекомерните количества пърхот от домашни любимци, прах или дим могат да намалят очакваната продължителност на живота на филтъра и да попречат на процеса на йонизация.
За да предотвратите привличането на частици към повърхностите в дома ви: - Може да искате да пускате йонизатора по-рядко.
- Проверявайте състоянието на филтъра(ите) по-често.
Йонизаторът в този уред произвежда по-малко озон от установените от UL* граници от 50ppb. Въпреки това, във високи концентрации озонът може да бъде вреден за птици и малки домашни любимци. За да предотвратите натрупването на озон, препоръчваме да използвате йонизатора в добре проветриви помещения с включен вентилатор на пречиствателя на въздуха.
ФИЛТЪР ОТ HEPA ТИП
HEPA (високоефективен филтър за твърди частици) филтрите са проектирани да премахват до 99% от замърсителите във въздуха, с размер 2 микрона или по-голям, от въздуха, който преминава през тях. Те включват тютюнев дим, битов прах, пърхот от домашни любимци и полени.
*Тествано и регистрирано от лабораториите на застрахователите, inc.
ХАРАКТЕРИСТИКИ - ОПЕРАЦИИ

- РЕШЕТКА ЗА ВХОД НА ВЪЗДУХ
- МИЕЩ СЕ ПЯНОВ ПРЕДВАРИТЕЛЕН ФИЛТЪР
- HEPA-ТИП/ВЪГЛЕН ФИЛТЪР
- СВЕТЛИНЕН ИНДИКАТОР НА ЙОНИЗАТОРА
- КОНТРОЛ НА ЙОНИЗАТОРА
- ИЗХОД ЗА ФИЛТРИРАН ВЪЗДУХ
- КОНТРОЛ НА СКОРОСТТА
- ИНДИКАТОР ЗА ЗАХРАНВАНЕ
ВИСОКА, СРЕДНА И НИСКА НАСТРОЙКА НА СКОРОСТТА
За оптимална филтрация на въздуха, работете с вашия пречиствател на въздух Holmes® непрекъснато на СРЕДНА (MEDIUM) (
) настройка. Неговият здрав мотор е проектиран да осигури много години употреба. За по-тиха работа (като например в спалня), изберете НИСКА (LOW) (
) настройка. Когато има високи нива на замърсяване на въздуха, изберете ВИСОКА (HIGH) (
) настройка, за да циркулирате и филтрирате бързо въздуха в помещението.
ПРЕДИ УПОТРЕБА
- Внимателно разопаковайте вашия пречиствател на въздух. Изберете твърдо равно място, където няма препятствия за входа на въздух или изхода за филтриран въздух.
- Ако филтърът е покрит с торба при изпращане, отстранете пластмасовата торба преди употреба и поставете филтрите в уреда.
- НЕ НАСОЧВАЙТЕ ИЗХОДА ЗА ФИЛТРИРАН ВЪЗДУХ КЪМ СТЕНАТА.
ИНСТРУКЦИИ ЗА ЕКСПЛОАТАЦИЯ
- Включете в електрически контакт 120V AC.
- Изберете желаната работна скорост. Пречиствателите на въздух Holmes имат три настройки на скоростта. Можете да избирате от ВИСОКА (HIGH) (
), СРЕДНА (MEDIUM) (
) или НИСКА (LOW) (
), като преместите превключвателя на желаната настройка. - За да освободите отрицателни йони във филтрирания въздух, преместете превключвателя на йонизатора в положение ON (включено) и светлината ще светне. За оптимална филтрация на въздуха се препоръчва пречиствателят на въздуха да работи непрекъснато. Неговият здрав мотор е проектиран да осигури много години употреба.
ПОЧИСТВАНЕ/ПОДДРЪЖКА СМЯНА НА ФИЛТЪРА
ИНСТРУКЦИИ ЗА ПОЧИСТВАНЕ/ПОДДРЪЖКА
- Изключете пречиствателя на въздуха и го изключете от контакта преди почистване.
- Външната страна на пречиствателя на въздуха може да се почисти с мека, чиста навлажнена кърпа.
- Задната решетка за входящ въздух може да се свали и да се измие в топла сапунена вода (не е подходяща за съдомиялна машина). Подсушете, преди да я поставите обратно в уреда.
- Изходът за филтриран въздух може да се почисти от прах с малка, мека четка.
- Ако желаете да почистите вътрешността на пречиствателя на въздуха, моля, използвайте само суха, мека кърпа, за да го избършете.
Не позволявайте влага да влиза в контакт с вътрешните компоненти.
ИНСТРУКЦИИ ЗА СМЯНА НА ФИЛТЪРА ВАЖНО
- НЕ се опитвайте да измиете и използвате повторно филтъра от HEPA тип.
- Изключете и изключете пречиствателя на въздуха от контакта.
- Свалете решетката за входящ въздух. Свалете и прегледайте пяновия предварителен филтър. Ако е събрал забележимо количество прах или мъх, го свалете от входа на решетката и го измийте в топла сапунена вода. Изплакнете и оставете предварителния филтър да изсъхне напълно, преди да го поставите обратно във входа на решетката.
- Със свалена предна решетка проверете състоянието на филтъра. Вашият пречиствател на въздух има удобен стикер за състоянието на филтъра, който служи като цветно кодирана отправна точка, която да ви помогне да решите кога да смените филтъра. Ако филтърът е мръсен, свалете използвания филтър и го изхвърлете правилно. НЕ се опитвайте да измиете и използвате повторно филтъра.
- Инсталирайте новия филтър в уреда. НЕ използвайте сила, докато прикрепяте щипката към филтъра. (Фигура 2)
![]()
- Подравнете щипката отстрани на филтъра с релсите от вътрешната страна на пречиствателя. Внимателно плъзнете филтъра(ите) върху релсата. (Фиг. 2)
- Поставете обратно решетката за входящ въздух.
ЗАБЕЛЕЖКА: Животът на филтъра ще варира в зависимост от качеството на въздуха и употребата. При нормални условия на непрекъсната употреба, филтри с 4-месечен живот на филтъра: Измийте пяновия предварителен филтър и сменете филтъра(ите) след 4 месеца работа.
- Филтри с 12-месечен живот на филтъра: След 4 месеца работа се препоръчва да измиете пяновия предварителен филтър
Филтрите могат да бъдат закупени от търговец на дребно близо до вас, онлайн на www.holmesproducts.com.
| Пречиствател на въздух Номер на модела | Необходимо количество филтри | Съвместим с всички модели филтри по-долу | Описание на филтъра |
| HAP242 | 1 | HAPF30AT HAPF30AO HAPF30AS HAPF300AH HAPF300AP (D filter) ("D" филтър) HAPF30 (A filter) ("A" филтър) | Aer1® Total Air Filter (Aer1® Филтър за цялостен въздух) Aer1® Odor Filter (Aer1® Филтър за миризми) Aer1® Smoke Grabber Filter (Aer1® Филтър за улавяне на дим) Aer1® Allergen Remover Filter (Aer1® Филтър за премахване на алергени) Aer1® Allergen PerformancePlus (Aer1® Allergen PerformancePlus) "D" Filter ("D" филтър) Holmes® "A" Filte (Holmes® "A" филтър) |
ОТСТРАНЯВАНЕ НА НЕИЗПРАВНОСТИ
| ОТСТРАНЯВАНЕ НА НЕИЗПРАВНОСТИ | |
| Проблем | Решение |
Уредът не работи |
|
Намален въздушен поток |
|
Прекомерен шум |
|
НАУЧАВАНЕ НА ПОВЕЧЕ
За богата информация за вашия пречиствател на въздух и други продукти на Holmes®, посетете нашия уебсайт на www.holmesproducts.com или се обадете на 1-800-546-5637. За запитвания относно рециклирането и правилното изхвърляне на този продукт, моля, свържете се с местното предприятие за управление на отпадъците.
СЕРИЯ ФИЛТРИ AER1
Поздравления! Вашият нов пречиствател на въздух е оборудван с новия и подобрен Aer1 ® Total Air Filter(s) (Aer1 ® Филтър(и) за цялостен въздух).
| Тип филтър | Технология | Полза за потребителя |
| ТОЗИ УРЕД СЕ ДОСТАВЯ С: Total Air (Цялостен въздух) | 99% HEPA-Type technology (99% технология от HEPA тип). Напоен със сода за хляб Arm & Hammer ®. | Ideal for dust reduction (Идеален за намаляване на праха). Delivers 30% better air quality (Осигурява 30% по-добро качество на въздуха). |
| Odor Eliminator (Премахване на миризми) | 10 times the odor fighting power (10 пъти по-голяма сила за борба с миризмите). Contains Arm & Hammer ® baking soda, carbon and zeolite for odor control (Съдържа сода за хляб Arm & Hammer ®, въглен и зеолит за контрол на миризмите). | Ideal for eliminating odors from pets, tobacco smoke and cooking fumes (Идеален за премахване на миризми от домашни любимци, тютюнев дим и изпарения от готвене). |
| Allergen Remover (Премахване на алергени) | 99.97% True HEPA technology (99,97% True HEPA технология). Removes up to 99.97% of particales passing through the filter such as pollen, dust, mold and dander (Премахва до 99,97% от частиците, преминаващи през филтъра, като полени, прах, плесени и пърхот). | Ideal for allergy sufferers (Идеален за хора, страдащи от алергии). |
| Allergen PerformancePlus (Allergen PerformancePlus) | 99.99% True HEPA technology (99,99% True HEPA технология). Helps remove up to 99.99% of particles passing though the filter such as pollen, dust, mold and dander (Помага за премахване на до 99,99% от частиците, преминаващи през филтъра, като полени, прах, плесени и пърхот). | Ideal for allergy sufferers (Идеален за хора, страдащи от алергии). |
| Smoke Grabber (Улавяне на дим) | HEPA-type filtration (Филтрация от HEPA тип). Triple layer protection specially formulated with Arm & Hammer ® Baking Soda, Carbon and Zeolite (Тройна защита, специално формулирана със сода за хляб Arm & Hammer ®, въглен и зеолит). Remove up to 99% of smoke and pollutants from the air stream (Премахва до 99% от дима и замърсителите от въздушния поток). | Ideal for reducing smoke and odors from smoke and VOC's (Идеален за намаляване на дима и миризмите от дим и ЛОС). |
© 2016 Sunbeam Products, Inc. doing business as Jarden Consumer Solutions. All rights reserved. Distributed by With Optional Ionizer Sunbeam Products, Inc. doing business as Jarden Consumer Solutions, Boca Raton, Florida 33431.

Изтегли ръководство
Тук можете да изтеглите пълната версия на ръководството в pdf формат, което може да съдържа допълнителни инструкции за безопасност, информация за гаранцията, правила на FCC и др.
Изтегли Holmes HAP242 Series - Ръководство за настолен пречиствател на въздух от HEPA тип
