EDIFIER MG300 - Настолен компютърен Bluetooth говорител - Ръководство

Важни инструкции за безопасност
- Моля, прочетете внимателно инструкциите. Съхранявайте ги на безопасно място за бъдещи справки.
- Използвайте само аксесоари, одобрени от производителя.
- Инсталирайте правилно инструмента, като следвате инструкциите в раздела за свързване на устройството.
- Препоръчва се използването на продукта в среда с температура 0-35°C. Препоръчва се транспортирането и съхранението на продукта в среда с температура 0-35°C.
- За да намалите риска от пожар и токов удар, не излагайте продукта на дъжд или влага.
- Не използвайте този продукт близо до вода. Не потапяйте продукта в каквато и да е течност и не го излагайте на капки или пръски.
- Не инсталирайте и не използвайте този продукт близо до източник на топлина (напр. радиатор, нагревател, печка или други устройства, които генерират топлина).
- Не поставяйте предмети, пълни с течности, като вази върху продукта; нито пък трябва да се поставя открит огън, като запалени свещи върху продукта.
- Не блокирайте вентилационните отвори. Не поставяйте никакви предмети във вентилационните отвори или слотове. Това може да причини пожар или токов удар.
- Осигурете достатъчно пространство около продукта, за да поддържате добра вентилация (препоръчва се минимум 5 см).
- Не насилвайте щепсела в жака. Преди свързване проверете за запушване в жака и дали щепселът съответства на жака и е ориентиран в правилната посока.
- Съхранявайте предоставените аксесоари и части (като винтове) далеч от деца, за да предотвратите случайно поглъщане.
- Не отваряйте и не отстранявайте корпуса сами. Това може да ви изложи на опасно напрежение или други опасни рискове. Независимо от причината за повредата (като повреден проводник или щепсел, излагане на пръски течност или падане на чужд предмет, излагане на дъжд или влага, продуктът не работи или е изпуснат и т.н.), ремонтът трябва да бъде извършен незабавно от оторизиран сервизен специалист.
- Преди да почистите продукта със суха кърпа, винаги изключвайте продукта и първо изключете щепсела от контакта.
- Никога не използвайте силна киселина, алкали, бензин, алкохол или други химически разтворители за почистване на повърхността на продукта. Използвайте само неутрален разтворител или чиста вода за почистване.
- Продуктът трябва да се използва на надморска височина под 2000 м.
|
Прекалено силната музика може да доведе до загуба на слуха. Моля, поддържайте силата на звука в безопасен диапазон. |
![]() |
Правилно изхвърляне на този продукт. Тази маркировка показва, че този продукт не трябва да се изхвърля с други битови отпадъци в целия ЕС. За да предотвратите евентуални вреди за околната среда или човешкото здраве от неконтролирано изхвърляне на отпадъци, рециклирайте го отговорно, за да насърчите устойчивото повторно използване на материални ресурси. За да върнете използваното си устройство, моля, използвайте системите за връщане и събиране или се свържете с търговеца, откъдето е закупен продуктът. Те могат да вземат този продукт за екологично безопасно рециклиране. |
![]() |
Този символ показва, че продуктът е само за употреба на закрито. |
За безжичен продукт:
- Безжичният продукт може да генерира късовълнови радиочестоти и да пречи на нормалната употреба на други електронни устройства или медицинско оборудване.
- Изключете продукта, когато е забранено. Не използвайте продукта в медицински заведения, в самолет, на бензиностанции, близо до автоматични врати, автоматична пожароизвестителна система или други автоматизирани устройства.
- Не използвайте продукта в близост до пейсмейкър в рамките на 20 см. Радиовълните могат да повлияят на нормалната работа на пейсмейкъра или други медицински устройства.
Какво има в кутията


Ръководство за потребителя
ЗАБЕЛЕЖКА:
- Изображенията са само за илюстративни цели и може да се различават от действителния продукт.
- Поради необходимостта от техническо усъвършенстване и надграждане на системата, информацията и спецификациите, съдържащи се тук, може да се различават леко от действителния продукт. Ако бъде открита разлика, действителният продукт има предимство.
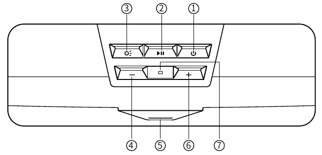
Функционална работа

- Включване/изключване
![]()
Натиснете и задръжте: включване/изключване
Натиснете: превключване на режима на вход - "Play"/"Pause" (Пусни/Пауза)
![]()
Натиснете: "Play"/"Pause" (Пусни/Пауза)
Двойно натискане: превключване на звуковия режим (режим игра/музика)
Натиснете и задръжте: изключете Bluetooth и изчистете записите за сдвояване (свързан Bluetooth) - Превключване на светлинния ефект
![]()
Натиснете: превключване на светлинния ефект
Натиснете и задръжте: изключете светлинния ефект - Намаляване на звука
![]()
Натиснете: намаляване на звука
Натиснете и задръжте: предишна песен - Индикатор за режим Червен: USB аудио стрийминг вход Син: Bluetooth вход
- Увеличаване на звука
![]()
Натиснете: увеличаване на звука Натиснете и задръжте: следваща песен - Микрофон
ЗАБЕЛЕЖКА:
В режим на USB аудио стрийминг, говорителят не поддържа синхронизиране на звука. Ако трябва да регулирате силата на звука, моля, регулирайте отделно силата на звука на говорителя и силата на звука на компютъра.
Инструкции за експлоатация
USB аудио стрийминг връзка

- Включете USB кабела от говорителя в USB порта на компютъра, говорителят ще се включи автоматично.
- Това е USB аудио стрийминг вход по подразбиране, когато говорителят е включен за първи път.
- След като компютърът автоматично инсталира драйвера за USB аудио стрийминг, говорителят е готов за употреба.
Не е в USB аудио стрийминг вход
- Включете USB кабела от говорителя в USB порта на компютъра.
- Натиснете бутона "
", за да превключите към USB аудио стрийминг вход. Червеният светодиод ще свети постоянно. - В компютъра отворете настройките за звук и изберете "Speaker (EDIFIER MG300)" като изходно устройство, след което говорителят е готов за употреба.
Bluetooth връзка


- Включете и натиснете бутона "
", за да превключите към Bluetooth вход. Синият светодиод ще мига бързо. - Изберете "EDIFIER MG300" в настройките на вашето устройство, за да се свържете. Синият светодиод ще свети постоянно след свързване.
- Натиснете и задръжте бутона "
", за да изключите Bluetooth и да изчистите записите за сдвояване. - Bluetooth индикатор:
| Bluetooth скрит | Син светодиод мига бавно |
| Bluetooth свързване | Син светодиод мига бързо |
| Bluetooth свързан | Син светодиод свети постоянно |
ЗАБЕЛЕЖКА:
Ако Bluetooth на говорителя е скрит, той не може да бъде свързан към вашия телефон, моля, натиснете бутона "
", за да влезете в състояние на Bluetooth свързване.
Bluetooth говорител


Говорителят е свързан към мобилен телефон чрез Bluetooth и има входящо повикване:
- натиснете и задръжте бутона "
", за да отхвърлите - натиснете бутона "
", за да отговорите - когато сте в разговор, натиснете бутона "
", за да прекратите
ЗАБЕЛЕЖКА:
- За да се насладите на всички Bluetooth функции на този продукт, моля, уверете се, че вашето устройство за аудио източник има A2DP (Advanced Audio Distribution Profile) и HFP (Handsfree Profile) профили.
- ПИН кодът за връзка е "0000", ако е необходимо.
Отстраняване на неизправности
Няма звук
- Проверете дали говорителят е включен (ON).
- Опитайте да увеличите силата на звука с помощта на регулатора за сила на звука.
- Уверете се, че аудио кабелите са здраво свързани и входът е настроен правилно на говорителя.
- Проверете дали има изходен сигнал от аудио източника.
Не може да се свърже чрез Bluetooth
- Уверете се, че говорителят е превключен на Bluetooth вход. Ако е в други режими на аудио вход, Bluetooth няма да се свърже. Изключете се от всяко Bluetooth устройство, като натиснете и задържите бутона "
", след което опитайте отново. - Ефективният обхват на Bluetooth предаване е 10 метра; моля, уверете се, че операцията е в рамките на този обхват.
- Опитайте друго Bluetooth устройство за връзка.
Шум, идващ от говорителите
- Говорителите EDIFIER генерират малко шум, докато фоновият шум на някои аудио устройства е твърде висок. Моля, изключете аудио кабелите и увеличете силата на звука, ако не се чува звук на 1 метър от говорителя, тогава няма проблем с този продукт.
Спецификации
Изходна мощност: 2.5W+2.5W
Честотен обхват: 80Hz-20KHz
Вход: 5V 1A
Модел: EDF100037
За да научите повече за EDIFIER, моля, посетете www.edifier.com
За запитвания относно гаранцията на EDIFIER, моля, посетете съответната страница на държавата на www.edifier.com и прегледайте раздела, озаглавен Гаранционни условия.
САЩ и Канада: service@edifier.ca
Южна Америка: Моля, посетете www.edifier.com (английски) или www.edifierla.com (испански/португалски) за местна информация за контакт.

@Edifierglobal

@Edifier_Global

@Edifier_Global
Edifier International Limited
P.O. Box 6264
General Post Office
Hong Kong
Tel: +852 2522 6989
Fax: +852 2522 1989
www.edifier.com
© 2022 Edifier International Limited. Всички права запазени.
Отпечатано в Китай
ЗАБЕЛЕЖКА:
Поради необходимостта от техническо усъвършенстване и надграждане на системата, информацията, съдържаща се тук, може да бъде променяна от време на време без предварително уведомление. Продуктите на EDIFIER ще бъдат персонализирани за различни приложения. Снимките и илюстрациите, показани в това ръководство, може да се различават леко от действителния продукт. Ако бъде открита разлика, действителният продукт има предимство.

Изтегли ръководство
Тук можете да изтеглите пълната версия на ръководството в pdf формат, което може да съдържа допълнителни инструкции за безопасност, информация за гаранцията, правила на FCC и др.
Изтегли EDIFIER MG300 - Настолен компютърен Bluetooth говорител - Ръководство




Син светодиод мига бавно
Син светодиод мига бързо
Син светодиод свети постоянно