trend AIRSHIELD – návod k obsluze

ÚVOD
Airshield je lehký dýchací přístroj s pohonem určený k ochraně proti veškerému pevnému prachu. To je kombinováno s plnou ochranou očí a obličeje před nárazem a postříkáním chemickou kapalinou.
Airshield je napájen jedním nebo dvěma dobíjecími akumulátory uvnitř respirátoru. Vzduch je filtrován přes respirátor, aby se zajistil konstantní proud čistého vzduchu přes obličej. Měkké těsnění obličeje zajišťuje udržování přetlaku uvnitř hledí a zabraňuje vniknutí nečistot nebo kontaminovaného vzduchu do oblasti hledí. Hledí je namontováno na plně nastavitelném hlavovém pásku, který zajišťuje pohodlné nošení pro většinu velikostí hlavy.
Typické použití respirátoru Airshield je ochrana osob v zemědělství, strojírenství, hrnčířství, izolacích, zpracování dřeva, zubních laboratořích, letectví a dalších místech, kde se vyskytuje prach. Všechny respirátory musí být používány v atmosférách obsahujících dostatek kyslíku k podpoře života (obvykle 17 % až 23 % objemových).
Všechny díly, včetně filtrů a příslušenství, lze snadno vyměnit bez použití speciálních nástrojů a jsou baleny pro okamžité použití.
Před použitím Airshieldu si přečtěte tento návod. Aby bylo dosaženo konstrukčního výkonu, musí být namontován a používán v souladu s tímto návodem. Používejte jej jako součást svého programu údržby.
PŘÍSLUŠENSTVÍ
| AIR/1 | Sady filtrů THP2 (balení po 3 kusech) |
| AIR/10 | Sady filtrů THP2 (balení po 1 kuse) |
| AIR/2 | Předfiltr (balení po 3 kusech) |
| AIR/3C | Překrytí hledí – čiré (balení po 10 kusech) |
| AIR/3G | Překrytí hledí – zelené antireflexní (balení po 10 kusech) |
| AIR/4 | 4hodinová baterie |
| AIR/5/UK | Nabíječka 230 V (Velká Británie) |
| AIR/5/EURO | Nabíječka 220 V (Evropa) |
| AIR/5/ANZ | Nabíječka 230 V (Austrálie a Nový Zéland) |
| AIR/WIPE | Ubrousky na hledí |
| AIR/WSP | Náhradní balení pro soustružníky dřeva obsahuje: 1 x filtr THP-2, 3 x předfiltr, 10 x překrytí hledí a 1 x těsnění obličeje (viz katalog) |
Nepoužívejte, pokud je kontaminant potenciálně výbušný nebo vysoce hořlavý.
TECHNICKÁ SPECIFIKACE
| Typ: | Respirátor, poháněné zařízení filtrující částice. |
Schválení pro dýchací cesty
| Evropa: | Splňuje evropskou normu BS EN146:1992 třídy THP2. |
| Velká Británie: | Vhodné pro použití podle COSHH, CAW, CLAW a IRR. |
| Ochrana hlavy: | Nejedná se o průmyslovou ochrannou přilbu. |
Schválení pro ochranu očí
| Ochrana očí: Obecné | Splňuje evropskou normu BS EN166:1995 Nízkoenergetický náraz |
| Hmotnost: | Kompletní s akumulátorem a filtry, ale bez dalšího příslušenství, jmenovitě 735 g. |
| Velikost hlavy: | 52 až 62 cm |
| Počáteční návrhový průtok: | 180 l/min (čisté filtry, plně nabitá baterie). |
| Min. návrhový průtok: | 140 l/min. |
| Doba trvání: | Jeden akumulátor bude fungovat déle než 4 hodiny. Dva akumulátory budou fungovat déle než 8 hodin. |
| Velmi vysoké pracovní tempo: | EN 146 vyžaduje, aby všichni výrobci uváděli, že při velmi vysokém pracovním tempu se může tlak v poháněných respirátorech při maximální inhalaci stát negativním. |
| Ochranný faktor: | Minimálně 20 hodnoceno podle EN 146. |
Rozsah podmínek prostředí:
| Skladování | Použití | |
| Teplota | 0 °C až 45 °C | -5 °C až 50 °C |
| Tlak | 800 až 1300 mbar | 800 až 1300 mbar |
| Vlhkost (mimo přímé sluneční světlo) | 0–90 % | 0–90 % |
Abnormální podmínky
Není určeno pro použití ve výbušné plynné atmosféře. Pokud ventilátor přestane fungovat v kontaminovaném prostoru, okamžitě opusťte kontaminovaný prostor, neodstraňujte respirátor, dokud nebudete mimo kontaminovaný prostor. Poznámka: Během tohoto stavu dojde ke zvýšení obsahu vydechovaného oxidu uhličitého v respirátoru.
| Filtr: | EN 146 třídy THP2 testováno proti aerosolu chloridu sodného 0,02 až 2 mikrony s hmotnostní střední velikostí částic 0,6 mikronu. Pro použití pouze proti pevným aerosolům a aerosolům na bázi vody. |
| Akumulátor: | 3,6 V DC. Doba nabíjení 14 hodin z plně vybitého stavu nebo 1,5 hodiny na hodinu doby použití. Životnost nominálně 900 cyklů. |
| Nabíječka: | Síťově napájená dvojitá izolace splňující většinu norem vysoké integrity. Výstup 4,35 V DC, konstantní proud s obvodem omezujícím proud. Není znám žádný problém s přebíjením, když jsou baterie ponechány uvnitř po dlouhou dobu. |
| Hledí: | EN 166 vyžaduje, aby bylo hledí skladováno v čistém suchém prostoru mimo dosah přímého slunečního záření a tepla, teplota 0–45 °C, atmosférický tlak 800–1300 mbar, vlhkost 0–90 % |
POLOŽKY V BALENÍ
1 x kompletní Airshield
1 x indikátor proudění vzduchu
1 x 4hodinová dobíjecí baterie
1 x jednorázové překrytí hledí – čiré (může být již namontováno)
1 x nabíječka baterií
1 x brašna
1 x záznamová karta COSHH (pouze ve Velké Británii)
1 x návod k obsluze
1 x záruční list
POPIS DÍLŮ

- Kryt
- Předfiltr
- Hlavní filtr
- Akumulátor
- Těsnění obličeje
- Potítko
- Čelenka
- Hledí
- Jednorázové překrytí hledí (čiré)
- Ventilátor/motorová jednotka
- Nabíječka
- Indikátor proudění vzduchu
- Brašna
- Knoflík
- Spínač
- Ráčna
BEZPEČNOST
Obecná bezpečnost
- Nezapínejte router s frézou v kontaktu s obrobkem.
- Bezpečně upněte obrobek, aby se během frézování nepohyboval.
- Vždy veďte kabel od pracovní oblasti.
- Před prováděním jakýchkoli úprav stroje vždy vytáhněte zástrčku ze zásuvky.
- Zkontrolujte, zda je fréza bezpečně upevněna. Při manipulaci s frézami buďte opatrní, protože jsou ostré.
- Vždy udržujte prostor kolem obrobku a podlahu bez překážek.
- Směr frézování musí být vždy opačný ke směru otáčení frézy.
- Neposouvejte frézu do obrobku, dokud nedosáhne plné rychlosti.
- Vždy veďte router oběma rukama.
- Nikdy nepřekračujte maximální rychlost stanovenou pro frézu.
- Po dokončení nechte stroj zcela zastavit.
- Nedovolte, aby nad pracovní oblastí visely předměty, tj. nenoste volné oblečení, jako je kravata. Vyhrňte si rukávy a ujistěte se, že máte dlouhé vlasy svázané.
- Před zahájením řezání zkontrolujte, zda upínky nebudou bránit dráze routeru. Při řezání skrz celou tloušťku materiálu se ujistěte, že se fréza nemůže zachytit o svěrák, okraj stolu nebo jiné překážky pod obrobkem.
Bezpečnostní opatření pro Airshield
- Kontrola látek nebezpečných pro zdraví (COSHH) doporučuje, aby byly prostředky pro ochranu dýchacích cest skladovány na chladném a suchém místě.
- Pro odpovídající ochranu musí Airshield sedět nebo být upraven na velikost hlavy.
- NEČISTĚTE pomocí patentovaných čisticích médií nebo rozpouštědel, postupujte podle pokynů v návodu.
- NEAPLIKUJTE barvy, rozpouštědla, lepidla nebo samolepicí štítky, které nejsou schváleny společností Trend.
- NEPOUŽÍVEJTE Airshield bez namontovaného předfiltru a hlavního filtru, s poškozenými těsněními a/nebo poškozeným hledím.
- NEPOUŽÍVEJTE náhradní díly kromě těch, které dodává společnost Trend Machinery & Cutting Tools Ltd.
- Pro zachování plné účinnosti Airshieldu nesmí být provedena žádná změna konstrukce nebo jeho součástí.
- Při použití dvou akumulátorů vždy namontujte dvě plně nabité náhrady.
- S toxickým prachem na respirátoru nebo filtrech z používání by se mělo zacházet bezpečným způsobem v souladu s pokyny dodavatelů chemikálií nebo materiálů. Použité filtry zlikvidujte bezpečným způsobem stejným způsobem.
Pokud potřebujete další informace týkající se Airshieldu, kontaktujte společnost Trend Machinery & Cutting Tools Ltd.
PŘED POUŽITÍM
Před použitím nabijte baterii/baterie.
Ujistěte se, že je respirátor správně sestaven s předfiltrem, hlavním filtrem a jednou nebo dvěma plně nabitými bateriemi.
Nabíjení baterie

Baterie se musí při prvním nabíjení nabíjet 24 hodin.
Motorizovaný respirátor se dodává s jednou dobíjecí baterií s výdrží čtyři hodiny. Pro osm hodin provozu je nutná další dobíjecí baterie a nabíječka.
Zkontrolujte, zda napětí uvedené na nabíječce odpovídá napětí elektrické sítě. Tepelná pojistka chrání nabíječku před zkratem a přetížením.
Zasuňte konektor baterie do zásuvky nabíječky a zapojte nabíječku do zásuvky střídavého proudu. Kontrolka na nabíječce potvrzuje, že se baterie nabíjí.
Baterie by se měly zpočátku nabíjet 24 hodin a poté 14 hodin, pokud jsou zcela vybité. 3,5hodinové nabíjení umožní 1 hodinu používání. Plné pracovní kapacity baterie bude dosaženo až po 3 nebo 4 úplných nabíjecích cyklech. Upozorňujeme, že kontrolka nezhasne, když je dosaženo plného nabití.
Pokud nabíječku nepoužíváte, musí být odpojena od elektrické sítě.
Po uplynutí doby nabíjení vytáhněte nabíječku ze zásuvky střídavého proudu a odpojte baterii od nabíječky.
MONTÁŽ A SEŘÍZENÍ
Vyjmutí a výměna baterie
Uvolněte kryt zvednutím levé a pravé strany, abyste uvolnili výstupky, poté zatáhněte dopředu a zvedněte. Pouzdra baterií jsou umístěna na obou stranách hlavního filtru. Pro osm hodin provozu použijte dvě plně nabité baterie nebo jednu baterii pro čtyři hodiny provozu. Zasuňte plně nabitou baterii do konektoru a zatlačte ji dolů do pouzdra. Opakujte pro opačnou stranu, pokud jsou vyžadovány dvě baterie. Sklopte kryt a zatlačte dozadu, aby se výstupky zasunuly do otvorů. Ujistěte se, že jsou výstupky zcela zasunuty do otvorů.

Funkční test
Účelem tohoto testu je zajistit, aby průtok vzduchu respirátorem překračoval minimální konstrukční hodnotu Airshield 140 litrů za minutu. Postupujte následovně:
- Otočte Airshield a nasaďte indikátor průtoku vzduchu na jednotku ventilátoru a motoru, ujistěte se, že je pevně zatlačen proti průchodce.
- Při spuštěné jednotce ventilátoru a motoru držte Airshield tak, aby byla trubice indikátoru průtoku vzduchu svisle a otvory kolem základny indikátoru průtoku vzduchu nebyly zakryté. Červená kulička musí být v horní části trubice, aby bylo zajištěno překročení minimálního konstrukčního průtoku.
Pokud průtok není dostatečný, vyměňte nebo nabijte baterii/baterie a/nebo vyměňte hlavní filtr a znovu otestujte.
Po dokončení funkčního testu vypněte Airshield a odstraňte indikátor průtoku vzduchu.
![trend - AIRSHIELD - Funkční test Funkční test]()
Postup nasazování
Stiskněte a otočte ráčnový knoflík proti směru hodinových ručiček, abyste zvětšili hlavový most, a zvedněte hledí směrem k zadní části hlavového mostu.
Nasaďte Airshield na hlavu tak, že hlavu vložíte do hlavového mostu.
Zapněte jednotku ventilátoru a motoru a spusťte hledí přes obličej.

Stiskněte a otáčejte ráčnovým knoflíkem ve směru hodinových ručiček, dokud nedosáhnete bezpečného a pohodlného usazení. Při sundávání, pokud je to nutné, stiskněte a otočte ráčnovým knoflíkem proti směru hodinových ručiček, abyste uvolnili hlavový most.
Upravte výšku hledí následovně:
- Sejměte Airshield.
- Protlačte kolík otvorem v horní polovině hlavového mostu.
- Posunutím spodní poloviny zvětšíte nebo zmenšíte výšku.
- Znovu upevněte hlavový most zasunutím kolíku do nejbližšího otvoru a zkontrolujte výšku hledí při nošení.
- Opakujte výše uvedené, dokud nedosáhnete správného usazení.
Ujistěte se, že je jednotka zcela otočena dolů tak, aby se zarážky hlavového mostu opíraly o hlavní kryt ventilátoru.
Plastové výstupky hlavového mostu jsou navrženy tak, aby omezovaly pohyb hledí k obličeji.
Nastavení výšky ovlivní usazení kolem brady.
Nastavení těsnění obličeje ovlivní usazení na stranách.
Ujistěte se, že je těsnění obličeje kolem brady a stran vytaženo dozadu tak, aby se těsnění deformovalo směrem od rámu a hledí a ne směrem k němu.
Zkontrolujte usazení těsnění obličeje v zrcadle a/nebo přejeďte prstem po linii těsnění obličeje, abyste zajistili kontakt.
Při velmi vysoké pracovní zátěži se může tlak uvnitř Airshield v okamžiku špičkové inhalace krátkodobě snížit.
Pokud se průtok vzduchu sníží nebo zastaví, okamžitě opusťte zamořenou oblast.
Pokud nosíte ochranný oděv, ujistěte se, že spodní část hledí není zakrytá.
Postup sundávání
Před sundáním Airshield opusťte zamořenou oblast.
- Zvedněte hledí a vypněte jednotku ventilátoru a motoru.
- Zvedněte Airshield z hlavy.
- Po dokončení používání Airshield postupujte podle postupů údržby.
PROVOZ
Spínač (A) ovládá jednotku ventilátoru a motoru (B), napájenou dobíjecí baterií/bateriemi (C), která nasává vzduch (D) přes předfiltr (E), aby odstranila větší částice prachu, než je nasáván přes hlavní filtr (F). Filtrovaný vzduch (G) je veden dolů přes obličej. Vydechovaný vzduch (H) opouští respirátor otvory ve spodní části rámu hledí.

ÚDRŽBA A PÉČE
Po použití Airshield postupujte podle níže uvedeného postupu:
Airshield by se neměl č istit s tílačeným vzduchem, rozpouštědly, sterilizac í teplem nebo autoklávováním, protože by to způsobilo poškození.
Je třeba provést opatření, aby se zabránilo vdechování škodlivého prachu nebo kontaminantů na povrchu nebo zachycených ve filtrech.
- Opatrně odstraňte z Airshield hrubé nečistoty a otřete jej vlhkým hadříkem s jemným roztokem saponátu.
- Vyčistěte a sterilizujte všechny části Airshield otřením hledí, obličejové těsnicí manžety a hlavového pásku ubrousky na hledí (ref. AIR/WIPE) (jako účinné se prokázaly také chlornan sodný nebo plyn oxidu ethylenu).
Gama sterilizace je účinná, ale způsobuje křehnutí plastových součástí a nedoporučuje se.
- Uvolněte kryt zvednutím levé a pravé spodní strany, abyste uvolnili výstupky, poté zatáhněte dopředu a zvedněte.
- Vyjměte předfiltr a hlavní filtr, jak je popsáno. Zlikvidujte v souladu s místními zdravotními a bezpečnostními předpisy.
- Vyjměte baterii(e). Ujistěte se, že je baterie čistá a nabijte ji.
- Otřete vlhkým hadříkem s jemným roztokem saponátu, abyste odstranili uvolněný prach z vnitřku krytu. Netlačte na lopatky ventilátoru, k čištění použijte měkký
- Přepnutím zkontrolujte funkci jednotky ventilátoru a motoru.
- Proveďte funkční test.
Po následujících kontrolách vyměňte, pokud je vadný:
- Nadměrné oděrky a škrábance na hledí.
- Obličejové těsnění pro utěsnění k hledí a pro otvory.
- Upevnění a upevňovací prvky k hlavovému pásku.
Poškrábané nebo poškozené okuláry (hledí) nemusí nabízet plnou ochranu, a proto by měly být vyměněny.
Specifické pokyny pro čištění a dezinfekci hledí
Pravidelně čistěte vlhkým hadříkem – nepoužívejte na hledí uhlovodíky, chemikálie, čisticí kapaliny ani rozpouštědla. V případě potřeby lze použít jemný roztok mycího prostředku a teplé vody.
Běžné kontroly
Očekávaná životnost hledí je přibližně 3 roky, pokud je dobře udržováno a čištěno. (Je třeba dbát na to, aby nedošlo k poškrábání hledí).
Tato příručka obsahuje příslušné pokyny pro běžnou údržbu, nicméně si můžete zavést další kontroly podle požadavků COSHH. Následující tabulka uvádí frekvenci těchto kontrol.
| Operace | Frekvence |
| Čistěte vnitřně i zevně | Denně |
| Vizuální kontrola | Denně |
| Nabijte baterii/baterie | Denně |
| Funkční test* | Denně, týdně a měsíčně |
* Poznámky: Prach ze dřeva, obilí a cementu může vyžadovat častější výměnu předfiltru, aby se prodloužila životnost hlavního filtru. Žádný filtr by neměl zůstat v kapuci/přilbě déle než 1 měsíc, pokud se používá denně, nebo 3 měsíce, pokud se používá zřídka.
Měsíčně – Všechny položky zkontrolovány a podepsány operátorem.
Čtvrtletně – Všechny položky zkontrolovány a podepsány vedoucím pracovníkem.
| Příznak | Příčina | Náprava |
Snížený průtok vzduchu | Zakrytí vzduchových otvorů Zablokování vzduchových otvorů | Vyčistěte otvory |
| Předfiltr je ucpaný | Namontujte nový předfiltr | |
| Hlavní filtr je ucpaný | Namontujte nový hlavní filtr | |
| Baterie je vybitá | Namontujte znovu nabitou baterii/baterie | |
Žádný průtok vzduchu Airshield | VYPNUTO | Stiskněte spínač do polohy ON |
| Vadný spínač | Vraťte výrobci | |
| Baterie není namontována | Namontujte plně nabitou baterii | |
| Připojení baterie | Zasuňte až na doraz | |
| Baterie je vybitá | Namontujte plně nabitou baterii | |
| Porucha jednotky ventilátoru a motoru | Namontujte náhradní jednotku ventilátoru a motoru |
SKLADOVÁNÍ
Airshield by měl být umístěn v přenosné tašce, skladován v teplotním rozsahu od 0 °C do 45 °C a mimo přímé sluneční světlo. Náhradní filtry by měly být ponechány v uzavřených sáčcích a pravidelně by se měla kontrolovat data expirace.
PŘEPRAVA
Kompletní respirátor by měl být přepravován v dodávané přenosné tašce. Mělo by být použito kvalitní komerční balení.
VÝMĚNA NÁHRADNÍCH DÍLŮ
Používejte pouze náhradní díly a příslušenství dodávané společností Trend Machinery & Cutting Tools Ltd. Na příslušenství, které nedodává společnost Trend Machinery & Cutting Tools Ltd., se nevztahuje záruka a zneplatní veškerá národní schválení, která společnost Trend Machinery & Cutting Tools Ltd. vlastní. Úpravy štítu Airshield způsobí neplatnost schválení a používání bude v rozporu s národními zákony a pokyny.
Trend Machinery & Cutting Tools Ltd.
náhradní díly a příslušenství, se smí používat pouze s produktem Trend Airshield.
Akumulátor
- Uvolněte kryt zvednutím levé a pravé spodní strany, aby se uvolnily výstupky, poté zatáhněte dopředu a zvedněte.
- Vložte prst do výřezu v pouzdru, zvedněte akumulátor a odpojte jej od konektoru.
- Zapojte plně nabitý akumulátor do konektoru. Zatlačte akumulátor dolů do pouzdra.
- Pokud jsou namontovány dva akumulátory, opakujte postup pro opačnou stranu. Spusťte kryt a zatlačte jej dozadu, aby se výstupky zasunuly do otvorů. Ujistěte se, že jsou výstupky zcela zasunuty do otvorů. Proveďte funkční zkoušku.
Předfiltr

- Uvolněte kryt zvednutím levé a pravé spodní strany, aby se uvolnily výstupky, poté zatáhněte dopředu a zvedněte.
Je třeba učinit opatření, aby se zabránilo vdechování škodlivého prachu nebo kontaminantů zachycených na předfiltru a uvnitř krytu.
- Vytáhněte předfiltr z vnitřní strany krytu a zlikvidujte jej v souladu s místními předpisy pro ochranu zdraví a bezpečnost. Předfiltr nikdy nepoužívejte opakovaně.
- Otřete vlhkým hadříkem, abyste odstranili veškerý uvolněný prach z vnitřní strany krytu.
- Připevněte hrubou stranu náhradního předfiltru na proužky suchého zipu uvnitř krytu. Spusťte kryt a zatlačte jej dozadu, aby se výstupky zasunuly do otvorů. Ujistěte se, že jsou výstupky zcela zasunuty do otvorů. Proveďte funkční zkoušku.
Hlavní filtr
- Uvolněte kryt zvednutím levé a pravé spodní strany, aby se uvolnily výstupky, poté zatáhněte dopředu a zvedněte.
Je třeba učinit opatření, aby se zabránilo vdechování škodlivého prachu nebo kontaminantů zachycených na hlavním filtru a uvnitř krytu. - Zatáhněte za rohy hlavního filtru, abyste uvolnili čtyři patentky z pouzdra.
- Zlikvidujte jej v souladu s místními předpisy pro ochranu zdraví a bezpečnost. Hlavní filtr nikdy nepoužívejte opakovaně.
- Otřete vlhkým hadříkem, abyste odstranili veškerý uvolněný prach z vnitřní strany krytu a pouzdra.
- Nasaďte nový hlavní filtr tak, že připevníte dvě patentky na pouzdro. Podepřete pouzdro a zatlačte podél okrajů hlavního filtru, připevněte druhý konec na dvě patentky. Ujistěte se, že těsnění filtru zcela dosedá na pouzdro. Spusťte kryt a zatlačte jej dozadu, aby se výstupky zasunuly do otvorů. Ujistěte se, že jsou výstupky zcela zasunuty do otvorů. Proveďte funkční zkoušku, jak je popsáno výše.
Těsnění obličeje

- Odtáhněte těsnění obličeje od pásku se suchým zipem na rámu hledí.
- Určete střed náhradního těsnění obličeje a připevněte nylonovou stranu se smyčkami na pásek se suchým zipem na spodní straně rámu hledí. Pokračujte v připevňování těsnění obličeje k rámu hledí a ujistěte se, že na konci těsnění obličeje a rámu hledí nejsou žádné mezery.
- Upravte polohu těsnění obličeje tak, aby bylo dosaženo těsného kontaktu kolem obličeje.
Sestava knoflíku pro hlavový most se nastavuje tak, aby se snížil tlak na spánky.
Potítko

- Oddělte suché zipy a vyjměte potítko z hlavového mostu. Výměna potítka se provádí opačným postupem. Ujistěte se, že pěnový povrch je připevněn k hlavovému mostu a že štěrbiny jsou zcela připevněny přes hlavový most.
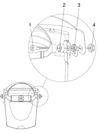
Hlavový most

- Oddělte suché zipy a vyjměte potítko z hlavového mostu.
- Odpojte každý konec těsnění obličeje od hlavového mostu.
- Odšroubujte a vyjměte knoflík (4). Protlačte otočný čep (1) skrz krycí podložku (3), torzní podložku (2) a hlavový most. Opakujte postup na opačné straně, abyste uvolnili hlavový most a vyjmuli torzní podložky (2).
- Výměna hlavového mostu se provádí opačným postupem. Ujistěte se, že jsou torzní podložky (2) správně smontovány na hlavovém mostu.
Překrytí hledí
- Odloupněte ochranu hledí a ujistěte se, že je povrch hledí čistý.
- Odloupněte podkladový papír z lepicích proužků na náhradní ochraně hledí. Umístěte ji centrálně na povrch hledí, přitlačte lepicí proužky a odstraňte ochranný papír.
Jednotka ventilátoru a motoru

- Vyjměte hlavní filtr a akumulátor/akumulátory.
- Odpojte zástrčku jednotky ventilátoru a motoru ze zásuvky (odklopte zajišťovací kolík na konektoru samec a vytáhněte zástrčku). Vyjměte jednotku ventilátoru a motoru z upevňovací průchodky.
- Výměna jednotky ventilátoru a motoru se provádí opačným postupem. (všimněte si orientace ventilátoru). Montáž bude snazší s odstraněným hledím a s použitím maziva na vodní bázi, jako je tekuté mýdlo. Naneste malé množství maziva kolem vnitřku upevňovací průchodky před vložením ventilátoru. Proveďte funkční zkoušku.
Držte ventilátor pouze za strany, netlačte na lopatky ventilátoru ani na ně nevyvíjejte žádný tlak.
Hledí

- Uvolněte jazýček ze středu hledí a sklopte klapku. Opatrně stiskněte strany hledí a vyjměte jej z rámu hledí.
- Ohněte náhradní hledí a vložte horní a boční strany do rámu hledí a ujistěte se, že horní jazýčky hledí kloužou vně rámu. Přesuňte spodní část hledí na místo, zvedněte klapku a zajistěte západku skrz středový otvor hledí.
SCHÉMA NÁHRADNÍCH DÍLŮ AIRSHIELD

AIRSHIELD – SEZNAM NÁHRADNÍCH DÍLŮ
| Položka | Množství | Popis | Ref. |
| 1 | 1 | Ventilátor/motor | WP-AIR/01 |
| 2 | 1 | Indikátor proudění vzduchu | WP-AIR/02 |
| 3 | 1 | Těsnění obličeje | WP-AIR/03 |
| 4 | 1 | Čelenka | WP-AIR/04 |
| 5 | 1 | Potítko | WP-AIR/05 |
| 6 | 1 | Přenosná taška | WP-AIR/06 |
| 7 | 1 | Štít | WP-AIR/07 |
| 8 | 1 | Kryt | WP-AIR/08 |
| 9 | 1 | Zadní komfortní podložka | WP-AIR/09 |
| 10 | - | ||
| 11 | 2 | Otočný kolík | WP-AIR/11 |
| 12 | 2 | Podložka krytu | WP-AIR/12 |
| 13 | 2 | Krouticí podložka | WP-AIR/13 |
| 14 | 2 | Knoflík | WP-AIR/14 |
| 15 | - | ||
| 16 | 1 | Nabíječka 230v UK - PLP1100 | AIR/5/UK |
| 1 | Nabíječka 220v Euro - PLP1110 | AIR/5/EURO | |
| 1 | Nabíječka 230v Austrálie/Nový Zéland - PLP 1130 | AIR/5/ANZ | |
| 17 | 1 | Baterie 4 hodiny – 3,6 V DC | AIR/4 |
| 18 | 0 | Překryt štítu – čirý (balení po 10) | AIR/3C |
| 19 | 0 | Filtr THP2 (balení po 3) | AIR/1 |
| 20 | 0 | Předfiltr (balení po 3) | AIR/2 |
| 21 | 1 | Karta záznamů COSHH | LEAF/AIR/CRC |
| 22 | 1 | Manuál | MANU/AIR |
Trend Machinery & Cutting Tools Ltd.
Odhams Trading Estate St Albans Road
Watford WD24 7TR England
Enquiries: 0800 487363
Technical Support: 0044 (0) 1923 224681
Fax: 0044 (0) 1923 236879
Email: mailserver@trendm.co.uk
WWW: www.trendmachinery.co.uk
Stáhnout návod
Zde si můžete stáhnout úplnou verzi návodu ve formátu pdf, může obsahovat další bezpečnostní pokyny, informace o záruce, pravidla FCC atd.
Stáhnout trend AIRSHIELD – návod k obsluze
