AIYIMA A03 2.1 Kanal HIFI Forstærker Manual
- 1 Introduktion til frontpanelet
- 2 Introduktion til bagpanelet
- 3 Specifikationer
-
4
Spørgsmål & Svar
- 4.1 Har forstærkerkortet strømstøj og støj?
- 4.2 Ingen lydudgang, ingen lyd i 1 kanal?
- 4.3 Lydstyrken er brudt, og lyden forvrænger, når den skrues højt op?
- 4.4 Højttaleren lyder forvrænget, når subwooferforstærkerens lydstyrke skrues højt op?
- 4.5 Er effekten ikke tilstrækkelig?
- 4.6 Vil forstærkeren brænde af?
- 5 Referencer
- 6 Download manual
- 7 På andre sprog

Introduktion til frontpanelet

- Afbryder
- Lydindgangsvalg
OP: Bluetooth-tilstand
NED: Line-in tilstand - Justering af subwooferfrekvens
- Justering af subwooferlydstyrke
- Basjustering
- Diskantjustering
- Samlet lydstyrkejustering
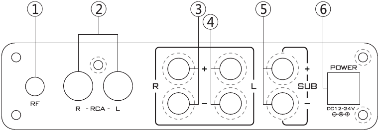
Introduktion til bagpanelet

- Bluetooth-antennestik
- Line-in (AUX) stik
- Højre højttalerudgang
- Venstre højttalerudgang
- Subwooferudgang
- Strømindgang (DC12-24V)
Specifikationer
Chips TPA3116+NE5532+LTO72+QCC3003
Bluetooth-version 5.0
Strømindgang DC12-24V (anbefalet DC19V 4.75A)
Strøm >3A
Udgangseffekt 50Wx2+100W @4Ω 19V,10%THD+N
Højttalerimpedans 4~8Ω
Basjusteringsområde +12dB, -14dB
Diskantjusteringsområde ±10dB
Justeringsområde for subwooferens delefrekvens 40~240Hz
SNR >82dB
Nettovægt 580g
Mål 130x122×33mm
Spørgsmål & Svar
Har forst**SIGNaelig;rkerkortet strømstøj og støj?
De fleste af vores forstærkerkort bruger DC-strømforsyning. Selve kortet producerer ikke strømstøj og støj.
De vigtigste årsager til akustisk strømstøj er:
- Det anvendte strømforsyningsfilter er ikke godtSIGN** strømstøjen skyldes forkert input fra strøm- eller lydindgangen.
- Inputsignalkvaliteten er dårlig; outputtet fra enheden, der er forbundet til inputtet, er forkert, og støjen skyldes unormalt input fra lydkilden.
- Inputkablet er af dårlig kvalitet; forbindelsen er dårlig; ledningerne er beskadigede; ledningerne er frihængende.
- Inputforbindelsen har andre afspilningsenheder, og nogle enheder deler strømforsyning, hvilket forårsager støj.
Ingen lydudgang, ingen lyd i 1 kanal?
- Højttaleren er i stykker, eller højttalerkablet er ikke korrekt tilsluttet.
- Inputkablet er ikke korrekt tilsluttet; ledningerne er beskadigede; outputtet fra enheden, der er forbundet til inputtet, er forkert.
Lydstyrken er brudt, og lyden forvrænger, når den skrues højt op?
- Strømindgangen er utilstrækkelig; bekræft først, at ledningerne er korrekte, og at strømforsyningen er tilstrækkelig.
- Selve højttaleren har dårlig ydeevne eller er beskadiget, og højttalerens effekt er for lille eller for stor.
- Venstre og højre kanals højttaler (+)(-)udgang er uafhængige og må ikke forbindes med hinanden.
Højttaleren lyder forvrænget, når subwooferforstærkerens lydstyrke skrues højt op?
- Strømindgangen er utilstrækkelig; bekræft først, at ledningerne er korrekte, og at strømforsyningen er tilstrækkelig.
- Om højttalerens egen effekt er for stor eller for lille, eller om højttalerens basgengivelse er dårlig; højttalerkassens struktur; disse uregelmæssigheder vil forårsage forvrængning.
Er effekten ikke tilstrækkelig?
Effekt og strømforsyningsspænding, lydkildesignalets amplitude, højttalerimpedansens størrelse er alle relaterede; enhver form for mangel vil påvirke effekten.
Vil forstærkeren brænde af?
- Strømforsyningens positive og negative poler er forbundet omvendt; strømforsyningsspændingen er for høj og overskrider kortets maksimale driftsspænding.
- Hvis kortet kræver en DC-strømforsyning, er det ikke tilladt at tilslutte AC-transformator strømforsyning direkte (denne kan rettes og konverteres til DC-strøm, før den kan bruges).
- Bekræft, at ledningerne er korrekte, og tilslut derefter strømforsyningen. Forkert tilslutning eller kortslutning vil begge forårsage skade på nøglekomponenter!
Shenzhen Yima Technology Co.,Ltd
Hjemmeside: www.aiyima.com;
E-mail: sale@aiyima.com
Telefon: 86-0755-28268551
VK: https://vk.com/aiyima
Adresse: 4F, Building 7 Hekan industrial park. Wuhe south road 41. Long-Gang district.
ShenZhen. CHINA. 518000

Referencer
Download manual
Her kan du downloade fuld pdf-version af manualen, den kan indeholde yderligere sikkerhedsinstruktioner, garantioplysninger, FCC-regler osv.
Download AIYIMA A03 2.1 Kanal HIFI Forstærker Manual