Haier HWD80-B14939, HWD90-B14939, HWD100-B14939 - Vaskemaskine – manual
- 1 Produktbeskrivelse
- 2 Kontrolpanel
- 3 Programmer
- 4 Forbrug
-
5
Daglig brug
- 5.1 Strømforsyning
- 5.2 Vandtilslutning
- 5.3 Forberedelse af vasketøj
- 5.4 Plejetabel
- 5.5 Istandsættelse af apparatet
- 5.6 Valg af vaskemiddel
- 5.7 Tilsætning af vaskemiddel
- 5.8 Tænd for apparatet
- 5.9 Vælg et program
- 5.10 Tilføj individuelle valg
- 5.11 Start vaskeprogram
- 5.12 Afbryd / annuller vaskeprogram
- 5.13 Efter vask
- 5.14 Aktiver eller deaktiver summeren
- 6 Miljøvenlig vask
- 7 Pleje og rengøring
- 8 Fejlfinding
- 9 Installation
- 10 Tekniske data
- 11 Sikkerhedsoplysninger
- 12 Kundeservice
- 13 Referencer
- 14 Download manual
- 15 På andre sprog

Produktbeskrivelse
| På grund af tekniske ændringer og forskellige modeller kan illustrationerne i de følgende kapitler afvige fra din model. |
Billede af apparatet
Front

- Skuffe til vaskemiddel/skyllemiddel
- Bordplade
- Programvælger
- Kontrolpanel
- Vaskemaskinelåge
- Servicelåge
- Justerbare fødder
Bagside

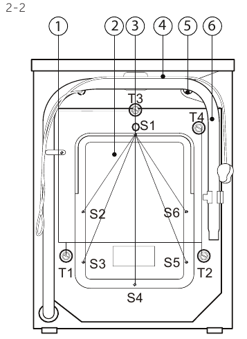
- Transportbolte (T1-T4)
- Bagdæksel
- Bagdækselskruer (S1-S6)
- Strømledning
- Vandindløbsventil
- Afløbsslange

Kontrolpanel

- Programvælger
- Display
- Skuffe til vaskemiddel/skyllemiddel
- Funktionsknapper
- "Start/Pause" (Start/pause)-knap
|
Det akustiske signal kan vælges om nødvendigt: se DAGLIG BRUG |
OFF
Drej knappen til en hvilken som helst position (undtagen OFF) for at starte maskinen. Drej knappen til positionen OFF for at lukke maskinen ned (fig. 3-2).

Programvælger
Ved at dreje på knappen (fig. 3-3) kan du vælge et af 15 programmer (OFF er ikke inkluderet), hvorefter standardindstillingerne vises.

Display
Displayet (fig. 3-4) viser følgende oplysninger:

- Vasketid
- Tidsforskydelse for slut
- Fejlkoder og serviceoplysninger
- Funktionsknapper og "Start/Pause" (Start/pause)-knap
- Dampvask
- Låsning af lågen
- Børnesikring
- Tør
Vaskemiddelskuffe
Åbn dispenseringsskuffen, hvorefter følgende komponenter kan ses (fig. 3-5):

- Rum til pulver eller flydende vaskemiddel
- Vaskemiddelflapvælger, løft den op for pulvervaskemiddel, hold den nede for flydende vaskemiddel.
- Rum til skyllemiddel.
- Låsetap, tryk den ned for at trække dispenseringsskuffen ud. Anbefalingen af typen af vaskemidler er egnet til de forskellige vasketemperaturer. Se vejledningen til vaskemidlet.
Funktionsknapper
Funktionsknapperne (fig. 3-6) giver mulighed for yderligere valgmuligheder i det valgte program, før programmet startes. De relaterede indikatorer vises. Ved at slukke for apparatet eller oprette et nyt program deaktiveres alle valgmuligheder. Hvis en knap har flere valgmuligheder, kan den ønskede valgmulighed vælges ved at trykke på knappen efter hinanden. Ved at trykke på knapperne vælges funktionen.

| For at opnå de bedste resultater i hvert program har Haier veldefinerede specifikke standardindstillinger. Hvis der ikke er særlige krav, anbefales standardindstillinger. |
3.5.1 - Funktionsknap "Delay" (udskydelse)
Tryk på denne knap (fig. 3-7) for at starte programmet med en forsinkelse. Tidsforskydelsen for slut kan øges i trin på 30 minutter fra 0,5-24 timer (sluttidspunktet vil være længere end det oprindelige programtidspunkt). F.eks. betyder displayet fra 6:30, at afslutningen af programcyklussen vil være om 6 timer og 30 minutter. Tryk på knappen "Start/Pause" (Start/pause) for at aktivere tidsforskydelsen. Det gælder ikke for programmet "Spin" (centrifugering), Opfriskning, Tørring, Selvrengøring".

| Hvis der anvendes flydende vaskemiddel, anbefales det ikke at aktivere tidsforskydelsen for slut. |
3.5.2 Funktionsknap "Dry Level" (tørreniveau)
Tryk på denne knap (fig. 3-8) for at ændre eller fravælge tørreniveauet for programmet i henhold til behovene.
DL-1:
Tryk på knappen for tørreniveau, displayet viser dL-1, hvilket betyder, at tøjet er godt at stryge efter tørring.
DL-2
Tryk på knappen for tørreniveau, displayet viser dL-2, hvilket betyder, at tøjet kan bæres direkte efter tørring.
DL-3
Tryk på knappen for tørreniveau, displayet viser dL-3, hvilket betyder, at tøjet kan opbevares direkte efter tørring. Ved at trykke på knappen efter hinanden kan tørretiden indstilles til 30, 60, 90, 120, 150 minutter, og tørreikonet lyser. Hvis displayet viser eller ingen værdi displayet "0", er tørrefunktionen deaktiveret, tørreikonet lyser ikke.
3.5.3 Funktionsknap "Temp." (temp.)
Tryk på denne knap (fig. 3-9) for at ændre vasketemperaturen for programmet. Hvis der ikke lyser en værdi (displayet "-- °C"), opvarmes vandet ikke.

3.5.4 Funktionsknap "Speed" (hastighed)
Tryk på denne knap (fig. 3-10) for at ændre eller fravælge centrifugeringen af programmet. Hvis der ikke lyser en værdi displayet "0", centrifugeres vasketøjet ikke.

3.5.5 Funktionsknap "Extra Rinse" (ekstra skylning)
Tryk på denne knap (fig. 3-11) for at skylle vasketøjet mere intenst med frisk vand. Dette anbefales til personer med følsom hud. Ved at trykke på knappen flere gange kan der vælges nul til tre ekstra cyklusser.

De vises i displayet med P--0/P--1/P--2/P--3. Diffselcet speederent-programmuligheder er diff erent.
"Start/Pause" (Start/pause)-knap
Tryk forsigtigt på denne knap (fig. 3-12) for at starte eller afbryde det aktuelle program. Under programindstillingen og under programkørslen lyser LED'en over knappen, eller hvis den afbrydes, blinker den.

Børnesikring
Vælg et program, og start derefter ved at trykke på knapperne "Delay" (udskydelse) og "Dry level" (tørreniveau) (fig. 3-13) i 3 sekunder samtidig for at blokere alle panelelementer mod aktivering, paneldisplay
. For at låse op skal du trykke på de to knapper igen. Børnesikringsindikatoren lyser, når børnesikringen er aktiveret. Funktionen er valgfri, når maskinen kører.

Displayet viser
(fig. 3-14), hvis der trykkes på en knap, når børnesikringen er aktiveret. Ændringen kører ikke. .

| Procedure: Vælg først programmet "Cotton" (bomuld) i standbytilstand, og tryk derefter på "Temp." (temp.) og "Speed" (hastighed) samtidig, hvorefter antallet af kørte cyklusser vises i 2 sekunder, hvorefter den vender tilbage til standbygrænsefladen. De akkumulerede kørte cyklusser tilføjes 1, når programmet slutter. De kørte cyklusser vises i hexadecimal, hvis det er over 9999. |
Programmer

* Vandet opvarmes ikke.
1) Vælg kun 90 °C vasketemperatur for særlige hygiejniske krav.
2) Reducer vaskemiddelmængden, fordi programvarigheden er kort.
3) Efter brug af programmet Opfriskning skal tøjet tørres, fordi de bruger damp til at fjerne lugt. Sørg for, at vandtrykket er op til standarden, og tilsæt ikke vaskepulver eller vaskemiddel.
4) Vedrører tørt vasketøj.
Design og specifikationer kan ændres uden varsel med henblik på kvalitetsforbedringer.
Forbrug
Scan QR-koden på energimærket for at få oplysninger om energiforbrug.
Det faktiske energiforbrug kan afvige fra det angivne i henhold til lokale forhold.
|
Skærmens standardtid kan variere afhængigt af lastvægten, hvilket involverer programmet " Mix, Synthetics, Cotton, Cotton 20°C, Eco 40-60". |
Vejledende oplysninger (i henhold til Kommissionens forordning (EU) 2019/2023):
| Nominel kapacitet | Program | ![]() (kg) | ![]() (HH:MM) | ![]() (kWh/cyklus) | ![]() (L/cyklus) | Maks. temperatur (°C) | Effektiv hastighed (RPM) | ![]() Restfugtighed (%) |
| 8 kg | Eco 40-60 | 8.0 | 3:38 | 0.680 | 62.0 | 30 | 1530 | 53.0 |
| Eco 40-60 | 4.0 | 2:45 | 0.475 | 41.0 | 30 | 1530 | 52.0 | |
| Eco 40-60 | 2.0 | 2:40 | 0.245 | 31.0 | 25 | 1530 | 55.0 | |
| Cotton 20°C | 8.0 | 1:00 | 0.320 | 75.0 | 20 | 1000 | 65.0 | |
| Cotton 60°C | 8.0 | 1:40 | 1.800 | 75.0 | 57 | 1600 | 50.0 | |
| Wool 30°C | 2.0 | 0:45 | 0.350 | 38.0 | 30 | 800 | 37.0 | |
| Quick15'30°C | 2.0 | 0:23 | 0.350 | 38.0 | 30 | 1000 | 65.0 | |
| 9 kg | Eco 40-60 | 9.0 | 3:48 | 0,760 | 70.0 | 32 | 1550 | 52.0 |
| Eco 40-60 | 4.5 | 2:52 | 0,525 | 44.0 | 32 | 1550 | 52.0 | |
| Eco 40-60 | 2.5 | 2:45 | 0.248 | 33.0 | 25 | 1550 | 54.0 | |
| Cotton 20°C | 9.0 | 1:10 | 0.330 | 80.0 | 20 | 1000 | 65.0 | |
| Cotton 60°C | 9.0 | 1:57 | 2.000 | 80.0 | 57 | 1600 | 50.0 | |
| Wool 30°C | 2.0 | 0:50 | 0.380 | 40.0 | 30 | 800 | 37.0 | |
| Quick15'30°C | 2.5 | 0:28 | 0.380 | 40.0 | 30 | 1000 | 65.0 | |
| 10 kg | Eco 40-60 | 9.0 | 3:48 | 0.760 | 70.0 | 32 | 1550 | 52.0 |
| Eco 40-60 | 4,5 | 2:52 | 0.525 | 44.0 | 32 | 1550 | 52.0 | |
| Eco 40-60 | 2.5 | 2:45 | 0.248 | 33.0 | 25 | 1550 | 54.0 | |
| Cotton 20°C | 9.0 | 1:10 | 0.330 | 80.0 | 20 | 1000 | 65.0 | |
| Cotton 60°C | 9.0 | 1:57 | 2.000 | 80.0 | 57 | 1600 | 50.0 | |
| Wool 30°C | 2.0 | 0:50 | 0.380 | 40.0 | 30 | 800 | 37.0 | |
| Quick15'30°C | 2.5 | 0:28 | 0.380 | 40.0 | 30 | 1000 | 65.0 |
De angivne værdier for andre programmer end Eco 40-60-programmet og vaske- og tørrecyklussen er kun vejledende.
Daglig brug
Strømforsyning
Tilslut vaskemaskinen til en strømforsyning (220 V til 240 V~/50 Hz; Fig. 6-1). Se også afsnittet INSTALLATION.

Vandtilslutning
- Før tilslutning skal du kontrollere vandindløbets renhed og klarhed.
- Tænd for hanen (Fig. 6-2).
![]()
| Før brug skal du kontrollere for lækage i samlingerne mellem hanen og indløbsslangen ved at tænde for hanen. |
Forberedelse af vasketøj
- Sorter tøjet efter stof (bomuld, syntetisk, uld eller silke) og efter hvor beskidt det er (Fig. 6-3). Vær opmærksom på plejemærkningen af vaskemærker.
![]()
- Adskil hvidt tøj fra farvet tøj. Vask farvede tekstiler først i hånden for at kontrollere, om de falmer eller smitter af.
- Tøm lommer (nøgler, mønter osv.) og fjern hårdere dekorative genstande (f.eks. brocher) samt brandfarlige genstande (papirlommetørklæder, lightere, tændstikker osv.).
- Beklædningsgenstande uden søm, sarte og fint vævede tekstiler som f.eks. fine gardiner skal lægges i en vaskepose for at passe på dette sarte vasketøj (håndvask eller kemisk rensning ville være bedre).
- Læg sarte genstande som f.eks. vasketøj uden fast søm, sart undertøj (Dessous) og små genstande som f.eks. sokker, bælter, bh'er osv. i en vaskepose.
- Luk lynlåse, velco-lukninger og kroge, og sørg for, at knapperne er syet godt fast.
- Fold store stykker stof ud, f.eks. lagner, sengetæpper osv.
- Vend jeans og trykte, dekorerede eller farveintensive tekstiler på vrangen; vask dem eventuelt separat.
|
Plejetabel

Ikke alle disse symboler vises i apparatets menu.
Istandsættelse af apparatet
- Læg vasketøjet i tromlen stykke for stykke.
- Overbelast ikke. Vær opmærksom på den forskellige maksimale belastning i henhold til programmer. Tommelfingerregel for maksimal belastning: Hold seks tommer mellem belastningen og tromlens top.
- Luk døren forsigtigt. Sørg for, at ingen stykker vasketøj er i klemme.
| Ikke-tekstiler samt små, løse eller skarpe genstande kan forårsage funktionsfejl og beskadige tøj og apparat. |
Valg af vaskemiddel
- Vaskeevne og ydeevne bestemmes af den anvendte vaskemiddelkvalitet.
- Brug kun vaskemiddel, der er godkendt til maskinvask.
- Brug om nødvendigt specifikke vaskemidler, f.eks. til syntetiske og uldne stoffer.
- Se tips til klistermærker til vaskemiddel på bordpladen Brug ikke rensemidler som f.eks. trichlorethylen og lignende produkter.

L = gel-/flydende vaskemiddel
P = pulvervaskemiddel
O = valgfrit
_ = nej
Hvis du bruger flydende vaskemiddel, anbefales det ikke at aktivere tidsforskydningen. Vi anbefaler at bruge:
- Vaskepulver: 20°C til 90°C* (bedste brug: 40-60°C)
- Farvevaskemiddel: 20°C til 60°C (bedste brug: 30-60°C)
- Uld/delikat vaskemiddel: 20°C til 30°C (= bedste brug: 20°C til 30°C)
*Vælg kun 90°C vasketemperatur ved særlige hygiejniske krav.
*Hvis du vælger en vandtemperatur på 60°C eller derover, vil vi råde dig til at bruge mindre vaskemiddel. Brug venligst det specielle desinfektionsmiddel, der er egnet til bomulds- eller syntetisk stof:
*Det er bedre at bruge mindre eller intet skummende vaskepulver.
Tilsætning af vaskemiddel
- Træk vaskemiddelskuffen ud.
- Hæld de nødvendige kemikalier i de tilsvarende rum (Fig. 6-4)
![]()
- Skub skuffen forsigtigt tilbage.
|
Tænd for apparatet
Drej knappen til en hvilken som helst position (undtagen OFF og Centrifugering) for at starte maskinen. Drej knappen til OFF-positionen for at lukke maskinen (Fig. 6-5).

Vælg et program
For at opnå de bedste vaskeresultater skal du vælge et program, der passer til graden af tilsmudsning og typen af vasketøj.
Drej programknappen (Fig. 6-6) for at vælge det rigtige program. Standardindstillingerne vises.

| Før første brug anbefalede vi at køre programmet "Selvrens" uden belastning og en lille mængde vaskemiddel i vaskemiddelrummet (2) eller specielt maskinrens for at fjerne eventuelle korrumperende rester. |
Tilføj individuelle valg
Vælg de ønskede indstillinger og valgmuligheder (Fig. 6-7). Se KONTROLPANEL.

Start vaskeprogram
Tryk på knappen "Start/Pause" (Fig. 6-8) for at starte. LED'en på knappen "Start/Pause" holder op med at blinke og lyser konstant.

Apparatet fungerer i henhold til de nuværende indstillinger.
Ændringer er kun mulige ved at annullere programmet.
Afbryd / annuller vaskeprogram
For at afbryde et igangværende program skal du trykke forsigtigt på "Start/Pause". LED'en over knappen blinker. Tryk på den igen for at genoptage driften.
For at annullere et igangværende program og alle dets individuelle indstillinger
- Tryk på knappen "Start/Pause" for at afbryde det igangværende program.
- Drej knappen for at vælge programmet "Centrifugering", og tryk på "Hastighed" (vælg hastighed "0") for at tømme vandet.
- Når du har valgt et nyt program, skal du starte det..
Efter vask
|
- Ved programcyklussens afslutning
vises. - Apparatet slukker automatisk.
- Fjern vasketøjet så hurtigt som muligt for at skåne det og forhindre flere rynker.
- Sluk for vandforsyningen.
- Tag stikket ud af stikkontakten.
- Åbn døren for at forhindre dannelse af fugt og lugt. Lad den stå åben, når den ikke er i brug.
| Det tændte apparat går i standbytilstand, hvis det ikke aktiveres inden for 2 minutter før programmets start eller ved programmets afslutning. Displayet slukker. Dette sparer energi. |
| Den sidste del af tørrecyklussen foregår uden varme for at sikre, at beklædningsgenstandene forbliver ved en temperatur, der ikke beskadiger dem. |
Aktiver eller deaktiver summeren
Det akustiske signal kan fravælges, hvis det er nødvendigt:
- Tænd for apparatet.
- Vælg programmet "Selvrens".
- Tryk på knapperne "Tørreniveau" og "Temp." og "Ekstra skylning" samtidig i ca. 3 sekunder.
vises, og summeren deaktiveres. For at aktivere summeren skal du trykke på disse tre knapper samtidig igen.
vises.
Miljøvenlig vask
|
Tørring
|
|
Pleje og rengøring
Rengøring af sæbeskuffen
Sørg altid for, at der ikke er sæberester. Rengør skuffen regelmæssigt (fig. 8-1):

- Træk skuffen ud, indtil den stopper.
- Tryk på udløserknappen, og fjern skuffen.
- Skyl skuffen med vand, indtil den er ren, og sæt skuffen tilbage i apparatet.
Rengøring af maskinen
- Tag stikket ud af maskinen under rengøring og vedligeholdelse.
- Brug en blød klud med sæbevæske til at rengøre maskinens kabinet (fig. 8-2) og gummikomponenter.
![]()
- Brug ikke organiske kemikalier eller ætsende opløsningsmidler.
Vandindløbsventil og indløbsventilfilter
For at forhindre blokering af vandforsyningen af faste stoffer som kalk skal indløbsventilfilteret rengøres regelmæssigt.
- Tag stikket ud af stikkontakten, og luk for vandforsyningen.
- Skru vandindløbsslangen af bagpå (fig. 8-3) apparatet samt på vandhanen.
- Skyl filtrene med vand og en børste (fig. 8-4).
![Haier - HWD80-B14939S8 - Vandindløbsventil og indløbsventilfilter Vandindløbsventil og indløbsventilfilter]()
- Sæt filteret i, og monter indløbsslangen.
Rengøring af tromlen
- Fjern utilsigtet vaskede genstande, især metaldele såsom nåle, mønter osv. fra tromlen (fig. 8-5), fordi de forårsager rustpletter og skader.
![]()
- Brug et klorfrit rengøringsmiddel til fjernelse af rustpletter. Overhold advarselsanvisningerne fra rengøringsmiddelproducenten.
- Brug ikke hårde genstande eller ståluld til rengøring.
Længere perioder uden brug
Hvis apparatet står ubrugt i en længere periode:
- Træk stikket ud (fig. 8-6).
- Luk for vandforsyningen (fig. 8-7).
![Haier - HWD80-B14939S8 - Længere perioder uden brug Længere perioder uden brug]()
- Åbn døren for at forhindre dannelse af fugt og lugt. Lad døren stå åben, når den ikke bruges.
Før næste brug skal du kontrollere strømkabel, vandindløb og afløbsslange omhyggeligt. Sørg for, at alt er korrekt installeret og uden lækage.
Pumpefilter
Rengør filteret en gang om måneden, og kontroller pumpefilteret f.eks. hvis apparatet:
- Ikke dræner vandet.
- Ikke centrifugerer.
- Forårsager usædvanlig støj under kørsel.
| Risiko for skoldning! Vand i pumpefilteret kan være meget varmt! Før du foretager dig noget, skal du sørge for, at vandet er kølet af. |
- Sluk for og tag stikket ud af maskinen (fig. 8-8).
![Haier - HWD80-B14939S8 - Pumpefilter - Trin 1 Pumpefilter - Trin 1]()
- Åbn servicelågen. Du kan enten bruge en mønt eller en skruetrækker (fig. 8-9).
- Sørg for en flad beholder til at opsamle sivevand (fig. 8-10). Der kan være større mængder!
- Træk afløbsslangen ud, og hold dens ende over beholderen (fig. 8-10).
![Haier - HWD80-B14939S8 - Pumpefilter - Trin 2 Pumpefilter - Trin 2]()
- Tag tætningsproppen ud af afløbsslangen (fig. 8-10).
- Efter fuldstændig dræning skal du lukke afløbsslangen (fig. 8-11). og skubbe den tilbage ind i maskinen.
- Skru pumpefilteret 8-12 af og fjern det mod uret (fig. 8-12).
- Fjern forurenende stoffer og snavs (fig. 8-13).
![Haier - HWD80-B14939S8 - Pumpefilter - Trin 3 Pumpefilter - Trin 3]()
- Rengør pumpefilteret omhyggeligt, f.eks. ved hjælp af rindende vand (fig. 8-14).
![Haier - HWD80-B14939S8 - Pumpefilter - Trin 4 Pumpefilter - Trin 4]()
- Fastgør den grundigt igen (fig. 8-15).
- Luk servicelågen.
|
Fejlfinding
Mange forekommende problemer kan du selv løse uden særlig ekspertise. I tilfælde af et problem, skal du kontrollere alle viste muligheder og følge nedenstående instruktioner, før du kontakter en eftersalgsservice. Se KUNDESERVICE.
|
Informationskoder
Følgende koder vises kun som information med henvisning til vaskecyklussen. Der må ikke udføres handlinger.
| Kode | Besked |
![]() | Den resterende vaskecyklustid vil være 1 time og 25 minutter |
![]() | Den resterende vaskecyklustid inklusive valgt sluttidsforsinkelse vil være 6 timer og 30 minutter |
![]() | Automatisk tørring. |
![]() | Vaskecyklussen er færdig. Apparatet slukker automatisk. |
![]() | Funktionen børnelås er aktiveret. |
![]() | Lågen er lukket på grund af højt vandniveau, høj vandtemperatur eller centrifugering. |
![]() | Summeren er deaktiveret |
![]() | Summeren er aktiveret |
Fejlfinding med displaykode
| Problem | Cause | Solution |
![]() |
|
|
![]() |
|
|
![]() |
|
|
![]() |
|
|
![]() |
|
|
![]() |
|
|
![]() |
|
|
![]() |
|
|
![]() |
|
|
![]() |
|
|
![]() |
|
|
![]() |
|
|
![]() |
|
|
|
|
|
![]() |
|
|
![]() |
|
|
![]() |
|
|
![]() |
|
|
Fejlfinding uden displaykode
| Problem | Årsag | Løsning |
| Apparatet vil ikke starte. |
|
|
| Apparatet vil ikke blive fyldt med vand. |
|
|
| Apparatet dræner, mens det fyldes. |
|
|
| Dræning mislykkes. |
|
|
| Kraftige vibrationer under centrifugering. |
|
|
| Driften stopper, før vaskecyklussen er fuldført. |
|
|
| Driften stopper i en periode. |
|
|
| Overdreven skum flyder i tromlen og/eller sæbeskuffen. |
|
|
| Automatisk justering af vasketid. |
|
|
| Centrifugering mislykkes. |
|
|
| Utilfredsstillende vaskeresultat. |
|
|
| Der er vaskepulverrester på vasketøjet. |
|
|
| Vasketøjet har grå pletter. |
|
|
HWD100 HWD90 HWD80 Spænding i V 220-240 V~/50Hz Strøm i A 10 Maks. effekt i W 2000 Vandtryk i MPa 0,03-≤P≤1 Nettovægt i kg 80 76
Hvis fejlmeddelelserne fortsætter med at blive vist, selv efter at der er truffet foranstaltninger, skal du slukke for apparatet, afbryde strømforsyningen og kontakte kundeservice.
I tilfælde af strømsvigt
Det aktuelle program og dets indstillinger gemmes.
Når strømforsyningen er genoprettet, genoptages driften.
Hvis et strømsvigt afbryder et igangværende vaskeprogram, er døråbningen mekanisk blokeret. For at få vasketøjet ud må vandstanden ikke kunne ses i dørens glasagtige hul - Fare for forbrændinger! Vandstanden skal sænkes som beskrevet i "Pumpefilter". Først da trækkes håndtaget (A) under serviceklappen (Fig. 9-1), indtil døren låses op med et let klik. Bagefter fastgøres alle dele igen.

| Når vaskemaskinen er i en sikker tilstand (under vandstanden under vinduet langs en vis afstand, tøndetemperatur under 55°C, den indre tønde drejede ikke), kan låse dørene op for maskinens drift |
Installation
Forberedelse
- Tag apparatet ud af emballagen.
- Fjern alt emballeringsmateriale inklusive polystyrenbase, og opbevar det utilgængeligt for børn. Når du åbner pakken, kan der ses vanddråber på plastikposen og koøjet. Dette normale fænomen skyldes vandtests på fabrikken.
Bemærk: Bortskaffelse af emballage Opbevar alt emballeringsmateriale utilgængeligt for børn, og bortskaf det på en miljøvenlig måde. |
VALGFRI: Monter støjdæmpende puder

- Når du åbner krympepakken, vil du finde nogle støjdæmpende puder. Disse bruges til at reducere støj. (Fig. 10-1)
- Læg vaskemaskinen ned på siden med koøjet opad og bunden mod operatøren.
- Tag de støjdæmpende puder ud, og fjern den dobbeltsidede klæbende beskyttelsesfilm; sæt dem fast omkring bunden; de støjdæmpende puder under vaskemaskinens kabinet som vist i figur 3. (to længere puder i position 1 og 3, to kortere puder i position 2 og 4). Sæt til sidst maskinen oprejst igen.
Demonter transportboltene

Transportbeskyttelsen på bagsiden er designet til at fastspænde antivibrationskomponenter inde i apparatet under transport for at forhindre indvendige skader. Alle elementer (I, R, S og T, fig. 10-2) skal fjernes før brug.
- Fjern alle 4 bolte på bagsiden, og tag plastikafstandsstykkerne ud (fig. 10-2) (fig. 10-3)
- Fyld venstre huller med blindpropper (fig. 10-4) (fig. 10-5).
| Opbevar transportboltene på et sikkert sted til senere brug. Hver gang apparatet skal flyttes, skal boltene først geninstalleres. |
Flytning af apparatet
Hvis maskinen skal flyttes til et fjerntliggende sted, skal du udskifte de transportbolte, der blev fjernet før installationen, for at forhindre skader.
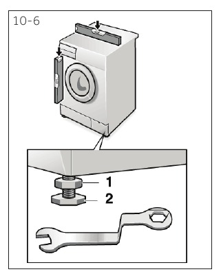
Justering af apparatet
Juster alle fødder (fig. 10-6) for at opnå en fuldstændig plan position. Dette vil minimere vibrationer og dermed støj under brug. Det vil også reducere slitage. Vi anbefaler at bruge et vaterpas til justering. Gulvet skal være så stabilt og plant som muligt.

- Løsn kontramøtrikken (1) ved hjælp af en skruenøgle.
- Juster højden ved at dreje foden (2).
- Spænd kontramøtrikken (1) mod huset.
Tilslutning af afløbsvand
Fastgør vandslangen korrekt til rørene. Slangen skal på et tidspunkt nå en højde mellem 80 og 100 cm over apparatets bundlinje! Hvis det er muligt, skal du altid holde afløbsslangen fastgjort til klemmen på apparatets bagside.
|
Følgende tilslutninger er mulige:
Afløbsslange til vask
- Hæng afløbsslangen med U-støtten over kanten af en vask med passende størrelse (fig. 10-8).
![Haier - HWD80-B14939S8 - Tilslutning af afløbsvand - Metode 1 - Afløbsslange til vask Tilslutning af afløbsvand - Metode 1 - Afløbsslange til vask]()
- Beskyt U-støtten tilstrækkeligt mod at glide.
Afløbsslange til spildevandstilslutning
- Den indvendige diameter af standrøret med ventilationshul skal være mindst 40 mm.
- Sæt afløbsslangen ca. 80-100 mm ind i spildevandsrøret.
- Fastgør U-støtten, og fastgør den tilstrækkeligt (fig. 10-9).
![Haier - HWD80-B14939S8 - Tilslutning af afløbsvand - Metode 2 - Afløbsslange til spildevand Tilslutning af afløbsvand - Metode 2 - Afløbsslange til spildevand]()
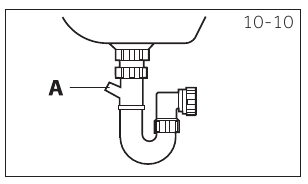
Afløbsslange til vasktilslutning
- Samlingen skal ligge over sifonen
- En muffetilslutning lukkes normalt af en pude (A). Den skal fjernes for at forhindre enhver fejlfunktion (fig. 10-10).
![Haier - HWD80-B14939S8 - Tilslutning af afløbsvand - Metode 3 - Afløbsslange til vask Tilslutning af afløbsvand - Metode 3 - Afløbsslange til vask]()
- Fastgør afløbsslangen med en klemme.
|
Friskvandstilslutning
Sørg for, at pakningerne er sat i.

- Tilslut vandindløbsslangen med den vinklede ende til apparatet (fig. 10-11). Spænd skrueforbindelsen i hånden.
- Den anden ende tilsluttes en vandhane med et 3/4" gevind (fig. 10-12).
Elektrisk tilslutning
Før hver tilslutning skal du kontrollere, om:
- strømforsyning, stikkontakt og sikring passer til typeskiltet.
- stikkontakten er jordet, og der ikke bruges multistik eller forlængerledninger.
- strømstikket og stikkontakten stemmer nøjagtigt overens.
- Kun Storbritannien: Det britiske stik opfylder BS1363A-standarden.
Sæt stikket i stikkontakten (fig. 10-13).

|
Tekniske data
Yderligere tekniske data
| HWD100 | HWD90 | HWD80 | |
| Spænding i V | 220-240 V~/50Hz | ||
| Strøm i A | 10 | ||
| Maks. effekt i W | 2000 | ||
| Vandtryk i MPa | 0,03-≤P≤1 | ||
| Nettovægt i kg | 80 | 76 | |
Produktdimensioner

| PRODUKTDIMENSIONER | HWD 100 | HWD 90 | HWD80 |
| A Produktets samlede højde mm | 850 | ||
| B Produktets samlede bredde mm | 595 | ||
| C Produktets samlede dybde (til hovedkontrolkortets størrelse) mm | 610 | 560 | |
| D Dørens dybde åben mm | 670 | 620 | |
| E Minimumsdørfrigang til tilstødende væg mm | 1130 | 1080 | |
| F Produktets samlede dybde (inklusive dørens tykkelse) mm | 270 | ||
| Den nøjagtige højde på din vaskemaskine afhænger af, hvor langt fødderne er trukket ud fra maskinens base. Det rum, hvor du installerer din vaskemaskine, skal være mindst 40 mm bredere og 20 mm dybere end dens dimensioner. |
Sikkerhedsoplysninger
Forklaring
Advarsel – Vigtige sikkerhedsoplysninger
Generelle oplysninger og tips
Miljøoplysninger
Risiko for personskade eller kvælning!
Afbryd strømforsyningen til apparatet. Klip strømkablet over og bortskaf det. Fjern dørgrebet for at forhindre, at børn og kæledyr bliver lukket inde i apparatet.
Læs følgende sikkerhedsråd, før du tænder for apparatet første gang!:
|
Daglig brug
Installation
|
Tilsigtet brug
Dette apparat er kun beregnet til vask og tørring af maskinvaskbart tøj. Følg altid instruktionerne på etiketten på hver beklædningsgenstand. Det er udelukkende beregnet til husholdningsbrug inde i huset. Det er ikke beregnet til kommerciel eller industriel brug.
Ændringer eller modifikationer af enheden er ikke tilladt. Utilsigtet brug kan forårsage farer og tab af alle garanti- og erstatningskrav.
Kundeservice
Vi anbefaler vores Haier kundeservice og brugen af originale reservedele.
Hvis du har et problem med dit apparat, skal du først tjekke afsnittet FEJLFINDING.
Hvis du ikke kan finde en løsning der, bedes du kontakte din lokale forhandler eller Service & Support-området på www.haier.com, hvor du kan finde telefonnumre og ofte stillede spørgsmål, og hvor du kan aktivere servicekravet.
For at kontakte vores service skal du sørge for, at du har følgende data tilgængelige. Oplysningerne kan findes på typeskiltet.
Model
Serienummer.
Tjek også garantibeviset, der følger med produktet i tilfælde af garanti.
For generelle forretningshenvendelser bedes du finde vores adresser i Europa nedenfor:
| Europæiske Haier adresser | |||
| Land* | Postadresse | Land* | Postadresse |
| Italy | Haier Europe Trading SRL Via De Cristoforis, 12 21100 Verese ITALY | France | Haier France SAS 53 Boulevard Ornano – Pleyad 3 93200 Saint Denis FRANCE |
| Spain Portugal | Haier Iberia SL Pg. Garcia Faria, 49-51 08019 Barcelona SPAIN | Belgium-FR Belgium-NL Netherlands Luxembourg | Haier Benelux SA Anderlecht Route de Lennik 451 BELGIUM |
| Germany Austria | Haier Deutschland GmbH Konrad-Zuse-Platz 6 81829 München GERMANY | Poland Czechia Hungary Greece Romania Russia | Haier Poland Sp. zo.o. Al. Jerozolimskie 181B 02-222 Warszawa POLAND |
| United Kingdom | Haier Appliances UK Co. Ltd. One Crown Square Church Street East Woking, Surrey, GU21 6HR UK | ||
*For mere information henvises til www.haier
Referencer
Download manual
Her kan du downloade fuld pdf-version af manualen, den kan indeholde yderligere sikkerhedsinstruktioner, garantioplysninger, FCC-regler osv.
Download Haier HWD80-B14939, HWD90-B14939, HWD100-B14939 - Vaskemaskine – manual








vises
vises.
vises, og summeren deaktiveres. For at aktivere summeren skal du trykke på disse tre knapper samtidig igen.
vises.
Miljømæssigt ansvarlig brug 
































Bemærk: Bortskaffelse af emballage 

