Cuisinart Goodful OT1500GF - Intelligentes Induktionskochfeld Handbuch
- 1 WICHTIG
- 2 WICHTIGE SICHERHEITSHINWEISE
- 3 SICHERHEITSHINWEISE FÜR INDUKTIONSKOCHFELDER
- 4 ERDUNGSANWEISUNGEN
- 5 WIR STELLEN VOR: ONE TOP
- 6 WAS IST INDUKTIONSKOCHEN?
- 7 WAS IST SOUS VIDE?
- 8 KOCHGESCHIRR FÜR INDUKTIONSKOCHFELDER AUSWÄHLEN
- 9 IM LIEFERUMFANG ENTHALTEN
- 10 TEILE & FUNKTIONEN
- 11 DIE VERWENDUNG DES ONE TOP
- 12 REINIGUNG
- 13 FEHLERBEHEBUNG
- 14 KOCHGERÄUSCHE
- 15 Referenzen
- 16 Anleitung herunterladen
- 17 In anderen Sprachen
Zu Ihrer Sicherheit und für eine lange Freude an diesem Produkt lesen Sie die Bedienungsanleitung vor Gebrauch immer sorgfältig durch.
WICHTIG
Ziehen Sie das Goodful™ by Cuisinart® One Top® Intelligentes Induktionskochfeld immer aus der Steckdose, wenn Sie es demontieren und montieren.
WICHTIGE SICHERHEITSHINWEISE
Bei der Verwendung elektrischer Geräte sollten stets grundlegende Sicherheitsvorkehrungen getroffen werden, einschließlich der folgenden:
- ALLE ANWEISUNGEN LESEN.
- Ziehen Sie den Stecker aus der Steckdose, wenn das Gerät nicht benutzt wird und vor der Reinigung. Lassen Sie die Oberfläche abkühlen, bevor Sie Teile anbringen oder abnehmen.
- Benutzen Sie das Gerät nur auf einer ebenen Fläche.
- Verwenden Sie nur induktionsgeeignetes Kochgeschirr.
- Trocknen Sie die Außenseite des Topfes vor Gebrauch ab.
- Erhitzen Sie keine leeren Töpfe.
- Verschütten Sie keine Flüssigkeiten in die Lüftungsbereiche.
- Tauchen Sie das Kabel, die Stecker oder das Gehäuse nicht in Wasser oder andere Flüssigkeiten, um sich vor einem elektrischen Schlag zu schützen.
- Dieses Gerät sollte nicht von Kindern oder Personen mit bestimmten Behinderungen oder in deren Nähe verwendet werden.
- Lassen Sie das eingeschaltete Gerät nicht unbeaufsichtigt.
- Berühren Sie keine heißen Oberflächen.
- Kochen Sie nicht auf einem zerbrochenen Kochfeld – Wenn das Kochfeld zerbrochen ist, können Reinigungslösungen und Überläufe in das zerbrochene Kochfeld eindringen und die Gefahr eines Stromschlags verursachen.
- Reinigen Sie das Kochfeld mit Vorsicht – Wenn ein nasser Schwamm oder ein Tuch verwendet wird, um verschüttete Flüssigkeiten auf einer heißen Kochfläche abzuwischen, achten Sie darauf, Verbrühungen durch Dampf zu vermeiden. Einige Reiniger können schädliche Dämpfe erzeugen, wenn sie auf eine heiße Oberfläche aufgetragen werden.
- Betreiben Sie kein Gerät mit beschädigtem Kabel oder Stecker, nachdem das Gerät eine Fehlfunktion hatte oder in irgendeiner Weise beschädigt wurde. Rufen Sie das nächstgelegene autorisierte Cuisinart Kundendienstzentrum an (siehe Garantie), um es zur Überprüfung, Reparatur oder Einstellung zurückzusenden.
- Ein kurzes Netzkabel wird mitgeliefert, um das Risiko zu verringern, sich in einem längeren Kabel zu verheddern oder darüber zu stolpern.
- Verlängerungskabel sind erhältlich und dürfen mit Vorsicht verwendet werden. Die angegebene elektrische Leistung des Verlängerungskabels sollte mindestens so hoch sein wie die elektrische Leistung des Geräts.
- Das Kabel sollte so angeordnet werden, dass es nicht über die Arbeitsplatte oder Tischplatte hängt, wo es von Kindern gezogen oder unbeabsichtigt darüber gestolpert werden kann.
- Die Verwendung von Zubehörteilen, die nicht vom Gerätehersteller empfohlen werden, kann zu Verletzungen führen.
- Nicht im Freien oder in feuchten Bereichen verwenden.
- Nicht auf oder in der Nähe eines heißen Gas- oder Elektroherdes oder in einem beheizten Ofen platzieren.
- Es ist äußerste Vorsicht geboten, wenn Töpfe oder Pfannen mit heißem Öl oder anderen heißen Flüssigkeiten von diesem Gerät bewegt werden.
- Lassen Sie bei der Verwendung dieses Geräts mindestens 4–6 Zoll Luftraum oberhalb und an allen Seiten zur Luftzirkulation.
- Verwenden Sie dieses Gerät nur für seinen vorgesehenen Zweck. Dieses Gerät ist nur für den Hausgebrauch bestimmt.
- Zum Trennen schalten Sie das Gerät aus und ziehen Sie dann den Stecker aus der Steckdose.
- Betreiben Sie Ihr Gerät nicht in einer Gerätegerage oder unter einem Wandschrank. Wenn Sie das Gerät in einer Gerätegerage aufbewahren, ziehen Sie das Gerät immer aus der Steckdose. Andernfalls besteht Brandgefahr, insbesondere wenn das Gerät die Wände der Garage berührt oder die Tür das Gerät beim Schließen berührt.
- Der Temperaturfühler kann heiß sein, daher immer vorsichtig handhaben oder vor dem Berühren abkühlen lassen.
- Dieses Gerät hat einen polarisierten Stecker (ein Kontakt ist breiter als der andere). Um das Risiko eines elektrischen Schlags zu verringern, passt dieser Stecker nur auf eine Weise in eine polarisierte Steckdose. Wenn der Stecker nicht vollständig in die Steckdose passt, drehen Sie den Stecker um. Wenn er immer noch nicht passt, wenden Sie sich an einen qualifizierten Elektriker. Versuchen Sie nicht, den Stecker in irgendeiner Weise zu modifizieren.
- Legen Sie keine metallischen Gegenstände wie Messer, Gabeln, Löffel, Deckel, Dosen und Aluminiumfolie auf die Kochplatte.
- Halten Sie Gegenstände mit einem Magnetfeld vom Gerät fern. Gegenstände wie Radios, Fernsehgeräte, automatische Bankkarten und Kassetten können das Gerät beeinträchtigen.
Dieses Gerät entspricht Teil 18 der FCC-Regeln.
Dieses Gerät ist nur für 120 Volt ausgelegt und sollte nicht mit einem Spannungswandler verwendet werden.
Um das Risiko von Stromschlägen, Verbrennungen, Bränden oder Verletzungen zu verringern:
- Ziehen Sie das Kochfeld nach Gebrauch sofort aus der Steckdose.
- Nicht beim Baden oder Duschen verwenden.
- Stellen oder lagern Sie das Gerät nicht an Orten, wo es in eine Wanne oder Spüle fallen oder gezogen werden kann.
- Nicht in Wasser oder andere Flüssigkeiten legen oder fallen lassen.
- Greifen Sie nicht nach einem Gerät, das ins Wasser gefallen ist. Ziehen Sie sofort den Stecker!
- Es ist Vorsicht geboten, damit keine Gegenstände herunterfallen und keine Flüssigkeiten auf das Gerät verschüttet werden.
- UM DAS RISIKO EINES ELEKTRISCHEN SCHLAGS ZU VERRINGERN, ENTFERNEN SIE NICHT DIE ABDECKUNG ODER RÜCKSEITE. ES BEFINDEN SICH KEINE VOM BENUTZER WARTBAREN TEILE IM INNEREN.
- UM DAS RISIKO EINES BRANDES ODER ELEKTRISCHEN SCHLAGS ZU VERRINGERN, SETZEN SIE DIESES GERÄT KEINEM WASSER ODER FEUCHTIGKEIT AUS.
WARNHINWEIS FÜR HERZSCHRITTMACHERTRÄGER:
Personen mit einem Herzschrittmacher oder einem ähnlichen medizinischen Gerät sollten bei der Verwendung oder in der Nähe eines Induktionsgeräts, während es in Betrieb ist, Vorsicht walten lassen. Das elektromagnetische Feld kann die Funktion des Herzschrittmachers oder eines ähnlichen medizinischen Geräts beeinträchtigen. Es wird empfohlen, Ihren Arzt oder den Hersteller des Herzschrittmachers bezüglich Ihrer spezifischen Situation zu konsultieren.
SICHERHEITSHINWEISE FÜR INDUKTIONSKOCHFELDER
- Seien Sie vorsichtig, wenn Sie das Kochfeld berühren. Die Glasoberfläche des Kochfelds speichert Wärme, nachdem die Bedienelemente ausgeschaltet wurden.
- Kochen Sie nicht auf einem zerbrochenen Kochfeld. Sollte das Glaskochfeld zerbrechen, können Reinigungslösungen und Überläufe in das zerbrochene Kochfeld eindringen und die Gefahr eines elektrischen Schlags verursachen.
- Vermeiden Sie es, das Glaskochfeld zu zerkratzen. Sie können das Kochfeld mit Gegenständen wie Messern, scharfen Instrumenten, Ringen oder anderem Schmuck sowie Nieten an der Kleidung zerkratzen.
- Legen Sie keine metallischen Löffel, Gabeln, Messer oder Teller auf die Kochfeldoberfläche, da diese mit der Induktionsspule interagieren und heiß werden können.
- Verwenden Sie einen Keramikkochfeldreiniger und Reinigungspads zur Reinigung des Kochfelds. Achten Sie darauf, nur zu reinigen, wenn die Kochfläche kalt ist, da ein nasser Schwamm oder ein Tuch auf einer heißen Oberfläche Dampfverbrennungen verursachen kann. Einige Reiniger können schädliche Dämpfe erzeugen, wenn sie auf eine heiße Oberfläche aufgetragen werden. Lesen und befolgen Sie alle Anweisungen und Warnungen auf der Verpackung des Reinigungsprodukts.
- HINWEIS: Zuckerhaltige Verschüttungen sind eine Ausnahme. Mit einem Ofenhandschuh und einem Schaber abkratzen, solange sie noch heiß sind. Detaillierte Anweisungen finden Sie im Abschnitt „Reinigung“ dieses Handbuchs.
Personen mit einem Herzschrittmacher oder ähnlichen medizinischen Geräten sollten bei der Verwendung oder in der Nähe eines Induktionskochfelds, während es in Betrieb ist, Vorsicht walten lassen. Das elektromagnetische Feld kann die Funktion des Herzschrittmachers oder eines ähnlichen medizinischen Geräts beeinträchtigen. Es wird empfohlen, Ihren Arzt oder den Hersteller des Herzschrittmachers bezüglich Ihrer spezifischen Situation zu konsultieren.
DIESE ANWEISUNGEN AUFBEWAHREN
NUR FÜR DEN HAUSGEBRAUCH
ERDUNGSANWEISUNGEN
Zu Ihrem Schutz sind Goodful™ by Cuisinart® One Top® Intelligente Induktionskochfelder mit einem 3-adrigen Kabelset ausgestattet, das einen geformten 3-poligen Schukostecker besitzt und in Kombination mit einer ordnungsgemäß angeschlossenen Schukosteckdose verwendet werden sollte, wie in Abbildung 1 gezeigt. Wenn keine Schukosteckdose verfügbar ist, kann ein Adapter, wie in Abbildung 2 gezeigt, erworben werden, sodass eine 2-Schlitz-Wandsteckdose mit einem 3-poligen Stecker verwendet werden kann. Gemäß Abbildung 3 muss der Adapter geerdet werden, indem sein Erdungsanschluss unter der Schraube der Steckdosenabdeckplatte befestigt wird. VORSICHT: Vor der Verwendung eines Adapters muss festgestellt werden, dass die Schraube der Steckdosenabdeckplatte ordnungsgemäß geerdet ist. Im Zweifelsfall konsultieren Sie einen zugelassenen Elektriker. Verwenden Sie niemals einen Adapter, es sei denn, Sie sind sicher, dass er ordnungsgemäß geerdet ist.

Hinweis: Die Verwendung eines Adapters ist in Kanada nicht gestattet.
Dieses Gerät ist nur für 120 Volt ausgelegt und sollte nicht mit einem Spannungswandler verwendet werden.
WIR STELLEN VOR: ONE TOP
Das Goodful™ by Cuisinart® One Top® Intelligentes Induktionskochfeld kombiniert Induktionskochen mit präziser Temperaturregelung und macht es einfach, alle Ihre Lieblingsrezepte mit einem kompakten Gerät zuzubereiten. Wenn Sie ein Rezept in der One Top™ App befolgen, passt One Top® seine Temperatur- und Leistungseinstellungen automatisch an die genauen Rezeptanweisungen an. Beim Sous-Vide-Kochen steuert der Thermometerfühler von One Top® präzise die Wassertemperatur, um ein perfekt gegartes Gericht zu erzielen. Verwenden Sie One Top® für fast jede Art des Kochens. Sous vide, braten, rührbraten, grillen, köcheln, sautieren, langsam garen, scharf anbraten und pochieren – zur Perfektion.
WAS IST INDUKTIONSKOCHEN?
Induktionskochen nutzt elektromagnetische Felder, um Topf oder Pfanne direkt zu erhitzen – nicht das Kochfeld. Elemente unter der Kochfläche erzeugen ein Magnetfeld, das Kochgeschirr aus ferromagnetischen Metallen dazu bringt, Wärme zu erzeugen. Das Kochfeld erzeugt erst Wärme, wenn Sie Kochgeschirr auf die Kochfläche stellen.
WAS IST SOUS VIDE?
Beim Sous-Vide (soo-veed) Kochen werden Lebensmittel in einem verschließbaren Beutel platziert und in Wasser getaucht. Der Temperaturfühler von One Top® misst die genaue Temperatur des Wassers, um ein perfekt gegartes Gericht zu erzielen.
KOCHGESCHIRR FÜR INDUKTIONSKOCHFELDER AUSWÄHLEN
VERWENDEN SIE NUR INDUKTIONSFÄHIGES KOCHGESCHIRR
Die Auswahl des richtigen induktionsfähigen Kochgeschirrs ist sehr wichtig für die Effizienz Ihres Induktionskochfelds. Im Allgemeinen funktionieren Kupfer, Aluminium und Glasgeschirr nicht auf einem Induktionskochfeld. Cuisinart empfiehlt dringend die Verwendung von magnetischem Edelstahl, Emaille, Porzellan auf Stahl oder Gusseisen. Wenn Sie bei der Auswahl des Kochgeschirrs für Ihr Kochfeld nicht vorsichtig sind, funktioniert das Kochgeschirr möglicherweise nicht effizient oder kann möglicherweise Schäden an der Elektronik verursachen. Als Faustregel gilt: Wenn ein Magnet am Boden des Kochgeschirrs haftet, funktioniert es auf einem Induktionskochfeld. Wenn ein Magnet nicht am Kochgeschirr haftet, funktioniert es nicht auf einem Induktionskochfeld. Im Zweifelsfall ist es am besten, sich bei Ihrem lokalen Händler zu erkundigen, um sicherzustellen, dass Sie kompatibles Kochgeschirr kaufen.
Hinweis: Nicht zur Verwendung mit Pfannen mit einem Durchmesser kleiner als 4,7" geeignet.
IM LIEFERUMFANG ENTHALTEN
Goodful™ by Cuisinart® One Top® Intelligentes Induktionskochfeld
Bedienungsanleitung
Schnellstartanleitung
Temperaturfühler
Klammer für Temperaturfühler
Spezifikationen
Leistungsaufnahme: 120 V AC / 12,5 A
Leistung: 100 – 1500 Watt
Leistungsstufen: 1–10
Temperaturbereich: 80°F – 430°F
Gewicht: 6 lb.
Abmessungen: 13,5 Zoll x 13,75 Zoll x 3 Zoll
Kabellänge: 43 Zoll +/- 2 Zoll
Konnektivität: Bluetooth® LE 4.0
Leistungssteuerung: Kapazitive Berührung / App-Konnektivität
App-Plattform: iOS®/Android
Steuerungs-App: One Top
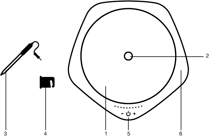
TEILE & FUNKTIONEN

- Oberfläche aus gehärtetem Kristallglas
- Integrierter Oberflächensensor – verfolgt die Oberflächentemperatur Ihrer Töpfe und Pfannen
- Temperaturfühler – verfolgt die Temperatur von Flüssigkeiten, Fleisch und Fisch
- Klammer für Temperaturfühler
- Kapazitive Touch-Bedienfelder für die Leistungssteuerung
- Fünfeckige Form
DIE VERWENDUNG DES ONE TOP®
MIT DER ONE TOP™ APP VERBINDEN
One Top® verbindet sich über Bluetooth® mit der One Top™ App, sodass es Garzeit- und Temperatureinstellungen empfangen kann. Ohne die One Top™ App können Sie One Top weiterhin mit den Tasten auf der Vorderseite steuern.
Laden Sie die One Top™ App auf Ihr Mobilgerät aus dem iTunes® App Store oder von GooglePlay für Android herunter.
So verbinden Sie sich mit der App:
- Schließen Sie One Top® an eine 120-V-Wechselstrom-60-Hz-Steckdose an. Öffnen Sie die One Top™ App auf Ihrem Mobilgerät.
- Tippen Sie unten auf dem Bildschirm auf Connect to One Top® (Mit One Top® verbinden).
- Die Bluetooth-Kopplung wird eingeleitet. Tippen Sie in der angezeigten Meldung auf Pair (Koppeln), um zu bestätigen.
- Die 10. (ganz rechte) LED-Leuchte am One Top® leuchtet durchgehend blau, wenn die Kopplung erfolgreich war.
- Tippen Sie auf die Leiste unten auf dem Bildschirm, um One Top mit der App zu verwenden, oder wählen Sie ein Rezept aus der Liste aus und folgen Sie den Anweisungen.
- Um jedes Mal erneut zu verbinden, wenn Sie die One Top™ App öffnen, tippen Sie auf die Leiste unten auf dem Bildschirm. Wenn One Top® sich nicht über Bluetooth mit der One Top™ App verbindet, setzen Sie die Bluetooth-Verbindung zurück, indem Sie die Tasten + und - am One Top® gleichzeitig berühren, bis es einen Ton von sich gibt.
- Um ein anderes Mobilgerät zu verbinden, öffnen Sie die Bluetooth-Einstellungen auf dem verbundenen Mobilgerät und trennen Sie es dort. Verbinden Sie dann das neue Mobilgerät, indem Sie die oben genannten Schritte befolgen.
- Um ein anderes Kochfeld zu verbinden, öffnen Sie die Bluetooth-Einstellungen auf dem verbundenen Mobilgerät. Tippen Sie auf das Info (i)-Symbol neben One Top™ App und dann auf Forget This Device (Dieses Gerät vergessen). Verbinden Sie sich mit dem neuen Kochfeld, indem Sie die oben genannten Schritte befolgen.
KOCHMODI
Das One Top® verfügt über drei Kochmodi, die fast jede Art des Kochens ermöglichen.
Basic
Im Basic-Modus fungiert One Top® wie eine Standard-Induktionskochplatte. Verwenden Sie die Bedienelemente direkt am One Top®, um die Leistungsstufe von 1–10 einzustellen (ähnlich einer Standard-Kochplatte), oder geben Sie bestimmte Zieltemperaturen in der App ein. In beiden Fällen werden aktuelle Fühler- und Oberflächentemperaturwerte in der App angezeigt, falls verbunden.
Sous Vide
Im Sous Vide-Modus arbeitet Cook Top mit der One Top™ App zusammen, um die Wassertemperatur präzise zu steuern und ein perfekt gegartes Gericht zu erzielen. Die Leistungsstufe passt sich automatisch an, um die gewünschte Temperatur zu halten. Sie können den Sous Vide-Modus auch zum Pochieren oder Slow Cooking verwenden.
Recipe
Im Recipe-Modus arbeitet One Top® mit der One Top™ App zusammen, um die Temperatur automatisch an das Rezept anzupassen. Die App zeigt Anweisungen auf dem Bildschirm und Schritt-für-Schritt-Anleitungen an.
VERWENDUNG DES BASIC-MODUS
Im Basic-Modus ist die One Top™ App optional.
So kochen Sie im Basic-Modus mit den Bedienelementen direkt am One Top:
- Tippen Sie auf die Taste + am Cook. Tippen Sie weiterhin auf die Tasten - + , um die gewünschte Leistungsstufe von 1–10 einzustellen, und tippen Sie dann auf die Taste Power (Ein/Aus) am Cook, um mit dem Kochen zu beginnen.
- Während des Kochens werden aktuelle Fühler- und Oberflächentemperaturwerte in der App angezeigt.
- Wenn Sie mit dem Kochen fertig sind, tippen Sie auf die Taste Power
(Ein/Aus) am One Top, um es auszuschalten.
So kochen Sie im Basic-Modus mit den Bedienelementen in der One Top™ App:
- Verbinden Sie One Top® mit der App und tippen Sie dann auf Start cooking (Kochen starten). Ein Bildschirm zeigt Optionen an, darunter einen einfachen Timer, Fühler- und Oberflächentemperatureinstellungen sowie Tasten, die die Funktion der Tasten am Cook Top nachahmen.
- Um eine bestimmte Zieltemperatur einzustellen, tippen Sie auf Set Temp (Temperatur einstellen) rechts neben der Fühler- oder Oberflächentemperaturanzeige, geben Sie dann eine Zieltemperatur ein und tippen Sie erneut auf Set Temp (Temperatur einstellen). Sie werden aufgefordert, die Taste Power (Ein/Aus) am One Top® zu tippen, um mit dem Kochen zu beginnen.
- Sobald die Zieltemperatur erreicht ist, wird sie beibehalten, bis sie angepasst oder abgebrochen wird.
- Wenn Sie mit dem Kochen fertig sind, tippen Sie auf die Taste Power (Ein/Aus) am One Top®, um es auszuschalten, oder tippen Sie auf die Ein/Aus-Taste unten auf dem Bildschirm.
- Im Basic-Modus ist der Timer einfach ein Countdown-Timer. Tippen Sie auf Set (Einstellen), um eine Dauer zu wählen, und auf Start Timer (Timer starten), um den Countdown zu starten. Sie werden benachrichtigt, wenn die Zeit abgelaufen ist.
LEISTUNGSSTUFEN BEIM KOCHEN

SICHERHEITSFUNKTION: Wenn die Leistungsstufe auf 10 eingestellt ist, läuft One Top 30 Minuten lang. Nach 30 Minuten blinkt One Top® alle LEDs und gibt 1 Minute lang alle 5 Sekunden einen Ton von sich. Während der 1-minütigen Warnzeit tippen Sie auf die Taste Power (Ein/Aus), um mit dem Kochen fortzufahren. Wenn Sie die Taste Power (Ein/Aus) während der 1-minütigen Warnzeit nicht berühren, sinkt die Leistungsstufe auf 6. Das Berühren der Taste Power (Ein/Aus), nachdem die Leistungsstufe auf 6 gesunken ist, schaltet One Top aus.
VERWENDUNG DES SOUS VIDE-MODUS
Der Sous Vide-Modus erfordert die One Top™ App und einen Temperaturfühler.
So kochen Sie im Sous Vide-Modus:
- Stecken Sie den Temperaturfühler in One Top® und befestigen Sie den Fühler mit dem mitgelieferten Fühlerclip am Topfrand. Für genaue Messwerte müssen mindestens 1,5 Zoll des Fühlers untergetaucht bleiben.
- Öffnen Sie die One Top™ App und tippen Sie auf die Leiste unten auf dem Bildschirm.
- Verbinden Sie Ihr One Top, um mit dem Kochen zu beginnen.
- Tippen Sie oben auf dem Bildschirm auf Sous Vide (Sous Vide).
- Geben Sie Ihre Zielwassertemperatur über die Tastatur ein und tippen Sie dann auf Set goal temperature (Zieltemperatur einstellen).
- Geben Sie Ihre gewünschte Garzeit über die Stunden- und Minutenauswahl ein und tippen Sie dann auf Start heating water (Wasser erhitzen starten). Sie werden aufgefordert, die Taste Power (Ein/Aus) am One Top® zu tippen, um mit dem Kochen zu beginnen.
- Sobald die gewünschte Wassertemperatur erreicht ist, beginnt der Timer mit dem Countdown und benachrichtigt Sie, wenn Ihr Gericht perfekt gegart ist.
- Um den Sous Vide-Modus jederzeit abzubrechen, tippen Sie auf die Taste Power (Ein/Aus) am One Top®, um es auszuschalten, oder tippen Sie auf die Ein/Aus-Taste unten auf dem Bildschirm.
SICHERHEITSFUNKTION: Bei der Hochtemperaturregelung – wenn die Zieltemperatur über 214°F liegt – läuft One Top 45 Minuten lang. Nach 45 Minuten blinkt One Top alle LEDs und gibt 1 Minute lang alle 5 Sekunden einen Ton von sich. Während der 1-minütigen Warnzeit berühren Sie die Taste Power (Ein/Aus), um mit dem Kochen fortzufahren. One Top passt die Leistung automatisch an, um die gewünschte Temperatur beizubehalten. Wenn Sie die Taste Power (Ein/Aus) während der 1-minütigen Warnzeit nicht berühren, schaltet sich One Top automatisch aus.
VERWENDUNG DES AUTOMATISIERTEN REZEPTMODUS
Der Rezeptmodus erfordert die One Top™ App sowie für einige Rezepte den Temperaturfühler. Jedes Rezept in der One Top™ App, das einen Herd oder ein Kochfeld verwendet, kann auf One Top® zubereitet werden; jedoch sind nur Rezepte, die unter dem One Top®-Symbol unten auf dem Bildschirm zu finden sind, vollständig automatisiert mit Schritt-für-Schritt-Anleitungen.
So kochen Sie im Rezeptmodus:
- Öffnen Sie die One Top™ App und tippen Sie auf die Leiste unten auf dem Bildschirm.
- Befolgen Sie die Schritte, um Ihr One Top zu verbinden.
- Wählen Sie ein Rezept aus und tippen Sie unten auf dem Bildschirm auf Cook with One Top® (Mit One Top® kochen). Befolgen Sie die Anweisungen auf dem Bildschirm und die Schritt-für-Schritt-Anleitungen. One Top® passt die Temperatur und Garzeit präzise an das ausgewählte Rezept an und benachrichtigt Sie, wenn Ihr Gericht perfekt gegart ist.
- Um den Rezeptmodus jederzeit abzubrechen, tippen Sie auf die Taste Power (Ein/Aus) am One Top®, um es auszuschalten, oder tippen Sie auf die Ein/Aus-Taste unten auf dem Bildschirm.
REINIGUNG
REINIGUNG DES TEMPERATURFÜHLERS
Der Temperaturfühler kann heiß sein.
Lassen Sie den Temperaturfühler vor der Reinigung abkühlen. Zum Reinigen wischen Sie den Fühler mit einem feuchten Tuch oder Schwamm ab und verwenden Sie milde Seife. Geben Sie den Fühler nicht in die Spülmaschine und tauchen Sie ihn nicht in Wasser. Stellen Sie sicher, dass der Fühleranschluss vollständig trocken ist, bevor Sie ihn an das One Top®-Gerät anschließen.
REINIGUNG DES KOCHFELDGLASES
Heiße Oberflächen nicht berühren.
Schalten Sie Cook Top aus und lassen Sie es vor der Reinigung abkühlen. Zum Reinigen wischen Sie das Kochfeldglas mit einem feuchten Tuch oder Schwamm ab und verwenden Sie milde Seife. Sie können auch einen Keramikkochfeldreiniger verwenden und die Anweisungen auf der Verpackung befolgen.
METALLFLECKEN UND KRATZER
Entfernen Sie Flecken, die durch das Verschieben von Kochgeschirr auf der Glasfläche entstanden sind, mit einem Keramikkochfeldreiniger. Wenn Sie Töpfe mit einer dünnen Aluminium- oder Kupferschicht trockenkochen lassen, können diese eine schwarze Verfärbung auf dem Kochfeld hinterlassen. Reinigen Sie dies, bevor Sie es erneut erhitzen, da es sonst dauerhaft werden kann. Überprüfen Sie Töpfe und Pfannen vor dem Gebrauch auf Rauheit, die One Top zerkratzen könnte.
HINWEIS: Falls bereits Vertiefungen oder Einkerbungen im Glas aufgetreten sind, wenden Sie sich an goodfulonetopsupport@cuisinart.com
SCHÄDEN DURCH ZUCKERHALTIGE ÜBERGELAUFENE SPEISEN UND GESCHMOLZENEN KUNSTSTOFF
Seien Sie besonders vorsichtig beim Entfernen heißer Substanzen von One Top®, um dauerhafte Schäden an der Glasoberfläche zu vermeiden. Wenn sie nicht entfernt werden, solange sie noch heiß sind, können zuckerhaltige Überläufe (wie Gelees, Fudge, Süßigkeiten und Sirupe) oder geschmolzene Kunststoffe zu einer Vertiefung der Oberfläche Ihres One Top® führen (nicht von der Garantie abgedeckt). Achten Sie beim Reinigen darauf, einen neuen, scharfen Glasschaber zu verwenden. Verwenden Sie keine stumpfe oder beschädigte Klinge.
So reinigen Sie zuckerhaltige Überläufe und geschmolzenen Kunststoff:
- Topf oder Pfanne entfernen. Schalten Sie One Top® aus.
Heiße Oberflächen nicht berühren. Tragen Sie dabei einen Ofenhandschuh:- Verwenden Sie einen einseitigen Rasierklingenschaber, um den Überlauf auf eine kühle Stelle des Kochfelds zu bewegen.
- Entfernen Sie den Überlauf mit Papiertüchern.
- Lassen Sie verbleibende Überläufe auf der Oberfläche, bis das Kochfeld abgekühlt ist.
- Verwenden Sie One Top® erst wieder, wenn Sie alle Rückstände vollständig entfernt haben.
HINWEIS: Falls bereits Vertiefungen oder Einkerbungen in der Glasoberfläche aufgetreten sind, muss das Kochfeldglas ersetzt werden. Wenden Sie sich an goodfulonetopsupport@cuisinart.com
EINGEBRANNTE RÜCKSTÄNDE
HINWEIS: Schäden an Ihrer Glasoberfläche können entstehen, wenn Sie andere Scheuerschwämme als die für Keramikkochfelder empfohlenen verwenden.
So reinigen Sie eingebrannte Rückstände:
Lassen Sie One Top® abkühlen. Verwenden Sie Keramikkochfeldreiniger und befolgen Sie die Anweisungen auf der Verpackung.
So reinigen Sie starke, eingebrannte Rückstände:
Verwenden Sie einen einseitigen Rasierklingenschaber in einem Winkel von 45° zur Glasoberfläche und üben Sie Druck aus, um die Rückstände abzukratzen und zu entfernen. Nachdem Sie die Rückstände entfernt haben, verwenden Sie Keramikkochfeldreiniger und befolgen Sie die Anweisungen auf der Verpackung.
FEHLERBEHEBUNG
LED-FEHLERANLEITUNG
- 1. (ganz links) LED blinkt: Interner Kochfeldausfall – Kontaktieren Sie goodfulonetopsupport@cuisinart.com
- 2. LED blinkt: IGBT-Sensorfehler – Kontaktieren Sie goodfulonetopsupport@cuisinart.com
- 3. LED blinkt: IGBT-Übertemperaturschutz – One Top® hat sich ausgeschaltet, um ein Anbrennen Ihres Kochgeschirrs zu vermeiden. Lassen Sie One Top® abkühlen und versuchen Sie es erneut.
- 4. LED blinkt: Leerer Topf oder leere Pfanne auf dem Kochfeld erkannt – One Top® hat sich ausgeschaltet, um ein Anbrennen Ihres Kochgeschirrs zu vermeiden. Lassen Sie das Kochfeld abkühlen und versuchen Sie es erneut.
- 5. LED blinkt: Unter-/Überspannung – One Top® funktioniert nur mit U.S. outlets. Versuchen Sie, es an eine andere Steckdose anzuschließen oder kontaktieren Sie goodfulonetopsupport@cuisinart.com
- 8. LED blinkt: Kein Topf auf dem Kochfeld erkannt – Stellen Sie einen induktionskompatiblen Topf oder eine Pfanne auf das Kochfeld.
- 9. LED blinkt: Oberflächenthermistor defekt oder nicht angeschlossen – Kontaktieren Sie goodfulonetopsupport@cuisinart.com
- 10. (ganz rechts) LED blinkt: Kabelgebundener Fühler nicht angeschlossen – Stecken Sie den Thermometerfühler vollständig in das Kochfeld ein.
BLUETOOTH®-VERBINDUNGSPROBLEME
Wenn One Top® keine Verbindung zur One Top App über Bluetooth herstellt, setzen Sie die Bluetooth-Verbindung zurück, indem Sie die und Tasten an One Top® gleichzeitig berühren, bis es klingelt.
Wenn dies die Verbindung nicht behebt, öffnen Sie die Bluetooth-Einstellungen auf dem verbundenen Mobilgerät. Tippen Sie auf das Info-Symbol ( i ) neben Goodful One Top und dann auf Forget This Device (Dieses Gerät vergessen). Verbinden Sie sich erneut mit One Top, indem Sie die Schritte im Abschnitt "Connecting to the Goodful App" (Verbindung zur Goodful App herstellen) befolgen.
URHEBERRECHTS- UND MARKENRECHTSHINWEISE
©2019 BuzzFeed
111 East 18th Street
New York, NY 10003
Goodful™ ist ein Warenzeichen von BuzzFeed, Inc.
One Top™ ist ein Warenzeichen von BuzzFeed, Inc.
Apple und iPhone sind eingetragene Warenzeichen von Apple, Inc.
Google Play und das Google Play-Logo sind Warenzeichen von Google LLC.
©2019 Cuisinart
150 Milford Road
East Windsor, NJ 08520
Gedruckt in den USA
SUPPORT
Haben Sie eine Frage? Kontaktieren Sie goodfulonetopsupport@cuisinart.com
Oder rufen Sie uns an unter 1 (855) 844-1354
KOCHGERÄUSCHE
Verschiedene Arten von Kochgeschirr können Kochgeräusche verursachen. Schwerere Pfannen, wie emailliertes Gusseisen, erzeugen weniger Geräusche als leichtere Pfannen, wie mehrlagiger Edelstahl. Die Größe des Kochgeschirrs und die Menge seines Inhalts können ebenfalls zur Lautstärke beitragen.
Der Kühlventilator kann ein "humming" (brummendes) Geräusch abgeben, wenn er sich einschaltet, um die Induktionselemente zu kühlen. Der Kühlventilator schaltet sich kurz nach Beginn des Kochvorgangs ein.
Je nach Art des verwendeten Kochgeschirrs kann es zu einem leichten "buzz" (Brummen) kommen, wenn bei hohen Leistungsstufen gekocht wird oder wenn der Inhalt der Pfanne kalt ist. Wenn sich das Kochgeschirr erwärmt oder Sie die Leistungsstufe reduzieren, nimmt das Geräusch ab.

Referenzen
Anleitung herunterladen
Hier können Sie die vollständige PDF-Version des Handbuchs herunterladen. Sie kann zusätzliche Sicherheitsanweisungen, Garantieinformationen, FCC-Regeln usw. enthalten.
Cuisinart Goodful OT1500GF - Intelligentes Induktionskochfeld Handbuch herunterladen