GIGABYTE B760I AORUS PRO, B760I AORUS PRO DDR4 - Motherboard Manual
- 1 Product Introduction
-
2
Hardware Installation
- 2.1 Installation Precautions
- 2.2 Product Specifications
- 2.3 CPU and CPU Cooler
- 2.4 Installing the Memory
- 2.5 Installing an Expansion Card
- 2.6 Back Panel Connectors
-
2.7
Internal Connectors
- 2.7.1 ATX_12V_2X4/ATX (2x4 12V Power Connector and 2x12 Main Power Connector)
- 2.7.2 CPU_FAN/SYS_FAN1 (Fan Headers)
- 2.7.3 CPU_OPT (CPU Fan/Water Cooling Pump Header)
- 2.7.4 D_LED (Addressable LED strip Header)
- 2.7.5 LED_C (RGB LED strip Header)
- 2.7.6 M2A_CPU/M2P_SB (Note) (M.2 Socket 3 Connectors)
- 2.7.7 SATA3 4/5 (SATA 6Gb/s Connectors) (1) / SATA3 4/5/6/7 (SATA 6Gb/s Connectors) (2)
- 2.7.8 Cl (Chassis Intrusion Header)
- 2.7.9 F_PANEL (Front Panel Header)
- 2.7.10 SPEAKER (Speaker Header)
- 2.7.11 F_AUDIO (Front Panel Audio Header)
- 2.7.12 F_U32CG (USB Type-C Header, with USB 3.2 Gen 1 Support)
- 2.7.13 F_U32 (USB 3.2 Gen 1 Header)
- 2.7.14 F_USB (USB 2.0/1.1 Header)
- 2.7.15 RST (Reset Jumper)
- 2.7.16 CLR CMOS (Clear CMOS Jumper)
- 2.7.17 BAT (Battery)
- 3 BIOS Setup
- 4 Installing the Operating System and Drivers
- 5 Configuring a RAID Set
- 6 Contact Us
- 7 Copyright
- 8 Disclaimer
- 9 Identifying Your Motherboard Revision
- 10 References
- 11 Download manual
- 12 In Other Languages

Product Introduction
Motherboard Layout

(Note) The connector/chip is on the back of the motherboard.

(Note) The connector/chip is on the back of the motherboard.
Motherboard Block Diagram

(Note) Actual support may vary by CPU.
- Only for B7601 AORUS PRO.
- Only for B7601 AORUS PRO DDR4.
Hardware Installation
Installation Precautions
The motherboard contains numerous delicate electronic circuits and components which can become damaged as a result of electrostatic discharge (ESD). Prior to installation, carefully read the user's manual and follow these procedures:
- Prior to installation, make sure the chassis is suitable for the motherboard.
- Prior to installation, do not remove or break motherboard SIN (Serial Number) sticker or warranty sticker provided by your dealer. These stickers are required for warranty validation.
- Always remove the AC power by unplugging the power cord from the power outlet before installing or removing the motherboard or other hardware components.
- When connecting hardware components to the internal connectors on the motherboard, make sure they are connected tightly and securely.
- When handling the motherboard, avoid touching any metal leads or connectors.
- It is best to wear an electrostatic discharge (ESD) wrist strap when handling electronic components such as a motherboard, CPU or memory. If you do not have an ESD wrist strap, keep your hands dry and first touch a metal object to eliminate static electricity.
- Prior to installing the motherboard, please have it on top of an antistatic pad or within an electrostatic shielding container.
- Before connecting or unplugging the power supply cable from the motherboard, make sure the power supply has been turned off.
- Before turning on the power, make sure the power supply voltage has been set according to the local voltage standard.
- Before using the product, please verify that all cables and power connectors of your hardware components are connected.
- To prevent damage to the motherboard, do not allow screws to come in contact with the motherboard circuit or its components.
- Make sure there are no leftover screws or metal components placed on the motherboard or within the computer casing.
- Do not place the computer system on an uneven surface.
- Do not place the computer system in a high-temperature or wet environment.
- Turning on the computer power during the installation process can lead to damage to system components as well as physical harm to the user.
- If you are uncertain about any installation steps or have a problem related to the use of the product, please consult a certified computer technician.
- If you use an adapter, extension power cable, or power strip, ensure to consult with its installation and/or grounding instructions.
Product Specifications



- Only for B7601 AORUS PRO.
- Only for B7601 AORUS PRO DDR4.
* GIGABYTE reserves the right to make any changes to the product specifications and product-related information without prior notice![]()
Please SERVICE/SUPPORT\Utility page on GIGABYTE's website to download the latest version of apps.
https://www.gigabyte.com/Support/Utility/Motherboard?m=ut
CPU and CPU Cooler
Read the following guidelines before you begin to install the CPU:
- Make sure that the motherboard supports the CPU.
(Go to GIGABYTE's website for the latest CPU support list.) - Always turn off the computer and unplug the power cord from the power outlet before installing the CPU to prevent hardware damage.
- Locate the pin one of the CPU. The CPU cannot be inserted if oriented incorrectly. (Or you may locate the notches on both sides of the CPU and alignment keys on the CPU socket.)
- Apply an even and thin layer of thermal grease on the surface of the CPU.
- Do not turn on the computer if the CPU cooler is not installed, otherwise overheating and damage of the CPU may occur.
- Set the CPU host frequency in accordance with the CPU specifications. It is not recommended that the system bus frequency be set beyond hardware specifications since it does not meet the standard requirements for the peripherals. If you wish to set the frequency beyond the standard specifications, please do so according to your hardware specifications including the CPU, graphics card, memory, hard drive, etc.
Note the CPU Orientation
Note the alignment keys on the motherboard CPU socket and the notches on the CPU.

Do not remove the CPU socket cover before inserting the CPU. It may pop off from the load plate automatically after you insert the CPU and close the load plate.
Please visit GIGABYTE's website for details on hardware installation.
https://www.gigabyte.com/WebPage/210/quick-guide.html?m=sw
Installing the CPU
Follow the steps below to correctly install the CPU into the motherboard CPU socket.
- Gently press the CPU socket lever handle down and away from the socket.
- Completely lift up the CPU socket locking lever.
- Use the finger tab on the side of the metal load plate to lift open the metal load plate with the plastic protective cover attached to it.
- Hold the CPU with your fingers by the edges Align the CPU pin one marking (triangle) with the pin one corner of the CPU socket (or you may align the CPU notches with the socket alignment keys) and gently insert the CPU into position.
![GIGABYTE - B760I AORUS PRO - Installing the CPU - Step 2 Installing the CPU - Step 2]()
- Make sure the CPU is properly installed and then close the load plate. The plastic protective cover will pop off, just remove it. Secure the lever under its retention tab to complete the installation of the CPU.
*Always replace the plastic protective cover when the CPU is not installed to protect the CPU socket.
![GIGABYTE - B760I AORUS PRO - Installing the CPU - Step 3 Installing the CPU - Step 3]()
Do not force to engage the CPU socket locking lever when the CPU is not installed correctly as this would damage the CPU and CPU socket.
Installing the CPU Cooler
Be sure to install the CPU cooler after installing the CPU. (Actual installation process may differ depending the CPU cooler to be used. Refer to the user's manual for your CPU cooler.)
- Apply an even and thin layer of thermal grease on the surface of the installed CPU.
![]()
- Place the cooler atop the CPU, aligning the four push pins through the pin holes on the motherboard Push down on the push pins diagonally.
![GIGABYTE - B760I AORUS PRO - Installing the CPU Cooler Installing the CPU Cooler]()
- Finally, attach the power connector of the CPU cooler to the CPU fan header (CPU FAN) on the motherboard.
![]()
Installing the Memory
Read the following guidelines before you begin to install the memory:
- Make sure that the motherboard supports the memory. It is recommended that memory of the same capacity, brand, speed, and chips be used. (Go to GIGABYTE's website for the latest supported memory speeds and memory modules.)
- Always turn off the computer and unplug the power cord from the power outlet before installing the memory to prevent hardware damage.
- Memory modules have a foolproof design. A memory module can be installed in only one direction. If you are unable to insert the memory, switch the direction.
Dual Channel Memory Configuration
This motherboard provides two memory sockets and supports Dual Channel Technology. After the memory is installed, the BIOS will automatically detect the specifications and capacity of the memory. Enabling Dual Channel memory mode will double the original memory bandwidth.

The two memory sockets are divided into two channels and each channel has one memory socket as following:
- Channel A: DDR5_A1
/DDR4_A1 ![]()
- Channel B: DDR5_B1
/DDR4_B1 ![]()
Due to CPU limitations, read the following guidelines before installing the memory in Dual Channel mode.
- Dual Channel mode cannot be enabled if only one memory module is installed.
- When enabling Dual Channel mode with two memory modules, it is recommended that memory of the same capacity, brand, speed, and chips be used.
When installing a single memory module, we recommend that you install it in the DDR5_A1
/ DDR4_A1
socket.
- Only for 87601 AORUS PRO.
- Only for 87601 AORUS PRO DDR4.
Installing an Expansion Card
Read the following guidelines before you begin to install an expansion card:
- Make sure the motherboard supports the expansion card. Carefully read the manual that came with your expansion card.
- Always turn off the computer and unplug the power cord from the power outlet before installing an expansion card to prevent hardware damage.
Follow the steps below to correctly install your expansion card in the expansion slot.
- Locate an expansion slot that supports your card. Remove the metal slot cover from the chassis back panel.
- Align the card with the slot, and press down on the card until it is fully seated in the slot.
![GIGABYTE - B760I AORUS PRO - Installing an Expansion Card Installing an Expansion Card]()
- Make sure that the expansion card is fully seated in its slot.
- Secure the card's metal bracket to the chassis back panel with a screw.
- After installing all expansion cards, replace the chassis cover(s).
- Turn on your computer. If necessary, go to BIOS Setup to make any required BIOS changes for your expansion card(s).
- Install the driver provided with the expansion card in your operating system.
Back Panel Connectors

- USB 3.2 Gen 2 Type-A Port (Red)
The USB 3.2 Gen 2 port supports the USB 3.2 Gen 2 specification and is compatible to the USB 3.2 Gen 1 and USB 2.0 specification. Use this port for USB devices. - USB Type-C® Port (with USB 3.2 Gen 2 Support)
The reversible USB port supports the USB 3.2 Gen 2 specification and is compatible to the USB 3.2 Gen 1 and USB 2.0 specification. Use this port for USB devices. - USB 2.0/1.1 Port (Q-Flash Plus Port)
The USB port supports the USB 2.0/1.1 specification. Use this port for USB devices. Before using Q-Flash Plus (Note), make sure to insert the USB flash drive into this port first. - USB 2.0/1.1 Port
The USB port supports the USB 2.0/1.1 specification. Use this port for USB devices. - USB 3.2 Gen 1 Port
The USB 3.2 Gen 1 port supports the USB 3.2 Gen 1 specification and is compatible to the USB 2.0 specification. Use this port for USB devices. - DisplayPort
DisplayPort delivers high quality digital imaging and audio, supporting bi-directional audio transmission. DisplayPort can support the HDCP 2.3 content protection mechanism. You can use this port to connect your DisplayPort-supported monitor. Note: The DisplayPort Technology can support a maximum resolution of 4096x2304@60 Hz but the actual resolutions supported depend on the monitor being used. - HDMI Port
![]()
The HDMI port is HDCP 2.3 compliant and supports Dolby TrueHD and DTS HD Master Audio formats. It also supports up to 192KHz/24bit 7.1-channel LPCM audio output. You can use this port to connect your HDMl-supported monitor. The maximum supported resolution is 4096x2160@60 Hz, but the actual resolutions supported are dependent on the monitor being used.
After installing the DisplayPort/HDMl device, make sure to set the default sound playback device to DisplayPort/HDMl. (The item name may differ depending on your operating system.) - Q-Flash Plus Button (Note)
Q-Flash Plus allows you to update the BIOS when your system is off (S5 shutdown state). Save the latest BIOS on a USB thumb drive and plug it into the dedicated port, and then you can now flash the BIOS automatically by simply pressing the Q-Flash Plus button. The QFLED will flash when the BIOS matching and flashing activities start and will stop flashing when the main BIOS flashing is complete. - RJ45 LAN Port
The Gigabit Ethernet LAN port provides Internet connection at up to 2.5 Gbps data rate. The following describes the states of the LAN port LEDs.
![GIGABYTE - B760I AORUS PRO - RJ45 LAN Port RJ45 LAN Port]()
- SMA Antenna Connectors (2T2R)
Use this connector to connect an antenna.
Tighten the antennas to the antenna connectors and then aim the antennas correctly for better signal reception. - Line Out/Front Speaker Out
The line out jack. - Mic In/Rear Speaker Out
The Mic in jack. - Optical SIPDIF Out Connector
This connector provides digital audio out to an external audio system that supports digital optical audio. Before using this feature, ensure that your audio system provides an optical digital audio in connector.
Audio Jack Configurations:
You can change the functionality of an audio jack using the audio software. To configure 7.1-channel audio, access the audio software for audio settings.
Please visit GIGABYTE's website for details on configuring the audio software.
https://www.gigabyte.com/WebPage/697/realtek897-audio.html
(Note) To enable the Q-Flash Plus function, please navigate to the "Unique Features" page of GIGABYTE's website for more information.
- When removing the cable connected to a back panel connector, first remove the cable from your device and then remove it from the motherboard.
- When removing the cable, pull it straight out from the connector. Do not rock it side to side to prevent an electrical short inside the cable connector.
Internal Connectors

- ATX_12V_2X4
- ATX
- CPU_FAN
- SYS_FAN1
- CPU_OPT
- D_LED
- LED_C
- M2A_CPU/M2P_SB(Note)
- SATA3 4/5
or SATA3 4/5/6/7 ![]()
- CI
- F_PANEL
- SPEAKER
- F_AUDIO
- F_U32CG
- F_U32
- F_USB
- RST
- CLR_CMOS
- BAT
(Note) The connector is on the back of the motherboard.
- Only for B760I AORUS PRO.
- Only for B760I AORUS PRO DDR4.
Read the following guidelines before connecting external devices:
- First make sure your devices are compliant with the connectors you wish to connect.
- Before installing the devices, be sure to turn off the devices and your computer. Unplug the power cord from the power outlet to prevent damage to the devices.
- After installing the device and before turning on the computer, make sure the device cable has been securely attached to the connector on the motherboard.
ATX_12V_2X4/ATX (2x4 12V Power Connector and 2x12 Main Power Connector)
With the use of the power connector, the power supply can supply enough stable power to all the components on the motherboard. Before connecting the power connector, first make sure the power supply is turned off and all devices are properly installed. The power connector possesses a foolproof design. Connect the power supply cable to the power connector in the correct orientation.
The 12V power connector mainly supplies power to the CPU. If the 12V power connector is not connected, the computer will not start.
To meet expansion requirements, it is recommended that a power supply that can withstand high power consumption be used (500W or greater). If a power supply is used that does not provide the required power, the result can lead to an unstable or unbootable system.

CPU_FAN/SYS_FAN1 (Fan Headers)
All fan headers on this motherboard are 4-pin. Most fan headers possess a foolproof insertion design. When connecting a fan cable, be sure to connect it in the correct orientation (the black connector wire is the ground wire). The speed control function requires the use of a fan with fan speed control design. For optimum heat dissipation, it is recommended that a system fan be installed inside the chassis.

CPU_OPT (CPU Fan/Water Cooling Pump Header)
The fan/pump header is 4-pin and possesses a foolproof insertion design. Most fan headers possess a foolproof insertion design. When connecting a fan cable, be sure to connect it in the correct orientation (the black connector wire is the ground wire). The speed control function requires the use of a fan with fan speed control design.

- Be sure to connect fan cables to the fan headers to prevent your CPU and system from overheating. Overheating may result in damage to the CPU or the system may hang.
- These fan headers are not configuration jumper blocks. Do not place a jumper cap on the headers.
D_LED (Addressable LED strip Header)
The header can be used to connect a standard 5050 addressable LED strip, with maximum power rating of 5A (5V) and maximum number of 1000 LEDs.

Connect your addressable LED strip to the header. The power pin (marked with a triangle on the plug) of the LED strip must be connected to Pin 1 of the addressable LED strip header. Incorrect connection may lead to the damage of the LED strip.
LED_C (RGB LED strip Header)
The header can be used to connect a standard 5050 RGB LED strip (12V/G/R/B), with maximum power rating of 2A (12V) and maximum length of 2m.

Connect one end of the RGB LED strip extension cable to the header and the other end to your RGB LED strip. The black wire (marked with a triangle on the plug) of the extension cable must be connected to Pin 1 (12V) of this header. The 12V pin (marked with an arrow) on the other end of the extension cable must be lined up with the 12V of the LED strip. Be careful with the connection orientation of the LED strip; incorrect connection may lead to the damage of the LED strip.
For how to turn on/off the lights of the LED strip, please navigate to the "Unique Features" page of GIGABYTE's website.
Before installing or removing the devices, be sure to turn off the devices and your computer. Unplug the power cord from the power outlet to prevent damage to the devices.
M2A_CPU/M2P_SB (Note) (M.2 Socket 3 Connectors)
The M.2 connectors on the motherboard support only M.2 PCIe SSDs.
Follow the steps below to correctly install an M.2 SSD in the M.2 connector.
- M2A CPU:
![GIGABYTE - B760I AORUS PRO - M2A_CPU (M.2 Socket 3 Connectors) M2A_CPU (M.2 Socket 3 Connectors)]()
Step 1:
Use a screwdriver to unfasten the screws on the motherboard heatsink and then remove the motherboard heatsink. Unfasten the screw on the M.2 heatsink and then remove the M.2 heatsink.
Step 2:
Insert the M.2 SSD into the M.2 connector at an angle. Remove the protective film from the thermal pad at the bottom of the M.2 heatsink. Replace the M.2 heatsink and tighten the screw. Then screw the motherboard heatsink back on. - M2P SB:
![GIGABYTE - B760I AORUS PRO - M2P_SB (M.2 Socket 3 Connectors) M2P_SB (M.2 Socket 3 Connectors)]()
Step 1:
Unfasten the 5 screws of the motherboard backplate to remove the backplate. Insert the M.2 SSD into the M.2 connector at an angle. Press the M.2 SSD down and then secure it with the screw.
Step 2:
Remove the protective film from the M.2 SSD thermal pad on the motherboard backplate and screw the backplate back on.
If you want to install an M.2 SSD in the M2P_SB connector, be sure to install a system cooling fan and provide heat dissipation to the motherboard backplate to achieve optimum system stability.
* Types of M.2 SSDs supported by each M.2 connector:

(Note) The connector is on the back of the motherboard.
SATA3 4/5 (SATA 6Gb/s Connectors) (1) / SATA3 4/5/6/7 (SATA 6Gb/s Connectors) (2)
The SATA connectors conform to SATA 6Gb/s standard and are compatible with SATA 3Gb/s and SATA 1.5Gb/s standard. Each SATA connector supports a single SATA device. The Intel® Chipset supports RAID 0, RAID 1, RAID 5
, and RAID 10
. Please navigate to the "Configuring a RAID Set" page of GIGABYTE's website for instructions on configuring a RAID array.

To enable hot-plugging for the SATA ports, please navigate to the "BIOS Setup" page of GIGABYTE's website and search for "SATA Configuration" for more information.
- Only for B760I AORUS PRO.
- Only for B760I AORUS PRO DDR4.
Cl (Chassis Intrusion Header)
This motherboard provides a chassis detection feature that detects if the chassis cover has been removed. This function requires a chassis with chassis intrusion detection design.

F_PANEL (Front Panel Header)
Connect the power switch, reset switch, and system status indicator on the chassis to this header according to the pin assignments below. Note the positive and negative pins before connecting the cables.

- PLED/PWR_LED (Power LED):
Connects to the power status indicator on the chassis front panel. The LED is on when the system is operating. The LED is off when the system is in S3/S4 sleep state or powered off (S5).System Status LED S0 On S3/S4/S5 Off - PW (Power Switch):
Connects to the power switch on the chassis front panel. You may configure the way to turn off your system using the power switch (please navigate to the "BIOS Setup" page of GIGABYTE's website and search for "Soft-Off by PWR-BTTN" for more information). - HD (Hard Drive Activity LED):
Connects to the hard drive activity LED on the chassis front panel. The LED is on when the hard drive is reading or writing data. - RES (Reset Switch):
Connects to the reset switch on the chassis front panel. Press the reset switch to restart the computer if the computer freezes and fails to perform a normal restart. - NC: No connection.
The front panel design may differ by chassis. A front panel module mainly consists of power switch, reset switch, power LED, hard drive activity LED and etc. When connecting your chassis front panel module to this header, make sure the wire assignments and the pin assignments are matched correctly.
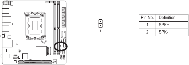
SPEAKER (Speaker Header)
The system reports system startup status by issuing a beep code. One single short beep will be heard if no problem is detected at system startup. This header can also provide audio output in the operating system.

F_AUDIO (Front Panel Audio Header)
The front panel audio header supports High Definition audio (HD). You may connect your chassis front panel audio module to this header. Make sure the wire assignments of the module connector match the pin assignments of the motherboard header. Incorrect connection between the module connector and the motherboard header will make the device unable to work or even damage it.

Some chassis provide a front panel audio module that has separated connectors on each wire instead of a single plug. For information about connecting the front panel audio module that has different wire assignments, please contact the chassis manufacturer.
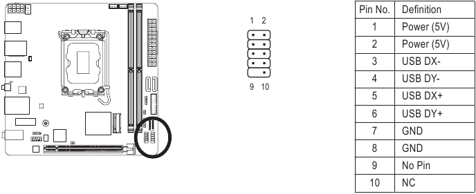
F_U32CG (USB Type-C® Header, with USB 3.2 Gen 1 Support)
The header conforms to USB 3.2 Gen 1 specification and can provide one USB port.

F_U32 (USB 3.2 Gen 1 Header)
The header conforms to USB 3.2 Gen 1 and USB 2.0 specification and can provide two USB ports. For purchasing the optional 3.5" front panel that provides two USB 3.2 Gen 1 ports, please contact the local dealer.

F_USB (USB 2.0/1.1 Header)
The header conforms to USB 2.0/1.1 specification. Each USB header can provide two USB ports via an optional USB bracket. For purchasing the optional USB bracket, please contact the local dealer.

Prior to installing the USB bracket, be sure to turn off your computer and unplug the power cord from the power outlet to prevent damage to the USB bracket.
RST (Reset Jumper)
The reset jumper (RST) can connect to the reset switch on the chassis front panel. Press the reset switch to restart the computer if the computer freezes and fails to perform a normal restart.

The reset jumper provides you with several functions to use. To remap the button to perform different tasks, please navigate to the "BIOS Setup" page of GIGABYTE's website and search for "RST_SW (MULTIKEY)" for more information.
CLR CMOS (Clear CMOS Jumper)
Use this jumper to clear the BIOS configuration and reset the CMOS values to factory defaults. To clear the CMOS values, use a metal object like a screwdriver to touch the two pins for a few seconds.

- Always turn off your computer and unplug the power cord from the power outlet before clearing the CMOS values.
- After system restart, go to BIOS Setup to load factory defaults (select Load Optimised Defaults) or manually configure the BIOS settings (please navigate to the "BIOS Setup" page of GIGABYTE's website for more information).
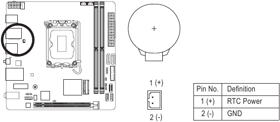
BAT (Battery)
The battery provides power to keep the values (such as BIOS configurations, date, and time information) in the CMOS when the computer is turned off. Replace the battery when the battery voltage drops to a low level, or the CMOS values may not be accurate or may be lost.

You may clear the CMOS values by removing the battery![]()
- Turn off your computer and unplug the power cord
![]()
- Unplug the the battery cable from the battery cable header and wait for one minute.
- Plug in the battery cable
![]()
- Plug in the power cord and restart your computer.
- Always turn off your computer and unplug the power cord before replacing the battery.
- Replace the battery with an equivalent one. Damage to your devices may occur if the battery is replaced with an incorrect model.
- Contact the place of purchase or local dealer if you are not able to replace the battery by yourself or uncertain about the battery model.
- Used batteries must be handled in accordance with local environmental regulations.
BIOS Setup
BIOS (Basic Input and Output System) records hardware parameters of the system in the CMOS on the motherboard. Its major functions include conducting the Power-On Self-Test (POST) during system startup, saving system parameters and loading operating system, etc. BIOS includes a BIOS Setup program that allows the user to modify basic system configuration settings or to activate certain system features.
When the power is turned off, the battery on the motherboard supplies the necessary power to the CMOS to keep the configuration values in the CMOS.
To access the BIOS Setup program, press the <Delete> key during the POST when the power is turned on.
To upgrade the BIOS, use either the GIGABYTE Q-Flash or Q-Flash Plus utility.
- Q-Flash allows the user to quickly and easily upgrade or back up BIOS without entering the operating system.
- Q-Flash Plus allows you to update the BIOS when your system is off (S5 shutdown state). Save the latest BIOS on a USB thumb drive and plug it into the dedicated port, and then you can now flash the BIOS automatically by simply pressing the Q-Flash Plus button.
For instructions on using the Q-Flash and Q-Flash Plus utilities, please navigate to the "Unique Features" page of GIGABYTE's website and search for "BIOS Update Utilities."
- Because BIOS flashing is potentially risky, if you do not encounter problems using the current version of BIOS, it is recommended that you not flash the BIOS. To flash the BIOS, do it with caution. Inadequate BIOS flashing may result in system malfunction.
- It is recommended that you not alter the default settings (unless you need to) to prevent system instability or other unexpected results. Inadequately altering the settings may result in system's failure to boot. If this occurs, try to clear the CMOS values and reset the board to default values.
- Refer to the introductions of the battery/clear CMOS jumper in Hardware Installation Chapter or navigate to the "BIOS Setup" page of GIGABYTE's website and search for "Load Optimised Defaults" for how to clear the CMOS values.
Please visit GIGABYTE's website for details on configuring BIOS Setup.
https://www.gigabyte.com/WebPage/928/inte1700-bios.html
Startup Screen
The following startup Logo screen will appear when the computer boots.

Function Keys
<DEL>: BIOS SETUP\Q-FLASH
Press the <Delete> key to enter BIOS Setup or to access the Q-Flash utility in BIOS Setup.
<F12>: BOOT MENU
Boot Menu allows you to set the first boot device without entering BIOS Setup. In Boot Menu, use the up arrow key <↑> or the down arrow key <↓> to select the first boot device, then press <Enter> to accept. The system will boot from the device immediately.
Note: The setting in Boot Menu is effective for one time only. After system restart, the device boot order will still be based on BIOS Setup settings.
<END>: Q-FLASH
Press the <End> key to access the Q-Flash utility directly without having to enter BIOS Setup first.
Installing the Operating System and Drivers
Operating System Installation
With the correct BIOS settings, you are ready to install the operating system.
To install an operating system on a RAID volume, you need to install the Intel@ RST VMD Controller driver first during the OS installation process. Refer to the steps below:
Step 1:
Go to GIGABYTE's website, browse to the motherboard model's web page, download the Intel SATA Preinstall driver file on the Support\Download\SATA RAID/AHCI page, unzip the file and copy the files to your USB thumb drive.
Step 2:
Boot from the Windows setup disc and perform standard OS installation steps. When the screen requesting you to load the driver appears, select Browse.
Step 3:
Insert the USB thumb drive and then browse to the location of the driver. When a screen as shown below appears, select Intel RST VMD Controller 467F and click Next to load the driver and continue the OS installation.

Drivers Installation
After you install the operating system, a dialog box will appear on the bottom-right corner of the desktop asking if you want to download and install the drivers and GIGABYTE applications via GIGABYTE Control Center (GCC). Click Install to proceed with the installation. (In BIOS Setup, make sure Settings\Gigabyte Utilities Downloader Configuration\Gigabyte Utilities Downloader is set to Enabled.)

When the End User Licence Agreement dialog box appears, press <Accept> to install GIGABYTE Control Center (GCC). On the GIGABYTE CONTROL CENTER screen, select the drivers and applications you want to install and click Install.

Before the installation, make sure the system is connected to the Internet.
Please visit GIGABYTE's website for more software information.
https://www.gigabyte.com/WebPage/926/inte1700-app.html
Please visit GIGABYTE's website for more troubleshooting information.
https://www.gigabyte.com/WebPage/351/faq.html
Configuring a RAID Set
RAID Levels

Before you begin, please prepare the following items:
This motherboard supports SATA RAID 0, RAID 1, RAID 5
, and RAID 10
. Prepare the correct number of hard drives as indicated in the table above before configuring a RAID array.
- SATA hard drives or SSDs. To ensure optimal performance, it is recommended that you use two hard drives with identical model and capacity.
- Windows setup disc.
- An Internet connected computer.
- A USB thumb drive.
The Inter B760 Chipset doesn't include RAID 0, RAID 1, RAID 5, and RAID 10 support for NVMe SSD storage devices.
- Only for B760I AORUS PRO DDR4.
Please visit GIGABYTE's website for details on configuring a RAID array.
https://www.gigabyte.com/WebPage/927/inte1700-raid.html
Contact Us
GIGA-BYTE TECHNOLOGY CO., LTD.
Address: No.6, Baoqiang Rd., Xindian Dist., New Taipei City 231
TEL: +886-2-8912-4000, FAX: +886-2-8912-4005
Tech and Non-Tech Support (Sales/Marketing): https://esupport.gigabyte.com
WEB address (English): https://www.gigabyte.com
WEB address (Chinese): https://www.gigabyte.com/tw
- GIGABYTE eSupport
To submit a technical or non-technical (Sales/Marketing) question, please link to: https://esupport.gigabyte.com
Copyright
© 2023 GIGA-BYTE TECHNOLOGY CO., LTD. All rights reserved.
The trademarks mentioned in this manual are legally registered to their respective owners.
Disclaimer
Information in this manual is protected by copyright laws and is the property of GIGABYTE
Changes to the specifications and features in this manual may be made by GIGABYTE without prior notice. No part of this manual may be reproduced, copied, translated, transmitted, or published in any form or by any means without GIGABYTE's prior written permission.
- For detailed product information, carefully read the User's Manual.
- For quick set-up of the product, refer to the Quick Installation Guide on GIGABYTE's website.
https://download.gigabyte.com/FileList/Manual/mb_manual_installation-guide_12QM-100xR.pdf
For product-related information, check on our website at: https://www.gigabyte.com
Identifying Your Motherboard Revision
The revision number on your motherboard looks like this: "REV: X.X." For example, "REV: 1.0" means the revision of the motherboard is 1.0. Check your motherboard revision before updating motherboard BIOS, drivers, or when looking for technical information.
Example:

References
Utility | Service / Support - GIGABYTE GlobalGIGABYTE Quick-Guide
GIGABYTE Realtek Audio
GIGABYTE Troubleshooting Manual
GIGABYTE - eSupport
GIGABYTE Global
GIGABYTE 技嘉科技
https://download.gigabyte.com/FileList/Manual/mb_manual_installation-guide_12QM-100xR.pdf
Download manual
Here you can download full pdf version of manual, it may contain additional safety instructions, warranty information, FCC rules, etc.
Download GIGABYTE B760I AORUS PRO, B760I AORUS PRO DDR4 - Motherboard Manual









