Manual del humidificador Elechomes SH8820
- 1 Diagrama
- 2 Especificaciones
- 3 Diagrama esquemático eléctrico
- 4 Precauciones de seguridad
- 5 Funciones esenciales
- 6 Funcionamiento del humidificador
- 7 Notas importantes
- 8 Mantenimiento
- 9 Reemplazo de la batería del control remoto
- 10 Resolución de problemas
- 11 Información de garantía
- 12 Atención al cliente
- 13 Referencias
- 14 Descargar manual
- 15 En otros idiomas

Si tiene alguna pregunta o inquietud sobre su nuevo producto, no dude en comunicarse con nosotros de lunes a domingo de 9:00 a. m. a 5:00 p. m., hora del Pacífico, a través de support@elechomes.com. ¡Esperamos que disfrute de su nuevo producto!
OBTENGA LA INFORMACIÓN E INSPIRACIÓN MÁS RECIENTE
Encuentre a @Elechomes en las redes sociales para obtener inspiración para un estilo de vida saludable. Comparta su vida con nosotros.
@Elechomes
#Elechomeslifestyle • #Elechomeslifelover
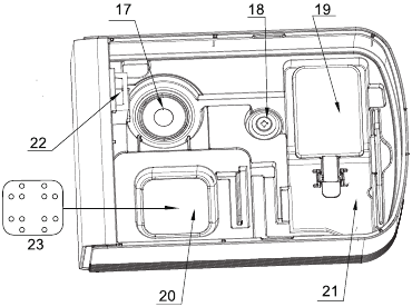
Diagrama





- Pantalla LED
- Botón ON/OFF (Encendido/Apagado)
- Botón Timer (Temporizador)
- Botón Screen-off (Apagar pantalla)
- Botón Child Lock (Bloqueo para niños)
- Botón Max/Min (Máximo/Mínimo)
- Botón Humidity (Humedad)
- Botón Heating (Calefacción)
- Botón Sleep (Reposo)
- Unidad
- Tanque de agua
- Tapa de aromaterapia
- Placa de aromaterapia
- Tapa del cabezal
- Tapa del tanque de agua
- Canal de aire
- Placa atomizadora
- Sensor de nivel de agua
- Bola flotante
- Calentador PTC
- Caja de agua
- Salida de aire
- Placa antical

Nota: Para garantizar su detección precisa de la humedad, mantenga el humidificador (especialmente el sensor de humedad) seco antes de usarlo.
Especificaciones
| Modelo | SH8820 |
| Capacidad | 5.5L |
| Voltaje | AC 120V / 60Hz |
| Grado de protección contra descargas eléctricas | II |
| Capacidad máxima de niebla fría | 300mL/H |
| Capacidad máxima de niebla cálida | 600mL/H |
| Potencia | 280W |
| Aplicación espacial | 430-755 ft²(40-70m²) |
Diagrama esquemático eléctrico

Precauciones de seguridad
El no seguir las instrucciones exactamente como se especifican puede provocar incendios, descargas eléctricas y/o lesiones graves.
- Opere el dispositivo únicamente sobre una superficie lisa y estable.
- Mantenga el dispositivo alejado de fuentes de calor como radiadores, hornos y rejillas de ventilación.
- Dirija la niebla lejos de los muebles, los electrodomésticos y las personas.
- No raye la placa atomizadora.
- No toque el agua ni los elementos internos mientras el dispositivo está en funcionamiento.
- No mueva el dispositivo mientras esté en funcionamiento.
- No cubra las boquillas de niebla.
- No toque la niebla cuando esté en modo de niebla cálida.
- No intente reparar el dispositivo. Todas las reparaciones deben ser realizadas por un profesional de servicio calificado.
- No permita que los niños operen el dispositivo sin la supervisión de un adulto.
- No desmonte el canal de aire si el tanque está lleno de agua caliente.
- Siempre desenchufe el dispositivo cuando no esté en uso y guárdelo en un lugar fresco y seco.
- Apague el dispositivo inmediatamente si ocurren sonidos u olores extraños.
- Siempre desenchufe el humidificador cuando no esté en uso. Drene el tanque de agua y el fregadero, limpie, seque todas las piezas y luego guárdelas en la caja de embalaje original.
- Este aparato puede ser utilizado por niños a partir de 8 años y por personas con capacidades físicas, sensoriales o mentales reducidas o con falta de experiencia y conocimiento si se les ha dado supervisión o instrucción sobre el uso del aparato de forma segura y comprenden los peligros que implica. Los niños no deben jugar con el aparato. La limpieza y el mantenimiento del usuario no deben ser realizados por niños sin supervisión.
- Se debe tener cuidado al usar el aparato debido a la emisión de vapor de agua caliente.
- Desconecte el aparato durante el llenado y la limpieza.
- Si el cable de alimentación está dañado, debe ser reemplazado por el fabricante, su agente de servicio o personas igualmente calificadas para evitar un peligro.
Funciones esenciales
- Este dispositivo puede humidificar un área grande de manera rápida y uniforme.
- Este humidificador puede emitir niebla cálida y fría para satisfacer diversas necesidades.
- Gracias a la humidificación inteligente, la habitación permanecerá automáticamente a un porcentaje de humedad fijo.
- El nivel de vapor se puede ajustar entre bajo, medio y alto.
- La función de reposo garantiza un funcionamiento ultra silencioso.
- La pantalla LED se puede apagar en cualquier momento.
- Mientras está en el modo de bloqueo para niños, el panel de control se desactiva para evitar que los niños manipulen mal el producto.
- Las boquillas de niebla duales se pueden girar 360° independientemente.
- El humidificador está equipado con 12 configuraciones de temporización preestablecidas.
- Agregue unas gotas de aceite esencial en la caja de aromaterapia para una experiencia de aromaterapia relajante.
- La protección contra la escasez de agua evita el funcionamiento en seco y maximiza la vida útil del producto.
- Se puede usar un control remoto incluido para controlar todas las funciones del humidificador.
- El humidificador de niebla cálida y fría Elechomes cumple con las ordenanzas de gestión de sustancias peligrosas.
Funcionamiento del humidificador
Entorno operativo
- Opere el humidificador solo en ambientes interiores entre 41 y 113 °F y con una humedad relativa inferior al 80 %.
- No llene el tanque con agua a más de 105 °F.
- Se recomienda llenar el tanque con agua purificada.
Familiarizarse con el panel de control
![]()
ON/OFF (Encendido/Apagado)![]()
Timer (Temporizador)![]()
Screen-off (Apagar pantalla)![]()
Child Lock (Bloqueo para niños)![]()
Max/Min (Máximo/Mínimo)![]()
Humidity (Humedad)![]()
Heating (Calefacción)![]()
Sleep (Reposo)
Botón ON/OFF (Encendido/Apagado)
Una vez que el cable de alimentación se haya enchufado correctamente en una toma de corriente, sonará un pitido y el humidificador estará en espera. La pantalla LED mostrará la humedad ambiental actual.
Presione el botón ON/OFF (Encendido/Apagado) para comenzar a operar. La pantalla LED mostrará la humedad actual y el grado de humidificación.
Presione el botón ON/OFF (Encendido/Apagado) nuevamente para dejar de operar. El humidificador entrará en modo de espera y mostrará la humedad ambiental actual.
Nota:
- Si el humidificador se ha apagado pero no se ha desenchufado, la configuración anterior se restaurará automáticamente.
- Después de apagar el humidificador, el ventilador interno funcionará durante 3 minutos para secar el canal de aire y evitar la generación de bacterias.
Botón Timer (Temporizador)
Presione el botón del temporizador para configurar el tiempo de humidificación deseado, que va de 1 a 12 horas. Cada vez que presiona el botón, el tiempo se ajusta en 1 hora. (Mantenga presionado el botón durante 2 segundos para desactivar la configuración de tiempo).
La primera vez que se presiona el botón Timer (Temporizador), la pantalla LED mostrará
(modo predeterminado). En el modo predeterminado, el dispositivo humidificará continuamente hasta que se agote el agua.
La segunda vez que se presiona el botón, la pantalla LED mostrará
. El humidificador se apagará automáticamente después de una hora. Cada vez que se presione el botón posteriormente, el tiempo aumentará en 1 hora.
La pantalla LED muestra el tiempo restante en horas después de completar la configuración. El humidificador dejará de funcionar automáticamente y entrará en estado de espera una vez que se complete el tiempo. La pantalla LED mostrará y parpadeará la humedad ambiental actual.
Debe presionar el botón ON/OFF (Encendido/Apagado) nuevamente para restaurar la humidificación (no funciona si el dispositivo está en estado de protección contra la escasez de agua). Una vez que se ha seleccionado la configuración de tiempo, la pantalla LED mostrará el tiempo restante.
Botón Screen-off (Apagar pantalla)

- Presione el botón Screen-off (Apagar pantalla) en cualquier estado de funcionamiento para apagar manualmente la pantalla LED. No afectará los efectos operativos anteriores.
- Presione cualquier botón para restaurar la pantalla LED.
Nota: El humidificador emite un pitido 6 veces y la pantalla LED se restaura cuando el tanque de agua tiene poca agua en cualquier estado de funcionamiento, excepto en el modo de reposo.
Botón Child Lock (Bloqueo para niños)
Mantenga presionado el botón Child Lock (Bloqueo para niños) durante 3 segundos. Escuchará un pitido y la pantalla LED mostrará
y el panel de control no se puede operar. Mantenga presionado el botón Child Lock (Bloqueo para niños) durante 3 segundos para desactivar el modo de bloqueo para niños y la pantalla LED mostrará
.
Nota: Cuando use el control remoto, simplemente presione el botón para ingresar al modo de bloqueo para niños.
Botón Max/Min (Máximo/Mínimo)
Presione el botón Min/Max (Mínimo/Máximo) para ajustar la intensidad de la niebla. Presione Max/Min (Máximo/Mínimo) una vez para baja, dos veces para media y tres veces para alta.
Después de presionar el botón una vez, la pantalla LED mostrará
(alto predeterminado).
Después de presionar el botón por segunda vez, la pantalla LED mostrará
(bajo).
Después de presionar el botón por tercera vez, la pantalla LED mostrará
(medio).
Después de presionar el botón por cuarta vez, la pantalla LED mostrará
(volver a alto).
Botón Humidity (Humedad)
Presione el botón Humidity (Humedad) para configurar el valor de humedad deseado (de 30% a 90%, cada vez que presiona aumenta el nivel 5%). Una vez que la habitación ha alcanzado el nivel de humedad especificado, el dispositivo se apagará automáticamente (la pantalla LED mostrará la humedad actual continuamente). El humidificador rociará niebla automáticamente durante 1 minuto después de encenderse, incluso si la habitación ha alcanzado el nivel de humedad establecido.
Cuando la humedad ambiental cae al 5% de HR (humedad relativa) por debajo de la humedad establecida, el humidificador se reactivará. El ciclo continuará hasta que el tanque se quede sin agua o hasta que el dispositivo se apague.
Después de presionar el botón una vez, la pantalla LED mostrará
(predeterminado). La niebla rociará sin importar el nivel de humedad ambiental.
Después de presionar el botón por segunda vez, la pantalla LED mostrará "30%". Cada vez que presiona posteriormente, el nivel de humedad aumenta en un 5%, hasta que se alcanza el máximo del 90%. (Mantenga presionado el botón durante 2 segundos para desactivar la configuración de humedad).
Botón Heating (Calefacción)

Presione este botón para obtener una niebla cálida. Presione el botón nuevamente para aumentar la temperatura de la niebla.
Después de presionar el botón una vez, la pantalla LED mostrará
(frío).
Después de presionar el botón por segunda vez, la pantalla LED mostrará
(calor bajo).
Después de presionar el botón por tercera vez, la pantalla LED mostrará
(calor medio).
Después de presionar el botón por cuarta vez, la pantalla LED mostrará
(calor alto).
Hace un ciclo cuando continúa presionando el botón.
Nota: Cuando use el botón Heating (Calefacción) para obtener una niebla cálida, siempre asegúrese de colocarlo en un lugar seguro fuera del alcance de los niños para evitar quemaduras.
Botón Sleep (Reposo)
Una vez que se presiona el botón Sleep (Reposo), el humidificador entrará en modo de reposo y la pantalla LED mostrará
3 veces y luego se apagará. Mientras está en el modo de reposo, los tonos de los botones se silenciarán. Todas las funciones se pueden activar en el modo de reposo, la función de calefacción se apagará de forma predeterminada (para evitar el ruido de ebullición).
Nota: Si desea activar esta función (en el modo de reposo), simplemente presione el botón Heating (Calefacción) nuevamente. El humidificador continuará funcionando como modo de reposo una vez que se complete la configuración.
Notas importantes
Nota 1:
Alerta de escasez de agua:
El dispositivo emite 6 pitidos y el icono "ERR" (ver arriba) aparecerá en la pantalla LED si el agua es insuficiente. El humidificador se apagará automáticamente y se reanudará una vez que el agua sea suficiente.
Nota 2:
Alerta de alta temperatura:
Cuando la temperatura de la superficie detectada de PTC es ≥140°C / 284℉ o se detecta que la placa atomizada funciona en seco durante el funcionamiento, el humidificador entrará automáticamente en el programa de alerta de alta temperatura. El dispositivo muestra "HOT" (CALIENTE) y emite un pitido una vez por segundo durante 8 veces continuas. La placa atomizadora y el PTC dejan de funcionar, mientras que el ventilador deja de funcionar después de continuar durante 3 minutos. Todos los botones no son válidos excepto el botón ON/OFF (el dispositivo alertará de nuevo si presiona el botón ON/OFF). Solo puede reiniciar el humidificador después de que se hayan resuelto todos los fallos.
Cómo usar el humidificador
- Abra la tapa superior (Figura 1).
Figura 1![Elechomes - SH8820 - Cómo usar el humidificador Figura 1 Cómo usar el humidificador Figura 1]()
Llene el tanque con agua - Saque el tanque de agua de la unidad (Figura 2), llene el tanque de agua con agua y vuelva a colocarlo en la unidad; o puede verter agua en el tanque de agua, luego cierre la tapa (Figura 3);
Figura 2![Elechomes - SH8820 - Cómo usar el humidificador Figura 2 Cómo usar el humidificador Figura 2]()
El nivel de agua debe bajar el asa del tanque
Figura 3![Elechomes - SH8820 - Cómo usar el humidificador Figura 3 Cómo usar el humidificador Figura 3]()
Cierre la tapa
Nota:- El nivel de agua debe bajar el asa del tanque.
- No vierta agua en el canal de aire. Si es así, la máquina no funcionará normalmente. Por favor, vierta toda el agua de la máquina y vuelva a llenar el tanque de agua antes de encender la máquina.
- Asegúrese de usar el producto con el tanque de agua. No retire el tanque de agua y vierta agua directamente en la máquina.
- Enchufe el cable de alimentación en un tomacorriente y presione el botón ON/OFF (ENCENDIDO/APAGADO) para activar el dispositivo. Para obtener información sobre el ajuste de la configuración, consulte la sección "Familiarícese con el panel de control".
- Para aromaterapia, siga los pasos a continuación.
- Retire la cubierta de aromaterapia (Figura 1).
- Vierta varias gotas de fragancia o aceite esencial en la caja hasta que el algodón esté húmedo (Figura 1).
- Vuelva a insertar la cubierta de aromaterapia y encienda el humidificador.
![Elechomes - SH8820 - Cubierta de aromaterapia Cubierta de aromaterapia]()
Nota:- Si ya no desea utilizar la función de aromaterapia, simplemente retire el algodón, lávelo con agua tibia y vuelva a insertarlo una vez que esté seco.
- Puede tomar la placa de aromaterapia e insertar su fragancia deseada en cualquier momento.
- No vierta fragancias, aceites esenciales o líquidos abrasivos directamente en el tanque de agua.
Mantenimiento
- Limpieza del humidificador
La placa atomizadora y el calentador son particularmente propensos a la acumulación de sarro. Limpie el algodón antiescalante con agua limpia cada vez que llene el tanque de agua y limpie la placa atomizadora con detergente para platos regularmente (una vez cada dos semanas).
Siga el método de limpieza especificado a continuación:- Antes de limpiar, retire la cubierta superior, el tanque de agua, el canal de aire y otras partes móviles (figura 1). Estas piezas se pueden lavar directamente debajo del grifo de agua.
Figura 1![Elechomes - SH8820 - Limpieza del humidificador Figura 1 Limpieza del humidificador Figura 1]()
Retire la cubierta superior, el tanque de agua, el canal de aire y otras partes móviles. - Use agua y un cepillo para limpiar la caja de agua y otras partes de la máquina. Luego, vierta el agua desde la parte posterior de la máquina de acuerdo con la dirección que se muestra en la (figura 2). No vierta agua desde la parte frontal de la máquina (figura 3) para evitar que entre agua en la máquina desde la salida de aire.
Figura 2![Elechomes - SH8820 - Limpieza del humidificador Figura 2 Limpieza del humidificador Figura 2]()
Vierta el agua desde la parte posterior de la máquina.
Figura 3![Elechomes - SH8820 - Limpieza del humidificador Figura 3 Limpieza del humidificador Figura 3]()
No vierta agua desde la parte frontal de la máquina. - Cuando limpie la cubierta del tanque de agua y el anillo de sellado, no los distorsione y el tanque de agua, el canal de aire, la cubierta superior deben volver a instalarse en su lugar después de terminar la limpieza.
- Debido a la mayor dureza del agua en algunas áreas, la superficie de la placa atomizadora y la placa calefactora son propensas a acumular incrustaciones. Los usuarios deben lavarlos regularmente con detergente y limpiar el interior del tanque de agua y la caja de agua cada semana siguiendo las siguientes instrucciones: Coloque 5 gotas de jabón para platos en la superficie de la placa atomizadora y 5 gotas de jabón para platos en el calentador. Vierta aproximadamente 30 ml de agua. Use un cepillo para platos o una esponja para limpiar la placa atomizadora, el calentador y el fregadero hasta que se elimine toda la cal. Drene el agua sucia y enjuague el dispositivo dos veces.
Nota: Asegúrese de que el ventilador permanezca seco en todo momento.
- Antes de limpiar, retire la cubierta superior, el tanque de agua, el canal de aire y otras partes móviles (figura 1). Estas piezas se pueden lavar directamente debajo del grifo de agua.
- Después de activar la función de calefacción, la temperatura del agua en la caja de agua es muy alta. Por lo tanto, no limpie la máquina inmediatamente después de apagarla para evitar quemaduras. La máquina debe apagarse durante 1 hora antes de la limpieza.
- No remoje la caja de agua, el tanque de agua con agua caliente mientras limpia.
- Hay una entrada de aire en la parte inferior de la máquina. Cuando limpie, no sumerja la parte inferior de la máquina en agua para evitar que el agua entre en la máquina desde la entrada de aire y dañe la máquina.
Reemplazo de la batería del control remoto
- Presione la lengüeta de bloqueo hacia la ranura de extracción para retirar el compartimento de la batería (figura 1).
Figura 1![Elechomes - SH8820 - Reemplazo de la batería del control remoto Figura 1 Reemplazo de la batería del control remoto Figura 1]()
- Deseche correctamente la batería vieja.
- Coloque una nueva batería CR2025 de 3V en el compartimento de la batería con el lado positivo hacia arriba (figura 2).
Figura 2![Elechomes - SH8820 - Reemplazo de la batería del control remoto Figura 2 Reemplazo de la batería del control remoto Figura 2]()
- Vuelva a colocar el compartimento de la batería en el control remoto.
Nota: La distancia controlada por control remoto es de 5 m (16 pies).
Resolución de problemas
| Problema | Causa posible | Solución |
| El dispositivo no funciona o se apaga de forma anormal. | El dispositivo no está enchufado. | Enchufe e inicie el dispositivo. |
| El dispositivo deja de funcionar y se muestra "001" en la pantalla LED. | Temperatura de trabajo anormal del calentador PTC. | Desenchufe el dispositivo y limpie la caja de agua y el calentador PTC después de que baje la temperatura del agua. |
| El dispositivo deja de funcionar y se muestra "002" en la pantalla LED. | Temperatura de trabajo anormal de la placa atomizadora. | Desenchufe el dispositivo y limpie la caja de agua y la placa atomizadora después de que baje la temperatura del agua. |
| No hay viento ni niebla o se muestra "003" en la pantalla LED. | El dispositivo no se ha enchufado. | Enchufe el cable en un tomacorriente. |
| El dispositivo no se ha encendido. | Presione el botón ON/OFF (ENCENDIDO/APAGADO) para iniciar el dispositivo. | |
| Hay materia extraña en la placa atomizadora. | Retire la materia extraña. | |
| Hay materia extraña en la boquilla de niebla. | Retire la materia extraña. | |
| El nivel de agua en la caja de agua es demasiado alto. |
| |
| No hay suficiente agua en el tanque. | Vierta más agua en el tanque. | |
| La niebla tiene un olor extraño. | La máquina es nueva. | Retire el humidificador del embalaje y déjelo reposar en un área bien ventilada durante 12 horas. |
| El agua en el tanque está sucia. | Vacíe el tanque y vierta agua limpia. | |
| El humidificador está haciendo un ruido extraño. | No hay suficiente agua en el tanque. | Vierta más agua en el tanque. |
| El dispositivo se ha colocado sobre una superficie irregular. | Opere el dispositivo sobre una superficie nivelada. | |
| La niebla se emite desde los lados de la boquilla. | La boquilla de niebla está demasiado seca. | Remoje la boquilla de niebla en agua durante unos minutos o el fenómeno desaparecerá automáticamente 30 minutos después de encenderla. |
| "Err" se muestra en la pantalla LED. | Escasez de agua. | Llene más agua en el tanque de agua. |
| El sensor de nivel de agua se atasca con materia extraña (consulte la sección "diagrama" No. 18). | Compruebe si hay materia extraña en la caja de agua. | |
| La bola flotante se atasca con materia extraña (consulte la sección "diagrama" No. 19). | ||
| El tanque de agua no está instalado correctamente. | Vuelva a instalar el tanque de agua. | |
| El tanque de agua tiene fugas. | El tanque de agua puede tener fugas. | No agregue aceite esencial al tanque de agua. |
| La niebla deja marcas blancas en los muebles. | La dureza del agua es demasiado alta. | Llene agua destilada o agua purificada en el tanque de agua. |
| Utilice el filtro dedicado del humidificador Elechomes SH8820. (Este filtro está disponible en Amazon. Simplemente busque ELECHOMES y cómprelo) | ||
| La niebla moja el piso. | El humidificador se coloca directamente en el suelo o en una posición baja, por lo tanto, el vapor no tiene suficiente tiempo para volatilizarse. | Se recomienda colocar el humidificador sobre una mesa o silla en una posición más alta para permitir más tiempo para volatilizarse en el aire. |
| La niebla caliente no funciona. | El modo de suspensión está configurado. El humidificador no emitirá niebla caliente en el modo de suspensión. | Restablecer a otros modos de trabajo. |
| No hay niebla caliente después de presionar el botón de calentamiento. | El tiempo de activación de la función de calentamiento no es lo suficientemente largo. | Asegúrese de que la función de calentamiento esté activada, luego revise la niebla 1.5 horas después. |
| El humidificador deja de funcionar después de la limpieza. | El agua puede entrar en el canal de aire. | Siga las instrucciones de limpieza en el manual del usuario para evitar que el agua entre en el canal de aire. |
| El control remoto no funciona. | La lámina de aislamiento de plástico no se retira del compartimento de la batería del control remoto. | Retire la lámina de aislamiento de plástico del compartimento de la batería. |
| Hay un sonido de giro del ventilador después de apagar el dispositivo. | El ventilador continuará funcionando durante 3 minutos para secar el canal de aire y eliminar los gérmenes después de apagar el humidificador. | El ventilador dejará de girar automáticamente 3 minutos después. |
Si su dispositivo no funciona por razones desconocidas, desenchufe el cable de alimentación y reinicie la máquina. Si esto sigue sin funcionar, póngase en contacto con nuestro servicio de atención al cliente de Elechomes para obtener ayuda.
Nota: Este dispositivo cumple con la Parte 15 de las Normas de la FCC. El funcionamiento está sujeto a las dos condiciones siguientes: (1) este dispositivo no puede causar interferencias perjudiciales y (2) este dispositivo debe aceptar cualquier interferencia recibida, incluidas las interferencias que puedan causar un funcionamiento no deseado.
Información de garantía
| Nombre del producto | Humidificador ultrasónico de niebla fría y caliente |
| Nombre del modelo | SH8820 |
| Período de garantía predeterminado | 18 meses |
| Para su propia referencia, le recomendamos encarecidamente que registre su número de pedido y la fecha de compra. | |
TÉRMINOS Y POLÍTICA
Los productos Elechomes son de primera calidad en material, mano de obra y servicio. Son efectivos a partir de la fecha de compra.
Elechomes reemplazará los productos defectuosos según la elegibilidad. Los reembolsos están disponibles para los compradores originales de nuestros productos dentro de los primeros 30 días de la compra. Esta garantía se extiende solo al uso personal en lugar de comercial, de alquiler o cualquier otro uso para el que no esté destinado el producto. Cada producto no tiene otras garantías que no sean las garantías ya proporcionadas.
Esta garantía no es transferible. Elechomes no es responsable de ningún daño, pérdida o inconveniente causado por fallas del equipo, negligencia del usuario, abuso del usuario u operación incorrecta que no siga el manual del usuario incluido.
Esta garantía no se aplica a las siguientes situaciones:
- Daños debidos a abuso, accidente, alteración o vandalismo.
- Mantenimiento inadecuado o inapropiado.
- Daños en el tránsito de devolución.
- Uso sin supervisión por parte de niños menores de 18 años.
Elechomes y sus subsidiarias solo son responsables de los daños causados por el uso previsto o según las instrucciones del manual del usuario. Algunos estados no permiten esta exclusión o limitación de pérdidas incidentales o consecuentes, por lo que es posible que la exención de responsabilidad anterior no se aplique en su caso. Esta garantía le otorga derechos legales específicos y también puede tener otros derechos que pueden variar de un estado a otro.
Todas las garantías expresas e implícitas, incluida la garantía de comerciabilidad, están limitadas al período de la garantía limitada.
Garantía adicional de 6 meses:
Puede disfrutar de una garantía adicional de 6 meses. Simplemente inicie sesión en www.elechomes.com/support/warranty e ingrese su número de pedido (es decir, Amazon) dentro de los primeros 14 días de la compra para registrar su nuevo producto para la garantía extendida.
Si no puede proporcionar el número de pedido de su producto, escriba una nota breve en el campo del número de pedido junto con la fecha en que recibió su producto.
Productos defectuosos y devoluciones:
Si su producto resulta defectuoso dentro del período de garantía especificado, póngase en contacto con el servicio de atención al cliente a través de support@elechomes.com con su factura y número de pedido. Una vez que nuestro equipo de atención al cliente haya aprobado su solicitud, devuelva el producto con una copia de su factura y número de pedido.
Atención al cliente
¡Su satisfacción es nuestro objetivo! Si tiene algún problema o pregunta sobre su nuevo producto, no dude en ponerse en contacto con nuestro equipo de atención al cliente de lunes a domingo, de 9:00 a. m. a 5:00 p. m., hora del Pacífico, a través de support@elechomes.com.
* Tenga a mano la factura y el número de pedido antes de ponerse en contacto con el servicio de atención al cliente.

Nota:
Llenar el tanque con agua dura puede causar acumulación de sarro con el tiempo. Use solo un filtro genuino de Elechomes para minimizar la acumulación de sarro. Para comprar más filtros para su humidificador, escanee el código QR o visite elechomes.com para obtener más información.
Conéctese con nosotros a través de @Elechomes

Importador en EE. UU.: Thousandshores Inc., 37707 Cherry St, Newark, CA 94560, EE. UU.
Importador en la UE: Thousandshores Deutschland GmbH, Bredowstraße 17, Hamburg 22113, DE
Sitio web: https://www.elechomes.com
Servicio de atención al cliente: support@elechomes.com

Referencias
Regístrese para extender su garantía por 180 días adicionales
Electrodomésticos para el hogar y la cocina Elechomes | Humidificador | Purificador de aire |
Electrodomésticos para el hogar y la cocina Elechomes | Humidificador | Purificador de aire |
Descargar manual
Aquí puedes descargar la versión completa en pdf del manual, puede contener instrucciones de seguridad adicionales, información de garantía, reglas de la FCC, etc.
Descargar Manual del humidificador Elechomes SH8820











