Instrucciones de instalación de Schlage FE595

Piezas




- Pomo/Manilla Exterior
- Llave de Perno
- Llave
- Conjunto de Teclado
- Pestillo
- Tornillos de Pestillo/Placa de Cerradero
- Placa de Cerradero
- Placa de Montaje Interior
- Tornillo de la Placa de Montaje
- Conjunto de Botón Giratorio Interior
- Tornillos de Montaje
- Pomo/Manilla Interior
- Batería de 9V
- Placa Frontal de Entrada Directa
- Placa Frontal de Esquina Cuadrada
Herramientas para la instalación

Conserve el folleto de programación con usted mientras instala la cerradura. Sin los códigos de usuario, puede quedarse bloqueado.
Instalar la cerradura
- Retire la plantilla del folleto
![Schlage - FE595 - Install Lock Step 1 Instalar la cerradura Paso 1]()
![Schlage - FE595 - Install Lock Step 2 Instalar la cerradura Paso 2]()
-
Compruebe los orificios de la puerta
Nota: Si los orificios de la puerta no coinciden con la plantilla, visite www.schlage.com para obtener instrucciones sobre cómo perforar la puerta.
![Schlage - FE595 - Install Lock Step 3 Instalar la cerradura Paso 3]()
![Schlage - FE595 - Install Lock Step 4 Instalar la cerradura Paso 4]()
-
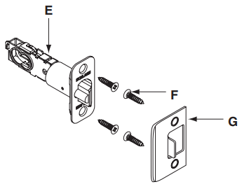
Elija la placa frontal del cerrojo
![Schlage - FE595 - Install Lock Step 5 Instalar la cerradura Paso 5]()
-
Instale el pestillo
El bisel del pestillo debe mirar hacia el marco de la puerta.
![Schlage - FE595 - Install Lock Step 6 Instalar la cerradura Paso 6]()
O
![Schlage - FE595 - Install Lock Step 7 Instalar la cerradura Paso 7]()
-
Instale el conjunto del teclado
El cable debe deslizarse por debajo del pestillo.
![Schlage - FE595 - Install Lock Step 8 Instalar la cerradura Paso 8]()
![Schlage - FE595 - Install Lock Step 9 Instalar la cerradura Paso 9]()
-
Instale la placa de montaje interior
Tire del cable sobrante a través de la placa de montaje.
![Schlage - FE595 - Install Lock Step 10 Instalar la cerradura Paso 10]()
-
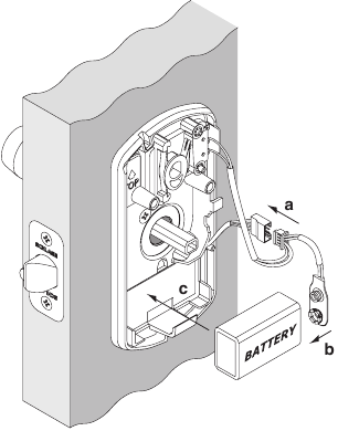
Instale la batería y conecte los cables
El cable debe enrutarse y guardarse como se muestra.
![Schlage - FE595 - Install Lock Step 11 Instalar la cerradura Paso 11]()
![Schlage - FE595 - Install Lock Step 12 Instalar la cerradura Paso 12]()
-
Instale el conjunto de botón giratorio interior
Nota: La cerradura debe estar recta en la puerta antes de apretar los tornillos.
![Schlage - FE595 - Install Lock Step 13 Instalar la cerradura Paso 13]()
-
Si es necesario, instale los pomos/manillas
![Schlage - FE595 - Install Lock Step 14 Instalar la cerradura Paso 14]()
-
Si es necesario, cambie las manillas
![Schlage - FE595 - Install Lock Step 15 Instalar la cerradura Paso 15]()
![Schlage - FE595 - Install Lock Step 16 Instalar la cerradura Paso 16]()
![Schlage - FE595 - Install Lock Step 17 Instalar la cerradura Paso 17]()
![Schlage - FE595 - Install Lock Step 18 Instalar la cerradura Paso 18]()
![Schlage - FE595 - Install Lock Step 19 Instalar la cerradura Paso 19]()
![Schlage - FE595 - Install Lock Step 20 Instalar la cerradura Paso 20]()
-
Instale la placa de cerradero en el marco de la puerta
![Schlage - FE595 - Install Lock Step 21 Instalar la cerradura Paso 21]()


©2006 Schlage Lock Company
Referencias
Descargar el manual
Aquí puede descargar la versión PDF completa del manual. Puede contener instrucciones de seguridad adicionales, información de garantía, reglas de la FCC, etc.
Descargar Instrucciones de instalación de Schlage FE595




















