Shark Lift-Away ZU780 - Manual de la aspiradora vertical
- 1 MONTAJE
- 2 LIMPIEZA DE TODO EL HOGAR
- 3 VACIADO DEL DEPÓSITO DE POLVO
- 4 LIMPIEZA Y SUSTITUCIÓN DE LOS FILTROS
- 5 MANTENIMIENTO
- 6 COMPROBACIÓN DE OBSTRUCCIONES
- 7 ACCESORIOS ADICIONALES
- 8 RESOLUCIÓN DE PROBLEMAS
- 9 REGISTRE SU COMPRA
- 10 REGISTRE ESTA INFORMACIÓN
- 11 ESPECIFICACIONES TÉCNICAS
- 12 Descargar el manual
- 13 En otros idiomas

MONTAJE
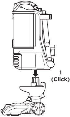
- Coloque la boquilla motorizada para suelos en el suelo y fije el cuerpo (Pod), presionándolo hasta que encaje de forma segura en su lugar.
![]()
- Inserte la varilla (Wand) en el cuerpo, presionándola hasta que encaje de forma segura en su lugar.
![]()
- Inserte el mango (Handle) en la varilla, presionándolo hasta que encaje de forma segura en su lugar.
![]()
- Conecte la manguera (Hose) en la parte posterior del cuerpo, presionándola hasta que encaje de forma segura en su lugar.
![Shark - Lift-Away ZU780 - MONTAJE MONTAJE]()
- Inserte el clip de la manguera en la parte posterior del mango hasta que encaje en su lugar.
Para un funcionamiento adecuado, asegúrese de que todas las conexiones estén bien encajadas en su lugar.
LIMPIEZA DE TODO EL HOGAR
AJUSTES

SUELO DURO
Si la luz está encendida, la aspiradora está en modo Alfombra (Carpet). Para limpiar suelos duros, pulse el botón selector para cambiar al modo Suelo Duro (Hard Floor). Cuando la luz NO está encendida, la aspiradora está en modo Suelo Duro y los cepillos girarán más lentamente.
NOTA: Los cepillos no girarán a menos que la varilla esté reclinada.

ALFOMBRA
Para la limpieza de alfombras, pulse el botón y se iluminará en verde. Los cepillos girarán más rápido.
NOTA: Los cepillos no girarán a menos que la varilla esté reclinada.
CONTROL DE SUCCIÓN

El collar de control de succión (Suction Control Collar) ofrece una succión variable según sus necesidades.
Deslice hasta MIN para reducir la succión y aumentar la maniobrabilidad en las alfombras.
Deslice hasta MAX para aumentar la succión en los suelos desnudos.
LUZ INDICADORA DEL CEPILLO

¿QUÉ SIGNIFICA LA LUZ INDICADORA DEL CEPILLO?
Verde fijo: El cepillo y el rodillo suave (Soft Roller) están girando y funcionando correctamente.
Rojo fijo: Hay un atasco en la zona del cepillo. Apague la aspiradora y retire cualquier obstrucción en la boquilla.
Rojo parpadeante: La boquilla motorizada para suelos se está sobrecalentando. Apague la aspiradora y espere a que se enfríe. Una vez que la aspiradora se haya enfriado, mueva el interruptor selector de superficie a la posición Alfombra (Carpet) y, a continuación, pulse el botón selector para volver a encender la aspiradora.
NOTA: Para una limpieza profunda según la norma ASTM F 608 (suciedad incrustada en las alfombras), ajuste a Alfombra (Carpet).
NOTA: Para la suciedad especialmente persistente en los suelos duros, ajuste a Alfombra (Carpet).
MODOS DE LIMPIEZA

VERTICAL
Para activar los cepillos, encienda la alimentación, coloque el pie en la boquilla para suelos e incline el mango hacia atrás.

POR ENCIMA DEL SUELO: MANGO
Pulse el pestillo de liberación del mango (Handle Release Latch) para separar el mango de la varilla.

LIFT-AWAY®: MANGO
Separe la varilla del cuerpo y, a continuación, separe el mango de la varilla (véase más arriba). Pulse el botón Lift-Away para separar el cuerpo de la boquilla para suelos.

POR ENCIMA DEL SUELO: VARILLA
Pulse el botón liberación de la varilla (Wand Release) para separar la varilla del cuerpo.

LIFT-AWAY®: VARILLA
Separe la varilla del cuerpo (véase más arriba). Pulse el botón Lift-Away para separar el cuerpo de la boquilla para suelos.
NOTA: Todos los accesorios son compatibles tanto con la varilla como con el mango.
VACIADO DEL DEPÓSITO DE POLVO
Desenchufe el cable de alimentación antes de realizar cualquier tarea de mantenimiento.

Para retirar el depósito de polvo (Dust Cup), deslice hacia arriba los botones de los lados del mango. Incline el depósito de polvo y, a continuación, levántelo para retirarlo.

Para vaciar los residuos, pulse el botón de liberación inferior y la parte inferior del depósito de polvo se abrirá.

Para retirar los residuos acumulados de la rejilla para pelusas (Lint Screen), pulse el botón de liberación superior y levante el mango para abrirla. Cepille suavemente la rejilla para pelusas para limpiarla.

Para volver a instalarlo, coloque la parte inferior del depósito de polvo en el cuerpo y, a continuación, inclínelo hasta que encaje en su lugar.
LIMPIEZA Y SUSTITUCIÓN DE LOS FILTROS
LIMPIEZA DE LOS FILTROS
Limpie y sustituya los filtros con regularidad para mantener la potencia de succión óptima de su aspiradora.
Para limpiar los filtros, enjuáguelos ÚNICAMENTE con agua fría para evitar daños por productos químicos de limpieza. Deje que todos los filtros se sequen al aire durante al menos 24 horas antes de volver a instalarlos para evitar que entre líquido en las piezas eléctricas.
NO utilice jabón al limpiar los filtros.

LIMPIE LOS FILTROS PREMOTOR CADA 3 MESES
Retire el depósito de polvo (Dust Cup) y, a continuación, levante los filtros (Filters).

LIMPIE EL FILTRO HEPA CADA AÑO
Pulse el botón acceso al filtro (Filter Access) en la parte inferior de la cubierta del filtro (Filter Cover). Incline la cubierta y levántela. Retire el filtro HEPA.
Para volver a instalarlo, inserte el filtro HEPA en la unidad y vuelva a colocar la cubierta.
MANTENIMIENTO
Tecnología Zero-M®

La tecnología Zero-M elimina activamente el pelo enrollado del cepillo mientras aspira. Si pasa por encima de un objeto duro o afilado o nota un cambio de ruido al aspirar, compruebe si hay obstrucciones u objetos atrapados en el cepillo.
LIMPIEZA DEL CEPILLO
Para abrir el compartimento del cepillo, deslice ambos botones de liberación de la boquilla para suelos alejándolos de usted, hacia la parte posterior de la boquilla, y luego levante la tapa.

Retire cualquier objeto o residuo.

Para cerrar el compartimento del cepillo, inserte las 3 pestañas de la parte superior de la tapa en las 3 ranuras de la boquilla y, a continuación, presione hacia abajo en ambos lados de la tapa hasta que encaje de forma segura en su lugar.
NOTA: Si hay pelo enrollado alrededor del cepillo, prolongar el tiempo de limpieza permitirá que la tecnología Zero-M lo elimine por usted. Si algunas fibras permanecen enrolladas alrededor del cepillo después de un uso continuado, corte cuidadosamente los residuos con unas tijeras y retírelos.
LIMPIEZA DEL RODILLO SUAVE

Para retirar el rodillo suave (Soft Roller) de la boquilla, levántelo por la lengüeta de extracción. Golpee el rodillo suave para quitar los residuos sueltos. Utilice una toalla seca para limpiar el rodillo suave o para eliminar cualquier residuo atrapado en los dientes detrás del rodillo suave.

Lave a mano el rodillo suave según sea necesario. Utilice solo agua y deje que se seque completamente al aire durante al menos 24 horas. Vuelva a insertar el rodillo suave debajo del parachoques de goma en la parte delantera de la boquilla hasta que encaje en su lugar.
COMPROBACIÓN DE OBSTRUCCIONES

Separe la manguera del cuerpo de la aspiradora y compruebe si hay obstrucciones en la manguera y en la abertura de la parte posterior del cuerpo.

Separe la varilla de la boquilla para suelos y del mango, y compruebe si hay obstrucciones en ambos extremos.

Separe la varilla de la boquilla para suelos, incline el cuello de la boquilla hacia atrás y compruebe si hay obstrucciones en la abertura.

Separe el mango de la varilla y la manguera del cuerpo de la aspiradora, y compruebe si hay obstrucciones en las aberturas.
ACCESORIOS ADICIONALES
DISPONIBLES EN SHARKACCESSORIES.COM

- Herramienta para hendiduras de 12 pulgadas (12-inch Crevice Tool)
- Herramienta para hendiduras con plumero (Duster Crevice Tool)
- Cepillo para polvo (Dusting Brush)
- Cepillo para polvo multiángulo (Multi-Angle Dusting Brush)
- Cepillo para polvo antialérgico (Anti-Allergen Dust Brush)
- Herramienta para tapicería (Upholstery Tool)
- Herramienta ancha para tapicería (Wide Upholstery Tool)
- Multiherramienta para mascotas (Pet Multi-Tool)
- Varilla para debajo de electrodomésticos (Under-Appliance Wand)
- Cepillo eléctrico para mascotas (Pet Power Brush)
- Kit de detalles para el hogar y el coche (Home & Car Detail Kit)
- Plumero de precisión (Precision Duster)
- Bolsa para accesorios (Accessory Bag)
NOTA: No todos los accesorios vienen con todas las unidades. Consulte la Guía de inicio rápido adjunta para conocer la configuración de su unidad. Para pedir accesorios adicionales, visite sharkaccessories.com.
RESOLUCIÓN DE PROBLEMAS
La aspiradora no recoge los residuos. No hay succión o la succión es ligera.
- Compruebe los filtros para ver si necesitan limpieza. Siga las instrucciones para enjuagar y secar al aire los filtros antes de volver a insertarlos en la aspiradora.
- El depósito de polvo puede estar lleno; vacíe el depósito de polvo.
- Compruebe si hay obstrucciones en la manguera, las conexiones de la manguera, la boquilla, la varilla, el cuerpo y los accesorios. Elimine cualquier obstrucción que encuentre.
(Consulte la sección Comprobación de obstrucciones para obtener más información). - Si hay pelo, hilo o fibras de alfombra enrollados alrededor del cepillo, prolongue el tiempo de limpieza para permitir que la tecnología Zero-M® los elimine.
- Si algunos pelos o fibras permanecen enrollados alrededor del cepillo después de un uso continuado, retire la tapa del compartimento del cepillo y corte cuidadosamente los residuos con unas tijeras y retírelos del cepillo. Consulte la sección Limpieza del cepillo para obtener más información.
La aspiradora levanta las alfombras.
- Asegúrese de que el botón selector esté ajustado en Suelo Duro (Hard Floor).
- La succión es potente. Tenga cuidado al aspirar alfombras o alfombras con bordes delicadamente cosidos.
- Para minimizar la succión, deslice el collar de control de succión a MIN.
Los cepillos no giran.
- Si la luz indicadora del cepillo se pone roja, apague y desenchufe inmediatamente la aspiradora. Retire el cuerpo de la boquilla para suelos y elimine cualquier obstrucción. Vuelva a conectar la boquilla, enchufe la aspiradora y encienda la alimentación.
- Con la alimentación encendida, incline el mango hacia atrás, lo que activará automáticamente los cepillos.
- Asegúrese de que el botón selector esté ajustado en Alfombra (Carpet) para que giren los cepillos.
La aspiradora se apaga sola o la luz indicadora parpadea en rojo.
Esta aspiradora está equipada con un termostato de protección del motor. Si su aspiradora se sobrecalienta, el termostato apagará automáticamente el motor de succión. Realice los siguientes pasos para reiniciar el termostato:
- Apague la aspiradora y desenchúfela.
- Vacíe el depósito de polvo y limpie los filtros (consulte Vaciado del depósito de polvo y Limpieza de los filtros).
- Compruebe si hay obstrucciones en la manguera, los accesorios y las aberturas de entrada.
- Deje que la unidad se enfríe durante un mínimo de 45 minutos.
- Enchufe la aspiradora y pulse el botón selector para encenderla.
Para cualquier otro problema, llame al Servicio de atención al cliente al 1-800-798-7398.
REGISTRE SU COMPRA

registeryourshark.com

Escanee el código QR con su dispositivo móvil

Ventajas de registrar su producto y crear una cuenta:
- Obtenga asistencia técnica más fácil y rápida para el producto y acceso a la información de la garantía
- Acceda a las instrucciones de resolución de problemas y cuidado del producto
- Sea uno de los primeros en conocer las promociones exclusivas de productos
REGISTRE ESTA INFORMACIÓN
Número de modelo:
Número de serie:
Fecha de compra (Conserve el recibo):
Tienda de compra:
CONSEJO: Puede encontrar el número de modelo y el número de serie en la etiqueta del código QR que se encuentra en la parte inferior de la parte posterior del cuerpo de la aspiradora.
ESPECIFICACIONES TÉCNICAS
Voltaje: 120V, 60Hz
Vatios: 780W
Amperios: 9.5A

Descargar el manual
Aquí puede descargar la versión PDF completa del manual. Puede contener instrucciones de seguridad adicionales, información de garantía, reglas de la FCC, etc.
Descargar Shark Lift-Away ZU780 - Manual de la aspiradora vertical



