Orbit 27752 - Automaatse aia kastmissüsteemi kasutusjuhend
- 1 Omadused
- 2 Toode sisaldab
- 3 Kirjeldus
- 4 PAIGALDAMINE
-
5
PROGRAMMEERIMINE
- 5.1 Kella seadistamiseks pöörake ketast
- 5.2 Päeva seadistamiseks pöörake ketast
- 5.3 Käivitusaja seadistamiseks pöörake ketast
- 5.4 Tööaja seadistamiseks pöörake ketast
- 5.5 Kui tihti seadistamiseks pöörake ketast
- 5.6 Automaatrežiimi seadistamiseks pöörake ketast
- 5.7 Käsitsi kastmine
- 5.8 Vihma viivitus
- 5.9 Väljas
- 6 PROBLEEMIDE LAHENDAMINE
- 7 Tehnilised andmed
- 8 Viited
- 9 Laadi alla juhend
- 10 Teistes keeltes

Omadused
- Juhib kuni 4 jaama (kaasas on 2 ventiili, mis juhivad jaamu, täiendavad ventiilid tuleb eraldi osta)
- Kuni 3 käivitusaja päevas (tsüklid A, B, C)
- Kastab 1-240 minutit käivitusaja kohta (ventiili kohta)
- Ainult välitingimustes kasutamiseks külma veega
Toode sisaldab


- (1) 7 1/4 tolli tugi
- (1) Vooliku seib
- (1) #14 ümara peaga kruvi
- (1) 1/4 tolli keerdkruvi
- (1) Polt
- (1) Vedruseib
- (1) Mutter
- (1) Keerdkruvi kilp (müüritise jaoks)
- (1) Plastikust ankur (stuktuuri jaoks)
- (2) Otsakorki
Kirjeldus

- Kastmisjaamad
- Näitab, millal algab järgmine kastmistsükkel
- Käsitsi kastmine on sisse lülitatud
- Kui tihti taimer kastab intervallrežiimis
- Tsükli käivitusajad
- Taimer on seadistusrežiimis
- Vihma viivitus on sisse lülitatud
- Taimer kastab
- Kell, käivitusaeg ja kastmise kestus
- AM või PM kella ja käivitusaja jaoks
- Madal aku
- Näitab kellaosas numbreid tundide, minutite või päevadena
- Nädala päevad
- Intervallkastmise režiim

- Akusahtel
- LCD-ekraan - kuvab taimeri seadistus- ja kastmisprogrammi
- Funktsiooniketas - pööratakse kastmisprogrammi seadistamiseks
- CLEAR (tühista) nupp - tühistab programmi individuaalsed seadistused
- + – nupud - seadistuste edasi- või tagasikerimine
- < > nupud - kursori liigutamine erinevate seadistuste juurde
- ENTER/ MANUAL (sisesta/ käsitsi) nupp - valib seadistuse või lülitab sisse vihma viivituse, kui on AUTO (automaatne) režiimis
- RESET (lähtesta) - tühistab kõik programmeeritud seadistused
PAIGALDAMINE
- Kinnitage kollektor välise voolikukraani külge. Soovitatav: kinnitage kollektor seinale, kasutades kaasasolevat kinnitusriistvara ja juhiseid.
- Kinnitage kuni 4 ventiili kollektori portide külge.
- Ühendage ventiilipistikud vastavate pistikupesadega - erinevaid ventiile ei saa erinevatele tsüklitele panna; taimer on sisemiselt programmeeritud töötama järjestikku (üks teise järel).
- Paigaldage AA leelispatareid, nagu on näidatud akusahtlis. Laske taimeril umbes 3 minutit automaatse seadistuse lõpuleviimiseks, mis sulgeb ventiilid.
- Programmeerige taimer vastavalt soovile.
- Libistage taimer kollektori kinnitusklambrisse.
- Lülitage voolikukraan sisse.
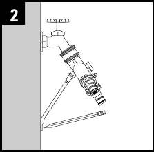
Kollektori seinale kinnitamine
- Kasutage mutrit ja polti, et kinnitada tugi kollektori külge.
![]()
- Märkige, kus tugi seina puudutab.
![]()
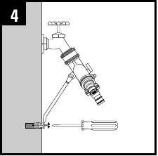
Müüritise jaoks
- Puurige 1⁄2 tolli auk.
![]()
- Sisestage keerdkruvi kilp ja kinnitage tugi, kasutades 1⁄4 keerdkruvi.
Stuktuuri jaoks
- Puurige 5/16 tolli auk.
- Sisestage plastikust ankur ja kinnitage tugi, kasutades #14 ümara peaga kruvi.
Patareide paigaldamine
- Eemaldage taimeri küljel olev sahtel, libistades selle välja.
- Sisestage kaks AA (1,5 V) leelispatareid (ei ole kaasas) ja pange sahtel tagasi.
Madala aku ikoon ilmub, kui patareid vajavad vahetamist.
Vahetage patareid 30 sekundi jooksul, vastasel juhul kaotatakse taimeri programmeering.
Vihje: eemaldage patareid, kui taimerit pikemat aega ei kasutata.
PROGRAMMEERIMINE
Pöörake ketast seadistamiseks näidatud asenditesse.
Kella seadistamiseks pöörake ketast
- Kellaaja edasikerimiseks vajutage + nuppu (kiireks edasikerimiseks hoidke nuppu all). Kellaaja tagasikerimiseks vajutage – nuppu (kiireks tagasikerimiseks hoidke nuppu all). *pidage meeles am/pm
- Kellaaja aktsepteerimiseks keerake nuppu.
Päeva seadistamiseks pöörake ketast
- Kasutage < ja > nuppe, et liigutada kursor (vilkuv joon) üle praeguse päeva.
- Päeva aktsepteerimiseks keerake ketast.
Käivitusaja seadistamiseks pöörake ketast
Iga käivitusaeg läbib kõik kastmisjaamad (1, 2, 3 ja 4). Tsükkel A on mõeldud juhuks, kui soovite kasta üks kord päevas. Lisage tsükkel B, kui soovite kasta kaks korda päevas (2 erinevat käivitusaega). Lisage tsükkel C, kui soovite kasta kolm korda päevas (3 erinevat käivitusaega).
- Kasutage < ja > nuppe, et valida käivitusaeg A, B või C.
- Käivitusaja muutmiseks vajutage ENTER (sisesta).
- Kasutage + ja – nuppe, et määrata soovitud käivitusaeg.
* pidage meeles am/ pm - Seadistuse aktsepteerimiseks vajutage ENTER (sisesta).
- Korrake samme 1 kuni 4 B ja C jaoks, kui soovite kasta rohkem kui üks kord päevas.
Käivitusaja tühistamiseks
- Kasutage < ja > nuppe, et liigutada kursor tsükli tähe (A, B, C) kohale
- Valimiseks vajutage ENTER (sisesta)
- Vajutage CLEAR (tühista)
NÄIDE: Kui tsükkel A on seatud kella 6:00-le, siis kell 6:00 lülitub teie esimene ventiil sisse ja töötab oma kestuse, seejärel lülitub see välja ja teine jaam lülitub automaatselt sisse ja töötab oma kestuse.
Tööaja seadistamiseks pöörake ketast
Määrake kastmise kestus 1 kuni 240 minutit kuni 4 jaama jaoks.
- Kasutage < ja > nuppe, et valida ventiilijaamade 1, 2, 3 või 4 tööaeg.
- Kasutage + ja - nuppe, et suurendada ja vähendada tööaega.
- Tööaja aktsepteerimiseks keerake ketast.
Kui tihti seadistamiseks pöörake ketast
Valige, millistel päevadel kasta või iga 1 kuni 14 päeva järel. Kõik jaamad ja tsüklid kastavad valitud päevadel.
- Kasutage < ja > nuppe, et valida, millistel päevadel kasta, pühapäevast laupäevani.
- Pärast iga valitud päeva vajutage ENTER (sisesta). Valitud päevade ümber, millal kasta, ilmub [_].
- Päeva tühistamiseks vajutage CLEAR (tühista). Või valige INTERVAL (intervall). 1 on iga päev, 2 on üle päeva jne kuni 14 päevani.
- Kasutage + ja – nuppe, et suurendada ja vähendada päevade arvu.
- Seadistuse aktsepteerimiseks vajutage ENTER (sisesta).
Automaatrežiimi seadistamiseks pöörake ketast
Taimer kastab vastavalt programmeeritud käivitusajale (aegadele), tööajale (aegadele) programmeeritud päevadel või intervallil; siin peaks teie ketas olema, et teie programm töötaks.
Käsitsi kastmine
Võimaldab teil kohe kasta ilma seadistatud tsüklit (tsükleid) katkestamata.
- Kui ketas on keeratud AUTO (automaatne) peale, vajutage MANUAL (käsitsi) nuppu.
- Vajutage ENTER (sisesta), et käivitada kõik jaamad üks kord, nagu varem programmeeritud jaotises RUN TIME (tööaeg). Või kasutage < ja > nuppe, et valida, milliseid jaamu käsitsi kasta.
- Vajutage ENTER (sisesta), kui kursor on soovitud kastmisjaama kohal.
- Kasutage + ja – nuppe, et seadistada 1 kuni 240 minutit
* Tsükli alguseni on 6-sekundiline viivitus. Ekraan vilgub kella ja tsüklil järelejäänud minutite vahel. Käsitsi kastmise eemaldamiseks ja programmeeritud tsükli jätkamiseks vajutage CLEAR (tühista).
Vihma viivitus
Kastmistsükli edasilükkamine sademete ajal, et säästa vett
- Kui olete AUTO (automaatne) režiimis, vajutage + nuppu 24 tunni, 48 tunni või 72 tunni jaoks
Ekraan vilgub kella ja tundide vahel, mis on jäänud enne programmeeritud tsükli jätkamist. Vihma viivituse eemaldamiseks vajutage CLEAR (tühista) või keerake ketas OFF (väljas) ja seejärel tagasi AUTO (automaatne) peale.
Väljas
Väljas peatab taimeri kastmise ja tühistab vihma viivituse.
PROBLEEMIDE LAHENDAMINE
Vesi ei tule soovitud ajal peale
Kontrollige, kas:
- Kell on seatud õigele ajale, sealhulgas AM ja PM.
- Käivitusaeg on seatud soovitud ajale, sealhulgas AM ja PM.
- Käivitusajad algavad pärast seda, kui eelmine kastmistsükkel on läbinud kõik jaamad ja määratud kestused.
- Vihma viivitus on sisse lülitatud (kui see on sisse lülitatud, kuvatakse ekraani vasakul küljel DELAY (viivitus)).
Taimer ei kasta
Kontrollige, kas:
- Taimer on seatud AUTO (automaatne) peale.
- Patareid on tühjad.
- Kell on seatud õigele ajale, sealhulgas AM ja PM.
- Vihma viivitus on sisse lülitatud (kui see on sisse lülitatud, kuvatakse ekraani vasakul küljel DELAY (viivitus)).
- Ventiilipistikud on sisestatud õigesse vastavasse taimeri pistikupessa.
Vesi ei lülitu välja
Kontrollige, kas:
- Kastmise kestus on seatud soovitud ajale. Käivitusajad algavad pärast seda, kui eelmine kastmistsükkel on läbinud kõik jaamad ja määratud kestuse.
Tehnilised andmed

Kui on oodata külmumistemperatuure, tuleb taimerid voolikukraani küljest eemaldada, et vältida võimalikke külmakahjustusi.
Töörõhk
Minimaalne: 25 psi
Maksimaalne: 100 psi
Töötemperatuur
Maksimaalne: ärge ületage 120 kraadi F
Minimaalne: hoidke külmumise eest
Hoiatused
Ainult välitingimustes kasutamiseks külma veega.
Orbit Irrigation Products, Inc.
North Salt Lake, UT 84054
1-800-488-6156
www.orbitonline.com
© 2012 Orbit Irrigation Products, Inc.
Kõik õigused kaitstud. Kõik kaubanimed on vastavate tootjate registreeritud kaubamärgid.

Viited
Laadi alla juhend
Siin saate alla laadida juhendi täieliku pdf-versiooni, mis võib sisaldada täiendavaid ohutusjuhiseid, garantiiteavet, FCC eeskirju jne.
Laadi alla Orbit 27752 - Automaatse aia kastmissüsteemi kasutusjuhend


