Zyxel WAC6552D-S - Vodič za brzi početak korištenja 802.11 Ac Unified Pro Outdoor pristupne točke

Instalacija hardvera

- Spojite UPLINK priključak na AP kontroler (AC), usmjerivač ili računalo putem PoE injektora (30W, zaštita od udara groma 6kV).
- Spojite CONSOLE priključak na svoje računalo pomoću RJ-45-to-DB9 konzolnog kabela (nije uključen) za rješavanje problema.
Upravljani AP način rada (Managed AP Mode) (Opcija 1)
-
- Kada su WAC6552D-S i Zyxel AP kontroler (na primjer, NXC2500) u istoj mreži, WAC6552D-S će se automatski upravljati i konfigurirati putem kontrolera. Za postavljanje WAC6552D-S, spojite svoje računalo na NXC (zadana IP adresa je https://192.168.1.1) i pristupite njegovom web konfiguratoru. Pogledajte Korisnički priručnik za NXC seriju za više informacija.
Napomena: Ako su u različitim mrežama, WAC6552D-S ostaje u samostalnom AP načinu rada (standalone AP mode). Idite na sljedeći odjeljak za pristup WAC6552D-S i pogledajte Korisnički priručnik za NWA/WAC seriju kako biste konfigurirali njegove postavke AC Discovery kako bi se WAC6552D-S mogao upravljati putem kontrolera.
![Zyxel - WAC6552D-S - Upravljani AP način rada Upravljani AP način rada]()
- Kada su WAC6552D-S i Zyxel AP kontroler (na primjer, NXC2500) u istoj mreži, WAC6552D-S će se automatski upravljati i konfigurirati putem kontrolera. Za postavljanje WAC6552D-S, spojite svoje računalo na NXC (zadana IP adresa je https://192.168.1.1) i pristupite njegovom web konfiguratoru. Pogledajte Korisnički priručnik za NXC seriju za više informacija.
Samostalni AP način rada (Standalone AP Mode) (Opcija 2)
- S računala s omogućenom Wi-Fi vezom, potražite zadano ime Wi-Fi mreže WAC6552D-S (Zyxel) i povežite se s njom.
![Zyxel - WAC6552D-S - Korištenje samostalnog AP načina rada - Korak 1 Korištenje samostalnog AP načina rada - Korak 1]()
- Otvorite svoj web preglednik i unesite "http://1.1.1.1" za početnu konfiguraciju. Unesite zadano korisničko ime (admin) i lozinku (1234). Kliknite Login (Prijava).
Napomena: Ako vaše računalo nema Wi-Fi adapter, koristite Ethernet kabel za spajanje računala na WAC6552D-S ili usmjerivač. Koristite njegovu DHCP dodijeljenu IP adresu ili zadanu statičku IP adresu (192.168.1.2) za pristup web konfiguratoru. Provjerite je li IP adresa vašeg računala u istoj podmreži kao i WAC6552D-S.
![Zyxel - WAC6552D-S - Korištenje samostalnog AP načina rada - Korak 2 Korištenje samostalnog AP načina rada - Korak 2]()
| Upravljanje IP adresa: | Spojite UPLINK na usmjerivač | DHCP-dodijeljena |
| Ne spajajte UPLINK na usmjerivač | 192.168.1.2 | |
| SSID: | Zyxel | |
| Wi-Fi sigurnost | Onemogućena | |
- Čarobnjak se pojavljuje automatski. Koristite čarobnjaka za postavljanje svog WAC6552D-S
Napomena: Potrebno je 1 do 2 minute za primjenu promjena čarobnjaka. Provjerite zaslon Nadzorne ploče (Dashboard) i zabilježite IP adresu WAC6552D-S u slučaju da trebate ponovno pristupiti njegovom web konfiguratoru.
Napomena: 1.1.1.1 je samo za početno postavljanje. Ne može se koristiti nakon što je WAC6552D-S konfiguriran.
![Zyxel - WAC6552D-S - Korištenje samostalnog AP načina rada - Korak 3 Korištenje samostalnog AP načina rada - Korak 3]()
- Koristite nove bežične postavke WAC6552D-S (SSID i ključ) za ponovno povezivanje s Wi-Fi mrežom WAC6552D-S za pristup internetu ako ih promijenite u čarobnjaku.
![Zyxel - WAC6552D-S - Korištenje samostalnog AP načina rada - Korak 4 Korištenje samostalnog AP načina rada - Korak 4]()
Montaža na stup
- Pričvrstite rotirajući nosač na glavni okvir za montiranje pomoću odstojnika, podložaka i matica.
Napomena: Nemojte zatezati matice dok ne montirate WAC6552D-S na stup i podesite kut montiranja.
![Zyxel - WAC6552D-S - Montaža na stup - Korak 1 Montaža na stup - Korak 1]()
- Poravnajte rupe na nosaču M-tipa s vijcima na unutarnjem kućištu. Pričvrstite ih pomoću odstojnika, podložaka i matica.
![Zyxel - WAC6552D-S - Montaža na stup - Korak 2 Montaža na stup - Korak 2]()
- Poravnajte rupe rotirajućeg nosača s rupama na nosaču M-tipa.
Umetnite čeličnu cijev kroz rupe i upotrijebite podloške i matice da je učvrstite.
![Zyxel - WAC6552D-S - Montaža na stup - Korak 3 Montaža na stup - Korak 3]()
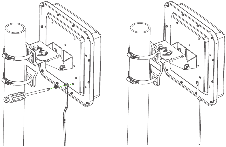
- Postavite metalne trake oko stupa i umetnite ih u rupe na glavnom okviru za montiranje. Upotrijebite ključ za zatezanje matica i učvršćivanje WAC6552D-S.
Podesite kut tako da WAC6552D-S obuhvaća željeno područje pokrivanja.
Napomena: Preporučuje se da WAC6552D-S ne prelazi kut od +15 ili -15 stupnjeva u odnosu na stup.
Napomena: Promjer stupa ne smije prelaziti 6,35 cm.
![Zyxel - WAC6552D-S - Montaža na stup - Korak 4 Montaža na stup - Korak 4]()
Uzemljenje
Kako biste se zaštitili od udara groma i smetnji, pričvrstite zeleno/žuti kabel za uzemljenje (18 AWG ili manji) na WAC6552D-S.

Informacije o podršci
Sjeverna Amerika SAD (North America USA)
+ 1 800 255 4101
support@zyxel.com
UK
+ 44 (0) 118 912 1700
support@zyxel.co.uk
Francuska (France)
+33 (0) 892 692 610
support@zyxel.fr
Španjolska (Spain)
+ 34 911 792 100
soporte@zyxel.es
EU Uvoznik (EU Importer)
Zyxel Communications A/S
Gladsaxevej 378, 2. th. 2860 Søborg, Danska
http://www.zyxel.dk
US Uvoznik (US Importer)
Zyxel Communications, Inc
1130 North Miller Street Anaheim, CA 92806-2001
http://www.us.zyxel.com
Copyright © 2018 Zyxel Communications Corp. Sva prava pridržana.

Reference
Zyxel Networks, Your Networking Ally | Zyxel Networks
Zyxel Networks, Your Networking Ally | Zyxel Networks
Preuzmi priručnik
Ovdje možete preuzeti punu pdf verziju priručnika, koja može sadržavati dodatne sigurnosne upute, informacije o jamstvu, FCC pravila, itd.








