Bosch B426 - Vodič za instalaciju komunikacijskog modula Conettix Ethernet

Pregled
B426 Ethernet komunikacijski modul je četverožični uređaj s napajanjem za SDI, SDI2 ili Option sabirnicu koji omogućuje dvosmjernu komunikaciju s kompatibilnim upravljačkim pločama putem IPv4 ili IPv6 Ethernet mreža. Preklopnik na B426 određuje adresu sabirnice uređaja. Konfiguracija B426 se vrši putem web stranica za konfiguraciju B426. Na SDI2 upravljačkim pločama, konfiguracija se također može izvršiti na tipkovnici ili putem Remote Programming Software (RPS).

| Oznaka ― Opis |
| 1 ― Ethernet RJ-45 priključak |
| 2 ― Žuta LINK LED dioda |
| 3 ― Zelena 100MB LED dioda |
| 4 ― Preklopnik adrese |
| 5 ― Heartbeat LED dioda (plava) |
| 6 ― LED diode za komunikaciju podatkovne sabirnice (TX i RX) |
| 7 ― SDI2 priključni blok (za upravljačku ploču ili dodatne module) |
| 8 ― Priključci za međusobno povezivanje SDI2 ožičenja (za upravljačku ploču ili dodatne module) |
| 9 ― Priključak prekidača za zaštitu od neovlaštenog otvaranja |
Postavke adrese sabirnice
Jedan preklopnik adrese određuje adresu za B426 Conettix Ethernet komunikacijski modul. Upravljačka ploča koristi adresu za komunikaciju. Koristite odvijač s prorezom za postavljanje preklopnika adrese.
OBAVIJEST!
Modul čita postavku preklopnika adrese samo tijekom uključivanja. Ako promijenite prekidače nakon što ste uključili napajanje modula, morate isključiti i ponovno uključiti napajanje modula kako bi se nova postavka omogućila.
Postavite preklopnike adrese prema konfiguraciji upravljačke ploče. Ako se na istom sustavu nalazi više B426 modula, svaki B426 modul mora imati jedinstvenu adresu.

Slika 2.1: Preklopnik adrese
Preklopnik adrese B426 pruža vrijednost jedinica za adresu modula. Slika 2.1 prikazuje postavku preklopnika adrese za adresu 1. Pogledajte Tablicu 2.1 za postavke specifične za ploču.
| Upravljačke ploče | Položaj prekidača | Adresa B426 | Vrsta sabirnice | Funkcija |
| Za web konfiguraciju | 0 | Konfigurabilno | Bilo koja | Web konfiguracija |
| GV4 i B Series | 1 | 1 | SDI2 | Automatizacija, udaljeno programiranje ili izvještavanje |
| GV4 Series | 2 | 2 | ||
| GV4/GV3/, GV2 Series, G Series v6.3 ili novija | 3 | 80 | SDI | Automatizacija |
| 4 | 88 | Udaljeno programiranje ili izvještavanje | ||
| GV4 i GV3 Series | 5 | 92 | ||
| FPD-7024 | 9 | 250 | Option |
Tablica 2.1: Postavke preklopnika adrese
Instalacija
Nakon što postavite preklopnike adrese za odgovarajuću adresu, instalirajte modul u kućište, a zatim ga povežite s upravljačkom pločom i drugim uređajima.
OBAVIJEST!
Uklonite svu struju (AC i bateriju) prije uspostavljanja bilo kakvih veza. Ako to ne učinite, može doći do ozljeda i/ili oštećenja opreme.
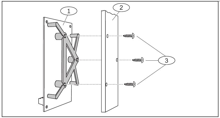
Montirajte modul u kućište
Montirajte modul u uzorak s 3 rupe u kućištu pomoću priloženih vijaka za montažu i montažnog nosača. Pogledajte Sliku 3.1.
Slika 3.1: Montaža modula u kućište | Oznaka ― Opis |
| 1 ― Modul s instaliranim montažnim nosačem |
| 2 ― Kućište |
| 3 ― Vijci za montažu (3) |
Montirajte i povežite prekidač za zaštitu od neovlaštenog otvaranja
Za upute o ovom dodatnom prekidaču, pogledajte Vodič za instalaciju i rad Conettix Ethernet komunikacijskog modula (B426) (P/N: F01U266226) i Vodič za instalaciju EZTS poklopca i zidnog prekidača za zaštitu od neovlaštenog otvaranja (P/N: F01U003734).
Povežite se s SDI ili SDI2 upravljačkom pločom
Kada spajate B426 na SDI ili SDI2 upravljačku ploču, možete koristiti ili priključni blok modula označen s R, Y, G, B (PWR, A, B, COM) ili priključke za međusobno povezivanje ožičenja modula (žica je uključena). Slika 1.1 prikazuje položaj priključnog bloka i priključaka za međusobno povezivanje na modulu. Pogledajte Sliku 3.2.
OBAVIJEST!
Koristite ili ožičenje priključnog bloka ili priključak za međusobno povezivanje ožičenja na upravljačku ploču. Nemojte koristiti oboje. Prilikom spajanja više modula, možete kombinirati priključni blok i priključke za međusobno povezivanje ožičenja u seriji.
Povežite se s upravljačkom pločom Option sabirnice
Provucite žice od modula do priključaka podatkovne sabirnice na kompatibilnoj upravljačkoj ploči. Pogledajte Sliku 3.2.

Slika 3.2: Ožičenje na upravljačku ploču (prikazane su upravljačke ploče GV4 Series i FPD-7024)
| Oznaka ― Opis |
| 1 ― SDI2 upravljačka ploča. Za SDI upravljačke ploče, spojite R, Y, G, B na SDI sabirnicu. |
| 2 ― Priključci za međusobno povezivanje ožičenja |
| 3 ― Na Ethernet mrežu |
| 4 ― Ožičenje priključnog bloka |
| 5 ― Kabel za međusobno povezivanje (P/N: F01U079745) (uključen) |
| 6 ― Upravljačka ploča Option sabirnice |
Konfiguracija
Konfigurirajte B426 koristeći jednu od metoda opisanih u ovom odjeljku za vaš tip kontrolne ploče.
Konfiguriranje SDI2 kontrolne ploče
VAŽNO!
Prema zadanim postavkama, kada spajate zamjenski B426 na postojeću SDI2 kontrolnu ploču, ploča poništava postavke modula. Da biste zadržali prilagođene postavke modula kada spajate modul na konfiguriranu SDI2 kontrolnu ploču, morate onemogućiti Panel Programming (Programiranje ploče) pomoću web konfiguracije, prije spajanja na SDI2 sabirnicu.
SDI2-kompatibilna kontrolna ploča automatski konfigurira novo spojeni modul.
- Provjerite je li B426 nov ili vraćen na tvorničke postavke.
- Postavite prekidač adrese na ispravnu adresu za kontrolnu ploču (SDI2 kontrolne ploče koriste adresu 1 ili 2).
- Programirajte postavke komunikacije kontrolne ploče pomoću RPS-a ili tipkovnice.
- Spojite modul na sabirnicu kontrolne ploče i uključite napajanje.
Konfiguriranje SDI, opcijske sabirnice kontrolne ploče
Konfigurirajte za SDI ili opcijsku sabirnicu kontrolne ploče koristeći jednu od metoda opisanih u ovom odjeljku.
Plug and Play konfiguracija
Prilikom instalacije pod sljedećim uvjetima, B426 ne zahtijeva daljnju konfiguraciju:
- DHCP je dostupan na vašoj mreži.
- AES enkripcija nije potrebna.
- Zadane postavke priključka B426 (UDP na priključku 7700) dopuštene su od strane mrežnog administratora.
Web konfiguracija
Za instalacije gdje su potrebne dodatne postavke koje nisu zadane, dostupan je web konfiguracijski izbornik.
Odredite naziv hosta ili IP adresu modula pomoću jedne od sljedećih metoda:
- Pronađite IP adresu u tablici na DHCP poslužitelju (umreženi moduli).
- Koristite Auto IP za izravno povezivanje s vašeg računala na B426. Unutar 60 sekundi, B426 privremeno preuzima adresu 169.254.1.1 za konfiguraciju. (Pogledajte Vodič za instalaciju i rad Conettix Ethernet komunikacijskog modula za više informacija o korištenju ovih metoda.)
VAŽNO!
Prije nastavka, provjerite nije li web preglednik konfiguriran za korištenje proxy poslužitelja. Pogledajte online pomoć preglednika za upute o onemogućavanju proxy usluge.
Za korištenje web konfiguracije (B426 konfiguracijske web stranice):
- Otvorite internetski preglednik (Microsoft Internet Explorer 6 ili noviji, ili Mozilla Firefox 3 ili noviji) i upišite IP adresu B426. Otvara se stranica za prijavu B426.
- Unesite zadanu lozinku: B42V2 i kliknite Login (Prijava). Otvara se početna stranica Device Information (Informacije o uređaju).
- Pregledajte željenu stranicu s postavkama i konfigurirajte parametre.
- Kliknite OK i zatim kliknite Save & Execute (Spremi i izvrši) da biste spremili i primijenili sve promjene na uređaj.
VAŽNO!
Prije pregledavanja nove stranice s postavkama, morate kliknuti OK (U redu) da biste spremili uređene vrijednosti.
Opis LED dioda
B426 modul uključuje sljedeće ugrađene LED diode za pomoć pri rješavanju problema (pogledajte Sliku 1.1 za lokaciju LED dioda):
- Heartbeat (Otkucaji srca) (status sustava). Pogledajte Tablicu 5.1.
- Data Bus (Podatkovna sabirnica) komunikacija. Pogledajte Tablicu 5.2
- Ethernet komunikacija. Pogledajte Tablicu 5.3.
| Uzorak bljeskanja | Funkcija |
Bljeska jednom svake 1 sek | Normalno stanje: Označava normalno stanje rada. |
3 brza bljeska svake 1 sek | Stanje pogreške komunikacije: Označava (modul je u "stanju bez komunikacije") što rezultira pogreškom SDI2 komunikacije. |
Stalno uključeno | Stanje problema s LED diodom: Modul nije napajan (samo za OFF Steady), ili neki drugi problem sprječava modul da kontrolira LED diodu otkucaja srca. |
Isključeno |
Tablica 4.1: Opis LED diode otkucaja srca
| Uzorak bljeskanja | Funkcija |
RX (Receive) (Primanje) bljeska | Pojavljuje se kada sabirnica kontrolne ploče primi poruku. |
TX (Transmit) (Prijenos) bljeska | Pojavljuje se kada sabirnica kontrolne ploče pošalje poruku. |
Tablica 4.1: Opis LED dioda podatkovne sabirnice
| LINK (žuti) uzorak bljeskanja | 100mb (zeleni) uzorak bljeskanja | Funkcija |
Isključeno | Isključeno | Nema Ethernet veze |
Stalno uključeno | Isključeno | 10 BASE-T veza |
Bljesak ![]() | Isključeno ![]() | 10 BASE-T aktivnost |
Stalno uključeno![]() | Stalno uključeno![]() | 100 BASE-T veza |
Bljesak ![]() | Stalno uključeno ![]() | 100 BASE-T aktivnost |
Tablica 4.1: Opis Ethernet LINK i 100mb LED dioda
Prikaz verzije firmvera
Za prikaz verzije firmvera pomoću uzorka bljeskanja LED diode:
- Ako je instaliran opcijski tamper prekidač:
S otvorenim vratima kućišta, aktivirajte tamper prekidač (pritisnite i otpustite prekidač). - Ako NIJE instaliran opcijski tamper prekidač: Kratko spojite tamper pinove.
Pogledajte Sliku 6.1 za primjer uzoraka bljeskanja.

Slika 6.1: Uzorci bljeskanja LED dioda firmvera
Kada se aktivira tamper prekidač (zatvoreno na otvoreno), LED dioda otkucaja srca ostaje ISKLJUČENA 3 sekunde prije nego što pokaže verziju firmvera. LED dioda pulsira glavne, manje i mikro znamenke verzije firmvera, s pauzom od 1 sekunde nakon svake znamenke.
Uzorci bljeskanja ne počinju dok se tamper ne otvori (ukloni se kratki spoj). U sljedećem primjeru, verzija 1.4.3 prikazuje se kao bljeskovi LED diode:
[pauza od 3 sekunde] *___****___*** [pauza od 3 sekunde, zatim normalan rad].
Specifikacije
| Dimenzije | 59.5 mm x 108 mm x 16 mm (2.19 in x 4.25 in x 0.629 in) |
| Napon (operativni) | 12 VDC nominalno |
| Struja (maksimalna) | 100 mA max |
| Konektori | LAN/WAN: RJ-45 modularni priključak (Ethernet) |
| Ethernet kabel | Kategorija 5 ili bolji neoklopljeni upleteni par, maksimalna duljina 100 m (328 ft) |
| Sučelje | IEEE 802.3 |
| Veličina žice podatkovne sabirnice | 1.02 mm do 0.65 mm (18 AWG do 22 AWG) |
| Duljina žice podatkovne sabirnice | Maksimalna udaljenost - Veličina žice: 150 m (500 ft) - 0.65 mm (22 AWG) 300 m (1000 ft) - 1.02 mm (18 AWG) |
| Web preglednik | Microsoft Internet Explorer 6 ili noviji; Mozilla Firefox 3 ili noviji |
| Kompatibilnost | D9412, D7412, D7212, D9112 G Series Version 6.3 ili novija GV2 Series GV3 Series GV4 Series B5512/B4512/B3512 |
Autorska prava
Ovaj dokument je intelektualno vlasništvo tvrtke Bosch Security Systems, Inc. i zaštićen je autorskim pravima. Sva prava pridržana.
Zaštitni znakovi
Svi nazivi proizvoda hardvera i softvera korišteni u ovom dokumentu vjerojatno su registrirani zaštitni znakovi i moraju se tretirati u skladu s tim.
Datumi proizvodnje proizvoda Bosch Security Systems, Inc.
Koristite serijski broj koji se nalazi na naljepnici proizvoda i pogledajte web stranicu Bosch Security Systems, Inc. na http://www.boschsecurity.com/datecodes/.
Reference
Preuzmi priručnik
Ovdje možete preuzeti punu pdf verziju priručnika, koja može sadržavati dodatne sigurnosne upute, informacije o jamstvu, FCC pravila, itd.
Preuzmi Bosch B426 - Vodič za instalaciju komunikacijskog modula Conettix Ethernet

